|
(21), (22) Заявка: 2004109515/09, 27.09.2002
(24) Дата начала отсчета срока действия патента:
27.09.2002
(30) Конвенционный приоритет:
28.09.2001 US 09/967,326
(43) Дата публикации заявки: 20.10.2005
(46) Опубликовано: 27.03.2008
(15) Информация о коррекции:
Версия коррекции № 1 (
Настоящее изобретение относится к игровым машинам типа слот-машин и машин для видеопокера. В частности, настоящее изобретение относится к способам и устройствам для создания переносных удаленных игровых приставок к игровым машинам.
Как правило, с помощью ведущего игрового контроллера игровая машина/игровой сервер управляет различными комбинациями устройств, которые позволяют игроку вести игру на игровой машине, а также поощрять ведение игры на игровой машине. Например, для ведения игры на игровой машине обычно требуется, чтобы игрок ввел деньги в игровую машину или установил кредит, указал сумму ставок и запустил игру. Эти шаги требуют от игровой машины управления устройствами ввода, включая банкнотоприемники и монетоприемники, приема денег в игровую машину и распознавания данных, вводимых пользователем с устройств типа сенсорных экранов и кнопочных панелей, указания суммы ставок и запуска игры. После запуска игры игровая машина определяет результат игры, представляет этот результат игроку и в зависимости от результата игры может выдать какой-либо выигрыш.
С развитием технологии в игровой индустрии традиционные барабанные слот-машины с механическим приводом постепенно заменяются электронными аналогами, имеющими видеодисплеи на ЭЛТ и жидких кристаллах или т.п., и все более и более популярными становятся игровые машины типа видеослот-машин и машин для видеопокера. Одной из причин возрастающей популярности таких машин является практически бесконечное множество игр, которые можно проводить на игровых машинах, использующих передовую электронную технологию. В некоторых случаях более новые игровые машины используют архитектуры вычислительных систем, разработанные для персональных компьютеров. Эти новейшие достижения в области видео/электронных игр позволяет осуществлять управление более сложными играми, которые невозможно было бы реализовать на игровых машинах с механическим приводом, и обеспечивают возможность дальнейшего совершенствования характеристик игровых машин в ногу с развитием индустрии персональных компьютеров.
Для реализации описанных выше игровых особенностей на игровой машине с применением архитектур вычислительной системы, используемых в индустрии персональных компьютеров, необходимо рассмотреть множество требований, являющихся уникальными для игровой индустрии. Игровая машина в зале казино представляет собой устройство, работа которого тщательно регламентируется. Оно является лицензируемым, контролируемым, облагаемым налогом и обслуживаемым. Как правило, в пределах географического района возможного ведения игровых действий, т.е. в зоне игровой юрисдикции, управляющая организация уполномочена регламентировать игровые действия в этой игровой юрисдикции с целью обеспечения справедливости и предотвращения обмана. Например, во многих игровых юрисдикциях на игровые машины действуют строгие ограничения, требующие проведения обязательной аттестации 1) нового игрового оборудования, 2) нового игрового программного обеспечения и 3) любой программной модификации в игровом программном обеспечении, используемом на игровых машинах.
Как пример такого регламентирования во многих юрисдикциях для настроек игрового программного обеспечения на игровой машине выполняемое игровое программное обеспечение сначала разрабатывается, а затем программируется в ППЗУ. Далее ППЗУ представляется на рассмотрение в различные игровые юрисдикции для аттестации. После аттестации на игровом программном обеспечении, хранимом в ППЗУ, с использованием такого способа, как контроль циклическим избыточным кодом, ставится уникальная подпись. При поставке игровой машины в местную юрисдикцию подпись на игровом программном обеспечении в ППЗУ до инсталляции ППЗУ на игровой машине сравнивается с подписью на аттестованном игровом программном обеспечении. Процесс сравнения гарантирует инсталляцию аттестованного игрового программного обеспечения на игровой машине. После инсталляции окно доступа на ППЗУ может быть защищено специальной наклейкой, используемой для определения наличия или отсутствия несанкционированного доступа к ППЗУ.
Помимо настройки игрового оборудования и программного обеспечения игровая юрисдикция может регламентировать и многие другие особенности игровых действий, включая места проведения азартных игр (например, казино, магазины, рестораны и другие помещения), характеристики возможных участников игр (например, возраст) и возможное месторасположение настраиваемых игровых машин (например, отдельные залы казино). Для получения лицензии на работу казино необходимо твердо придержаться правил и инструкций игровой юрисдикции по местонахождению. Кроме того, в случае невыполнения или неполного выполнения местных игровых инструкций лицензированное казино может лишиться лицензии на работу.
В настоящее время как у игроков, так и у операторов казино имеется большое желание распространить игровые действия на игровых машинах за границы традиционных залов казино. Например, многие игроки хотели бы продолжить ведение игры в процессе выполнения таких действий, как прием пищи или движение в сторону спортивного тотализатора, при которых игрокам необходимо покидать залы казино, в которых игровые машины должны быть размещены в соответствии с законом. В частности, игрок может захотеть взять перерыв, но при этом сохранить за собой возможность продолжения игры на определенной игровой машине, так как он может полагать, что эта игровая машина является “удачливой” или что она “должна” выиграть. В этой ситуации казино может предоставить некоторым игрокам возможность резервирования игровой машины на время их отсутствия, чтобы другие игроки не могли занять эту игровую машину и перехватить удачу или выиграть джекпот, который должен выпасть на этой игровой машине. Однако операторы казино отказываются обеспечивать услугу резервирования большинству игроков, потому что в процессе резервирования игровая машина не приносит дохода для казино, и нет никакой гарантии того, что игрок возвратится.
Кроме того, для распространения игровых действий за границы залов казино требуется тщательный анализ местных игровых инструкций. Например, были попытки разместить игровые машины в гостиничных номерах. Все эти попытки потерпели неудачу. Основная причина неудачи создания “внутрикомнатной” игровой площадки состоит в необходимости надзора за несовершеннолетними игроками, т.е. предотвращения вовлечения несовершеннолетних в азартные игры. Поэтому в большинстве юрисдикции имеются законы против “внутрикомнатных” игровых площадок.
Все изложенное выше позволяет сделать вывод о желательности создания способов и устройств для расширения возможностей ведения игр на настраиваемой игровой машине за границы традиционных залов казино, в которых игровые машины размещаются, как правило.
Краткое изложение сущности изобретения
Целью этого изобретения является удовлетворение обозначенных выше потребностей путем создания способов и устройств для управления беспроводным воспроизводящим игровым устройством, представляющим азартную игру, выполняемую на игровой машине, обменивающейся данными с беспроводным воспроизводящим игровым устройством. В одном из примеров осуществления беспроводное воспроизводящее игровое устройство является карманным мобильным устройством, связанным с помощью электроники с лицензированной игровой машиной через беспроводное соединение. Беспроводное воспроизводящее игровое устройство принимает входные игровые сигналы для ведения азартной игры от механизмов ввода, размещенных на беспроводном воспроизводящем игровом устройстве, и отображает результаты азартных игр на экране дисплея, размещенном на беспроводном воспроизводящем игровом устройстве. Однако все события для генерации случайных чисел (ГСЛ), результаты игр, измерительная информация, информация, относящаяся к играм, и все транзакции с наличностью поддерживаются в лицензированной (управляемой) игровой машине, а не в беспроводном воспроизводящем игровом устройстве. Поэтому беспроводное воспроизводящее игровое устройство может рассматриваться как удаленная приставка лицензированной игровой машины.
Беспроводное воспроизводящее игровое устройство может использоваться везде в границах действующих залов казино и позволяет идентифицировать своего пользователя. Например, для идентификации игрока на беспроводном воспроизводящем игровом устройстве может использоваться устройство ввода биометрической информации типа устройства считывания отпечатков пальцев. Таким образом решается проблема несовершеннолетних или исключенных игроков.
Одной из особенностей настоящего изобретения является создание карманного беспроводного воспроизводящего игрового устройства для ведения азартной игры. Карманное беспроводное воспроизводящее игровое устройство может, как правило, характеризоваться тем, что содержит: 1) интерфейс беспроводной связи; 2) экран дисплея; 3) один или более механизмов ввода; и 4) микропроцессор, сконфигурированный i) для представления азартной игры на экране дисплея с помощью управляющих команд, принимаемых через интерфейс беспроводной связи от ведущего игрового контроллера, размещенного на игровой машине, и ii) для обеспечения пересылки информации, полученной из входных сигналов, генерируемых одним или более механизмами ввода, в ведущий игровой контроллер через интерфейс беспроводной связи. Беспроводное воспроизводящее игровое устройство может запускаться во множестве помещений, физически изолированных от местоположения игровой машины, причем множество помещений выбрано из числа таких помещений, как зал для Кено, зал для Бинго, ресторан, спортивный тотализатор, бар, гостиница, площадка для игры в пул и залы казино. Азартная игра для ведения на беспроводном воспроизводящем игровом устройстве может быть выбрана из числа таких игр, как слоты, покер, патинко, игры в покер на нескольких руках (рука – комбинация карт на руках одного из игроков, примеч. переводч.), покер Пай Гау, Блэкджек, Кено, Бинго, рулетка, крэпс и игры в карты. Однако этими играми настоящее изобретение не ограничивается.
В отдельных примерах осуществления интерфейс беспроводной связи может использовать протокол беспроводной связи, выбранный из числа таких протоколов, как IEEE 802.11a, IEEE 802.11b, IEEE 802.11x, hyperlan/2, Bluetooth, IrDA и HomeRF. Беспроводное воспроизводящее игровое устройство может также содержать проводной сетевой интерфейс для соединения беспроводного воспроизводящего игрового устройства с пунктом доступа к проводной сети. В дополнение к этому беспроводное воспроизводящее игровое устройство может также содержать интерфейс периферийных устройств для соединения с периферийным игровым устройством, причем интерфейс периферийных устройств представляет собой последовательный интерфейс, параллельный интерфейс, интерфейс USB, интерфейс FireWire, интерфейс IEEE 1394. Периферийное игровое устройство может представлять собой принтер, устройство считывания карточек, жесткий диск и накопитель на CD-DVD.
В других примерах осуществления один или более механизмов ввода на беспроводном воспроизводящем игровом устройстве могут быть выбраны из числа таких механизмов, как сенсорный экран, переключатель ввода, кнопка ввода и устройство ввода биометрической информации, причем устройство ввода биометрической информации может представлять собой устройство считывания отпечатков пальцев. Беспроводное воспроизводящее игровое устройство может также содержать интерфейс съемной памяти, спроектированный для обеспечения приема съемного блока памяти, причем съемный блок памяти хранит графические программы для одной или более азартных игр, запускаемых на беспроводном воспроизводящем игровом устройстве. Беспроводное воспроизводящее игровое устройство может также содержать: 1) интерфейс вывода звука для приема гнезда для подключения наушников, 2) антенну, 3) устройство воспроизведения звука, 4) батарею питания, 5) интерфейс блока питания для подачи питания в беспроводное воспроизводящее игровое устройство от внешнего источника питания и для зарядки батареи от внешнего источника питания, 6) блок памяти, причем блока памяти может хранить графические программы для одной или более азартных игр, запускаемых на беспроводном воспроизводящем игровом устройстве, 7) интерфейс электронного ключа, спроектированный для обеспечения приема электронного ключа и/или 8) видеографическую плату для визуализации изображений на экране дисплея, причем видеографическая плата может использоваться для визуализации двумерной графики и трехмерной графики.
В других примерах осуществления микропроцессор может быть сконфигурирован для представления бонусной игры на экране дисплея с помощью команд, принимаемых от ведущего игрового контроллера на игровой машине через интерфейс беспроводной связи. В дополнение к этому команды, принимаемые от ведущего игрового контроллера, и информация, пересылаемая в ведущий игровой контроллер, могут быть зашифрованы. Кроме того, микропроцессор может реализовывать игровую логику для отображения Web-браузера на экране дисплея. В дополнение к этому беспроводное воспроизводящее игровое устройство может быть сконфигурировано для представления: рекламы, новостей, биржевых цен, электронной почты, Web-страницы, услуги обмена сообщениями, услуги устройства ввода позиций или услуги гостиницы/казино, кинофильма, отрывка из музыкального произведения, поощрения казино, широковещательного события, текущего технического обслуживания и ремонта, услуги трекинга игрока, меню напитков и/или меню закусок.
Другой особенностью настоящего изобретения является создание игровой машины/игрового сервера для ведения игры в режиме удаленного доступа. Игровая машина может, как правило, характеризоваться тем, что содержит: 1) ведущий игровой контроллер, спроектированный или сконфигурированный для обеспечения генерации результатов одной или более азартных игр и для обеспечения дистанционного представления результатов одной или более азартных игр на беспроводном воспроизводящем игровом устройстве; и 2) беспроводное воспроизводящее игровое устройство, содержащее: i) интерфейс беспроводной связи; ii) экран дисплея; iii) один или более механизмов ввода; и iv) микропроцессор, сконфигурированный для представления азартной игры на экране дисплея с помощью управляющих команд, принимаемых от ведущего игрового контроллера через интерфейс беспроводной связи, и для обеспечения пересылки информации, полученной из входных сигналов, генерируемых одним или более механизмами ввода, в ведущий игровой контроллер через интерфейс беспроводной связи. Ведущий игровой контроллер, как правило, выполняет настраиваемое игровое программное обеспечение для представления одной или более азартных игр. Беспроводное воспроизводящее игровое устройство может запускаться во множестве помещений, физически изолированных от местоположения игровой машины, причем множество помещений выбрано из числа таких помещений, как зал для Кено, зал для Бинго, ресторан, спортивный тотализатор, бар, гостиница, площадка для игры в пул и залы казино.
В отдельных примерах осуществления игровая машина может также содержать одно или более игровых устройств, выбранных из числа таких устройств, как источники света, принтеры, накопители монет, купюроприемники, устройства считывания билетов, устройства считывания карточек, клавишные панели, кнопочные панели, экраны дисплеев, динамики, информационные панели, устройства трекинга игрока и устройства памяти большой емкости. В дополнение к этому игровая машина может содержать один или более экранов дисплея, размещенных в основном корпусе игровой машины. Игровая машина может также содержать одно или более устройств ввода биометрической информации, выбранных из числа таких устройств, как микрофон, камера, устройство считывания отпечатков пальцев, механизм ввода рукописного текста и устройство сканирования радужной оболочки глаза, и логику игрового программного обеспечения для определения личности игрока с помощью биометрической информации, вводимой с помощью одного или более устройств ввода биометрической информации.
Игровая машина может также содержать сетевой интерфейс, который используется для установления связи с одним или более удаленными серверами, выбранными из числа таких серверов, как сервер призов, игровой сервер, сервер развлекательного содержимого, сервер выдачи билетов с оплатой по безналичному расчету, сервер прогрессивных игр, сервер бонусных игр, беспроводный игровой сервер, Web-сервер и сервер денежных переводов. Интерфейс беспроводной связи может использовать протокол беспроводной связи, выбранный из числа таких протоколов, как IEEE 802.11a, IEEE 802.11b, IEEE 802.11x, hyperlan/2, Bluetooth, IrDA и HomeRF. Игровая машина может содержать логику игрового программного обеспечения для шифрования информации, пересылаемой в беспроводное воспроизводящее игровое устройство, и дешифрования информации, принимаемой от беспроводного воспроизводящего игрового устройства.
Игровая машина может генерировать результаты азартных игр, выбранных из числа таких игр, как слоты, покер, патинко, игры в покер на нескольких руках, покер Пай Гау, Блэкджек, Кено, Бинго, рулетка, крэпс и игры в карты. В дополнение к этому ведущий игровой контроллер может быть спроектирован или сконфигурирован для представления бонусной игры на беспроводном воспроизводящем игровом устройстве. Игровая машина может содержать логику игрового программного обеспечения для сохранения отчета по истории игр, запускаемых на беспроводном воспроизводящем игровом устройстве. В одном примере осуществления первая азартная игра может быть представлена на беспроводном воспроизводящем игровом устройстве, а вторая азартная игра может быть представлена одновременно на одном или более экранах дисплеев, размещенных в основном корпусе игровой машины. Кроме того, беспроводное воспроизводящее игровое устройство может быть использовано для дополнительных действий, таких как отображение рекламы, новостей, биржевых цен, электронной почты, Web-страницы, услуги обмена сообщениями, услуги устройства ввода позиций или услуги гостиницы/казино, кинофильма, отрывка из музыкального произведения, поощрения казино, широковещательного события, текущего технического обслуживания и ремонта, услуги трекинга игрока, меню напитков и меню закусок.
Другой особенностью настоящего изобретения является создание беспроводной игровой системы. Беспроводная игровая система может характеризоваться тем, что содержит: 1) множество игровых машин, спроектированных для обеспечения генерации игровых сессий по беспроводной связи на беспроводных воспроизводящих игровых устройствах, обменивающихся данными с игровыми машинами; 2) множество беспроводных воспроизводящих игровых устройств, каждое из которых спроектировано i) для установления связи, по меньшей мере, с одной игровой машиной и ii) для представления азартной игры с помощью команд, принимаемых от указанной игровой машины; и 3) беспроводную игровую сеть, содержащую: один или более пунктов беспроводного доступа, спроектированных для обеспечения передачи информации на множество беспроводных воспроизводящих игровых устройств по беспроводной связи и для обеспечения приема информации от беспроводных воспроизводящих игровых устройств по беспроводной связи.
В отдельных примерах осуществления беспроводная игровая система может также содержать: а) один или более ретрансляторов, b) одну или более антенн с высоким коэффициентом усиления, с) одно или более гнезд для беспроводных воспроизводящих игровых устройств, причем одно или более гнезд содержат также связной интерфейс, спроектированный для соединения беспроводного воспроизводящего игрового устройства с беспроводной игровой сетью, d) один или более беспроводных игровых киосков, спроектированных для предоставления игровых услуг по беспроводной связи, е) одну или более игровых машин, соединенных с указанной беспроводной игровой сетью, спроектированной для проведения игровых сессий только по беспроводной связи, и/или f) один или более беспроводных игровых серверов. В дополнение к этому беспроводная игровая сеть может быть соединена с одним или более сетевыми интерфейсами. Один или более сетевых интерфейсов могут использоваться для установления связи с одним или более удаленными серверами, выбранными из числа таких серверов, как сервер призов, игровой сервер, сервер развлекательного содержимого, сервер выдачи билетов с оплатой по безналичному расчету, сервер прогрессивных игр, сервер бонусных игр, беспроводный игровой сервер, Web-сервер и сервер денежных переводов.
Другой особенностью настоящего изобретения является создание способа генерации игровой сессии по беспроводной связи в игровой машине на беспроводном воспроизводящем игровом устройстве, обменивающемся данными с игровой машиной. Способ может, как правило, характеризоваться тем, что содержит: 1) операцию установления связи с беспроводным воспроизводящим игровым устройством; 2) операцию приема сообщения от беспроводного воспроизводящего игрового устройства с запросом к игровой машине на инициирование азартной игры; 3) операцию генерации результата азартной игры; и 4) операцию пересылки управляющих команд в беспроводное воспроизводящее игровое устройство, причем управляющие команды используются беспроводным воспроизводящим игровым устройством для представления результата азартной игры. Связь между игровой машиной и беспроводным воспроизводящим игровым устройством может осуществляться с помощью протокола беспроводной связи, выбранного из числа таких протоколов, как IEEE 802.11a, IEEE 802.11b, IEEE 802.11х, hyperlan/2, Bluetooth и HomeRF.
В отдельных примерах осуществления способ может содержать: а) операцию резервирования игровой машины для игры по беспроводной связи, b) операцию приема запроса от беспроводного воспроизводящего игрового устройства на выбор азартной игры, которая будет запущена на беспроводном воспроизводящем игровом устройстве, с) операцию выбора азартной игры на игровой машине, осуществляемого до установления связи с беспроводным воспроизводящим игровым устройством, d) операцию приема сообщения с величиной ставки в азартной игре, е) операцию приема сообщения с информацией, полученной из входных сигналов, генерируемых на одном или более механизмах ввода, размещенных на беспроводном воспроизводящем игровом устройстве, е) операцию генерации шифрованного сообщения и пересылки шифрованного сообщения в беспроводное воспроизводящее игровое устройство, f) операцию приема шифрованного сообщения от беспроводного воспроизводящего игрового устройства и дешифрования шифрованного сообщения, g) операцию инициирования сеанса трекинга игрока, h) операцию добавления кредитов в игровую машину, i) операцию сохранения истории игр, запускаемых на беспроводном воспроизводящем игровом устройстве в течение игровой сессии по беспроводной связи, j) операцию генерации результата бонусной игры и пересылки управляющих команд, используемых для представления результата бонусной игры на беспроводном воспроизводящем игровом устройстве, в беспроводное воспроизводящее игровое устройство, k) операцию пересылки данных измерения количественных показателей, генерируемых в течение игровой сессии по беспроводной связи, на сервер трекинга игроков, l) операцию аутентификации личности игрока, использующего беспроводное воспроизводящее игровое устройство, причем аутентификация личности игрока осуществляется с помощью биометрической информации, полученной от игрока, и/или m) операцию завершения игровой сессии по беспроводной связи. В дополнение к этому способ может содержать операцию пересылки развлекательного содержимого в беспроводное воспроизводящее игровое устройство, причем развлекательное содержимое выбрано из такого содержимого, как реклама, новости, биржевые цены, электронная почта, Web-страница, услуга обмена сообщениями, услуга устройства ввода позиций или услуга гостиницы/казино, кинофильм, отрывок из музыкального произведения, поощрение казино, широковещательное событие, текущее техническое обслуживание и ремонт, услуга трекинга игрока, меню напитков и меню закусок.
Другой особенностью настоящего изобретения является создание способа генерации игровой сессии по беспроводной связи в беспроводном воспроизводящем игровом устройстве, обменивающемся данными с игровой машиной. Способ может характеризоваться тем, что содержит: 1) операцию установления связи с игровой машиной; 2) операцию приема входного сигнала для инициирования азартной игры от механизма ввода, размещенного на беспроводном воспроизводящем игровом устройстве; 3) операцию пересылки сообщения с указанием азартной игры, инициированной на беспроводном воспроизводящем игровом устройстве, в игровую машину; и 4) операцию отображения результата азартной игры. Способ может также содержать операцию отображения развлекательного содержимого на беспроводном воспроизводящем игровом устройстве, причем развлекательное содержимое выбрано из такого содержимого, как реклама, новости, биржевые цены, электронная почта, Web-страница, услуга обмена сообщениями, услуга устройства ввода позиций или услуга гостиницы/казино, кинофильм, отрывок из музыкального произведения, поощрение казино, широковещательное событие, текущее техническое обслуживание и ремонт, услуга трекинга игрока, меню напитков и меню закусок.
В отдельных примерах осуществления способ может содержать: а) операцию приема сообщения с результатом игры, генерируемым на игровой машине, b) операцию генерации графического представления результата азартной игры, с) операцию начальной загрузки беспроводного воспроизводящего игрового устройства, d) операцию разрешения ведения игры на беспроводном воспроизводящем игровом устройстве, d) операцию приема варианта выбора игры и пересылки варианта выбора игры в игровую машину, е) операцию приема величины ставки в азартной игре и пересылки величины ставки в игровую машину, f) операцию приема входных сигналов от одного или более механизмов ввода, размещенных на беспроводном воспроизводящем игровом устройстве, и пересылки информации, полученной из входных сигналов, в игровую машину, g) операцию генерации шифрованного сообщения и пересылки шифрованного сообщения в игровую машину, h) операцию приема шифрованного сообщения от игровой машины и дешифрования шифрованного сообщения, i) операцию приема аутентифицирующих данных игрока, использующего беспроводное воспроизводящее игровое устройство, например биометрической информации, ПИН-номера и пароля, j) операцию пересылки аутентифицирующих данных в игровую машину, k) операцию приема сообщения с результатом бонусной игры, генерируемого на игровой машине, и l) операцию генерации графического представления результата бонусной игры и отображения графического представления результата бонусной игры.
Другой особенностью изобретения является создание компьютерных программных продуктов, содержащих машиночитаемый носитель, на котором хранятся команды программы, обеспечивающей осуществление каждого из описанных выше способов. Любой из способов, являющихся предметом этого изобретения, может быть представлен в виде команд программы и/или структур данных, баз данных и т.д., которые могут храниться на таких компьютерно-читаемых носителях.
Ниже следует более подробное описание этих и других особенностей и преимуществ настоящего изобретения, иллюстрируемое прилагаемыми фигурами.
Краткое описание графических материалов
Фиг.1 – блок-схема игровой машины, обменивающейся данными с беспроводным воспроизводящим игровым устройством.
Фиг.2 – перспективное изображение игровой машины, имеющей приставку и другие устройства.
Фиг.3 – блок-схема компонентов в составе игровой машины и компонентов в составе беспроводного воспроизводящего игрового устройства.
Фиг.4 – блок-схема сети игровых машин и беспроводных воспроизводящих игровых устройств.
Фиг.5 – схема последовательности операций при реализации способа проведения азартной игры на беспроводном воспроизводящем игровом устройстве, обменивающемся данными с игровой машиной.
Фиг.6 – схема последовательности операций при реализации способа проведения азартной игры в беспроводном воспроизводящем игровом устройстве, обменивающемся данными с игровой машиной.
Описание предпочтительных примеров осуществления
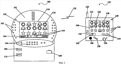
На фиг.1 изображена блок-схема игровой машины 100, обменивающейся данными с беспроводным воспроизводящим игровым устройством 125. В настоящем изобретении беспроводное воспроизводящее игровое устройство 125 используется как удаленная приставка для расширения возможностей ведения игр на игровой машине 100. Результаты азартных игр, генерируемых с помощью лицензированного и настроенного игрового программного обеспечения, выполняемого на игровой машине 100, могут быть представлены на беспроводном воспроизводящем игровом устройстве 125 в удаленных от игровой машины 100 помещениях. Поэтому игра, генерируемая на игровой машине 100, может быть представлена на дисплее 118, размещенном на основном корпусе 101 игровой машины, и запущена с помощью механизмов ввода, размещенных на основном корпусе игровой машины. В дополнение к этому игра, генерируемая на игровой машине, может быть представлена на дисплее 128, размещенном на беспроводном воспроизводящем игровом устройстве, обменивающемся данными с игровой машиной, и запущена с помощью механизмов ввода, размещенных на беспроводном воспроизводящем игровом устройстве.
Как пример ведения игры на игровой машине 100 в соответствии с настоящим изобретением игра 116 может быть представлена на дисплее 118, размещенном на игровой машине 100. Игру 116 можно запускать с помощью механизмов ввода типа кнопок ввода 106 или кнопок интерфейса сенсорного экрана 104. Кнопки интерфейса сенсорного экрана 104 активизируют с помощью сенсорного экрана 120, размещенного поверх дисплея 118 игровой машины 100. Далее игра 126 может быть представлена на дисплее 128, размещенном на беспроводном воспроизводящем игровом устройстве 125. Игру 126 можно запускать с помощью механизмов ввода, размещенных на беспроводном воспроизводящем игровом устройстве 125, таких как 138 и 136 или кнопок интерфейса сенсорного экрана 134. Кнопки интерфейса сенсорного экрана 134 активизируют с помощью сенсорного экрана 146, размещенного поверх дисплея 128.
Игровая логика для игры, представляемой на дисплее 118 или дисплее 128, хранится внутри основного корпуса 101 игровой машины 100. Игровая логика, являющаяся типичным настраиваемым игровым программным обеспечением, выполняется ведущим игровым контроллером (см. фиг.3), размещенным внутри основного корпуса 101 игровой машины 100. Отдельная игра, выполняемая ведущим игровым контроллером, может быть представлена на дисплее 118 или, при активизированном беспроводном воспроизводящем игровом устройстве 125, на дисплее 128. В некоторых примерах осуществления настоящего изобретения, когда одна и та же игра может быть представлена на дисплее 118 или на дисплее 128, графические представления игры могут варьироваться между дисплеями из-за различий в оборудовании. Например, размеры дисплея 118 могут превышать размеры дисплея 128, что позволяет получать на дисплее 118 изображения с более высоким разрешением, чем на дисплее 128.
В процессе ведения игры 126 на переносном (карманном) беспроводном воспроизводящем игровом устройстве 125 игрок может перемещаться по всем залам казино, где разрешается ведение игры по беспроводной связи. Например, игрок может вести игру 126 на беспроводном воспроизводящем игровом устройстве 125 в ресторане, зале для Кено или спортивном тотализаторе. При ведении игры 126 на беспроводном воспроизводящем игровом устройстве 125 игрок не должен оставаться в статическом положении. В процессе игры на беспроводном воспроизводящем игровом устройстве 125 игрок может активно двигаться.
При ведении игры на беспроводном воспроизводящем игровом устройстве, являющемся предметом настоящего изобретения, таком как 125, все события для генерации случайных чисел (ГСЛ), результаты игр, измерительная информация, информация, относящаяся к играм, и все транзакции с наличностью генерируются и поддерживаются в лицензированной (управляемой) игровой машине (например, 100), а не в беспроводном воспроизводящем игровом устройстве. Поэтому беспроводное воспроизводящее игровое устройство 125 может рассматриваться как удаленная приставка игровой машины 100, снабженная дисплеем и механизмами ввода. Снабженная удаленной приставкой игровая машина может работать и в автономном режиме, и в режиме удаленного доступа. При работе в автономном режиме для ведения игры используются дисплей и механизмы ввода, размещенные на игровой машине. В режиме удаленного доступа ведение игры осуществляется с помощью дисплея и механизмов ввода, размещенных на беспроводном воспроизводящем игровом устройстве. Ниже приводится описание этих двух режимов работы.
В процессе ведения игры на игровой машине в автономном режиме игрок может ввести деньги или установить кредит в игровую машину, указать величину ставки и инициировать ведение игры. Например, чтобы запустить слот 116 на игровой машине 100, игрок может внести деньги или установить кредит с помощью купюроприемника 108, устройства считывания карточек 110 или монетоприемника 109. При этом информация о состоянии 114 для игры, например название игры и доступные кредиты, может быть отображена на дисплее 118. Затем, используя кнопки ввода 106 и кнопки интерфейса сенсорного экрана 104, игрок может сделать ставку и инициировать игру. Игровая машина определяет результат игры и затем представляет результат игры игроку на дисплее 118. Например, после инициирования слота видеоигровая машина рассчитывает конечное положение барабанов (например, результат игры), барабаны на дисплее 118 вращаются, а затем останавливаются в определенном положении. На основе определенного результата, рассчитанного ведущим игровым контроллером, игроку может быть представлен выигрыш. Как другой пример, после инициирования игры в карты видеоигровая машина 100 рассчитывает последовательность карт, которые должны быть сданы игроку, и на дисплее 118 карты сдаются на руки. В процессе ведения игры в карты игрок может использовать механизмы ввода на игровой машине 100 для удерживания или сбрасывания карт. По окончании игры в карты игроку может быть представлен выигрыш.
Играм, представляемым на игровой машине 100, могут быть приданы дополнительные особенности. Для более яркого представления результатов игры на игровой машине 100 могут генерироваться световые узоры, например, от источников света 102 и воспроизводиться звук. В дополнение к этому в процессе определенных игровых событий игроку может быть представлена бонусная игра.
В процессе ведения игры на игровой машине в режиме удаленного доступа с помощью беспроводного воспроизводящего игрового устройства типа 125 игрок может ввести деньги или установить кредит в игровой машине, активизировать беспроводное воспроизводящее игровое устройство, указать сумму ставки на беспроводном воспроизводящем игровом устройстве и инициировать ведение игры на беспроводном воспроизводящем игровом устройстве. Например, для запуска слота 126 на игровой машине 100 с помощью беспроводного воспроизводящего игрового устройства 125 игрок делает запрос на проведение игровой сессии по беспроводной связи. Игровая сессия по беспроводной связи может включать проведение одной или более игр на беспроводном воспроизводящем игровом устройстве 125, соединенном с игровой машиной 100 через линию беспроводной связи 122. Запрос на проведение игровой сессии по беспроводной связи может быть сделан игроком с помощью механизмов ввода, размещенных на игровой машине.
До начала игровой сессии по беспроводной связи от игрока могут потребовать депонировать деньги или установить кредит в игровой машине, обменивающейся данными с беспроводным воспроизводящим игровым устройством. Депонированные кредиты могут использоваться в процессе проведения игровой сессии по беспроводной связи. Например, с помощью купюроприемника 108, устройства считывания карточек 110 или монетоприемника 109, размещенных на игровой машине 100, игрок может обеспечить начальную сумму кредитов, которые нужно использовать для проведения игровой сессии по беспроводной связи с помощью беспроводного воспроизводящего игрового устройства 125. В процессе ведения игры на беспроводном воспроизводящем игровом устройстве игрок делает ставки на определенную сумму кредитов в каждой игре. В зависимости от результата отдельной игры количество кредитов, доступных для ведения игры, может уменьшаться или увеличиваться.
В некоторых примерах осуществления после того, как игрок использовал все свои кредиты в процессе проведения игровой сессии по беспроводной связи и желает продолжить игровую сессию по беспроводной связи, он может сделать запрос на возврат игровой машины к добавлению дополнительных кредитов. В других примерах осуществления (см. фиг.3) беспроводное воспроизводящее игровое устройство 125 может быть снабжено устройством считывания карточек или другим устройством ввода, которые могут использоваться для добавления кредитов в игровую машину 100. Например, игрок может ввести номер кредитной карточки или номер дебетной карточки и перевести в игровую машину денежные средства, которые должны быть использованы как игровые кредиты, через интерфейс сенсорного экрана на беспроводном воспроизводящем игровом устройстве 125. Кроме того, беспроводное воспроизводящее игровое устройство может включать в свой состав устройство считывания карточек для сканирования магнитной полосы на дебетной или кредитной карточке.
После установления игровых кредитов на игровой машине беспроводное воспроизводящее игровое устройство 125 активизируется. В некоторых примерах осуществления пользователь беспроводного воспроизводящего игрового устройства подвергается аутентификации и верификации. Например, для обеспечения выполнения возрастных ограничений, накладываемых юрисдикцией, может быть осуществлена верификация и аутентификация потенциального пользователя беспроводного игрового воспроизводящего устройства. Беспроводное воспроизводящее игровое устройство может иметь биометрический датчик (не показан) типа датчика отпечатков пальцев. Как часть процесса аутентификации игроку может быть сделано предложение поместить свой палец на датчик, размещенный на беспроводном воспроизводящем игровом устройстве. Изображение отпечатка пальца пересылается назад в контроллер в составе машине для сравнения. Как другой пример беспроводное воспроизводящее игровое устройство может включать в свой состав считывающее устройство смарт-карточки, которое считывает биометрические смарт-карточки (карточки, имеющие встроенный датчик отпечатков пальцев). Смарт-карточка имеет всю личную информацию о госте казино. Таким образом, аутентификация может происходить непосредственно на беспроводном воспроизводящем игровом устройстве. Описание устройства считывания отпечатков пальцев, используемого как идентифицирующее устройство, приводится в совместно рассматриваемой заявке США №09/172,787 под названием “Способ и устройство для идентификации игрока”, поданной Wells (Уэллс) и др. 14 октября 1998 г. и включенной в это описание во всей своей полноте и для всех целей. Другие типы способов верификации по ПИН-номеру или паролю могут использоваться отдельно или в сочетании со способами индентификации по биометрической информации. В качестве других способов идентификации по биометрической информации, которые могут использоваться в настоящем изобретении, можно назвать такие способы, как идентификация физических признаков с помощью камеры, идентификация отпечатка радужной оболочки с помощью специального сканера, идентификация образца голоса с помощью микрофона, распознавание почерка с помощью панели ввода рукописного текста и т.д.
Для защиты беспроводное воспроизводящее игровое устройство имеет шифрованный серийный номер (код), который используется для верификации и аутентификации беспроводного воспроизводящего игрового устройства. Для дополнительной защиты этого устройства может использоваться электронный ключ. При использовании системы электронных ключей беспроводное игровое устройство не может быть активизировано до тех пор, пока ключ не будет вставлен в разъем на беспроводном воспроизводящем игровом устройстве. В дополнение к этому беспроводное воспроизводящее игровое устройство может быть снабжено небольшим устройством ГСП (глобальной системы определения местоположения), позволяющим контролировать местоположение устройства. Верификация положения может использоваться для обеспечения использования беспроводного воспроизводящего игрового устройства только в действующих игровых залах казино и нахождения потерянных или захваченных устройств. Когда игровая машина определяет, что беспроводное воспроизводящее игровое устройство находится в зоне ограничения, связь с беспроводным воспроизводящим игровым устройством может быть прекращена. Далее, беспроводное воспроизводящее игровое устройство может иметь встроенное ВЧ емкостное устройство. ВЧ емкостные устройства часто используется в розничной торговле для предотвращения воровства. Когда игрок с беспроводным воспроизводящим игровым устройством проходит через защищенный дверной проем, беспроводное воспроизводящее игровое устройство может подать сигнал тревоги даже в обесточенном состоянии. На беспроводном воспроизводящем игровом устройстве могут быть использованы не только описанные выше датчики ГСП или ВЧ емкостные устройства, но и другие защитные устройства.
Для инициирования каждой игровой сессии по беспроводной связи может потребоваться проведение верификации и аутентификации. Далее, может существовать ограничение на время неучастия в игре. При превышении лимита этого времени должен быть проведен цикл или процесс верификация и аутентификации. Цикл верификации и аутентификации может выполняться для игрока и беспроводного воспроизводящего игрового устройства, только для игрока или только для беспроводного воспроизводящего игрового устройства. Как другой пример запрос на выполнение аутентификации и верификации может делаться после определенного количества игр, проведенных на игровом устройстве, или даже через произвольные интервалы времени. В случае неудовлетворительных результатов верификации и аутентификации в процессе игровой сессии по беспроводной связи игровая сессия, как правило, завершается.
В одном примере осуществления настоящего изобретения после активизации беспроводного воспроизводящего игрового устройства 125 механизмы ввода типа сенсорного экрана 120 и кнопок ввода 106, встроенных в игровую машину 100, дезактивируются, и игровая сессия по беспроводной связи может начаться. Дисплей 118 на игровой машине 101 может отображать сообщение “не в исправности”, сообщение “оператор” или экран дисплея 118 может быть пустым, чтобы указать, что игровая машина не готова для ведения игры. В процессе ведения игры в режиме удаленного доступа на беспроводном воспроизводящем игровом устройстве 125 игровая информация, необходимая для представления игры на беспроводном воспроизводящем игровом устройстве, например графическое представление результата игры и измерительная информации, генерируется на игровой машине 100 и передается в беспроводное воспроизводящее игровое устройство через линию беспроводной связи 122. Математические способы, используемые для генерации результатов игры, остаются на игровой машине 100. Далее, игровая информация, требуемая игровой машиной 100 для определения результата игры, типа сигналов от механизмов ввода, размещенных на беспроводном воспроизводящем игровом устройстве, передается от беспроводного воспроизводящего игрового устройства 125 в игровую машину 100 через линию беспроводной связи 122.
В процессе ведения игры на беспроводном воспроизводящем игровом устройстве 125 информация о состоянии 142 для игры 126, например название игры и доступные кредиты, может быть отображена на дисплее 128. Информация о состоянии 142 и игра 126, отображаемые на беспроводном воспроизводящем игровом устройстве 125, могут быть подобными отображаемым на игровой машине 101, но не обязательно идентичными отображаемым на игровой машине 100. Затем, используя кнопки ввода, такие как 134, 136 и 138, игрок может сделать ставку и инициировать игру. В одном из примеров осуществления настоящего изобретения кнопки интерфейса сенсорного экрана 134 могут базироваться на интерфейсе Web-браузера.
После инициирования игры на беспроводном воспроизводящем игровом устройстве 125 информация о ставке и входные сигналы инициирования игры пересылаются через антенну 124 и линию беспроводной связи 122 в игровую машину 100. В ответе на ставку и инициирование игры игровая машина 100 генерирует результат игры, включая выигрыш и возможно бонусную игру. Команды для отображения результата игры и бонусной игры пересылаются по одной или более линий беспроводной связи 122 в беспроводное воспроизводящее игровое устройство 125. Пересылка информации по одной или более линий беспроводной связи может осуществляться в виде последовательности информационных пакетов. Формат информационных пакетов меняется в соответствии с используемым стандартом беспроводной связи. Подробное описание беспроводной сети для обмена данными по беспроводной связи приводится со ссылками на фиг.4.
В качестве иллюстрации отдельной игры рассматривается слот и игра в карты. Однако настоящее изобретение не ограничивается этими играми, так как почти любую игру, которую можно запускать на видеоигровой машине, можно также вести на беспроводном воспроизводящем игровом устройстве 125. При инициировании слота 126 на беспроводном воспроизводящем игровом устройстве 125 игровая машина 100 рассчитывает конечное положение барабанов (например, результат игры). Игровая машина может переслать в беспроводное воспроизводящее игровое устройство команду на отображение на дисплее 128 вращения и последующего останова барабанов в определенном положении. На основе конечного положения барабанов, рассчитанного ведущим игровым контроллером, размещенным на игровой машине 100, игроку может быть представлен выигрыш. В дополнение к этому в процессе определенных игровых событий в качестве части слота игроку может быть представлена бонусная игра. Как другой пример после инициирования игры в карты на беспроводном воспроизводящем игровом устройстве 125 видеоигровая машина 100 рассчитывает последовательность карт, которые должны быть сданы. По линии беспроводной связи 122 игровая машина 100 пересылает в беспроводное воспроизводящее игровое устройство 125 команду на отображение карт, сдаваемых на руки, на дисплее 128. В процессе ведения игры в карты игрок может использовать механизмы ввода на беспроводном воспроизводящем игровом устройстве 125 для удерживания или сбрасывания карт. По окончании игры в карты игроку может быть представлен выигрыш. В игру в карты может быть также включена бонусная игра.
В случае нежелания клиента использовать беспроводное воспроизводящее игровое устройство 125 в дальнейшем клиент может завершить игровую сессию по беспроводной связи с помощью сенсорного экрана 146 и дезактивировать беспроводное воспроизводящее игровое устройство 125. Как описано выше, беспроводное воспроизводящее игровое устройство 125 может автоматически завершить игровую сессию по беспроводной связи и самостоятельно дезактивировать себя после периода бездеятельности. После роуминга с беспроводным воспроизводящим игровым устройством 125 клиент может вернуться к игровой машине, обеспечивающей игровую сессию по беспроводной связи, и возобновить игру на основном дисплее игровой машины. В этом случае клиент может нажать кнопку “возврат” на беспроводном воспроизводящем игровом устройстве 125, и после проведения цикла верификации игрок может начать игру на игровой машине снова.
Играм, представляемым на беспроводном воспроизводящем игровом устройстве 125, могут быть приданы дополнительные особенности. Например, для более яркого представления результатов игры и придания играм на беспроводном воспроизводящем игровом устройстве 125 дополнительного эмоционального накала могут генерироваться световые узоры и воспроизводиться звук. Далее в состав беспроводного воспроизводящего игрового устройства может входить интерфейс вывода звука для подключения наушников. Как часть представления результатов игры звуки могут передаваться через интерфейс вывода звука в наушники, надетые игроком.
Далее приводится подробное описание беспроводного воспроизводящего игрового устройства как устройства. Беспроводное воспроизводящее игровое устройство 125, как правило, является карманным устройством. Это устройство состоит из корпуса 112, дисплея 128, сенсорного экрана 146, панели переключателей 144, батареи питания, интерфейса беспроводной связи и контроллера. В одном примере осуществления настоящего изобретения в качестве беспроводного воспроизводящего игрового устройства используется усовершенствованная клавиатура DT Research WebDT (DT Research, Inc., Milpitas, California). Однако настоящее изобретение не ограничивается клавиатурой DT Research WebDT, так как предполагает также возможность использования других карманных беспроводных устройств типа персональных цифровых секретарей (ПЦС).
В одном из примеров осуществления беспроводное воспроизводящее игровое устройство может иметь размеры, составляющие приблизительно 10,5×9,5×1,0 дюймов, весить 3 фунта и использовать дисплей с цветным жидкокристаллическим сенсорным экраном размером 10,4 дюйма. Как правило, дисплей с размерами от 8 до 10,4 дюймов имеет достаточно большую полезную площадь экрана и не требует уменьшения шрифтов до нечитабельных для большинства игроков размеров. Сенсорный экран (чувствительный элемент) 146 установлен поверх отображаемой поверхности ЖК дисплея 128. Вместо жидких кристаллов при изготовлении дисплея могут использоваться другие технологии, плюс некоторые дисплеи могут иметь встроенный сенсорный экран (внутренний против внешнего). Для активизации сенсорного экрана 146 может быть использован стилус 130, но большинство людей будет использовать свои пальцы.
Вывод звука осуществляется через небольшой встроенный динамик 140 или внешний головной телефон. Для создания визуальных эффектов и передачи игроку информации о состоянии игры беспроводное воспроизводящее игровое устройство 125 может быть дополнительно оснащено осветительными схемами типа светодиодных матриц. Информацию о состоянии типа уровня напряжения на батарее питания и состояния подключения можно передавать лампочками состояния 132. Схема размещения и количество кнопок ввода, включая 138 и 136, могут варьироваться. На фиг.1 кнопки ввода на игровой машине 100 и на беспроводном воспроизводящем игровом устройстве имеют различную конфигурацию. В одном из примеров осуществления настоящего изобретения кнопки ввода на беспроводном воспроизводящем игровом устройстве 125 могут иметь конфигурацию, подобную кнопкам ввода, размещенным на игровой машине. Далее, в зависимости от конструкции беспроводного воспроизводящего игрового устройства другие устройства на беспроводном воспроизводящем игровом устройстве типа устройства вывода звука 140, лампочек состояния 132, антенны 124 и выключателя питания 144 могут быть размещены на корпусе 112 в других положениях.
В одном из примеров осуществления время действия батареи питания составляет 5 часов. Зарядка беспроводного воспроизводящего игрового устройства может быть выполнена путем установки беспроводного воспроизводящего игрового устройства в специальное гнездо. Гнезда могут быть выполнены в форме карманов, размещенных в специальных ячейках, размещенных на игровой машине, или сформированы как держатели, размещенные на стенде, стойке или столе. Например, гнездом для зарядки беспроводного воспроизводящего игрового устройства может быть снабжен зал для Кено, столы ресторана или спортивный тотализатор. При размещении беспроводного воспроизводящего игрового устройства в гнезде оно может использоваться в процессе зарядки.
В отдельном примере осуществления беспроводное воспроизводящее игровое устройство 125 использует соответствующий беспроводный интерфейс IEEE 802.11b, представляющий собой систему радиосвязи с расширением спектра по методу прямой последовательности. Дальность связи, обеспечиваемая этой системой, составляет до 330 футов (в пределах) от любого пункта доступа. Скорость передачи данных – 11 Мбит/с. IEEE 802.11b является обычно используемым стандартом радиосвязи, но настоящее изобретение не ограничивается этим стандартом. Могут использоваться другие стандарты беспроводной связи из числа IEEE 802.11а, IEEE 802.11х, hyperlan/2, Bluetooth, IrDA и HomeRF.
В рассмотренном выше примере процесс ведения игр в автономном режиме и процесс ведения игр в режиме удаленного доступа на игровой машине 100 были описаны как взаимоисключающие. Поэтому при разрешении ведения игры в автономном режиме ведение игры в режиме удаленного доступа блокируется, а при разрешении ведения игры в режиме удаленного доступа блокируется ведение игры в автономном режиме. Настоящее изобретение не ограничивается этим. С настоящим изобретением могут использоваться игровые машины, поддерживающие ведение игр только в режиме удаленного доступа и не поддерживающие ведения игр в автономном режиме. Эти игровые машины (см. фиг.4) могут быть размещены вдали от залов казино. Далее, игровая машина может одновременно поддерживать множество удаленных игровых устройств для ведения игры, а не только одно удаленное игровое устройство. Наконец, игровая машина может использоваться для одновременного обеспечения игр в режиме удаленного доступа и в автономном режиме. Например, один игрок может использовать игровую машину для игры в автономном режиме, в то время как другой игрок использует беспроводное воспроизводящее игровое устройство, подключенное к игровой машине для ведения игры в режиме удаленного доступа.
На фиг.2 изображена другая видеоигровая машина 2, являющаяся предметом настоящего изобретения. Фиг.2 представляет собой более подробную иллюстрацию игровой машины, а также дополнительных игровых услуг, которые могут быть предоставлены с помощью игровой машины, обеспечивающей проведение игровых сессий в режиме удаленного доступа. Например, игровые машины, являющиеся предметом настоящего изобретения, могут предоставлять услуги трекинга игрока, и очки трекинга игрока могут накапливаться в течение игровой сессии по беспроводной связи. Далее, с помощью устройство трекинга игрока, размещенного на игровой машине, игрок может сделать запрос на использование беспроводного воспроизводящего игрового устройства в игровой сессии по беспроводной связи.
Машина 2 имеет основной корпус 4, который, как правило, окружает внутреннюю часть машины (не показано) и который могут видеть пользователи. Со своей передней стороны основной корпус имеет главную дверцу 8, открывающуюся для обеспечения доступа к внутренним блокам машины. На поверхность главной дверцы выведены переключатели или кнопки ввода 32, монетоприемник 28 и купюроприемник 30, лоток для монет 38, а также защитное стекло 40. Через главную дверцу можно видеть монитор с видеодисплеем 34 и информационную панель 36. Монитор с дисплеем 34, как правило, представляет собой катодно-лучевую трубку, плоскопанельный ЖК дисплей с высоким разрешением или другой обычный видеомонитор с электронным управлением. Игровая машина 2 имеет верхнюю приставку 6, которая установлена на верхней поверхности основного корпуса 4. В приставке может быть установлен второй монитор с дисплеем 42. Второй монитор с дисплеем может также представлять собой катодно-лучевую трубку, плоскопанельный жидкокристаллический дисплей с высоким разрешением или другой обычный видеомонитор с электронным управлением. В дополнение к этому игровая машина 2 спроектирована так, чтобы можно было устанавливать связь с беспроводным воспроизводящим игровым устройством 125, снабженным дисплеем 126. Беспроводное воспроизводящее игровое устройство 125 образует удаленную приставку к игровой машине 2.
Как правило, после того, как игрок инициирует игру на игровой машине, одна из целей основного монитора с дисплеем 34, второго монитора с дисплеем 42 или удаленного дисплея 126 состоит в визуальном отображении результатов игры, включая бонусные игры, управление которыми осуществляется ведущим игровым контроллером 224 (фиг.3). Кроме того, основной монитор с дисплеем 34, второй монитор с дисплеем 42 и удаленный дисплей 126 могут использоваться для отображения развлекательного содержимого независимо от представления результатов игры. Например, широковещательные события, включая просмотр телепрограмм, могут быть осуществлены на основном мониторе с дисплеем 34, вторичном мониторе с дисплеем 42 или удаленном дисплее 126. Широковещательные события могут пересылаться в игровую машину 2 через кабельную шину или другую подходящую шину вне игровой машины. Все или некоторые программы, предоставляемые телекомпаниями, могут отображаться в качестве развлекательного содержимого на одном или более видеодисплеях.
Содержимое телепрограмм, представляющее особый интерес для операторов казино и игроков, может включать, например, спортивные соревнования, ток-шоу, телеигры, мыльные оперы, рекламные объявления, комедийные сериалы и т.д. В дополнение к этому могут отображаться телепередачи состязаний, на которые игрок может поставить. Например, в качестве содержимого на удаленном дисплее 125 могут отображаться собачьи бега или скачки. В таких событиях, как правило, имеется довольно длительный простой между гонками. В течение этого периода времени игрок может играть на беспроводном воспроизводящем игровом устройстве 125, подключенном к игровой машине. К тому же, пока игрок занимается игрой на беспроводном воспроизводящем игровом устройстве 125 или между играми может отображаться содержимое развлекательных телепрограмм. Для более искушенных в технике игроков развлекательное содержимое может также включать информацию, доступную на Internet, включая “Всемирную паутину”.
Возвращаясь к игровой машине на фиг.2, следует отметить, что информационная панель 36 может представлять собой стеклянную панель с задней подсветкой и выполненными методом трафаретной печати надписями, представляющими общую игровую информацию, включая, например, количество играющих монет. Купюроприемник 30, переключатели ввода 32 для игрока, монитор с видеодисплеем 34 и информационная панель являются устройствами, используемыми для ведения игры на игровой машине 2, в том числе и на беспроводном воспроизводящем игровом устройстве 125.Управление этими устройствами осуществляется ведущим игровым контроллером (см. фиг.3), размещенным внутри основного корпуса 4 машины 2. Игровые машины, являющиеся предметом этого изобретения, позволяют вести всевозможные игры, включая традиционные механические слоты, видеослоты, видеопокер, видеопатинко, игры в покер на нескольких руках, видеопокер Пай Гау, видеоблэкджек, видеокено, видеобинго, видеорулетку, видеокрэпс, карточные видеоигры и обычные азартные игры. Эти игры можно вести с помощью беспроводного воспроизводящего игрового устройства 125.
Обычные азартные игры относятся к играм, в которых игрок делает ставку на результат игры. На результат азартной игры игрок может воздействовать одним или более своими решениями. Например, в карточной видеоигре игрок может удерживать или сбрасывать карты, которые оказывают влияние на результат игры.
В верхней приставке 6 размещен ряд устройств, которые могут использоваться для придания дополнительных особенностей игре, запускаемой на игровой машине 2, включая динамики 10, 12, 14 и билетопечатающее устройство 18, которое может печатать билеты со штриховым кодом 20, клавишную панель 22, флуоресцентный дисплей 16, камеру 45, микрофон 44 и устройство считывания карточек 24 для ввода карточек с магнитной полосой. Динамики могут использоваться для воспроизведения звуковых эффектов как части представления результата игры. Клавишная панель 22, флуоресцентный дисплей 16 и устройство считывания карточек 24 могут использоваться для ввода и отображения данных трекинга игрока. В другом примере игрок может вводить данные трекинга игрока и идентифицирующую информацию, используя устройство считывания карточек 24 и основной видеодисплей 34, причем основной видеодисплей может использоваться для ввода информации как сенсорный экран. Данные трекинга игрока могут быть введены в игровую машину до того, как игрок инициирует игру на игровой машине. Как правило, стимулом для ввода данных своего трекинга в игровую машину 2 для игрока является потенциальная награда, связанная с количеством игр, проведенных игроком.
Приставка снабжена также фонарем 46. Фонарь представляет собой источник света, включаемый ведущим игровым контроллером на игровой машине. В одном из примеров осуществления в фонаре может быть установлена антенна (не показано). Антенна может использоваться для обеспечения возможности проведения игровых сессий по беспроводной связи с участием одного или более беспроводных воспроизводящих игровых устройств, обменивающихся данными с игровой машиной 2 через антенну.
В дополнение к этому следует отметить, что для предоставления услуг трекинга игрока клавишная панель 22, флуоресцентный экран 16 и устройство считывания карточек 24 могут использоваться при вводе идентифицирующей информации, обеспечивающей игроку возможность доступа к развлекательному содержимому или приема персональных сообщений на игровой машине независимо от ведения игры и представления результата игры на игровой машине 2. Например, игрок может ввести персональный идентификационный номер в игровую машину 2 с помощью клавишной панели 22, что позволит игроку принимать развлекательное содержимое типа просмотра кинофильма или широковещательного события. В другом примере после ввода персонального идентификационного номера игроку может быть предоставлена возможность приема персонального сообщения, указывающего на готовность столика в ресторане казино, или приема персонального сообщения, содержащего информацию о спортивном событии, например счет в соревновании, представляющем интерес для игрока, использующего игровую машину.
В одном из примеров осуществления настоящего изобретения услуги трекинга игрока и сопутствующая игровая услуга, описанные выше, можно предоставлять через интерфейс сенсорного экрана на беспроводном воспроизводящем игровом устройстве 125. Например, беспроводное воспроизводящее игровое устройство 125 может содержать устройство считывания карточек для считывания карточки трекинга игрока, а идентифицирующие данные трекинга игрока можно получать через интерфейс сенсорного экрана на беспроводном воспроизводящем игровом устройстве. Далее, с помощью беспроводного воспроизводящего игрового устройства 125 игрок может иметь возможность обращения к данным трекинга игрока.
В дополнение к устройствам, описанным выше, приставка 6 может содержать отличные от представленных на фиг.2 или дополнительные устройства. Например, приставка может содержать бонусный барабан или панель с задней подсветкой и выполненными методом трафаретной печати надписями, обеспечивающие возможность использования бонусов в игре, запускаемой на игровой машине. В процессе игры управление и включение этих устройств осуществляется частично схемой (не показанной), размещенной внутри основного корпуса 4 машины 2. Выбор конструкций игровых машин, на которых настоящее изобретение может быть осуществлено, является чрезвычайно широким, и само собой разумеется, что игровая машина 2 является всего лишь одной из них. Например, не все подходящие игровые машины имеют приставки и функции трекинга игрока. Кроме того, некоторые игровые машины имеют два или более игровых дисплея – механический и/или видео. А некоторые игровые машины предназначены для барных стоек и имеют дисплеи с экраном, обращенным вверх. Как другой пример игра может генерироваться на хост-компьютере и отображаться на удаленном терминале или удаленном компьютере. Удаленный компьютер может быть подключен к хост-компьютеру через сеть какого-либо типа, например Internet. Специалистам в данной области техники должно быть очевидно, что настоящее изобретение, как описывается ниже, может быть использовано на большинстве игровых машин, доступных в настоящее время или будущих.
Возвращаясь к примеру, рассмотренному со ссылками на фиг.2, следует отметить, что когда пользователь выбирает игровую машину 2, он или она вводит наличные деньги через монетоприемник 28 или купюроприемник 30. В дополнение к этому купюроприемник 30 может принять как гарантию кредита напечатанный билет-ваучер. После изъятия наличных денег игровой машиной можно запускать игру на игровой машине. Как правило, игрок может использовать все или часть наличных денег, введенных в игровую машину, для ставки на игру. В зависимости от величины ставки на игру или за плату игрок имеет возможность обращения к различным источникам развлекательного содержимого в течение некоторого промежутка времени. Например, ставка на игру выше некоторого пороговой величины может предоставить игроку возможность наблюдения за широковещательным событием или обращения к “всемирной паутине” в течение промежутка времени до 5 минут после каждой ставки на игровой машине 2. В дополнение к этому наличные деньги или гарантия кредита, введенные в игровую машину, могут использоваться для покупки развлекательного содержимого независимо от ставки, сделанной на игру на игровой машине. Например, за 10 долларов игрок может посмотреть на игровой машине кинофильм. При просмотре кинофильма на игровой машине игрок может вести игры на игровой машине 2 или беспроводном воспроизводящем игровом устройстве 125 или только смотреть кинофильм.
В процессе ведения игры игрок может принимать некоторые решения, оказывающие влияние на результат игры. Например, игрок может изменять свою ставку, выбирать приз или принимать решения, которые оказывают влияние на ведение игры. Возможность выбора этих вариантов игрок может реализовать с помощью переключателей ввода 32, экрана основного видеодисплея 34 или какого-либо другого устройства, обеспечивающего игроку возможность ввода информации в игровую машину. Механизм выбора может представлять собой клавишную панель, сенсорный экран, мышь, джойстик, микрофон и трекбол.
Когда на игровой машине игра не ведется или в процессе работы машины в отдельных режимах, игрок может выбирать источник развлекательного содержимого, используя вышеупомянутые устройства ввода, причем развлекательное содержимое не зависит от игры, ведущейся на игровой машине. Источник развлекательного содержимого может представлять собой, например, CD-плейер, ЧМ/АМ-тюнер, VHS-плейер, DVD-плейер, ТВ-тюнер, музыкальный автомат, видеодисковый автомат, компьютер, сервер и прикладное программное обеспечение на носителях. При этом следует отметить, что может быть использован любой источник информации. Развлекательное содержимое из этих источников может выбираться и отображаться на беспроводном воспроизводящем игровом устройстве 125. Например, игрок может слушать музыку от ЧМ/АМ-тюнера через наушники, подключенные к беспроводному воспроизводящему игровому устройству.
Перед игрой игрок может выбрать видеодисковый автомат, который может содержать DVD-плейер, загруженный множеством цифровых видеодисков, как источник развлекательного содержимого и предварительно посмотреть кинофильм, по меньшей мере, на одном из экранов дисплеев на игровой машине 2. Цифровые видеодиски могут храниться на игровой машине 2 или в центре, расположенном отдельно от игровой машины. Воспроизводимое видеодисковым автоматом изображение игрок может наблюдать на основном экране видеодисплея 34, на вспомогательном экране видеодисплея 42 или на удаленном дисплее 126. Звуковое сопровождение кинофильма может воспроизводиться динамиками 10, 12 и 14 на игровой машине, или игрок может слушать его через наушники. Как описано выше, беспроводное воспроизводящее игровое устройство 125 может включать в свой состав интерфейс для вывода звука, например гнездо для подключения головного телефона.
Беспроводное воспроизводящее игровое устройство может также использовать переключатели ввода для игрока 32, клавишную панель 22 и другие устройства ввода для управления развлекательным содержимым. Например, когда развлекательное содержимое представляет собой кинофильм, переключатели ввода для игрока 32 и клавишная панель могут использоваться для ускоренной перемотки вперед, останова или паузы в кинофильме. Когда доступ к развлекательному содержимому осуществляется через “всемирную паутину” с помощью Web-браузера, переключатели ввода для игрока 32 и клавишная панель могут использоваться для управления Web-браузером. Переключатели ввода на беспроводном воспроизводящем игровом устройстве 125, как об этом говорится при описании фиг.1, могут также использоваться для управления этими функциями.
При определенных игровых событиях игровая машина 2 может воспроизводить визуальные и звуковые эффекты, оказывающие на игрока несомненное влияние. Эти эффекты придают игре дополнительный эмоциональный накал, вызывающий у игрока желание продолжить игру. Звуковые эффекты могут представлять собой различные звуки, воспроизводимые динамиками 10, 12, 14. В качестве визуальных эффектов могут быть использованы проблесковые или трассирующие огни или другие картины, воспроизводимые светом на игровой машине 2 с помощью ламп, расположенных на игровой машине 2 или за защитным стеклом 40. По окончании игры игрок может получить игровые жетоны из лотка для монет 38 или билет 20 из принтера 18, которые могут быть использованы в последующих играх или для выкупа приза. Игрок может также получить из принтера 18 билет 20 на еду, товары или игры. Когда игрок использует беспроводное воспроизводящее игровое устройство 125, кредиты, доступные в процессе проведения игровой сессии по беспроводной связи, хранятся на игровой машине. Для погашения кредитов, например для получения напечатанного билета-ваучера, игроку, по-видимому, придется возвратиться к игровой машине 100 или к пункту печати, поддерживающему связь с беспроводным воспроизводящим игровым устройством 125. В некоторых примерах осуществления настоящего изобретения игрок может иметь возможность переводить кредиты с помощью электроники на удаленный счет, доступный игроку.
На фиг.3 изображена блок-схема внутренних компонентов игровой машины 2 и беспроводного воспроизводящего игрового устройства 125. Компоненты, представленные на фиг.1 и 2, обозначены общими ссылочными цифрами. Ведущий игровой контроллер 224 управляет работой различных игровых устройств и представлением игр на игровой машине 2. В настоящем изобретении беспроводное воспроизводящее игровое устройство 125 – одно из игровых устройств, которым управляет ведущий игровой контроллер 224. Ведущий игровой контроллер 224 может устанавливать связь с беспроводным воспроизводящим игровым устройством 125 через линию беспроводной связи 252. Линия беспроводной связи может использовать стандарт беспроводной связи, такой как IEEE 802.11a, IEEE 802.11b, IEEE 802.11х (например, такие другие стандарты IEEE 802.11, как 802.11 с или 802.11e), hyperlan/2, Bluetooth, HomeRF и др.
Как описано выше, в настоящем изобретении игровая машина может работать в автономном режиме, при котором игра представляется на экране локального дисплея типа 32 или 42, в режиме удаленного доступа, при котором игра представляется на беспроводном воспроизводящем игровом устройстве 125, или сочетать эти режимы. Когда игровая машина 2 работает в автономном режиме, используя игровой код и графические библиотеки, хранимые на игровой машине 2, ведущий игровой контроллер 224 генерирует представление игры, которое воспроизводится на дисплеях 34 и 42. Представление игры – это, как правило, последовательность кадров, обновляемых со скоростью 60 Гц (60 кадров/с). Например, для видеослота представление игры может содержать последовательность кадров, изображающих барабаны слот-машины со множеством символов в различных позициях. При представлении последовательности кадров игрок, ведущий игру на игровой машине, наблюдает вращение барабанов слот-машины. Заключительные кадры представления игры в последовательности кадров представления игры отображают конечное положение барабанов. По конечному положению барабанов на видеодисплее игрок может определить результаты игры визуально.
Каждый из кадров в последовательности кадров в представлении игры временно сохраняется в видеопамяти 236, размещенной на ведущем игровом контроллере 224 или на видеоконтроллере 237. Игровая машина 2 может также содержать видеоадаптер (не показанный) с отдельной памятью и процессором для выполнения графических функций на игровой машине. Как правило, видеопамять 236 включает в свой состав один или более буферов изображения, которые хранят данные кадров, пересылаемые видеоконтроллером 237 на дисплей 34 или дисплей 42. Буфер изображения находится в видеопамяти, к которой видеоконтроллер обращается по способу прямой адресации. Видеопамять и видеоконтроллер могут быть включены в состав видеоадаптера, подключенного к плате процессора, содержащей ведущий игровой контроллер 224. Буфер изображения может состоять из ОЗУ, видеопамяти, статической памяти, синхронного динамического ОЗУ и пр.
Данные кадров, сохраненные в буфере изображения, обеспечивают данные пикселов (данные изображений), определяющие пикселы, отображаемые на экране дисплея. В одном из примеров осуществления видеопамять включает в свой состав 3 буфера изображения. Ведущий игровой контроллер 224, в соответствии с игровым кодом, может генерировать каждый кадр в одном из буферов изображения, обновляя графические компоненты предыдущего кадра, сохраненного в буфере. Таким образом, при возникновении незначительного изменения в кадре по сравнению с предыдущим кадром обновлению подвергается только та часть кадра, которая изменилась по отношению к предыдущему кадру, сохраненному в буфере изображения. Например, в одном из положений на экране 2 черви могут быть заменены на пикового короля. Это минимизирует количество данных, подлежащих передаче для любого данного кадра. Обновления графических компонентов одного из кадров в последовательности кадров (например, новая карта, взятая в игре в видеопокер) в игровом представлении могут быть выполнены с помощью различных графических библиотек, хранимых на игровой машине. Этот подход, как правило, используется для визуализации двумерной графики. В трехмерной графике для каждого кадра, как правило, восстанавливается весь экран.
Записанные ранее кадры, сохраненные на игровой машине, могут быть отображены с использованием “потокового” видео. В потоковом видео последовательность записанных ранее кадров, сохраненных на игровой машине, передается через буфер изображения на видеоконтроллере 237 на один или более дисплеев. Например, кадр, соответствующий кинофильму, сохраненному в игровом разделе 228 жесткого диска 222, в CD-ROM или каком-либо другом запоминающем устройстве, может передаваться на дисплеи 34 и 42 как часть игрового представления. Таким образом, игровое представление может включать кадры, графическая визуализация которых осуществляется в реальном масштабе времени с помощью графических библиотек, хранимых на игровой машине, а также кадры, полученные в результате предварительной визуализации и сохраненные на игровой машине 2.
Когда игровая машина работает в режиме удаленного доступа и игра представляется на дисплее 126 на мобильном беспроводном воспроизводящем игровом устройстве 125, в одном из примеров осуществления данные видеокадров для представления азартной игры могут непосредственно передаваться от игровой машины 2 через беспроводный интерфейс 248, пункт беспроводного доступа 250 и беспроводный интерфейс 260 в беспроводное воспроизводящее игровое устройство 125. Данные видеокадров могут быть сохранены в памяти 258 на беспроводном воспроизводящем игровом устройстве 258 и затем отображены на дисплее 125. Для сужения полосы рабочих частот канала связи, требуемой для передачи видеокадров в беспроводное воспроизводящее игровое устройство 125, видеокадры, пересылаемые в беспроводное воспроизводящее игровое устройство, могут иметь уменьшенную разрешающую способность и подвергнуты сжатию.
В другом примере осуществления настоящего изобретения видеокадры для представления азартной игры могут быть визуализированы локально на беспроводном воспроизводящем игровом устройстве 125. Графические программы, которые позволяют осуществлять визуализацию игры на беспроводном воспроизводящем игровом устройстве, могут храниться в памяти 258. Например, память 258 может хранить графическую программу для визуализации слота или графическую программу для визуализации игры в карты. Память 258 может хранить графические программы для одной или более игр. Например, память 258 может хранить графические подпрограммы для множества игр, поддерживаемых игровой машиной 2. В одном из примеров осуществления беспроводное воспроизводящее игровое устройство 125 может быть сконфигурировано для обеспечения возможности загрузки различных графических программ для представления различных игр в память 258.
В других примерах осуществления беспроводное игровое устройство может включать в свой состав съемную память и интерфейс для съемной памяти. Съемная память может хранить графические приложения для одной или более игр. Таким образом, для запуска отдельной игры в интерфейс съемной памяти на беспроводном воспроизводящем игровом устройстве 125 может быть вставлена съемная память, хранящая графические приложения для отдельной игры. Съемная память может быть в форме картриджей, доступных только для чтения, и может включать в свой состав механизм блокировки, который предотвращает удаление картриджа игроком. Поэтому замену картриджа в беспроводном воспроизводящем игровом устройстве может осуществлять только уполномоченный персонал игрового заведения.
В качестве вспомогательного средства в процессе визуализации беспроводное воспроизводящее игровое устройство может включать в свой состав видеоадаптер (не показан). Видеоадаптер может содержать один или более графических процессоров, используемых для визуализации изображений на дисплее 126. Видеоадаптер может использоваться для визуализации двумерной и трехмерной графики на беспроводном воспроизводящем игровом устройстве 125. Графическая обработка, включая визуализацию двумерной и трехмерной графики, может также быть выполнена микропроцессором 254. Некоторые изображения могут быть подвергнуты предварительной визуализации и сохранены на беспроводном воспроизводящем игровом устройстве 125, и их активизация может быть осуществлена с помощью короткой строки команд от игровой машины 2. Анимации типа вращения барабанов для слота могут быть выполнены с помощью подпрограмм на беспроводном воспроизводящем игровом устройстве 125.
Когда визуализация игровой графики осуществляется локально на беспроводном воспроизводящем игровом устройстве 125, вся игровая логика, необходимая для представления азартной игры, тем не менее постоянно находится на игровой машине 2. Любой входной сигнал от переключателя или сенсорного экрана, необходимый для ведения игры на беспроводном воспроизводящем игровом устройстве 125 (например, для того, чтобы сделать ставку, инициировать игру, удержать карты, взять карты и т.д.), передается от беспроводного воспроизводящего игрового устройства 125 в игровую машину 2. Игровая машина 2 реализует игровую логику, соответствующую входным сигналам от переключателя или сенсорного экрана, и пересылает результат назад в беспроводное воспроизводящее игровое устройство 125. Беспроводное воспроизводящее игровое устройство 125 проверяет информацию, пересылаемую от игровой машины. В общем случае, связь между игровой машиной 2 и беспроводным воспроизводящим игровым устройством 125 осуществляется с шифрованием. В целях обеспечения гарантии достоверности информации, отображаемой на беспроводном воспроизводящем игровом устройстве 125, для любого воспроизводимого изображения или входного сигнала, содержащего результат игры или информацию о ставках, беспроводным воспроизводящим игровым устройством 125 и игровой машиной 2 может быть использован дополнительный уровень верификации передаваемых и принимаемых данных.
В иллюстративных целях приводится описание лишь последовательности команд между игровой машиной 2 и беспроводным воспроизводящим игровым устройством. Настоящее изобретение не ограничивается командами, описываемыми в этом примере. В ответ на входной сигнал от устройств ввода для игрока 256, размещенного на беспроводном воспроизводящем игровом устройстве 125, ведущий игровой контроллер 224 может послать в беспроводное воспроизводящее игровое устройство 125 последовательность команд, обеспечивающих возможность визуализации азартной игры на дисплее 126 беспроводного воспроизводящего игрового устройства 125. Ведущий игровой контроллер может также послать команды, управляющие выводом звука и другими игровыми устройствами на беспроводном воспроизводящем игровом устройстве 125. Например, для слота ведущий игровой контроллер 224 может рассчитать положение символа, положение барабана, начало и останов вращения множества барабанов. Затем через линию беспроводной связи 252 ведущий игровой контроллер 225 может послать в беспроводное воспроизводящее игровое устройство 125 одно или более сообщений с командами типа 1) “визуализация вращения барабанов”, 2) “визуализация барабана 1 в положении А”, 3) “визуализация барабана 2 в положении В”, 4)” визуализация барабана 3 в положении С”, 5) “вывод звука В”, 6) “отображение светового узора А” и т.д. Команды могут быть подвергнуты обработке и выполнены микропроцессором 254 с помощью графического программного обеспечения, хранимого на беспроводном воспроизводящем игровом устройстве 125.
В одном из примеров осуществления настоящего изобретения беспроводное воспроизводящее игровое устройство может быть подключено ко множеству периферийных устройств типа принтера 270 или устройства считывания карточек 272. Принтер 270 и устройство считывания карточек 272 могут обмениваться с беспроводным воспроизводящим игровым устройством данными в помощью протокола проводной связи, такого как последовательный, параллельный, USB, Firewire или IEEE 1394. Управление периферийными устройствами типа 270 и 272 может осуществляться микропроцессором 254 в соответствии с входными сигналами, принимаемыми беспроводным воспроизводящим игровым устройством, а также ведущим игровым контроллером 224 на игровой машине 2.
Важной для игровой машины функцией является способность хранения и восстановления информации по истории игр. Игровая история, обеспечиваемая информацией по истории игр, помогает в урегулировании споров, касающихся результатов игр. Спор может иметь место, например, в случае, когда игрок полагает, что выигрыш по результату игры не соответствует кредиту, предоставленному ему игровой машиной. Спор может возникать по ряду причин, включая сбой игровой машины, прекращение подачи сетевого напряжения, вызывающее повторное самоинициирование игровой машины, и неверное истолкование результата игры игроком. В случае спора дежурный оператор, как правило, подходит к игровой машине и запускает ее в режиме восстановления игровой истории. При этом с энергонезависимой памяти на игровой машине может быть восстановлена важная информация по истории игр, касающаяся спорной игры, и полученная информация может быть отображена каким-либо способом на дисплее на игровой машине. Информация по истории игр используется для урегулирования спора.
В процессе представления игр ведущий игровой контроллер 224 может выбирать и захватывать определенные кадры для создания игровой истории. Решения по выбору и захвату принимаются в соответствии с отдельным игровым кодом, выполняемым контроллером 224. Захваченные кадры могут быть включены в кадры игровой истории. Как правило, захватываются один или более кадров, являющихся важными для представления игры. Например, при представлении видеослота захватывается кадр представления игры, отображающий конечное положение барабанов. В видеоблэкджеке, как это предписывается ведущим игровым контроллером, могут быть выбраны и захвачены кадры, соответствующие картам на руках игрока и дилера, раздающего карты, в начале игры, кадры, соответствующие промежуточным рукам игрока и дилера, и кадр, соответствующий рукам игрока и дилера в конце игры. Подробное описание захвата кадров для приложений по истории игр приводится в совместно рассматриваемой заявке США №09/689,498 под названием “Захват важных для ведения игры кадров фрейм-буфером”, поданной 11 октября 2000 г. LeMay (ЛиМэй) и др. и включенной в это описание во всей своей полноте и для всех целей.
В общем случае игровая машина 2 поддерживает журналы транзакций для всех событий и ведения игры. В некоторых примерах осуществления, как описано выше, игровая машина может генерировать и хранить видеокадры в качестве отчета по истории игр. Видеокадры могут соответствовать игровой информации, отображаемой на беспроводном воспроизводящем игровом устройстве 125. В процессе проведения игровой сессии по беспроводной связи, когда беспроводное воспроизводящее игровое устройство 125 прекращает отвечать на запросы игровой машины 2, игра, представленная на беспроводном воспроизводящем игровом устройстве 125, останавливается. Беспроводное воспроизводящее игровое устройство 125 может прекратить отвечать на запросы игровой машины 2 по причине нахождения беспроводного воспроизводящего игрового устройства 125 вне зоны приема, низкого уровня напряжения батарей питания на беспроводном воспроизводящем игровом устройстве, отключения электричества на игровой машине 2 и по другим причинам. Чтобы продолжить прерванную игру, беспроводное воспроизводящее игровое устройство 125 может подвергнуть игровую машину 2 тестовому опросу для восстановления связи и проведения цикла верификации и аутентификации, как это было описано ранее. В случае спора игроку, по-видимому, придется вернуться к игровой машине 2 для получения доступа к отчетам по игровой истории на игровой машине.
На фиг.4 изображена блок-схема сети игровых машин и беспроводных воспроизводящих игровых устройств. Игровые машины 465, 466, 467, 468, 469, 475, 476, 477, 478 и 479, размещенные в залах казино 405, поддерживают ведение игр по беспроводной связи и соединены с пунктом беспроводного доступа 425. Через модуль сбора данных 455 игровые машины 465, 466, 467, 468, 469, 475, 476, 477, 478 и 479 также подключены к системе трекинга игроков 410. Таким образом, при ведении игры на беспроводном воспроизводящем игровом устройстве типа 420, обменивающемся данными с одной из игровых машин в зале казино, могут генерироваться очки трекинга игрока. Далее, игрок, использующий беспроводное воспроизводящее игровое устройство типа 420, может использовать услуги, традиционно предлагаемые через устройства трекинга игрока на игровых машинах, например заказ напитка. Для предоставления услуг трекинга игрока на сенсорном экране беспроводного воспроизводящего игрового устройства может быть отображен интерфейс услуг трекинга игрока. Подробное описание услуг трекинга игрока и других игровых услуг, которые могут быть предоставлены через беспроводное воспроизводящее игровое устройство, являющееся предметом настоящего изобретения, приводится в совместно рассматриваемой заявке США №09/921,489 под названием “Механизмы для обмена данным трекинга игрока в игровой машине”, поданной Hedrick (Хедрик) и др. 3 августа 2001 г. и включенной в это описание во всей своей полноте и для всех целей.
Игровые машины, размещенные в залах казино, могут быть также подключены к другим удаленным серверам, таким как серверы системы оплаты по безналичному расчету, серверы прогрессивных игр, серверы бонусных игр, серверы призов, серверы развлекательного содержимого, доступного на Internet, сервер услуг консьержки, сервер денежных переводов и т.п. Игровые услуги, предлагаемые удаленными серверами, подключенными к игровой машине, можно также предлагать на беспроводных воспроизводящих игровых устройствах типа 420. Например, игрок может участвовать в прогрессивной игре с помощью беспроводного воспроизводящего игрового устройства 420. В другом примере игрок может выполнять безналичную транзакцию, разрешаемую системой оплаты по безналичному расчету, например системой оплаты по безналичному расчету EZPAYТМ, с помощью беспроводного воспроизводящего игрового устройства.
В одном из примеров осуществления каждая из игровых машин 465, 466, 467, 468, 469, 475, 476, 477, 478 и 479, подключенных к пункту доступа 425, обеспечена беспроводным воспроизводящим игровым устройством, таким как 420, 421, 422 и 423. Игровые машины используют общий пункт беспроводного доступа 425. В этом случае устройством пункта доступа является также многопортовый переключатель. Таким же образом для каждой машины осуществляется соединение сети Ethernet с пунктом доступа 425.
В другом примере осуществления настоящего изобретения антенна может быть встроена в фонарь, размещенный в верхней части игровой машины или в каком-либо другом месте в игровой машине. Антенна может использоваться как пункт беспроводного доступа для ведения игр по беспроводной связи на одной или более игровых машинах. Как пример, антенна может быть установлена в фонаре игровой машины 467, чтобы использоваться в качестве пункта беспроводного доступа для ведения игр по беспроводной связи на игровых машинах 465, 466, 467, 468 и 469. Одна игровая машина с антенной может использоваться как часть большей сети игровых устройств, обеспечивающей ведение игр по беспроводной связи, или может использоваться независимо от большей сети.
Для получения беспроводного воспроизводящего игрового устройства на одной из игровых машин в залах казино игрок может сделать запрос на беспроводное воспроизводящее игровое устройство через службу заявок на техническое обслуживание на игровой машине, например, через систему трекинга игрока. Запрос может быть направлен в удаленное помещение, например на терминал на станции обслуживания беспроводных воспроизводящих игровых устройств 415, и дежурный оператор может затем принести беспроводное воспроизводящее игровое устройство к игровой машине, с которой был сделан запрос на ведение игры по беспроводной связи. Запрос может быть направлен на станцию обслуживания 415 через сервер беспроводных воспроизводящих игровых устройств 430. Когда сервер беспроводных воспроизводящих игровых устройств 430 не используется, запрос может быть направлен напрямую на станцию обслуживания 415. Как другой пример после запроса на ведение игры по беспроводной связи на игровой машине быть активизирована лампа, такая как фонарь, в верхней части игровой машины. В этом случае проходящий мимо дежурный оператор может принести игроку беспроводное воспроизводящее игровое устройство. В еще одном примере осуществления игрок может делать запрос на беспроводное воспроизводящее игровое устройство на терминале в киоске беспроводных воспроизводящих игровых устройств 416.
До предоставления сетевого соединения для ведения игры по беспроводной связи человек или системная программа могут принимать решение о праве клиента на использование беспроводного воспроизводящего игрового устройства и проверять его право. Например, большинство игровых юрисдикций включают возрастные ограничения в перечень правил, обязательных для выполнения. Как другой пример право на использование беспроводного воспроизводящего игрового устройства может быть основано на значимости игрока для казино, например статус в клубе трекинга игроков. При необходимости аутентификации осуществляется загрузка информации от системы (может быть устройством считывания смарт-карточек на игровой машине) или на игровой машине появляется сообщение, указывающее клиенту на необходимость предоставления информации. Например, на лицевой панели игровые машины могут иметь датчик отпечатков пальцев или другое биометрическое устройство. При необходимости перед предоставлением клиенту возможности использовать беспроводное воспроизводящее игровое устройство игровая машина может запросить у клиента изображение отпечатка пальца или другую биометрическую информацию. Информация, полученная с помощью биометрических датчиков, размещенных на игровой машине, может быть подвергнута сравнению с информацией, содержащейся в биометрическом файле клиента. В некоторых примерах осуществления биометрический информационный файл может загружаться в игровую машину с удаленного сервера, и сравнение биометрических данных может быть выполнено на игровой машине. При этом игровая машина может пересылать биометрическую информацию на удаленный сервер, на котором выполняется сравнение биометрических данных, или использовать описанные способы в комбинациях.
В отдельных случаях игровые машины, поддерживающие беспроводные воспроизводящие игровые устройства, могут быть размещены в зале игроков, играющих по-крупному (например, очень ценных клиентов), и эти машины могут иметь стенд специальной конструкции для хранения беспроводных воспроизводящих игровых устройств. Доступ к беспроводным воспроизводящим игровым устройствам может предоставляться дежурным оператором или автоматически после того, как клиент казино вставляет свою карточку трекинга игрока в игровую машину (особо важный клиент). Как и в случае с игровыми машинами, размещенными в залах казино, система трекинга игрока или какое-либо другое удаленное игровое устройство может загружать биометрический файл клиента в игровую машину, или игровые машины могут иметь датчик отпечатков пальцев на лицевой панели. В случае необходимости перед предоставлением клиенту возможности использовать беспроводное воспроизводящее игровое устройство игровая машина может запросить у клиента изображение отпечатка пальца.
Для установления управления беспроводным воспроизводящим игровым устройством игровая машина может подвергнуть беспроводное воспроизводящее игровое устройство тестовому опросу путем передачи последовательности специальных сигналов. В одном из примеров осуществления как только эта операция завершается, ведение игры передается в беспроводное воспроизводящее игровое устройство. Экран игровой машины может стать черным (возможно с сообщением о неисправности), и все наличные деньги клиента и средства управления переключателями блокируются (никто не может использовать их). Ведущий игровой контроллер на игровой машине будет продолжать вести игры, выполнять все операции по определению результатов и транзакцию с наличностью (ставки и кредиты) и поддерживать всю измерительную информацию. Однако все данные на лицевой панели и дисплее направляются в беспроводное воспроизводящее игровое устройство. В одном из примеров осуществления, когда баланс кредитов на игровых машинах достигает нуля, клиенту необходимо вернуться к игровой машине и ввести большее количество денег. Для ввода большего количества денег сначала игроком или дежурным оператором активизируются средства управления локальной игровой машины. В юрисдикции, где клиент может использовать дебетную или смарт-карточку, чтобы ввести дополнительные деньги в игровую машину, для выполнения этой функции может быть использовано устройство считывания карточек (смарт-карточек), подключенное к беспроводному воспроизводящему игровому устройству.
В общем случае в процессе проведения игровой сессии по беспроводной связи игровая машина непрерывно обменивается с беспроводным воспроизводящим игровым устройством данными. В одном из примеров осуществления для отображения команд от переключателей ввода используется Web-браузер. Информация, выводимая на дисплей на беспроводном воспроизводящем игровом устройстве, может поступать от игровой машины в виде HTML-страниц. Поэтому беспроводное воспроизводящее игровое устройство может использовать транзакции на базе Web.
Дополнительное подробное описание беспроводной игровой сети приводится в следующих абзацах. Беспроводная игровая сеть, представленная на фиг.4, представляет собой лишь один из многих возможных примеров осуществления настоящего изобретения. Игровые машины и другие игровые устройства, поддерживающие ведение игры по беспроводной связи на беспроводных воспроизводящих игровых устройствах, содержат беспроводную игровую сеть. Беспроводная игровая сеть может быть частью большой системной сети. Большая системная сеть может обеспечивать большому количеству игровых машин повсюду в казино возможность подключения к этой самой беспроводной игровой сети. Для увеличения дальности передачи беспроводных воспроизводящих игровых устройств и обеспечения возможности работы этих беспроводных воспроизводящих игровых устройств во всех помещениях комплекса казино/гостиницы, включая гостиничные номера и площадку для игры в пул, могут быть использованы антенны с высоким коэффициентом усиления и ретрансляторы. При этом ипподромы, большие залы для Бинго и особые внешние события могут быть охвачены беспроводной игровой сетью, позволяющей вести игры по беспроводной связи в этих зонах.
В состав беспроводной игровой сети могут также входить пункты проводного доступа, которые позволяют осуществлять подключение беспроводного воспроизводящего игрового устройства непосредственно в сеть. Например, беспроводное воспроизводящее игровое устройство может содержать соединитель Ethernet, который может быть непосредственно подключен к сегменту сети 446. Прямые сетевые соединители могут быть обеспечены гнездами, используемыми для зарядки беспроводного воспроизводящего игрового устройства. Зарядные гнезда могут быть размещены во многих помещениях в пределах беспроводной игровой сети.
На фиг.4 дальность передачи пункта беспроводного доступа 425, используемого в беспроводной игровой сети, обозначена кругом 447. В зависимости от топографии сети в беспроводной игровой сети может использоваться много таких пунктов доступа. Например, в соответствии с площадью отдельного казино и зоной действия одного пункта доступа сеть может иметь другие пункты доступа, используемые как ретрансляторы, размещенные повсюду в казино и гостинице. В дополнение к этому пункт беспроводного доступа может быть также подключен к существующей сети. После получения активного беспроводного воспроизводящего игрового устройства игрок может использовать беспроводное воспроизводящее игровое устройство в залах казино 405 в границах круга 447. Далее игрок может использовать беспроводное воспроизводящее игровое устройство, в случае наличия санкции местной игровой юрисдикции, в зонах залов Кено 407, ресторанов 409 и гостиниц 411, которые размещены в границах круга 447. При использовании беспроводного воспроизводящего игрового устройства игрок может переходить из помещения в помещение в границах круга 447, например из казино 405 в ресторан 409.
В общем случае ведение игр по беспроводной связи в беспроводной игровой сети санкционируется игровыми устройствами, выполняющими лицензированное и настраиваемое игровое программное обеспечение. Однако среди игровых устройств, поддерживающих ведение игр по беспроводной связи, не только игровые машины типа 465, 466, 467, 468, 469, 475, 476, 477, 478 и 479, размещенные в залах казино. Для поддержания ведения игр по беспроводной связи с помощью беспроводных воспроизводящих игровых устройств могут использоваться специальные игровые машины 435 для ведения игр только по беспроводной связи, установленные в рамах или футлярах, подключенных к беспроводной игровой сети. На игровых машинах 435 для ведения игр только по беспроводной связи ведение игр в автономном режиме невозможно. Например, игровые машины 435 для ведения игр только по беспроводной связи не могут включать в свой состав экраны дисплеев. Однако игровые машины для ведения игр только по беспроводной связи тем не менее регламентируются и лицензируются таким же способом, как и традиционные игровые машины. Как другой пример для поддержания одновременного ведения игр на множестве беспроводных воспроизводящих игровых устройствах может быть использован сервер беспроводных воспроизводящих игровых устройств 430 со множеством процессоров. Игровые машины 435 для ведения игр только по беспроводной связи и сервер ведения игр по беспроводной связи 430 могут быть размещены в зоне ограничения 430 казино 405 и являются, как правило, недоступными для игроков.
Игровые машины 435 для ведения игр только по беспроводной связи и сервер ведения игр по беспроводной связи 430 связаны с пунктом беспроводного доступа 425 через соединение 446. Через сетевое соединение 445 игровые машины 435 для ведения игр только по беспроводной связи и сервер ведения игр по беспроводной связи 430 обмениваются данными со станцией обслуживания беспроводных воспроизводящих игровых устройств 415 и сервером трекинга игроков и бухгалтерского учета 410. Игровые машины 435 для ведения игр только по беспроводной связи и сервер ведения игр по беспроводной связи 430 могут быть также подключены к другим удаленным игровым устройствам типа серверов прогрессивных игр, серверов системы оплаты по безналичному расчету, серверов бонусных игр, серверов призов и т.п.
При использовании игровых машин для ведения игр только по беспроводной связи ввод наличных денег и предоставление аутентифицирующих данных с целью участия в игровой сессии по беспроводной связи с помощью беспроводного воспроизводящего игрового устройства клиент может осуществить через киоск типа 416 или банк. При этом за клиентом может быть закреплено беспроводное воспроизводящее игровое устройство типа 420, 421, 422 и 423, обменивающееся данными с одной из игровых машин 435 для ведения игр только по беспроводной связи или сервер ведения игры по беспроводной связи 430. После аутентификации и верификации клиент может выбрать игру и запустить беспроводное воспроизводящее игровое устройство. Зал для Кено 422, ресторан 409 или тотализатор могут быть оснащены гнездами для беспроводных воспроизводящих игровых устройств, позволяющими клиенту играть в его любимую игру на машине казино и в то же самое время делать ставки в Кено или тотализаторе или есть. В дополнение к этому гнезда для беспроводных воспроизводящих игровых устройств могут использоваться для зарядки батарей питания на беспроводном воспроизводящем игровом устройстве и для обеспечения дополнительного пункта доступа к сети, например, через проводное соединение, подведенное к гнезду. Беспроводное воспроизводящее игровое устройство может также использоваться, чтобы делать ставки в тотализаторе и Кено. В результате игрок может наблюдать скачку или следить за результатами определенного события на дисплее беспроводного воспроизводящего игрового устройства.
Наконец, беспроводное воспроизводящее игровое устройство может также использоваться для совершенствования других действий кроме игровых. Например, использование аутентификации и верификации (защитных мер) позволяет беспроводному воспроизводящему игровому устройству стать безопасным инструментом для проведения денежно-кредитных транзакций, электронных переводов платежей. Как другой пример беспроводное воспроизводящее игровое устройство может использоваться при организации видеотелеконференций для обеспечения визуальной связи с хост-компьютером казино или создания службы мгновенной передачи сообщений. В дополнение к этому, когда беспроводное воспроизводящее игровое устройство поддерживает браузеры на базе Web и беспроводная игровая сеть имеет доступ к Internet, беспроводное воспроизводящее игровое устройство может использоваться для получения любых услуг на базе Web, доступных по Internet.
На фиг.5 представлена схема последовательности операций при реализации способа проведения азартной игры на беспроводном воспроизводящем игровом устройстве, обменивающемся данными с игровой машиной. На стадии 500 игровую машину резервируют для ведения игры по беспроводной связи. В случае беспроводного игрового сервера игровая машина может обратиться ко множеству процессов и ячеек памяти на беспроводном игровом сервере, предназначенных для предоставления игровых услуг по беспроводной связи отдельному беспроводному воспроизводящему игровому устройству. Для сервера ведения игр по беспроводной связи, поддерживающего ведение игр по беспроводной связи на множестве беспроводных воспроизводящих игровых устройств, слежение за процессами, связанными с беспроводным воспроизводящим игровым устройством, может осуществляться сервером беспроводных воспроизводящих игровых устройств. На стадии 505 делают выбор игры, доступной на игровой машине. В некоторых примерах осуществления для проведения выбранной игры в беспроводное воспроизводящее игровое устройство может быть вставлен переносной картридж памяти или в беспроводное воспроизводящее игровое устройство могут быть загружены специальные программы. Для игровых машин, предлагающих только одну игру, эта стадия отсутствует. На стадии 510 на игровой машине устанавливают кредиты.
На стадии 515 устанавливают связь с беспроводным воспроизводящим игровым устройством и для инициирования игровой сессии по беспроводной связи проведение игры передают на беспроводное воспроизводящее игровое устройство. До передачи проведения игры на беспроводное воспроизводящее игровое устройство на выбор проводят процесс аутентификации и верификации. На стадии 520 игровая машина принимает запрос на инициирование игры от беспроводного воспроизводящего игрового устройства. Запрос может быть сообщением, содержащим информацию, например, о величине ставки в игре. Запрос может представлять собой шифрованное сообщение, дешифрование которого осуществляется игровой машиной. Далее, для подтверждения достоверности любой информации, содержащейся в сообщении, игровая машина может проводить различные проверки, например с использованием циклического избыточного кода и контрольных сумм. На стадии 525 игровая машина рассчитывает результат игры. На стадии 530 игровая машина генерирует шифрованное сообщение и пересылает результат игры и команды на отображение результата игры в беспроводное воспроизводящее игровое устройство. В некоторых примерах осуществления игровая машина может принимать одно или более сообщений от беспроводного воспроизводящего игрового устройства, включая информацию относительно игровых решений (например, инициировать игру, сделать ставку, взять карты, удержать карты и т.д.), принимаемых игроком, с помощью беспроводного воспроизводящего игрового устройства. Игровые решения могут генерироваться с помощью переключателей ввода и кнопок, размещенных на беспроводном воспроизводящем игровом устройстве. Игровые решения могут оказывать влияние на результат игры, рассчитываемый игровой машиной.
На стадии 535 игровая машина осуществит запись игры в энергонезависимой памяти на игровой машине. Игровая машина может также пересылать данные измерения количественных показателей игры на сервер трекинга игроков и бухгалтерского учета. На стадии 540 игровая машина определяет допустимость бонусной игры. На стадии 545 после принятия решения о допустимости бонусной игры игровая машина может переслать результат бонусной игры и команды на отображение результата бонусной игры в беспроводное воспроизводящее игровое устройство.
Игровая машина может завершить игровую сессию по беспроводной связи в результате множества событий. Например, используя устройство ГСП, размещенное в беспроводном воспроизводящем игровом устройстве, игровая машина может следить за местоположением беспроводного воспроизводящего игрового устройства. Когда беспроводное воспроизводящее игровое устройство попадает в зону, не санкционированную для ведения игры по беспроводной связи, игровая машина может завершить игровую сессию по беспроводной связи. Как другой пример игровая машина может завершить игровую сессию по беспроводной связи после определенного количества игр, по истечении некоторого промежутка времени или после периода бездеятельности.
На фиг.6 представлена схема последовательности операций при реализации способа проведения азартной игры в беспроводном воспроизводящем игровом устройстве, обменивающемся данными с игровой машиной. Как описано выше, беспроводное воспроизводящее игровое устройство во многих примерах осуществления настоящего изобретения представляет собой удаленную приставку к игровой машине, причем результаты ведения игры, такие как события для ГСЛ (генерации случайных чисел), генерируются на игровой машине. Однако должным образом лицензированное и настроенное беспроводное воспроизводящее игровое устройство может также обеспечивать прямое ведение игры без использования удаленной игровой машины, то есть все игровые функции выполняются на беспроводном воспроизводящем игровом устройстве.
На стадии 600 беспроводное воспроизводящее игровое устройство активизируют. Процесс активизации может содержать подачу питания в беспроводное воспроизводящее игровое устройство и всякие самопроверки типа процедур начальной загрузки, выполняемых беспроводным воспроизводящим игровым устройством. На стадии 605 устанавливают связь с игровой машиной. На стадии 607 с помощью беспроводного воспроизводящего игрового устройства на выбор проводят процесс аутентификации и верификации. Например, беспроводное воспроизводящее игровое устройство может содержать устройство ввода биометрической информации типа устройства считывания отпечатков пальцев.
На стадии 608 получают разрешение на ведение игры на беспроводном воспроизводящем игровом устройстве. В некоторых примерах осуществления разрешение на ведение игры по беспроводной связи не может быть получено до проведения определенных защитных процедур защиты, таких как проверка серийного номера, присвоенного беспроводному воспроизводящему игровому устройству, верификация личности игрока и комбинаций этих процедур. На некоторых беспроводных воспроизводящих игровых устройствах и игровых машинах может поддерживаться множество игр. Поэтому при использовании беспроводного воспроизводящего игрового устройства игрок может иметь вариант выбора новой игры. На стадии 610 обнаруживают один или более входных сигналов от механизмов ввода на беспроводном воспроизводящем игровом устройстве типа механических кнопок или от сенсорного экрана. Входные сигналы могут использоваться для того, чтобы делать ставку, инициировать игру или принимать игровые решения. На стадии 615 входные сигналы пересылают в одном или более сообщениях в игровую машину. В общем случае сообщения являются шифрованными. На стадии 620 беспроводное воспроизводящее игровое устройство может осуществить прием одного или более сообщений, содержащих результат игры, генерируемый на игровой машине, и команды на отображение результата игры. При этом беспроводное воспроизводящее игровое устройство дешифрует одно или более сообщений. Далее, в целях обеспечения гарантии достоверности любой информации, содержащейся в сообщениях от игровой машины, беспроводное воспроизводящее игровое устройство может выполнять различные проверки, например с использованием циклического избыточного кода и контрольных сумм. На стадии 625 результат игры отображается на беспроводном воспроизводящем игровом устройстве. Кроме того, может быть воспроизведен и результат бонусной игры.
Выше было приведено подробное описание настоящего изобретения, целью которого является прояснение сути изобретения. Однако очевидно, что в пределах объема притязаний прилагаемой формулы изобретения в него могут быть внесены определенные изменения и дополнения. Например, несмотря на то, что игровые машины, являющиеся предметом этого изобретения, были описаны как снабженные верхней приставкой, установленной над верхней поверхностью основного корпуса игровой машины, использование игровых устройств в соответствии с этим изобретением не ограничивается этой приставкой. Например, игровая машина может быть выполнена без верхней приставки.
Формула изобретения
1. Карманное беспроводное воспроизводящее игровое устройство для ведения азартной игры, при этом данное беспроводное воспроизводящее игровое устройство для ведения азартной игры содержит:
интерфейс беспроводной связи;
экран дисплея для отображения графического представления азартной игры;
звуковой интерфейс для обеспечения звуком, относящимся к азартной игре, пользователя беспроводного воспроизводящего игрового устройства;
один или более механизмов ввода и
микропроцессор, сконфигурированный для представления азартной игры на экране дисплея, под управлением ведущего игрового контроллера, отличающееся тем, что связь между микропроцессором и ведущим игровым контроллером осуществляется через интерфейс беспроводной связи для обеспечения пересылки информации, полученной из входных сигналов для игры в азартную игру, генерируемых одним или более механизмами ввода, в ведущий игровой контроллер через интерфейс беспроводной связи;
при этом каждая азартная игра, ведущаяся на карманном беспроводном воспроизводящем игровом устройстве, включает установление активной линии связи с ведущим игровым контроллером и во время, когда линия связи активна, осуществляется:
а) прием одного или более входных сигналов для указания величины ставки для азартной игры и для инициации азартной игры на одном или более входных механизмов от игрока, использующего карманное беспроводное воспроизводящее игровое устройство;
b) пересылку информации от одного или более входных сигналов на ведущий игровой контроллер через интерфейс беспроводной связи;
c) прием от ведущего игрового контроллера, по крайней мере, информации о результате азартной игры и кредитной информации и
d) отображение графического представления результата азартной игры и полученной кредитной информации на дисплее, отличающееся тем, что графическое представление включает последовательность видеокадров;
при этом беспроводное воспроизводящее игровое устройство может воспроизвести звук, связанный с графическим представлением; и
где карманное беспроводное воспроизводящее игровое устройство может далее быть адаптировано для:
определения того, когда линия связи неактивна; и
завершения игры в азартную игру в ответ на детектирование того, что линия связи неактивна.
2. Беспроводное воспроизводящее игровое устройство по п.1, отличающееся тем, что отчет по игровой истории событий, которые происходят во время каждой азартной игры, ведущейся на карманном беспроводном воспроизводящем игровом устройстве, запоминается в энергонезависимой памяти таким образом, что в случае разногласий по азартной игре, ранее проведенной на карманном беспроводном воспроизводящем игровом устройстве, часть графического представления, включая видеокадры по ранее проведенной азартной игре, может быть восстановлена из отчета по истории игровых событий, запомненных в энергонезависимой памяти, и просмотрена.
3. Беспроводное воспроизводящее игровое устройство по п.1, отличающееся тем, что также содержит интерфейс периферийных устройств для соединения с периферийным игровым устройством.
4. Беспроводное воспроизводящее игровое устройство по п.3, отличающееся тем, что интерфейс периферийных устройств представляет собой последовательный интерфейс, параллельный интерфейс, интерфейс USB, интерфейс FireWire, интерфейс IEEE 1394.
5. Беспроводное воспроизводящее игровое устройство по п.3, отличающееся тем, что периферийное игровое устройство представляет собой принтер, устройство считывания карточек, жесткий диск и накопитель на CD-DVD.
6. Беспроводное воспроизводящее игровое устройство по п.1, отличающееся тем, что также содержит интерфейс съемной памяти, спроектированный для обеспечения приема съемного блока памяти.
7. Беспроводное воспроизводящее игровое устройство по п.6, отличающееся тем, что съемный блок памяти хранит графические программы для одной или более азартных игр, запускаемых на беспроводном воспроизводящем игровом устройстве.
8. Беспроводное воспроизводящее игровое устройство по п.6, отличающееся тем, что также содержит механизм блокировки, спроектированный для предотвращения удаления съемного блока памяти.
9. Беспроводное воспроизводящее игровое устройство по п.1, отличающееся тем, что также содержит интерфейс вывода звука для приема гнезда для подключения наушников.
10. Беспроводное воспроизводящее игровое устройство по п.1, отличающееся тем, что также содержит антенну.
11. Беспроводное воспроизводящее игровое устройство по п.1, отличающееся тем, что также содержит устройство воспроизведения звука.
12. Беспроводное воспроизводящее игровое устройство по п.1, отличающееся тем, что также содержит батарею питания.
13. Беспроводное воспроизводящее игровое устройство по п.12, отличающееся тем, что также содержит интерфейс блока питания для подачи питания в беспроводное воспроизводящее игровое устройство от внешнего источника питания и для зарядки батареи от внешнего источника питания.
14. Беспроводное воспроизводящее игровое устройство по п.1, отличающееся тем, что также содержит блок памяти.
15. Беспроводное воспроизводящее игровое устройство по п.14, отличающееся тем, что блок памяти хранит графические программы для одной или более азартных игр, запускаемых на беспроводном воспроизводящем игровом устройстве.
16. Беспроводное воспроизводящее игровое устройство по п.1, отличающееся тем, что также содержит интерфейс электронного ключа, спроектированный для обеспечения приема электронного ключа.
17. Беспроводное воспроизводящее игровое устройство по п.1, отличающееся тем, что также содержит видеографическую плату для визуализации изображений на экране дисплея.
18. Беспроводное воспроизводящее игровое устройство по п.17, отличающееся тем, что видеографическая плата используется для визуализации двумерной графики и трехмерной графики.
19. Беспроводное воспроизводящее игровое устройство по п.1, отличающееся тем, что интерфейс беспроводной связи использует протокол беспроводной связи, выбранный из числа таких протоколов, как IEEE 802.11а, IEEE 802.11b, IEEE 802.11x, hyperlan/2, Bluetooth, IrDA и HomeRF.
20. Беспроводное воспроизводящее игровое устройство по п.1, отличающееся тем, что азартная игра выбрана из числа таких игр, как слоты, покер, патинко, игры в покер на нескольких руках, покер Пай Гау, Блэкджек, Кено, Бинго, рулетка, крэпс и игры в карты.
21. Беспроводное воспроизводящее игровое устройство по п.1, отличающееся тем, что микропроцессор сконфигурирован для представления бонусной игры на экране дисплея с помощью команд, принимаемых от ведущего игрового контроллера на игровой машине через интерфейс беспроводной связи.
22. Беспроводное воспроизводящее игровое устройство по п.1, отличающееся тем, что команды, принимаемые от ведущего игрового контроллера, и входные сигналы, пересылаемые в ведущий игровой контроллер, являются шифрованными.
23. Беспроводное воспроизводящее игровое устройство по п.1, отличающееся тем, что один или более механизмов ввода выбраны из числа таких механизмов, как сенсорный экран, переключатель ввода, кнопка ввода и устройство ввода биометрической информации.
24. Беспроводное воспроизводящее игровое устройство по п.23, отличающееся тем, что устройство ввода биометрической информации представляет собой устройство считывания отпечатков пальцев.
25. Беспроводное воспроизводящее игровое устройство по п.1, отличающееся тем, что также содержит игровую логику для отображения Web-браузера на экране дисплея.
26. Беспроводное воспроизводящее игровое устройство по п.1, отличающееся тем, что беспроводное воспроизводящее игровое устройство сконфигурировано для представления рекламы, новостей, биржевых цен, электронной почты, Web-страницы, услуги обмена сообщениями, услуги устройства ввода позиций или услуги гостиницы/казино, кинофильма, отрывка из музыкального произведения, поощрения казино, широковещательного события, текущего технического обслуживания и ремонта, услуги трекинга игрока, меню напитков и меню закусок.
27. Беспроводное воспроизводящее игровое устройство по п.1, отличающееся тем, что также содержит проводной сетевой интерфейс для соединения беспроводного воспроизводящего игрового устройства с пунктом доступа к проводной сети.
28. Беспроводное воспроизводящее игровое устройство по п.1, отличающееся тем, что беспроводное воспроизводящее игровое устройство запускается, по меньшей мере, в одном из множества помещений, физически изолированных от местоположения ведущего игрового контроллера.
29. Беспроводное воспроизводящее игровое устройство по п.28, отличающееся тем, что множество помещений выбрано из числа таких помещений, как зал для Кено, зал для Бинго, ресторан, спортивный тотализатор, бар, гостиница, площадка для игры в пул и залы казино.
30. Беспроводное воспроизводящее игровое устройство по п.1, отличающееся тем, что также содержит один или более механизмов защиты, используемых для слежения за местоположением беспроводного воспроизводящего игрового устройства.
31. Игровая машина для ведения игр в режиме удаленного доступа на беспроводном воспроизводящем игровом устройстве, при этом игровая машина содержит:
ведущий игровой контроллер, спроектированный или сконфигурированный 1) для обеспечения активной линии связи с беспроводным воспроизводящим игровым устройством и в то время, когда линия связи активна, 2) для генерации результатов азартной игры, используя регулируемое игровое программное обеспечение, осуществляемое ведущим игровым контроллером, 3) для дистанционного представления результатов азартной игры на беспроводном воспроизводящем игровом устройстве, когда беспроводное воспроизводящее игровое устройство включено и может отображать графическое представление результата азартной игры, включающего последовательность видеокадров и звука, связанных с графическим представлением; 4) для приема информации от входных сигналов, генерируемых одним или более механизмами ввода, расположенными на беспроводном воспроизводящем игровом устройстве, при этом вышеупомянутые входные сигналы предназначены, по крайней мере, для проведения ставок на результат азартной игры, для инициации азартной игры или для ведения азартной игры, 5) для ведения и корректировки кредитной информации на беспроводном воспроизводящем игровом устройстве, полученной в результате ведения азартной игры, так как каждая азартная игра ведется дистанционно, и 6) для завершения ведения азартной игры на беспроводном воспроизводящем игровом устройстве, когда линия связи между беспроводным воспроизводящим игровым устройством и игровой машиной неактивна; и
сетевой интерфейс для связи с множеством игроков, ведущих беспроводную игру.
32. Игровая машина по п.31, отличающаяся тем, что игровая история событий, которые происходят во время каждой азартной игры, ведущейся на беспроводном воспроизводящем игровом устройстве, запоминается на энергонезависимой памяти таким образом, что в случае разногласий по азартной игре, ранее проведенной на карманном беспроводном воспроизводящем игровом устройстве, часть графического представления, включая видеокадры по ранее проведенной азартной игре, может быть восстановлена из архива данных о событиях, запомненных в энергонезависимой памяти, и просмотрена.
33. Игровая машина по п.31, отличающаяся тем, что также содержит одно или более игровых устройств, выбранных из числа таких устройств, как источники света, принтеры, накопители монет, купюроприемники, устройства считывания билетов, устройства считывания карточек, клавишные панели, кнопочные панели, экраны дисплеев, динамики, информационные панели, устройства трекинга игрока и устройства памяти большой емкости.
34. Игровая машина по п.31, отличающаяся тем, что также содержит сетевой интерфейс.
35. Игровая машина по п.34, отличающаяся тем, что сетевой интерфейс используется для установления связи с одним или более удаленными серверами, выбранными из числа таких серверов, как сервер призов, игровой сервер, сервер развлекательного содержимого, сервер выдачи билетов с оплатой по безналичному расчету, сервер прогрессивных игр, сервер бонусных игр, беспроводный игровой сервер, Web-сервер и сервер денежных переводов.
36. Игровая машина по п.31, отличающаяся тем, что ведущий игровой контроллер спроектирован для выполнения настраиваемого игрового программного обеспечения для представления одной или более азартных игр.
37. Игровая машина по п.31, отличающаяся тем, что интерфейс беспроводной связи использует протокол беспроводной связи, выбранный из числа таких протоколов, как IEEE 802.11a, IEEE 802.11b, IEEE 802.11x, hyperlan/2, Bluetooth, IrDA и HomeRF.
38. Игровая машина по п.31, отличающаяся тем, что азартная игра выбрана из числа таких игр, как слоты, покер, патинко, игры в покер на нескольких руках, покер Пай Гау, Блэкджек, Кено, Бинго, рулетка, крэпс и игры в карты.
39. Игровая машина по п.31, отличающаяся тем, что ведущий игровой контроллер спроектирован или сконфигурирован для представления бонусной игры на беспроводном воспроизводящем игровом устройстве.
40. Игровая машина по п.31, отличающаяся тем, что содержит также логику игрового программного обеспечения для шифрования информации, пересылаемой в беспроводное воспроизводящее игровое устройство, и дешифрования информации, принимаемой от беспроводного воспроизводящего игрового устройства.
41. Игровая машина по п.31, отличающаяся тем, что содержит также логику игрового программного обеспечения для сохранения отчета по истории игр, запускаемых на беспроводном воспроизводящем игровом устройстве.
42. Игровая машина по п.31, отличающаяся тем, что содержит также одно или более устройств ввода биометрической информации, выбранных из числа таких устройств, как микрофон, камера, устройство считывания отпечатков пальцев, механизм ввода рукописного текста и устройство сканирования радужной оболочки глаза.
43. Игровая машина по п.42, отличающаяся тем, что содержит также логику игрового программного обеспечения для определения личности игрока с помощью биометрической информации, вводимой с помощью одного или более устройств ввода биометрической информации.
44. Игровая машина по п.31, отличающаяся тем, что содержит также один или более экранов дисплея, размещенных в основном корпусе игровой машины.
45. Игровая машина по п.44, отличающаяся тем, что первая азартная игра представлена на беспроводном воспроизводящем игровом устройстве, а вторая азартная игра представлена одновременно на одном или более экранах дисплеев, размещенных в основном корпусе игровой машины.
46. Игровая машина по п.31, отличающаяся тем, что беспроводное воспроизводящее игровое устройство сконфигурировано для отображения рекламы, новостей, биржевых цен, электронной почты, Web-страницы, услуги обмена сообщениями, услуги устройства ввода позиций или услуги гостиницы/казино, кинофильма, отрывка из музыкального произведения, поощрения казино, широковещательного события, текущего технического обслуживания и ремонта, услуги трекинга игрока, меню напитков и меню закусок.
47. Игровая машина по п.46, отличающаяся тем, что беспроводное воспроизводящее игровое устройство запускается, по меньшей мере, в одном из множества помещений, физически изолированных от местоположения игровой машины.
48. Игровая машина по п.47, отличающаяся тем, что множество помещений выбрано из числа таких помещений, как зал для Кено, зал для Бинго, ресторан, спортивный тотализатор, бар, гостиница, площадка для игры в пул и залы казино.
49. Игровая машина по п.31, отличающаяся тем, что содержит также антенну, используемую для установления связи с одним или более беспроводным воспроизводящим игровым устройством, причем антенна размещена в фонаре на верхней поверхности игровой машины.
50. Беспроводная игровая система, содержащая:
множество игровых машин, спроектированных для генерации и контроля игровых сессий по беспроводной связи на беспроводных воспроизводящих игровых устройствах, обменивающихся данными с игровыми машинами;
множество беспроводных воспроизводящих игровых устройств, при этом каждое из беспроводных воспроизводящих игровых устройств спроектировано i) для установления связи, по меньшей мере, с одной игровой машиной и ii) для представления азартной игры под контроль, по крайней мере, одной из указанных игровых машин;
беспроводную игровую сеть, содержащую один или более пунктов беспроводного доступа, спроектированных для передачи информации множеству беспроводных воспроизводящих игровых устройств по беспроводной связи и для приема информации от беспроводных воспроизводящих игровых устройств по беспроводной связи;
отличающаяся тем, что каждое из беспроводных воспроизводящих игровых устройств адаптировано для использования в качестве удаленного расширения для, по крайней мере, одной из игровых машин; и
при этом каждая азартная игра, ведущаяся на беспроводном воспроизводящем игровом устройстве, включает установление активной линии связи с игровой машиной и во время, когда линия связи активна, осуществляется:
a) прием одного или более входных сигналов для указания величины ставки для азартной игры и для инициации азартной игры на одном или более входных механизмов от игрока, использующего беспроводное воспроизводящее игровое устройство;
b) пересылка информации от одного или более входных сигналов на ведущий игровой контроллер на игровой машине через интерфейс беспроводной связи, при этом ведущий игровой контроллер генерирует результат азартной игры в ответ на прием информации от одного или более входных сигналов от беспроводного воспроизводящего игрового устройства и при этом ведущий игровой контроллер сохраняет и обновляет кредитную информацию, получаемую в результате азартной игры в то время, как каждая азартная игра ведется на удалении на беспроводном воспроизводящем игровом устройстве;
c) прием от ведущего игрового контроллера, по крайней мере, информации о результате азартной игры и кредитной информации и
d) отображение графического представления результата азартной игры и полученной кредитной информации на дисплее, при этом графическое представление включает последовательность видеокадров;
при этом беспроводное воспроизводящее игровое устройство может воспроизвести звук, связанный с графическим представлением; и
при этом каждое беспроводное воспроизводящее игровое устройство может также быть адаптировано для:
определения того, когда линия связи неактивна; и
завершения азартной игры в ответ на детектирование того, что линия связи неактивна.
51. Беспроводная игровая система по п.50, отличающаяся тем, что содержит также один или более ретрансляторов.
52. Беспроводная игровая система по п.50, отличающаяся тем, что содержит также одну или более антенн.
53. Беспроводная игровая система по п.52, отличающаяся тем, что, по меньшей мере, одна из антенн размещена в игровой машине.
54. Беспроводная игровая система по п.50, отличающаяся тем, что содержит также одно или более гнезд для беспроводных воспроизводящих игровых устройств.
55. Беспроводная игровая система по п.54, отличающаяся тем, что одно или более гнезд содержат также связной интерфейс, спроектированный для соединения беспроводного воспроизводящего игрового устройства с беспроводной игровой сетью.
56. Беспроводная игровая система по п.55, отличающаяся тем, что связной интерфейс представляет собой соединение с сетью Ethernet.
57. Беспроводная игровая система по п.50, отличающаяся тем, что содержит также один или более беспроводных игровых киосков, спроектированных для предоставления игровых услуг по беспроводной связи.
58. Беспроводная игровая система по п.50, отличающаяся тем, что содержит также одну или более игровых машин, соединенных с указанной беспроводной игровой сетью, спроектированной для проведения игровых сессий только по беспроводной связи.
59. Беспроводная игровая система по п.50, отличающаяся тем, что множество игровых машин спроектированы для представления локальных игровых сессий и игровых сессий по беспроводной связи.
60. Беспроводная игровая система по п.50, отличающаяся тем, что содержит также один или более беспроводных игровых серверов.
61. Беспроводная игровая система по п.50, отличающаяся тем, что беспроводная игровая сеть соединена с одним или более сетевыми интерфейсами.
62. Беспроводная игровая система по п.61, отличающаяся тем, что один или более сетевых интерфейсов используются для установления связи с одним или более удаленными серверами, выбранными из числа таких серверов, как сервер призов, игровой сервер, сервер развлекательного содержимого, сервер выдачи билетов с оплатой по безналичному расчету, сервер прогрессивных игр, сервер бонусных игр, беспроводный игровой сервер, Web-сервер и сервер денежных переводов.
63. Беспроводная игровая система по п.50, отличающаяся тем, что азартная игра выбрана из числа таких игр, как слоты, покер, патинко, игры в покер на нескольких руках, покер Пай Гау, Блэкджек, Кено, Бинго, рулетка, крэпс и игры в карты.
64. Беспроводная игровая система по п.50, отличающаяся тем, что беспроводное воспроизводящее игровое устройство запускается, по меньшей мере, в одном из множества помещений, физически изолированных от местоположения игровой машины, обменивающейся данными с указанным беспроводным воспроизводящим игровым устройством.
65. Беспроводная игровая система по п.64, отличающаяся тем, что множество помещений выбрано из числа таких помещений, как зал для Кено, зал для Бинго, ресторан, спортивный тотализатор, бар, гостиница, площадка для игры в пул и залы казино.
66. Способ проведения игровой сессии по беспроводной связи на беспроводном воспроизводящем игровом устройстве, обменивающемся данными с игровой машиной, при этом указанный способ содержит:
установление связи с беспроводным воспроизводящим игровым устройством, при этом беспроводное воспроизводящее игровое устройство является удаленным расширением игровой машины и управляется игровой машиной;
при этом, когда связь между игровой машиной и беспроводным воспроизводящим игровым устройством активна, то для каждой азартной игры, ведущейся во время беспроводной игровой сессии, осуществляется:
i) прием на игровой машине сообщения от беспроводного воспроизводящего игрового устройства с запросом к игровой машине на инициирование азартной игры и указанием величины ставки для азартной игры;
ii) генерация на игровой машине результата азартной игры для азартной игры в ответ на получение сообщения от беспроводного воспроизводящего игрового устройства;
iii) операция управления беспроводным воспроизводящим игровым устройством игровой машиной таким образом, что становится возможным графически представить результат азартной игры на беспроводном воспроизводящем игровом устройстве, при этом графическое представление включает последовательность видеокадров, и при этом беспроводное воспроизводящее игровое устройство способно выдать звук, связанный с графическим представлением; и
iv) сохранение и обновление на игровой машине кредитной информации, являющейся результатом азартной игры, в то время как азартная игра ведется на беспроводном воспроизводящем игровом устройстве;
определение, когда линия связи между игровой машиной и беспроводным воспроизводящим игровым устройством является неактивной; и
завершение азартной игры в ответ на определение того, что линия связи неактивна.
67. Способ по п.66, отличающийся тем, что отчет по игровой истории, возникающий во время каждой азартной игры, проведенной на карманном беспроводном воспроизводящем игровом устройстве, хранится в энергонезависимой памяти таким образом, что в случае разногласий по азартной игре, проведенной ранее на карманном беспроводном воспроизводящем игровом устройстве, часть графического представления, включая видео-кадры по ранее проведенной азартной игре, может быть восстановлена из отчета по истории игры, запомненного в энергонезависимой памяти, и просмотрена.
68. Способ по п.66, отличающийся тем, что содержит также операцию резервирования игровой машины для игры по беспроводной связи.
69. Способ по п.66, отличающийся тем, что содержит также операцию приема запроса от беспроводного воспроизводящего игрового устройства на выбор азартной игры, которая будет запущена на беспроводном воспроизводящем игровом устройстве.
70. Способ по п.66, отличающийся тем, что содержит также операцию выбора азартной игры на игровой машине, осуществляемого до установления связи с беспроводным воспроизводящим игровым устройством.
71. Способ по п.66, отличающийся тем, что содержит также операцию приема сообщения о величине ставки в азартной игре.
72. Способ по п.66, отличающийся тем, что содержит также операцию приема сообщения с информацией, полученной из входных сигналов, генерируемых на одном или более механизмах ввода, размещенных на беспроводном воспроизводящем игровом устройстве.
73. Способ по п.66, отличающийся тем, что содержит также операцию генерации шифрованного сообщения и пересылки шифрованного сообщения на беспроводное воспроизводящее игровое устройство.
74. Способ по п.66, отличающийся тем, что содержит также операцию приема шифрованного сообщения от беспроводного воспроизводящего игрового устройства и дешифрование шифрованного сообщения.
75. Способ по п.66, отличающийся тем, что содержит также операцию инициирования сеанса трекинга игрока.
76. Способ по п.66, отличающийся тем, что содержит также операцию добавления кредитов в игровую машину.
77. Способ по п.66, отличающийся тем, что содержит также операцию сохранения истории игр, запускаемых на беспроводном воспроизводящем игровом устройстве в течение игровой сессии по беспроводной связи.
78. Способ по п.66, отличающийся тем, что содержит также операцию генерации результата бонусной игры и пересылки на беспроводное воспроизводящее игровое устройство управляющих команд, используемых для представления результата бонусной игры на беспроводном воспроизводящем игровом устройстве.
79. Способ по п.66, отличающийся тем, что содержит также операцию пересылки данных измерения количественных показателей, генерируемых в течение игровой сессии по беспроводной связи, на сервер трекинга игрока.
80. Способ по п.66, отличающийся тем, что содержит также операцию аутентификации личности игрока, использующего беспроводное воспроизводящее игровое устройство.
81. Способ по п.80, отличающийся тем, что аутентификация личности игрока осуществляется с помощью биометрической информации, полученной от игрока.
82. Способ по п.66, отличающийся тем, что содержит также операцию завершения игровой сессии по беспроводной связи.
83. Способ по п.66, отличающийся тем, что содержит также операцию пересылки развлекательного содержимого в беспроводное воспроизводящее игровое устройство, причем развлекательное содержимое выбрано из такого содержимого, как реклама, новости, биржевые цены, электронная почта, Web-страница, услуга обмена сообщениями, услуга устройства ввода позиций или услуга гостиницы/казино, кинофильм, отрывок из музыкального произведения, поощрение казино, широковещательное событие, текущее техническое обслуживание и ремонт, услуга трекинга игрока, меню напитков и меню закусок.
84. Способ по п.66, отличающийся тем, что связь между игровой машиной и беспроводным воспроизводящим игровым устройством осуществляется с помощью протокола беспроводной связи, выбранного из числа таких протоколов, как IEEE 802.11a, IEEE 802.11b, IEEE 802.11x, hyperlan/2, Bluetooth, и HomeRF.
85. Способ по п.66, отличающийся тем, что содержит также операцию слежения за местоположением беспроводного воспроизводящего игрового устройства.
86. Способ проведения игровой сессии по беспроводной связи в беспроводном воспроизводящем игровом устройстве, обменивающемся данными с игровой машиной, при этом указанный способ содержит:
установление связи с игровой машиной;
при этом, когда связь между игровой машиной и беспроводным воспроизводящим игровым устройством активна, то для каждой азартной игры, ведущейся во время беспроводной игровой сессии, осуществляется:
i) прием на беспроводном воспроизводящем игровом устройстве одного или более входных сигналов для инициирования азартной игры и указания величины ставки для азартной игры от одного или более входных механизмов, расположенных на беспроводном воспроизводящем игровом устройстве;
ii) посылка сообщения на игровую машину с указанием того, что азартная игра была инициирована на беспроводном воспроизводящем игровом устройстве;
iii) получение от игровой машины итоговой информации, которая включает, по крайней мере, результат азартной игры;
iv) получение от игровой машины кредитной информации, относящейся к азартной игре, в то время как азартная игра ведется на беспроводном воспроизводящем игровом устройстве; и
v) отображение на беспроводном воспроизводящем игровом устройстве, используя итоговую информацию, графического представления результата азартной игры, где графическое представление включает последовательность видеокадров, и при этом беспроводное воспроизводящее игровое устройство способно произвести звук, связанный с графическим представлением;
определение, когда линия связи между игровой машиной и беспроводным воспроизводящим игровым устройством является неактивной; и
завершения азартной игры в ответ на определение того, что линия связи неактивна.
87. Способ по п.86, отличающийся тем, что отчет по игровой истории, которая возникает во время каждой азартной игры, проведенной на карманном беспроводном воспроизводящем игровом устройстве, хранится в энергонезависимой памяти таким образом, что в случае разногласий по азартной игре, ранее проведенной на карманном беспроводном воспроизводящем игровом устройстве, часть графического представления, включая видеокадры по ранее проведенной азартной игре, может быть восстановлена из отчета по игровой истории, запомненной в энергонезависимой памяти, и просмотрена.
88. Способ по п.86, отличающийся тем, что содержит также операцию приема сообщения с результатом игры, генерируемым на игровой машине.
89. Способ по п.86, отличающийся тем, что содержит также операцию генерации графического представления результата азартной игры.
90. Способ по п.86, отличающийся тем, что механизм ввода выбран из числа таких механизмов, как сенсорный экран, переключатель ввода, кнопка ввода и устройство ввода биометрической информации.
91. Способ по п.86, отличающийся тем, что содержит также операцию начальной загрузки беспроводного воспроизводящего игрового устройства.
92. Способ по п.86, отличающийся тем, что содержит также операцию разрешения ведения игры на беспроводном воспроизводящем игровом устройстве.
93. Способ по п.86, отличающийся тем, что содержит также операцию приема варианта выбора игры и пересылки варианта выбора игры в игровую машину.
94. Способ по п.86, отличающийся тем, что содержит также операцию приема величины ставки в азартной игре и пересылки величины ставки в игровую машину.
95. Способ по п.86, отличающийся тем, что содержит также операцию приема входных сигналов от одного или более механизмов ввода, размещенных на беспроводном воспроизводящем игровом устройстве, и пересылки информации, полученной из входных сигналов, в игровую машину.
96. Способ по п.86, отличающийся тем, что содержит также операцию генерации шифрованного сообщения и пересылки шифрованного сообщения в игровую машину.
97. Способ по п.86, отличающийся тем, что содержит также операцию приема шифрованного сообщения от игровой машины и дешифрования шифрованного сообщения.
98. Способ по п.86, отличающийся тем, что содержит также операцию приема аутентифицирующих данных игрока, использующего беспроводное воспроизводящее игровое устройство.
99. Способ по п.98, отличающийся тем, что аутентифицирующие данные представляют собой, по крайней мере, биометрическую информацию, ПИН-номер и пароль.
100. Способ по п.98, отличающийся тем, что содержит также операцию пересылки аутентифицирующих данных в игровую машину.
101. Способ по п.86, отличающийся тем, что содержит также операцию отображения развлекательного содержимого на беспроводном воспроизводящем игровом устройстве, причем развлекательное содержимое выбрано из группы, состоящей из рекламы, новостей, биржевых цен, электронной почты, Web-страницы, услуги обмена сообщениями, услуги устройства ввода позиций или услуги гостиницы/казино, кинофильма, отрывка из музыкального произведения, поощрения казино, широковещательного события, текущего технического обслуживания и ремонта, услуги трекинга игрока, меню напитков и меню закусок.
102. Способ по п.86, отличающийся тем, что содержит также операцию приема сообщения с результатом бонусной игры, генерируемого на игровой машине.
103. Способ по п.102, отличающийся тем, что содержит также операцию генерации графического представления результата бонусной игры и операцию отображения графического представления результата бонусной игры.
104. Способ по п.86, отличающийся тем, что содержит также операцию загрузки графической программы, используемой для отображения результата азартной игры, в блок памяти на игровой машине.
РИСУНКИ
TH4A – Переиздание описания изобретения к патенту Российской Федерации
Причина переиздания: Коррекция в тексте описания и формулы изобретения
Извещение опубликовано: 20.06.2008 БИ: 17/2008
|
|