|
|
(21), (22) Заявка: 2006138538/28, 31.10.2006
(24) Дата начала отсчета срока действия патента:
31.10.2006
(46) Опубликовано: 27.03.2008
(56) Список документов, цитированных в отчете о поиске:
КОПИЛЕВИЧ Э.В., ПУРНИК М.А., ФЕДОРОВ С.А. Диагностика подвески автомобилей. – М.: Транспорт, 1974, с.40. US 3164003 А, 05.01.1965. RU 37215 U1, 10.04.2004. GB 1236617 А, 23.06.1971.
Адрес для переписки:
454080, г.Челябинск, пр. им. В.И. Ленина, 76, ЮУрГУ, технический отдел
|
(72) Автор(ы):
Дубровский Анатолий Федорович (RU), Артемьев Сергей Николаевич (RU), Дубровский Сергей Анатольевич (RU), Гричанюк Максим Валерьевич (RU), Рябов Никита Михайлович (RU)
(73) Патентообладатель(и):
Государственное образовательное учреждение высшего профессионального образования “Южно-Уральский государственный университет” (RU)
|
(54) СТЕНД ДЛЯ ИСПЫТАНИЯ ПОДВЕСКИ ТРАНСПОРТНОГО СРЕДСТВА
(57) Реферат:
Изобретение относится к устройствам для испытания транспортных средств и может быть использовано для испытаний гасящих элементов подвески колесных машин. Устройство содержит опорную плиту со сквозными продольными пазами, на которой установлен датчик регистрации положения кузова транспортного средства, шарнирно закрепленный на ней рычаг, свободный конец которого выполнен в виде гребенки, входящей в пазы основания, и опирающийся на цилиндрическую поверхность вала, имеющего сегментообразный продольный паз и упор-ограничитель для фиксации нижнего положения рычага. Рычаг при соответствующем положении вала может свободно падать, проходя через его сегментообразный паз. При установке вала в исходное положение рабочая поверхность рычага, на которой установлено колесо испытуемого автомобиля, приподнимается над поверхностью опорной плиты на заданную высоту Н. После поворота вала свободный конец рычага вместе с колесом испытуемого автомобиля свободно падает вниз. При этом колесо, пройдя расстояние Н, падает на решетчатую часть опорной плиты, а рычаг – на упор-ограничитель. Вертикальные перемещения кузова автомобиля при этом фиксирует датчик регистрации. Технический результат заключается в повышении точности измерений за счет обеспечения неизменности условий испытаний. 7 ил.
Изобретение относится к области транспортного машиностроения, а именно к методам стендовых испытаний гасящих элементов подвески колесных машин, например автомобилей.
Известен стенд для испытания подвески транспортного средства, содержащий связанный с двигателем посредством привода кривошипно-шатунный механизм, оказывающий на подвеску возвратно-поступательное силовое воздействие, снабженный маховиком, соединенным с двигателем [RU 37215 U1. Стенд для испытания подвески транспортного средства. G01М 17/04, 10.04.2004 г.].
Данный стенд обеспечивает проведение испытаний вибрационными нагрузками. Недостатком данного стенда является то, что он не позволяет качественно определить состояние гасящих элементов подвески без демонтажа.
Известен стенд для испытаний гасящих элементов подвески транспортного средства, в котором возбуждение колебаний обеспечивается путем создания свободных колебаний подвески методом сбрасывания [Патент США – 3164003]. Стенд состоит из тележки, на которой закреплен силовой гидроцилиндр, подвижной консольной опоры, движущейся по рейке и фиксирующих планок, закрепленных на стержне.
Данный стенд обеспечивает проведение испытаний гасящих элементов подвески транспортных средств методом сбрасывания, которое достигается путем свободного падения транспортного средства после его поднятия за буфер кузова над опорной поверхностью. Подобное решение позволяет смоделировать постоянные начальные условия возбуждения колебаний от испытания к испытанию за счет того, что все испытуемые транспортные средства «сбрасываются» с одной и той же высоты. Данное обстоятельство, несомненно, позволяет повысить стабильность и, следовательно, точность испытаний.
Недостатком этого стенда является то, что при заданной фиксированной высоте подъема кузова, к сожалению, опорное колесо будет подниматься на разные величины. При этом упругие и гасящие элементы подвески находятся в крайнем (вытянутом) состоянии, что не соответствует реальным дорожным условиям.
Известен способ для испытания гасящих элементов подвески методом сбрасывания. Для его осуществления используется препятствие клиновидной формы и регистрирующее устройство, закрепленное на крыле автомобиля [Копилевич Э.В., Пурник М.А., Федоров С.А. Диагностика подвески автомобилей. -М.: Транспорт, 1974, с.40]. При проведении испытаний автомобиль въезжает на препятствие и «соскакивает» с него.
Данный способ, в отличие от предыдущего, позволяет более точно смоделировать реальные дорожные условия. Колесо транспортного средства из своего рабочего, статического положения, когда автомобиль загружен, а упругие и гасящие элементы подвески сдеформированы до рабочего, статического положения, «сбрасывается» с заданной высоты Н. Недостатком данного способа является то, что в данном случае используется не чистый «сброс» транспортного средства, как это происходит при внезапном въезде в яму, а более – менее плавный съезд. Данное обстоятельство приводит к тому, что на результаты испытаний гасящих элементов подвески будут оказывать дополнительное влияние посторонние «погрешности» – характеристики качения колеса.
В основу предлагаемого изобретения положена техническая задача – обеспечить возмущение свободными колебаниями кузова транспортного средства и воздействие ими на гасящие элементы подвески, посредством «сбрасывания» колеса транспортного средства с высоты Н. Это позволит приблизить результаты испытания к реальным дорожным условиям.
Для решения поставленной задачи стенд для испытания подвески транспортного средства снабжен ступенчатым рычагом, расположенным в основании, выполненном в виде П-образной плиты, на горизонтальной поверхности которого установлен датчик регистрации перемещений и в котором выполнены сквозные продольные пазы для ступенчатых выступов рычага, при этом один конец рычага установлен в шарнирах, закрепленных в противоположных вертикальных стенках основания, в которых также закреплен упор-ограничитель рычага, а другой свободный конец рычага опирается на поверхность вала, закрепленного также в вертикальных стенках основания и имеющего сегментообразный продольный паз, причем ступенчатые выступы свободного конца рычага выполнены в виде гребенки.
Особенностью данного стенда является то, что свободные колебания в подвеске транспортного средства возникают в результате свободного падения его колеса с выступающего над опорной плитой на величину Н одного из концов шарнирно закрепленного рычага. При этом упругие и гасящие элементы подвески транспортного средства находятся в своем рабочем, статическом состоянии. В результате чего от испытания к испытанию создается стабильность условий возникновения свободных колебаний, что повышает точность проведения испытаний.
Для осуществления данного эффекта стенд содержит опорную плиту, в которой выполнены сквозные продольные пазы, в них перемещаются смежные выступы одноопорного шарнирно закрепленного рычага, другой конец которого установлен на цилиндрическую поверхность вала, имеющего сегментообразный продольный паз. На выступающую из основания часть одноопорного рычага устанавливается колесо транспортного средства. При этом величина выступающей части рычага от испытания к испытанию остается неизменной и составляет величину Н.
Поскольку вал с сегментообразным пазом может поворачиваться, рычаг с установленным на нем колесом транспортного средства свободно падает вниз, подвергаясь воздействию силы притяжения Земли. Это приближает условия испытания к условиям работы транспортного средства в эксплуатации, тем самым упрощая процесс диагностики гасящих элементов подвески, не прибегая к ее разборке.
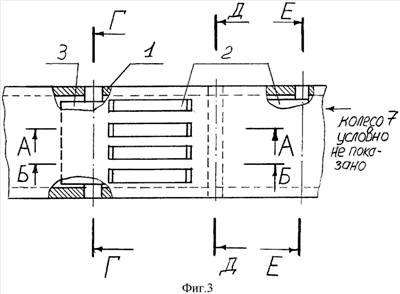
Сущность изобретения поясняется чертежами, где на фиг.1 указано расположение колеса транспортного средства перед проведением испытаний; фиг.2 – расположение того же колеса после проведения испытаний; фиг.3 – вид сверху стенда для испытаний подвески; фиг.4 – разрез по оси вала 3 с сегментообразным продольным пазом; фиг.5 – разрез по оси упора-ограничителя 5; фиг.6 – разрез по оси шарнирно закрепленной части рычага 2; фиг.7 – изометрический вид шарнирно закрепленного рычага 2.
Стенд содержит опорную плиту 1, в которой выполнены продольные пазы, шарнирно закрепленный на плите рычаг 2, причем смежные выступы рычага могут свободно перемещаться в пазах, выступая над поверхностью плиты на величину Н, на которую опирается колесо 7 испытуемого транспортного средства. Другой конец 4 рычага опирается на цилиндрическую поверхность вала 3 с сегментообразным продольным пазом. На опорной плите также смонтирован датчик регистрации 6 и упор-ограничитель 5, ограничивающий крайнее нижнее положение рычага во время его падения, которое наступает при повороте вала.
Испытания проводят следующим образом.
Полнокомплектное транспортное средство устанавливают колесом 7 на выступающую над опорной плитой 1 часть шарнирно закрепленного рычага 2 таким образом, чтобы пятно контакта колеса находилось в габарите прямоугольной проекции выступающей части рычага. Испытываемый объект закрепляют на опорной плите, далее происходит поворот цилиндрического вала 3 с сегментообразным пазом. Так как свободный конец 4 шарнирно закрепленного рычага опирается на цилиндрическую поверхность вала, то при повороте последнего наступает момент, когда опирающийся конец рычага теряет точку опоры и перемещается через сегментообразный продольный паз. В результате этого происходит свободное падение выступающей над опорной поверхностью плиты части рычага и установленного на ней колеса автомобиля, которое завершается в тот момент, когда колесо касается опорной поверхности плиты. В результате инертности движения кузова транспортного средства и упругих свойств подвески автомобиль начинает совершать свободные колебания, затухающие (ограничивающиеся) при помощи гасящих элементов подвески, эти колебания фиксируются датчиком регистрации 6. Рычаг продолжает свободно падать до тех пор, пока не соприкоснется с упором-ограничителем 5.
Транспортное средство «испытывает» само себя, так как предлагаемый стенд не требует для своей работы какого-либо приводного двигателя и тормозных устройств, за исключением механизма поворота цилиндрического вала с сегментообразным продольным пазом.
Изобретение относится к области испытаний и доводки колесных транспортных средств. Данный стенд может быть использован на заводах, производящих автомобили, а также в сфере сервиса и ремонта названной техники, заменяя эксплуатационные испытания, сокращая сроки и издержки по ремонту и освоению новой техники.
Формула изобретения
Стенд для испытания подвески транспортного средства, преимущественно колесного, содержащий основание для установки испытуемого средства, датчик регистрации перемещений при его испытании, отличающийся тем, что стенд снабжен ступенчатым рычагом, расположенным в основании, выполненном в виде П-образной плиты, на горизонтальной поверхности которого установлен датчик регистрации перемещений и в котором выполнены сквозные продольные пазы для ступенчатых выступов рычага, при этом один конец рычага установлен в шарнирах, закрепленных в противоположных вертикальных стенках основания, в которых также закреплен упор-ограничитель рычага, а другой, свободный конец рычага опирается на поверхность вала, закрепленного также в вертикальных стенках основания и имеющего сегментообразный продольный паз, причем ступенчатые выступы свободного конца рычага выполнены в виде гребенки.
РИСУНКИ
MM4A – Досрочное прекращение действия патента СССР или патента Российской Федерации на изобретение из-за неуплаты в установленный срок пошлины за поддержание патента в силе
Дата прекращения действия патента: 01.11.2008
Извещение опубликовано: 10.07.2010 БИ: 19/2010
|
|