|
|
(21), (22) Заявка: 2005111792/28, 21.04.2005
(24) Дата начала отсчета срока действия патента:
21.04.2005
(43) Дата публикации заявки: 27.10.2006
(46) Опубликовано: 27.03.2008
(56) Список документов, цитированных в отчете о поиске:
RU 2097717 C1, 27.11.1997. SU 514212 А1, 15.05.1976. SU 213385 A1, 01.01.1968. SU 861987 A1, 07.09.1981. SU 998877 A1, 23.02.1983. SU 343901 А1, 21.10.1975. SU 1660465 A1, 23.12.1992. SU 322664 A1, 01.01.1971. US 3297971, 10.01.1967.
Адрес для переписки:
141006, Московская обл., г. Мытищи, Олимпийский пр-кт, 42, ЗАО “Термоавтоматика”
|
(72) Автор(ы):
Орлов Евгений Юрьевич (RU), Абрамов Дмитрий Валерьевич (RU)
(73) Патентообладатель(и):
ЗАО “Термоавтоматика” (RU)
|
(54) УСТРОЙСТВО ДЛЯ ИЗМЕРЕНИЯ СИЛЫ СЖАТИЯ
(57) Реферат:
Изобретение относится к силоизмерительной технике и может быть использовано для измерения динамических сил. Устройство для измерения силы сжатия включает тарельчатую пружину с осевым толкателем, корпус, цилиндрическую втулку, в верхней части которой выполнена смещенная относительно оси толкателя Г-образная консоль с прорезями в ее вертикальной части, пьезокварцевые резонаторы, ограничитель и стержень с резьбой. Технический результат изобретения заключается в повышении точности измерения силы сжатия. 2 ил.
Изобретение относится к силоизмерительной технике и может быть использовано для измерения динамических сил.
Известно устройство для измерения силы сжатия, содержащее упругодеформируемый элемент, датчик деформации, корпус и индикатор (см., например, [1]).
В этом устройстве датчик деформации выполнен в виде пьезоэлемента и расположен между силопередающими упорами, контактирующими с основанием и крышкой с упругим дном, представляющими собой корпус. Основной недостаток данного устройства заключается в недостаточной точности измерений. При его работе пьезоэлемент подвергается только сжатию, в результате чего существенно ограничивается возможность повышения точности измерений силы сжатия.
Известно устройство для измерения силы сжатия, содержащее упругодеформируемый элемент, представляющий собой датчик деформации (см., например, [2]).
В данном устройстве датчик деформации выполнен в виде пластины из пьезоактивного материала П-образной формы с прорезью в перекладине, образующей две параллельные перемычки, на которых установлены электроды резонаторов. Его недостаток заключается в том, что внутренние углы П-образной пластины являются концентраторами напряжений. Поэтому, ввиду хрупкости пластины из пьезоактивного материала, этот датчик может нагружаться только сравнительно небольшими силами сжатия или растяжения, в результате чего ограничивается область его использования.
Известно устройство для измерения силы сжатия, содержащее упругодеформируемый элемент, датчики деформации, корпус и индикатор (см., например, [3]), принятое за прототип.
В этом устройстве упругодеформируемый элемент выполнен в виде двутавровой балки, между полками которой укреплены проволочные датчики. Основной недостаток прототипа заключается в недостаточной точности измерений силы сжатия проволочными датчиками.
Результатом настоящего изобретения является повышение точности измерений силы сжатия.
Указанный результат достигается тем, что в устройстве для измерения силы сжатия, содержащем упругодеформируемый элемент, датчики деформации, корпус и индикатор, упругодеформируемый элемент выполнен в виде тарельчатой пружины с осевым толкателем, неразъемно соединенной с корпусом, и соосно расположенной с ней цилиндрической втулкой, ввинченной в корпус, в верхней части которой выполнена параллельно ее оси Г-образная консоль, контактирующая горизонтальной частью с толкателем тарельчатой пружины, при этом в вертикальной части консоли, на внутренней и наружной поверхностях, выполнены прорези, обеспечивающие изгиб консоли по длине прорезей, в которых установлены пьезокварцевые резонаторы, а в основании цилиндрической втулки установлен ограничитель.
Отличительные от прототипа признаки заключаются в том, что в предлагаемом устройстве для измерения силы сжатия упругодеформируемый элемент выполнен в виде тарельчатой пружины с осевым толкателем, неразъемно соединенной с корпусом, и соосно расположенной с ней цилиндрической втулкой, ввинченной в корпус, в верхней части которой выполнена параллельно ее оси Г-образная консоль, контактирующая горизонтальной частью с толкателем тарельчатой пружины. При этом в вертикальной части консоли на внутренней и наружной поверхностях выполнены прорези, обеспечивающие изгиб консоли по длине прорезей, в которых установлены пьезокварцевые резонаторы, а в основании цилиндрической втулки установлен ограничитель.
В результате этого в предлагаемом техническом решении достигается необходимая жесткость конструкции, вследствие неразъемного соединения тарельчатой пружины с корпусом, и трансформирование малых перемещений толкателя в допустимые с помощью Г-образной консоли с прорезями, обеспечивающими ее изгиб по длине прорезей, в которых установлены пьезокварцевые резонаторы. При этом использование двух пьезокварцевых резонаторов, один из которых работает на растяжение, а другой – на сжатие, позволяет существенно повысить точность измерений силы сжатия.
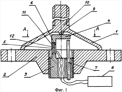
Вариант практической реализации предлагаемого изобретения иллюстрируется чертежами, на которых показано устройство для измерения силы сжатия в разрезе (фиг.1) и его сечение (фиг.2).
Устройство для измерения силы сжатия (фиг.1) включает тарельчатую пружину 1, корпус 2, цилиндрическую втулку 3 с Г-образной консолью 4, пьезокварцевые резонаторы 5, 6, ограничитель 7 и индикатор 8. На тарельчатой пружине 1 выполнен толкатель 9, расположенный на ее оси, например, сферической или другой формы, и воспринимающий усилие стержень 10 с резьбой. В вертикальной части Г-образной консоли 4 на наружной и внутренней поверхностях выполнены прорези 11, 12, в которых установлены пьезокварцевые резонаторы 5, 6. Тарельчатая пружина 1 и корпус 2, выполненный в виде фланца, соединены неразъемно, например, с помощью сварки, вследствие чего существенно повышается жесткость конструкции и, соответственно, уменьшается деформация при воздействии сил сжатия. Вертикальная часть Г-образной консоли 4 выполнена смещенной относительно оси толкателя 9 на расчетную величину, при которой достигается допустимая деформация пьезокварцевых резонаторов 5, 6 на растяжение и сжатие по длине прорезей 11, 12. В основании цилиндрической втулки 3 выполнено резьбовое отверстие для ограничителя 7, предназначенного для предохранения пьезокварцевых резонаторов 5, 6 от разрушения при ударных нагрузках. Цилиндрическая втулка 3 и Г-образная консоль 4 могут быть выполнены в виде отдельных деталей. Тарельчатая пружина 1 и цилиндрическая втулка 3 с Г-образной консолью 4 изготавливаются из высокопрочной пружинной стали. Индикатор 8 представляет собой показывающий прибор, в котором генерируемые частоты колебаний пьезокварцевых резонаторов 5, 6 преобразуются в величину силы сжатия.
Устройство для измерения силы сжатия работает следующим образом (см. фиг.1).
Перед началом измерения силы сжатия проверяется плотность контакта толкателя 9 с Г-образной консолью 4, которая в общем случае может изменяться, например, вследствие температурных факторов или релаксации. Необходимая плотность контакта достигается путем ввинчивания (или вывинчивания) цилиндрической втулки 3 в корпус 2. Контроль осуществляется по индикатору 8. При воздействии осевой силы на стержень 10, соединяемый при помощи резьбы с измеряемым объектом, происходит упругая деформация тарельчатой пружины 1 и, соответственно, перемещение толкателя 9 в осевом направлении. В результате взаимодействия с толкателем 9 Г-образная консоль 4, смещенная относительно его оси, нагружается моментом силы, вследствие чего происходит изгиб ее вертикальной части по длине прорезей 11, 12. При этом пьезокварцевые резонаторы 5, 6, установленные в прорезях 11, 12, подвергаются соответственно растяжению и сжатию. Частотные сигналы от пьезокварцевых резонаторов 5, 6 поступают в индикатор 8, суммируются и преобразуются в величину силы сжатия. В случае возникновения ударных нагрузок изгиб Г-образной консоли 4 ограничивается ограничителем 7, в результате чего исключается возможность разрушения пьезокварцевых резонаторов 5, 6.
В результате испытаний опытного образца устройства для измерения силы сжатия, изготовленного в соответствии с предлагаемым техническим решением, получены положительные результаты, подтверждающие повышенную точность измерений сил сжатия по сравнению с прототипом.
Источники информации
1. Датчик силы. Патент Российской Федерации 2097717, 6 G01L 1/16. Бюл. №33, 1997.
2. Устройство для измерений усилий. А.с. СССР 514212, G01L 1/16. Бюл. №18, 1976.
3. Устройство для измерения нагрузок А.с. СССР 213385, G01L 1/04. Бюл. №10, 1968.
Формула изобретения
Устройство для измерения силы сжатия, содержащее упругодеформируемый элемент, датчики деформации, корпус и индикатор, отличающееся тем, что упругодеформируемый элемент выполнен в виде тарельчатой пружины с осевым толкателем, неразъемно соединенной с корпусом, и соосно расположенной с ней цилиндрической втулкой, ввинченной в корпус, в верхней части которой выполнена параллельно ее оси Г-образная консоль, контактирующая горизонтальной частью с толкателем тарельчатой пружины, при этом в вертикальной части консоли, на внутренней и наружной поверхностях, выполнены прорези, обеспечивающие изгиб консоли по длине прорезей, в которых установлены пьезокварцевые резонаторы, а в основании цилиндрической втулки установлен ограничитель.
РИСУНКИ
MM4A – Досрочное прекращение действия патента СССР или патента Российской Федерации на изобретение из-за неуплаты в установленный срок пошлины за поддержание патента в силе
Дата прекращения действия патента: 22.04.2007
Извещение опубликовано: 27.07.2008 БИ: 21/2008
|
|