|
(21), (22) Заявка: 2006104334/14, 14.02.2006
(24) Дата начала отсчета срока действия патента:
14.02.2006
(43) Дата публикации заявки: 10.09.2007
(46) Опубликовано: 27.03.2008
(56) Список документов, цитированных в отчете о поиске:
ЕМЕЛЬЯНОВ С.И. и др. Инструменты и приборы для малоинвазивной хирургии. – СПб.: Человек, 2004, с.37. ЗАПОРОЖАН В.Н. и др. Видеоэндоскопические операции в хирургии и гинекологии. – Киев: Здоровья. 2000, с.37. RU 2141263 C1, 20.11.1999. MILSOM I.V. et. al. Use of laporoskopic technigues in colorectal surgery. Preliminary studi. Dis colon Rectum, 1994, 37(3), 215-218.
Адрес для переписки:
644014, г.Омск, ул. 9-ая Марьяновская, 45, О.Б.Оспанову
|
(72) Автор(ы):
Оспанов Орал Базарбаевич (RU)
(73) Патентообладатель(и):
Оспанов Орал Базарбаевич (RU)
|
(54) СПОСОБ ЭНДОХИРУРГИЧЕСКОГО ПРОШИВАНИЯ И ЛИГИРОВАНИЯ
(57) Реферат:
Изобретение относится к медицине и медицинской технике и может применяться в эндоскопической хирургии для интракорпорального выполнения шва тканей или лигирования трубчатых анатомических структур органов и тканей. Сущность в части способа: предварительно экстракорпорально на эндохирургическом инструменте, используя свободный конец нити, выполняют узел Roeder a. Через этот узел после прошивания или лигирования анатомических образований интракорпорально инструментом захватывают и протягивают другой конец нити, прошедший через ткани. И затем смещают по данному концу нити сформированный узел от эндохирургического инструмента в сторону прошиваемой или лигируемой структуры и одновременно затягивают узел, что снижает травматизацию тканей. 6 ил.
Изобретение относится к медицинской технике и может применяться в эндоскопической хирургии для интракорпорального выполнения шва тканей или лигирования трубчатых анатомических структур органов и тканей.
Общеизвестен способ прошивания тканей или лигирования трубчатых анатомических образований обычным лапароскопическим иглодержателем или зажимом [И.В.Федоров. Хирургические инструменты. Функции и назначение. – Казань, АКП «Аделаида», 2001. – стр.155]. Данный способ заключается в том, что иглодержателем фиксируют иглу с нитью, затем прошивают ткань или проводят нить с помощью лапароскопического инструмента за трубчатую структуру, например за кровеносный сосуд или пузырный проток с формированием петли из нити. Данная технологическая цепь завершается завязыванием и затягиванием узла. В результате происходит сшивание разных частей соединяемых тканей или лигирование трубчатых структур. При этом часто в медицине используют различные виды морских узлов [Л.Н.Скрягин, Морские узлы, Издательство Транспорт, 1992, с.97].
Недостатком применяемого способа является то, что после прошивания тканей или после проводки лигатуры вокруг трубчатой структуры требуется интракорпоральное формирование узла, что в стесненных условиях рабочей полости при лапароскопической операции технически сложно, некоторые узлы, например широко применяемый узел Roeder (Редера), интракорпорально выполнить невозможно.
Недостатком используемого для осуществления данного способа устройства является отсутствие возможности для фиксации эндохирургического узла в эндохирургическом иглодержателе и одновременно фиксации иглы с нитью.
Известны способ и устройство Н.С.Clarke для экстракорпорального формирования и низведения узла, которое состоит в использовании инструмента с кольцевидным вырезом для низведения узлов [An Improved Ligator in Operative Laparoscopy: Obstet Gynecol, 83, 299-301 (1994)].
Недостатком данного способа и устройства является, так же как в предыдущем аналоге, невозможность их использования для сложных узлов, например для скользящего узла Roeder.
Известно другое устройство для прошивания и (или) лигирования – EndoLoop, которое позволяет использовать узел Roeder [В.Н.Запорожан, В.В.Грубник, В.Ф.Саенко, М.Е.Ничитайло. Видеоэндоскопические операции в хирургии и гинекологии. – Киiв, Здоров’я, 2000, стр.37]. Устройство состоит из толкающего стержня и нити, которая может быть с иглой или без нее. EndoLoop вводят в стандартный трубчатый проводник для введения эндолигатуры через троакар в брюшную или грудную полость. Прошивают иглой сшиваемые ткани или интракорпорально проводят за трубчатую структуру лигатуру и выводят наружу оба конца нити. При этом узел Roeder формируют экстракорпорально и только затем низводят до лигируемой структуры.
Недостатком такого способа и устройства является использование длинной нити протяженностью до 70-90 см. При этом нить при затягивании движется всей своей длиной вокруг лигированной структуры и может вызывать перепиливание лигируемой структуры или прошитых тканей. В связи с этим данная техника не используется для прошивания тканей, а при лигировании сосуда или протока требуется их защита дополнительным инструментом, подведенным между лигатурой и лигируемой структурой.
Известен способ лапароскопического прошивания тканей аппаратом EndoStitch, выбранный в качестве прототипа [С.И.Емельянов, И.В.Федоров. Инструменты и приборы для малоинвазивной хирургии. – С.-Петербург, издательство «Человек», 2004, стр.37].
Вышеуказанный способ осуществляется следующим образом В рабочей части EndoStitch размещают специально изготовляемую для данного устройства нить с прямой иглой. Раскрывают бранши устройства и устанавливают их в таком виде между прошиваемыми тканями. Затем сближают бранши друг к другу, при этом игла прошивает ткани в выбранном месте вкола. После чего меняют с помощью привода устройства сторону фиксации иглы на противоположную браншу. После раскрытия бранш и вытягивания иглы из прошитых тканей игла с нитью оказывается на стороне выкола. Таким образом, происходит прошивание или лигирование тканей. Завязывание простого узла осуществляют путем выполнения петли и поочередной сменой места фиксации иглы с нитью на разных браншах устройства – то на одной, то с другой стороны петли.
Серьезным недостатком вышеуказанного способа, выбранного в качестве прототипа, является невозможность интракорпорального выполнения сложного узла, например узла Roeder, травматичность прошивания, сложности при затягивании узла.
Устройство для осуществления данного способа EndoStitch содержит удлиненный трубчатый корпус для возможности введения его через лапароскопический троакар, рабочую часть в виде двух бранш с механизмом фиксации иглы. При этом в браншах EndoStitch размещена прямая игла с фиксированной по ее центру нитью. Игла выполнена с возможностью поочередного закрепления на одной из бранш с помощью пластинчатых фиксаторов, которые управляются приводом устройства, размещенных в области ручек аппарата EndoStitch. Работает данное устройство за счет смены фиксации иглы с нитью с одной бранши на другую. В процессе применения на органах происходит прошивание или лигирование тканей между браншами аппарата.
Недостатками устройства EndoStitch для вышеуказанного способа являются:
во-первых, необходимость использования специально изготовленного для этих целей одноразовой иглы с нитью;
во-вторых, перпендикулярная фиксация нити в такой игле вызывает дополнительное повреждение тканей и затрудняет прохождение иглы в тканях;
в третьих, рабочая длина иглы аппарата EndoStitch не может превышать расстояния между раскрытыми браншами данного устройства, что в свою очередь не позволяет достаточно глубоко прошить сшиваемые ткани;
в четвертых, данным устройством невозможно правильно и аккуратно доставить экстракорпорально выполненный узел через эндохирургический троакар, одновременно фиксировать сложный узел, прошивать и лигировать анатомические структуры;
в пятых, данное устройство сложно в применении.
Учитывая вышеизложенное, данное изобретение направлено на решение задачи по разработке такого способа и по созданию такой конструкции устройства для осуществления эндохирургического прошивания и лигирования, которое позволило бы упростить и усовершенствовать технологический процесс эндохирургического прошивания, лигирования, завязывания и затягивание узла, сделать данный процесс более точным и менее травматичным.
Следовательно, технический результат изобретения состоит в возможности выполнения сложных узлов в эндоскопической хирургии, в снижении травматичности при прошивании тканей, в повышении глубины прошивания, в возможности доставить экстракорпорально выполненный узел через эндохирургический троакар с возможностью одновременной фиксации сложного узла с прошиванием и лигированием анатомических структур, в целом, в облегчении выполнения операции хирургом и в получении лучших результатов после операции за счет применения упрощенных и наиболее приспособленных для этих целей способа и конструкции устройства для осуществления этого способа.
Сущность изобретения заключается в достижении указанного технического результата по способу О.Б.Оспанова для эндохирургического прошивания и лигирования заключающемуся в том, что экстракорпорально фиксируют хирургический шовный материал в эндохирургическом инструменте, вводят его через троакар в рабочее эндохирургическое пространство, затем под эндоскопическим наблюдением прошивают соединяемые ткани или проводят нить за лигируемое трубчатое анатомическое образование, затем завязывают оба конца нити и затягивают узел.
В отличие от прототипа в предлагаемом изобретении предварительно экстракорпорально на эндохирургическом инструменте, используя свободный конец нити, выполняют сложный узел, через который, после прошивания или лигирования анатомических образований, интракорпорально инструментом захватывают и протягивают другой конец нити, прошедший через ткани. И затем смещают по данному концу нити сформированный узел от эндохирургического инструмента в сторону прошиваемой или лигируемой структуры и одновременно затягивают узел.
Сущность также заключается в том, что в устройстве для осуществления эндохирургического прошивания и лигирования имеется удлиненный трубчатый корпус с возможностью прохождения через эндохирургический троакар, бранши устройства с механизмом фиксации иглы с нитью на рабочем конце устройства с возможностью управления данным механизмом через привод устройства на другом конце трубчатого корпуса. В отличие от ближайшего аналога в устройстве для способа О.Б.Оспанова бранши выполнены в виде бранш иглодержателя с возможностью продольной и поперечной фиксации иглы с нитью, а снаружи иглодержателя выполнен механизм доставки и выталкивания узла нити.
Приведенная совокупность признаков обеспечивает получение технического результата во всех случаях, на которые распространяется испрашиваемый объем правовой охраны.
Признаки, характеризующие данное изобретение в частных случаях и конкретных формах выполнения, приведены ниже. Такими признаками являются: выполнение механизма доставки и выталкивания узла нити в виде не менее двух входящих друг в друга цилиндров с возможностью их продольного перемещения в сторону рабочей части; выполнение в наружном цилиндре не менее двух противоположных прорезей для погружения и заправки узла нити; выполнение рабочей части в виде трех бранш иглодержателя с возможностью раздельной фиксации двух концов нитей; выполнение бранш устройства в виде двух бранш иглодержателя и постоянной закрепленной на инструменте иглы с возможностью ее поочередного перевода из открытого рабочего положения в закрытое транспортное положение, выполнение на браншах иглодержателя заостренных кромок в качестве ножниц.
Причинно-следственная связь большинства из перечисленных признаков с вышеупомянутым техническим результатом показана их функциональными характеристиками. Можно только добавить, что значительно облегчает труд хирурга оригинально выполненный механизм фиксации иглы с нитью, выполненный в виде бранш иглодержателя, адаптированных не только для поперечной, но и для продольной фиксации рабочей иглы с нитью. При этом наружное размещение механизма доставки и выталкивания узла нити позволяет выполнить практически любой сложный узел до введения инструмента в брюшную полость Таким образом, устройство О.Б.Оспанова позволяет экстракорпорально выполнить самый сложный и точный этап операции – надежное завязывание сложного узла, который выполняют раньше этапа интракорпорального прошивания или лигирования тканей. Процесс завершают протягиванием атравматичной иглы через заранее сформированный узел и затягиванием узла путем дальнейшего простого натяжения иглы с нитью.
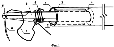
Сущность изобретения поясняется чертежами, где на фиг.1 изображена рабочая часть инструмента О.Б.Оспанова для лапаросколического прошивания и лигирования с атравматической иглой и нитью с экстракорпорально выполненным модифицированным узлом Roeder (вид сбоку), на фиг.2. показан момент погружения узла Roeder внутрь инструмента. На фиг.3 изображено транспортное положение рабочей части инструмента для его введения в брюшную полость через троакар (вид сбоку). На фиг.4 показано положение иглы и узла Roeder в инструменте О.Б.Оспанова перед эндохирургическим прошиванием и лигированием. На фиг.5 продемонстрирован продольный захват иглы с нитью после прошивания ими тканей и завершение этапа выталкивания узла. На фиг.6 показано затягивание узла Roeder при дальнейшем потягивании за иглу с нитью.
Предлагаемый способ О.Б.Оспанова эндохирургического прошивания и лигирования реализован следующим образом.
Экстракорпорально фиксируют на рабочей части эндохирургического инструмента атравматическую иглу с нитью и выполняют на данном инструменте модифицированный нами узел Roeder таким образом, чтобы свободный от иглы конец нити, создавал все петли узла вокруг трубчатого корпуса инструмента, который по аналогии с обычным способом заменял бы на время концы другой ведущей неподвижной нити, вокруг которой вращают ведомую ходовую нить при обычном способе завязывания узла Roeder [стр.100, Федоров И.В, Зыятдинов К.Ш., Сигал Е.И. Оперативная лапароскопия, Триада-Х, 2004, 464 с.].
После выполнения узла эндохирургический инструмент вводят через лапароскопический троакар в брюшную полость, где под видеонаблюдением интракорпорально прошивают иглой соединяемые ткани и продольно длине иглы перехватывают иглу с нитью в точке выкола. Вытягивая иглу, протягивают конец нити, прошедший через прошитые ткани. При этом процессе по данному концу нити в виде проводника смещают сформированный узел Roeder от инструмента до прошитой ткани и одновременно затягивают узел.
Устройство О.Б.Оспанова для эндохирургического прошивания и лигирования в рабочей части (по фиг.1) содержит наружную трубку 1 с двумя боковыми продольными прорезями 2, иглодержатель 3. Между наружной трубкой 1 и иглодержателем 3 размещен узлотолкатель 4. Между браншами 5 иглодержателя 3 располагается игла 6 с атравматическим типом крепления нити 7. Привод устройства О.Б.Оспанова для эндохирургического прошивания и лигирования на фигурах не показан.
Работают устройством О.Б.Оспанова для эндохирургического прошивания и лигирования следующим образом (по фиг.1).
На участке иглодержателя 3 между его браншами 5 и краем наружной трубки 1, используя свободный конец нити 7, выполняют модифицированный нами узел Roeder 8. Помещают (по фиг.2) оба конца нити 7 в боковые прорези 2 и погружают узел 8 внутрь инструмента до торца узловыталкивателя 4. Затем (по фиг.3) помещают концы нити 7 внутрь инструмента и смещают наружную трубку 1 в сторону рабочей части до полного помещения иглы 6 с нитью 7 в наружной трубке 1. В таком транспортном положении инструмент вводят через лапароскопический троакар в брюшную полость (на фиг. не показано), где (по фиг.4) возвращают в исходное положение наружную трубку 1, при этом обнажается игла 6 с закрепленной к ней частью нити 7. Прошивают (по фиг.5) соединяемые ткани 9 и захватывают иглу 6 вдоль ее длины. Затем смещают наружу узел 8 с помощью узловыталкивателя 4 в сторону бранш 5 иглодержателя 3 и протягивают иглу 6 вместе с нитью 7 через узел Roeder 8. При этом (по фиг.6) узел 8 соскальзывает с иглодержателя 3, затем с иглы 6 и далее, как по проводнику, опускается по данному концу нити 7, прошедшей через прошитые ткани, до места сшивания, одновременно затягивая узел Roeder 8.
Формула изобретения
Способ эндохирургического прошивания и лигирования, включающий использование устройства для эндохирургического прошивания тканей, содержащего трубчатый корпус с возможностью прохождения через троакар, бранш устройства с механизмом фиксации иглы с нитью на рабочем конце, привода механизма управления на конце устройства, фиксацию экстракорпорально шовного материала в устройстве, введение устройства через троакар в рабочее пространство, прошивание тканей с формированием узла Roeder’a, отличающийся тем, что после выкола иглы фиксируют иглу в иглодержателе вдоль ее длины, смещают узел в сторону бранш иглодержателя, протягивают иглу вместе с нитью через узел Roeder’a и затягивают его.
РИСУНКИ
MM4A – Досрочное прекращение действия патента СССР или патента Российской Федерации на изобретение из-за неуплаты в установленный срок пошлины за поддержание патента в силе
Дата прекращения действия патента: 15.02.2008
Извещение опубликовано: 27.12.2009 БИ: 36/2009
|