|
| На основании пункта 3 статьи 13 Патентного закона Российской Федерации от 23 сентября 1992 г. № 3517-I патентообладатель обязуется передать исключительное право на изобретение (уступить патент) на условиях, соответствующих установившейся практике, лицу, первому изъявившему такое желание и уведомившему об этом патентообладателя и федеральный орган исполнительной власти по интеллектуальной собственности, – гражданину РФ или российскому юридическому лицу. |
|
(21), (22) Заявка: 2006107623/12, 14.03.2006
(24) Дата начала отсчета срока действия патента:
14.03.2006
(43) Дата публикации заявки: 10.10.2007
(46) Опубликовано: 27.03.2008
(56) Список документов, цитированных в отчете о поиске:
FR 588050 А, 28.04.1925. DE 3403610 A1, 03.01.1985. BL 709090 A, 09.01.1968. US 1862944 A, 14.06.1932. CH 230551 A, 16.03.1944. FR 627276 A, 30.09.1927. GB 23965 A, 14.06.1914. SU 376919 A, 05.04.1973.
Адрес для переписки:
105037, Москва, ул. 1-я Прядильная, 7, кв.38, А.Г.Сучкову
|
(72) Автор(ы):
Сучков Александр Георгиевич (RU)
(73) Патентообладатель(и):
Сучков Александр Георгиевич (RU)
|
(54) СПИЧЕЧНЫЙ КОРОБОК
(57) Реферат:
Изобретение относится к производству спичек и непосредственно касается конструкции спичечного коробка и технологического процесса его изготовления. Спичечный коробок содержит два корпуса, выдвигающихся один из другого в процессе эксплуатации. Внутренний корпус образован жестко соединенными между собой плоским прямоугольным дном и боковыми стойками, расположенными по периметру дна. Внешний корпус имеет параллельно расположенные и жестко соединенные между собой посредством двух боковых стоек два плоских прямоугольных основания. В одном из оснований выполнено сквозное отверстие. Во втором основании внешнего корпуса выполнено, по меньшей мере, одно сквозное отверстие. Наибольший габаритный размер отверстия в основаниях по своей величине составляет 89-14% от ширины основания. На внешнюю поверхность дна внутреннего корпуса нанесено «цветовое пятно», габаритные размеры которого преимущественно не выходят за пределы внешнего контура отверстия. Изобретение обеспечивает улучшение условий эксплуатации спичечного коробка и расширение его функциональных возможностей при уменьшении материалоемкости и сохранении срока службы. 10 з.п. ф-лы, 12 ил.
Изобретение относится к области удовлетворения человеческих потребностей, в частности к производству спичек, и непосредственно касается конструкции спичечного коробка и технологического процесса его изготовления.
Известен спичечный коробок в виде прямоугольного параллелепипеда, внешний корпус и внутренний корпус которого, вставляющиеся один в другой, изготовлены из древесного шпона, а его этикетка изготовлена из бумаги и наклеена на одну из поверхностей внешнего корпуса [1].
Этот коробок имеет ряд существенных недостатков, основным из которых является изготовление его внешнего и внутреннего корпусов с использованием дефицитной древесины. Второй существенный недостаток данного спичечного коробка взаимосвязан с его этикеткой и заключается в следующем. В ночное время суток, когда спичечную этикетку не видно, а для людей с дефектами зрения, также и в дневное время суток, неправильная ориентировка внутреннего корпуса, заполненного спичками, т.е. расположение его дна в верхнем, а не в нижнем горизонтальном положении, в случае полного выдвижения внутреннего корпуса из полости внешнего, приводит к тому, что спички частично рассыпаются или же полностью выпадают из коробка. Для предотвращения этого потребителю приходится сначала достаточно осторожно выдвинуть на некоторую величину внутренний корпус из внешнего, затем на ощупь определить как расположено дно внутреннего корпуса и уже только после этого, в случае необходимости перевернув коробок, выдвигать внутренний корпус из внешнего на величину, достаточную для извлечения спичек. Проведение такой «предварительной операции» усложняет условия эксплуатации этого спичечного коробка.
Известен также спичечный коробок в виде прямоугольного параллелепипеда, имеющий две этикетки, в котором внешний и внутренний корпуса изготовлены из бумажного картона, т.е. из материала менее дефицитного, нежели древесина [2].
Данный коробок, в котором спичечными этикетками, выполненными посредством нанесения одноцветного красителя, снабжены две поверхности внешнего корпуса, имеет недостаток, свойственный вышеохарактеризованному спичечному коробку в части условий его эксплуатации. Причем этот недостаток у данного спичечного коробка существенно усугубляется тем, что даже в дневное время суток две этикетки, несущие одну и ту же информацию в виде текста «Спички», не позволяют по внешнему виду коробка, перед извлечением из него спичек, правильно определить вверху или внизу расположено дно его внутреннего корпуса.
Кроме этого, известен спичечный коробок в виде прямоугольного параллелепипеда, который по своей технической сущности и результату, достигаемому при его использовании, является наиболее близким к предлагаемому и принят в качестве прототипа.
В данном спичечном коробке, имеющем одну этикетку, выполненную в виде текстового «цветового пятна», внешний и внутренний корпуса изготовлены из прессованной бумаги. Причем его внешний корпус образован двумя параллельно расположенными плоскими прямоугольными основаниями, жестко соединенными между собой по их большим сторонам двумя стойками, на внешнюю поверхность которых нанесен слой серы (терочная поверхность), а его внутренний корпус имеет жестко соединенные между собой плоское прямоугольное дно и четыре стойки, расположенные по периметру дна и перпендикулярно к его плоскости [3].
Данный спичечный коробок имеет тот же недостаток, что и два вышеохарактеризованных коробка в части условий их эксплуатации.
Внешний вид этого спичечного коробка, вследствие наличия на его поверхности только одной этикетки, в дневное время суток людям без дефектов зрения должен был бы позволить правильно определить где верх, а где низ коробка и, следовательно, без боязни рассыпать спички, полностью выдвинуть внутренний корпус из внешнего.
В производственном процессе изготовления спичек такой «положительный эффект» должен бы был обеспечиваться строгой ориентацией внешнего корпуса спичечного коробка (например, этикеткой вверх) перед тем, как в него будет вставлен внутренний корпус, заполненный спичками. Однако, как показывает практика, после расфасовки спичек и сборки внешнего и внутреннего корпусов коробка в единое целое неправильное расположение дна внутреннего корпуса относительно этикетки коробка имеет место в 10-40 случаях из 100, а именно это и сводит на нет эффект наличия на спичечном коробке только одной этикетки. В результате этого даже в дневное время суток во избежание нежелательных явлений любому из пользователей спичек приходится сначала несколько выдвинуть внутренний корпус из внешнего, затем посредством визуального осмотра и/или путем ощупывания определить расположение его дна и уже только после этого выдвигать его на величину, необходимую для извлечения спичек.
Вместе с этим следует отметить и то обстоятельство, что на изготовление данного спичечного коробка расходуется несколько больше материала, чем могло бы быть использовано и причем при условии сохранения его механической прочности, т.е. срока службы.
Кроме того, отсутствие возможности нанесения на противолежащие внешние поверхности данного спичечного коробка двух этикеток характеризует его конструкцию с отрицательной стороны, поскольку в результате этого ограничиваются потенциальные возможности дизайнеров и, следовательно, информационная насыщенность и внешний вид этого спичечного коробка не соответствуют требованиям сегодняшнего дня.
Наиболее близким к заявленному изобретению аналогом является спичечный коробок, описанный в патенте FR 588050, 1925 и содержащий два корпуса, выдвигающихся один из другого в процессе эксплуатации, внутренний из которых образован жестко соединенными между собой плоским прямоугольным дном и боковыми стойками, расположенными по периметру дна, а внешний имеет параллельно расположенные и жестко соединенные между собой посредством двух боковых стоек два плоских прямоугольных основания, в одном из которых выполнено сквозное отверстие, диаметр которого составляет 12-16 мм. Такой диаметр отверстия позволяет пользователю достаточно уверенно ориентироваться в нужный момент с расположением в коробке дна внутреннего корпуса, но не позволяет изготовителю спичек решить задачу устранения технологической операции «ориентация», так как во внешнем корпусе выполнено всего лишь одно отверстие. Кроме того, спичечный коробок, описанный в патенте FR 588050, не всегда решает задачу «подачи кислорода».
Технической задачей, на решение которой направлено изобретение, является улучшение условий эксплуатации спичечного коробка и расширение его функциональных возможностей при уменьшении материалоемкости и сохранении срока службы.
Поставленная задача решена за счет того, что в спичечном коробке карманного типа, содержащем два корпуса, выдвигающихся один из другого в процессе эксплуатации, внутренний из которых образован жестко соединенными между собой плоским прямоугольным дном и боковыми стойками, расположенными по периметру дна, а внешний имеет параллельно расположенные и жестко соединенные между собой посредством двух боковых стоек два плоских прямоугольных основания, в одном из которых выполнено сквозное отверстие, во втором основании внешнего корпуса выполнено, по меньшей мере, одно сквозное отверстие, при этом наибольший габаритный размер отверстия в основаниях по своей величине составляет 89-14% от ширины основания, а на внешнюю поверхность дна внутреннего корпуса нанесено «цветовое пятно», габаритные размеры которого преимущественно не выходят за пределы внешнего контура отверстия.
Кроме того, поставленная задача решена и за счет того, что
– отверстие выполнено с внешним контуром в виде, преимущественно правильной, геометрической фигуры;
– отверстие выполнено преимущественно в виде окружности;
– отверстие выполнено по центру основания или со смещением относительно него;
– отверстия в основаниях выполнены с одинаковой или с разной формой внешнего контура;
– отверстия в основаниях выполнены с одинаковыми или с разными габаритными размерами;
– отверстия в основаниях выполнены с одинаковым или с разным расположением;
– отверстия в основаниях выполнены с их одинаковым или с разным количеством;
– «цветовое пятно» выполнено в виде слоя одноцветного и/или разноцветного красителя, наклейки, рисунка или текста и/или в виде их комбинации;
– в первом основании внешнего корпуса выполнено более одного отверстия;
– величина расстояния от любого из отверстий до наиболее близкой к нему стороны основания составляет не менее 5% ширины основания;
– «цветовое пятно» выполнено на всей площади дна внутреннего корпуса или на отдельном, по крайней мере одном, ее участке;
– при выполнении «цветового пятна» на отдельном участке дна его площадь составляет не менее 1% от площади дна;
– в дне внутреннего корпуса выполнено по меньшей мере одно сквозное, преимущественно круглое, отверстие, центр которого смещен относительно центра дна, а величина диаметра составляет 50-8% от ширины дна;
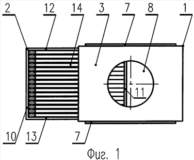
Изобретение поясняется следующими чертежами:
на фиг.1-4 показан внешний вид спичечного коробка в полуоткрытом состоянии в четырех проекциях;
на фиг.5 представлен спичечный коробок, на внутренний корпус которого нанесена этикетка в виде «цветового пятна», имеющего форму круга;
на фиг.6 представлен спичечный коробок, дно которого выполнено со сквозными отверстиями;
на фиг.7-12 показаны формы и варианты выполнения сквозного отверстия в основании внешнего корпуса.
Ниже приводится пример конкретного выполнения предлагаемого спичечного коробка, не исключающий других вариантов его изготовления в объеме формулы изобретения.
Спичечный коробок, имеющий габаритные размеры 16×36×50 мм (см. фиг.1-4), содержит вставляющиеся один в другой внешний 1 и внутренний 2 корпуса, изготовленные из прессованной бумаги. Внешний корпус 1 коробка образован двумя параллельно расположенными плоскими прямоугольными основаниями 3 и 4, жестко соединенными между собой по большим сторонам посредством двух боковых стоек 5 и 6, на внешнюю поверхность которых нанесен слой серы 7. В центре каждого из оснований внешнего корпуса выполнено по одному сквозному круглому отверстию 8, диаметры которых равны между собой и по своей величине составляют 25 мм, что эквивалентно 69,4% от ширины основания 3, которая равна 36 миллиметрам (расстояние от отверстия до большей стороны основания равно 5,5 мм, что эквивалентно 15,25% ширины основания). Внутренний корпус 2 спичечного коробка образован плоским прямоугольным дном 9 и четырьмя боковыми стойками 10-13, расположенными по периметру дна и перпендикулярно к его плоскости, две из которых 10 и 11, лежащие одна против другой, в сравнении с двумя другими стойками 12 и 13, имеют меньшую длину. В предлагаемом спичечном коробке, равно как и в вышеуказанных, спички 14 располагаются в его внутреннем корпусе.
Данный спичечный коробок эксплуатируется точно также, как и спичечные коробки известных конструкций, т.е. его внутренний корпус 1 выдвигается из внешнего корпуса 2 на некоторую величину, достаточную для извлечения из него спички 14, после чего извлекается спичка и серной головкой чиркается о поверхность одной из стоек 5 или 6, на каждую из которых нанесен слой серы 7. Серная головка спички, вследствие трения серы об серу, воспламеняется и ее пламя подносится к объекту, который необходимо зажечь, например к комфорке газовой плиты.
Совершенно не отличаясь в условиях эксплуатации от известных спичечных коробков, предлагаемый спичечный коробок позволяет до его открытия безошибочно, т.е. в 100 случаях из 100, определить как расположено дно 9 внутреннего корпуса 2 и, следовательно, без боязни рассыпать спички, полностью выдвинуть внутренний корпус 2 из внешнего 1 корпуса коробка. Это обусловлено выполнением в основаниях 3 и 4 внешнего корпуса 1 сквозных отверстий 8, через которые видно и сами спички 14 (фиг.1), и внешнюю поверхность дна 9 (фиг.3) внутреннего корпуса 2. При этом следует отметить, что уже во время извлечения спичечного коробка, например, из кармана потребитель за счет непосредственного контакта пальцев руки через отверстия 8 одновременно со спичками 14 и с дном 9 внутреннего корпуса, либо только со спичками или только с дном, имеет возможность ориентироваться и ориентируется в расположении дна спичечного коробка.
Таким образом, выполнение сквозных отверстий в основаниях внешнего корпуса спичечного коробка, обуславливающее снижение количества материала, необходимого для его изготовления, и обеспечивающее возможность ориентации в расположении его дна как на ощупь, так и по внешнему виду до выдвижения внутреннего корпуса из внешнего, т.е. улучшения условий использования, позволяет решить поставленную техническую задачу, сохранив при этом механическую прочность спичечного коробка и срок его службы, что достигается определенным ограничением диаметра отверстия и величиной расстояния от края отверстия до любой из сторон основания.
Минимальное расстояние от края отверстия 8 до любой из сторон основания 3 и 4, в данном случае до большей стороны основания, в своих значениях равное 5% ширины этого основания, что составляет примерно 2 мм, характеризующее максимальный диаметр отверстия, равный примерно 32 мм, обусловлено механической прочностью спичечного коробка, обеспечивающей ему срок службы, необходимый для использования всех спичек, в нем находящихся. Дальнейшее же уменьшение этого расстояния, т.е. увеличение диаметра отверстия, представляется нецелесообразным по двум причинам. Во-первых, потому, что резко снижается механическая прочность спичечного коробка, вследствие чего срок его службы может оказаться менее продолжительным, нежели у известного спичечного коробка. А во-вторых, потому, что при данной величине вышеуказанного расстояния непосредственный контакт одного из пальцев руки человека через отверстие 8 со спичками 14 осуществляется без каких-либо препятствий, поскольку диаметр отверстия (примерно 32 мм) существенно превышает ширину пальца человека.
Ограничение минимального диаметра отверстия величиной в 14% ширины основания, что составляет примерно 6 мм, обусловлено тем, что при его меньшей величине: во-первых, в значительной степени затрудняется непосредственный контакт пальцев руки человека со спичками, т.к. во внутрь спичечного коробка через отверстие проходит только часть подушечки пальца, а во-вторых, тем, что материала на изготовление спичечного коробка расходуется все же достаточно много. Причем в этом случает отходы производства в виде бумажных (картонных) кружков диаметром менее 6 мм без дополнительной переработки практически не могут быть использованы в каком-либо производстве, в то время как кружки с диаметром в диапазоне 30-8 мм могут быть использованы, например, в качестве пыжей для охотничьих патронов или же в качестве герметизирующих прокладок в аптечных пузырьках.
Выполнение в основаниях внешнего корпуса не одного сквозного отверстия, наличие которого уже обеспечивает решение поставленной задачи, а именно двух отверстий, обусловлено тем, что это позволяет сэкономить 100% материала из того количества, которое целесообразно сэкономить за счет выполнения сквозных отверстий, а не 50% из этого количества материала. И кроме этого, позволяет обойтись без специальной ориентации внешнего и внутреннего корпусов при их сборке в единое целое и вместе с этим повысить качество внешнего вида спичечного коробка.
Спичечный коробок предлагаемой конструкции был изготовлен из известного и испытан, что позволило на практике убедиться в существенном улучшении условий использования, определить оптимальный диаметр сквозных отверстий (16-25 мм), количество сэкономленного материала на каждом коробке (0,35 грамма при диаметре отверстия в 25 мм и общем весе известного коробка в 4,13 грамма) и срок его службы (примерно 240-300 спичек), который в основном зависит от качества слоя серы, нанесенного на стойки внешнего корпуса.
К другим примерам конкретного выполнения предлагаемого спичечного коробка, обеспечивающим дальнейшее улучшение условий использования, уменьшение материалоемкости и расширение функциональных возможностей, следует отнести нанесение на внешнюю поверхность дна внутреннего корпуса «цветового пятна», т.е. слоя красителя 15 (фиг.5) и выполнение его перфорированным (фиг.6) сквозными отверстиями 16, а также различные вариации с формами (фиг.7-11) сквозного отверстия, их количеством (фиг.12) и расположением.
Нанесение на внешнюю поверхность дна 9 внутреннего корпуса 2 слоя красителя 15, по цвету не идентичного цвету внешним поверхностям дна 9 и оснований 3 и 4, соответственно, внутреннего и внешнего корпусов (фиг.5), позволяет не только улучшить условия использования спичечного коробка (контрастность цветов при визуальном определении расположения дна 9), но и представляет широкие возможности дизайнерам для улучшения внешнего вида спичечного коробка путем обогащения его цветовой гаммы и информационной насыщенности при наличии двух этикеток на поверхностях оснований внешнего корпуса. Слой красителя может быть нанесен на всю поверхность дна 9 внутреннего корпуса, однако это несколько не рационально, поскольку в закрытом состоянии спичечного коробка через отверстие 8 видна меньшая часть площади указанной поверхности. Вследствие этого слой красителя следует наносить на ту часть поверхности дна, которая видна через отверстие 8 в закрытом состоянии спичечного коробка, придавая при этом ему форму отверстия, например форму (фиг.5) круга. При этом целесообразно учитывать и то обстоятельство, что «цветовых пятен» может быть несколько, а площадь любого из них в своих размерах не должна быть менее 1-3% от площади дна.
Слой красителя может представлять собой «сплошное пятно» (фиг.5), какой-либо текст, набор букв, символ, рисунок и т.п. или же сочетание текста (букв) и символического рисунка, что также позволяет разнообразить внешний вид спичечного коробка, т.е. изготавливать его полностью отвечающим эстетическим требованиям сегодняшнего дня.
Степень уменьшения материалоемкости спичечного коробка, достигаемая выполнением сквозных отверстий 8 на основаниях 3 и 4 внешнего корпуса 1, может быть существенно увеличена путем полного или частичного перфорирования дна 9 внутреннего корпуса 2 сквозными отверстиями 16 различных форм и размеров, выполняемого с соблюдением их соответствующих размеров (50-8% от ширины дна) и на определенном расстоянии (не менее 5%) от любой из сторон дна.
В случае частичного (выборочного) перфорирования дна внутреннего корпуса отверстиями 16 достаточно большого диаметра (фиг.6), представляющегося наиболее целесообразным из-за размера получающихся кружков бумаги (возможность использования без дополнительной переработки), отверстия следует располагать на той его части, которую в закрытом состоянии спичечного коробка не видно через отверстия 8, т.е. на поверхности, не покрытой слоем красителя. Это обусловлено тем, что при наличии отверстия, достаточно большого в своих размерах, в центре дна внутреннего корпуса, т.е. «на слое красителя», становится возможным непосредственный контакт пальцев человека со спичками 14 одновременно с двух сторон коробка, т.е. через отверстия 8 и 16, в результате чего ориентация в расположении дна внутреннего корпуса несколько затрудняется.
Величина диаметра отверстия 16 в своих значениях практически полностью зависит от прочности участка дна внутреннего корпуса между двумя наиболее близко расположенными отверстиями и составляет для любого случая перфорирования 50-8% от ширины дна внутреннего корпуса, что равнозначно 17-3 мм. При этом длина указанного участка также должна быть не менее 5% ширины дна.
Дальнейшее уменьшение материалоемкости спичечного коробка может быть обеспечено перфорированием боковых стоек 12-13, частично стоек 10-11 и частично одной из стенок 5 или 6, выполняемой составной из двух половин (перфорирование внутренней половины).
Сквозные отверстия 8, выполняемые на основаниях 3 и 4 внешнего корпуса 2, или одно из этих отверстий, в зависимости от художественных особенностей оформления спичечного коробка, могут быть смещены от центра основания, могут иметь форму с внешним контуром в виде правильной геометрической фигуры: квадрата (фиг.7); эллипса (фиг.8); многогранника (фиг.9) или же более сложную форму (фиг.10-11) внешнего контура. Причем отверстия могут быть выполнены с одинаковой (квадрат и квадрат) или с разной (круг и многогранник) формой и с одинаковыми или с разными геометрическими размерами, что также обеспечивает определенные возможности для улучшения внешнего вида спичечного коробка. При этом таких отверстий в каждом из оснований (см. фиг.12) может быть выполнено несколько, количество их может быть одинаковым или разным и расположены они могут быть в произвольном или в систематизированном порядке.
Сопоставительный анализ известного и предлагаемого спичечных коробков показывает, что последний из них является более эффективным, т.к., обладая меньшей материалоемкостью и достаточно высокой механической прочностью, обеспечивает устранение нежелательных явлений при извлечении из него спичек, обладает широкими возможностями в плане улучшения его внешнего вида и увеличения объема информации, размещаемой на его поверхностях, и позволяет устранить из технологического процесса его изготовления операцию по ориентации внутреннего и внешнего корпусов перед их сборкой в единое целое и, тем самым, повысить производительность поточной линии изготовления спичечных коробков.
Источники информации, принятые во внимание при составлении текста описания и формулы изобретения
1. Спичечный коробок, Фабрика «Маяк», ГОСТ 1820-77, 1988 г.
2. Спичечный коробок, ЗАО «ПЛИТСПИЧПРОМ», ГОСТ 1820-2001, 2002 г.
3. Спичечный коробок, Фабрика «Белка-Фаворит», ГОСТ 1820-2001, 2004 г.
Формула изобретения
1. Спичечный коробок карманного типа, содержащий два корпуса, выдвигающихся один из другого в процессе эксплуатации, внутренний из которых образован жестко соединенными между собой плоским прямоугольным дном и боковыми стойками, расположенными по периметру дна, а внешний имеет параллельно расположенные и жестко соединенные между собой посредством двух боковых стоек два плоских прямоугольных основания, в одном из которых выполнено сквозное отверстие, отличающийся тем, что во втором основании внешнего корпуса выполнено, по меньшей мере, одно сквозное отверстие, при этом наибольший габаритный размер отверстия в основаниях по своей величине составляет 89-14% от ширины основания, а на внешнюю поверхность дна внутреннего корпуса нанесено «цветовое пятно», габаритные размеры которого преимущественно не выходят за пределы внешнего контура отверстия.
2. Спичечный коробок по п.1, отличающийся тем, что отверстие выполнено с внешним контуром в виде, преимущественно правильной, геометрической фигуры.
3. Спичечный коробок по п.2, отличающийся тем, что отверстие выполнено преимущественно в виде окружности.
4. Спичечный коробок по п.1, отличающийся тем, что отверстие выполнено по центру основания или со смещением относительно него.
5. Спичечный коробок по п.1, отличающийся тем, что отверстия в основаниях выполнены с одинаковой или с разной формой внешнего контура.
6. Спичечный коробок по п.1, отличающийся тем, что отверстия в основаниях выполнены с одинаковыми или с разными габаритными размерами.
7. Спичечный коробок по п.1, отличающийся тем, что отверстия в основаниях выполнены с одинаковым или с разным расположением.
8. Спичечный коробок по п.1, отличающийся тем, что отверстия в основаниях выполнены с их одинаковым или с разным количеством.
9. Спичечный коробок по п.1, отличающийся тем, что «цветовое пятно» выполнено в виде слоя одноцветного и/или разноцветного красителя, наклейки, рисунка или текста и/или в виде их комбинации.
10. Спичечный коробок по п.1, отличающийся тем, что в первом основании внешнего корпуса выполнено более одного отверстия.
11. Спичечный коробок по п.1, отличающийся тем, что величина расстояния от любого из отверстий до наиболее близкой к нему стороны основания составляет не менее 5% ширины основания.
РИСУНКИ
|
|