|
(21), (22) Заявка: 2006140203/14, 14.11.2006
(24) Дата начала отсчета срока действия патента:
14.11.2006
(46) Опубликовано: 27.03.2008
(56) Список документов, цитированных в отчете о поиске:
RU 50412 U1, 20.01.2006. RU 2262915 C1, 27.10.2005. US 2006042524 А, 02.03.2006. US 5282835, 01.02.1994. DE 10040611 А, 19.04.2001. DE 4337645 А, 12.01.1995. DE 3240125 А, 03.05.1984.
Адрес для переписки:
450000, Республика Башкортостан, г.Уфа-Центр, а/я 1472, Н.И. Гиниятуллину
|
(72) Автор(ы):
Гиниятуллин Наиль Ибатович (RU), Гиниятуллин Марсель Наильевич (RU), Кузнецов Юрий Федорович (RU), Мусабирова Эльмира Хамитовна (RU), Шагаев Артур Султанович (RU)
(73) Патентообладатель(и):
Общество с ограниченной ответственностью Научно-внедренческое предприятие “ОРБИТА” (ООО НВП “ОРБИТА”) (RU)
|
(54) УСТРОЙСТВО ДЛЯ ВИБРАЦИОННО-МЕХАНИЧЕСКОГО МАССАЖА ПОЗВОНОЧНИКА
(57) Реферат:
Изобретение относится к медицинской технике, а более конкретно к средствам для лечения позвоночника при нарушении его функций, и может быть использовано в неврологии, физиотерапии, травматологии, ортопедии, для лечения заболеваний и повреждений позвоночника неинфекционной природы, для коррекции и профилактики заболеваний поясничного и грудного отделов позвоночника путем вибромассажа с одновременной тепловой релаксацией околопозвоночных мышц и связок. Устройство содержит полый корпус, рабочая поверхность которого выполнена в виде кушетки с прямоугольной прорезью в ее головном участке и снабжена тепловым узлом, секции которого расположены по разные стороны от прямоугольной прорези кушетки, подколенник, установленный над ножным участком кушетки и снабженный вертикальными стойками, размещенные внутри корпуса подвижную платформу, установленную на направляющих и снабженную механизмом продольного перемещения с электроприводом, массажную тележку, шарнирно соединенную с опорой и снабженную парами роликов-массажеров, размещенными в прямоугольной прорези кушетки, вибратор, установленный на массажной тележке и снабженный электроприводом, подъемный механизм, датчик уровня подъема и программный блок, снабженный пультом управления и аварийной кнопкой, выполненные выносными. Вход программного блока соединен с выходом датчика уровня подъема, а выходы – с электроприводами механизма продольного перемещения, вибрации и тепловым узлом. Устройство содержит размещенный внутри корпуса и снабженный электроприводом механизм поперечного перемещения, с которым соединены вертикальные стойки подколенника, проходящие через поперечный паз, выполненный в ножном участке кушетки. Подъемный механизм закреплен на корпусе и соединен через гибкий вал с рукояткой, установленной на корпусе. Механизм продольного перемещения с электроприводом закреплены на направляющих, одни концы которых шарнирно соединены с корпусом, а другие концы установлены на подъемном механизме. Опора массажной тележки закреплена на подвижной платформе, вибратор с электроприводом размещены на массажной тележке у пары роликов-массажеров, наиболее удаленных от места головного участка кушетки, где размещается голова пациента. Шарнир между массажной тележкой и опорой снабжен демпфирующей втулкой. Шарнир между направляющими и корпусом выполнен в виде резиновых втулок, размещенных между концами направляющих и кронштейном корпуса, а выход программного блока соединен с электроприводом механизма поперечного перемещения. Технический результат – повышение лечебного эффекта процедуры массажа, исключение вредного влияния вибрации на узлы и механизмы устройства, повышение надежности устройства, снижение отрицательного воздействия вибрации на голову пациента путем удаления источника вибрации от головы пациента. 7 з.п. ф-лы, 6 ил.
Изобретение относится к медицинской технике, а более конкретно к средствам для лечения позвоночника при нарушении его функций, и может быть использовано в неврологии, физиотерапии, травматологии, ортопедии, для лечения заболеваний и повреждений позвоночника неинфекционной природы, в том числе пояснично-крестцовых радикулитов, сколиозов, спондилезов, кифозов, остеохондрозов, вывихов, травм с подвывихом и других нарушений расположения позвонков, посттравматических состояний, для коррекции и профилактики заболеваний поясничного и грудного отделов позвоночника путем вибромассажа с одновременной тепловой релаксацией околопозвоночных мышц и связок.
Установление уровня техники.
На основе анализа материалов фонда патентной и другой научно-технической и медицинской литературы авторами установлено, что при лечении заболеваний позвоночника основными видами физического воздействия на позвоночник являются:
– тепло (прогрев),
– вибрация,
– ручной или механический (аппаратный) массаж.
Тепловое воздействие предназначено для прогрева массажируемой части тела пациента и может осуществляться с помощью специальных тепловых элементов, встраиваемых в кушетку массажного устройства [1-5].
Вибрация предназначена для повышения лечебного эффекта массажа и реализуется или с помощью специальных вибраторов, перемещаемых вручную по массажируемому участку тела пациента [6-10, 14], или с помощью вибраторов, встраиваемых в аппаратуру для массажа позвоночника [1-5, 11, 12].
Массаж – это комплекс приемов дозированного механического воздействия на организм пациента, проводимых руками врача или с помощью специальных аппаратов с целью развития, укрепления и восстановления его функций, лечения и профилактики заболеваний.
В основе массажа лежит воздействие на зоны максимальной рецепции с учетом функциональной связи между всеми частями человеческого организма. Нервная система с ее богатым рецепторным аппаратом первая реагирует на механические раздражения, воспринимаемые во время массажа кожей и глубже лежащими тканями.
Механический (неручной) массаж может быть продольным (массаж вдоль оси позвоночника) [1-5] и поперечным (массаж поперек оси позвоночника) [12].
В результате дальнейшего анализа медицинской литературы авторами выявлены следующие аналоги заявляемого устройства.
Известно устройство для механического массажа позвоночника [12], содержащее каркас с покрытием, две платформы с массажными роликами, привод вращения платформ и пульт управления, причем платформы с массажными роликами установлены на каретке с возможностью периодического перемещения в вертикальной плоскости, а ролики установлены на платформах эксцентрично относительно оси их вращения. Кроме того, каретка установлена на каркасе с возможностью перемещения вдоль него.
Такое устройство также характеризуется сложностью конструкции.
Известен стол для механического массажа, описанный в [13]. Он содержит раму, столешницу и механизм для массажно-гимнастических процедур с массажно-гимнастическим инструментом, выполненным в виде ролика с набором колец и подъемным механизмом (домкратом), рама стола состоит из двух шарнирно соединенных полурам, механизм для массажно-гимнастических процедур выполнен в виде Г-образной опоры, одним концом закрепленной на полураме с помощью шарнира, а вторым концом выходящей в зазор, образованный полурамами, причем горизонтальная часть опоры соединена с домкратом, который основанием соединен с кронштейном, а на вертикальной части опоры расположен массажно-гимнастический инструмент. Кроме того, стол имеет устройство для определения высоты подъема массажно-гимнастического инструмента и средство для определения нагрузки на пациента.
Такой стол также характеризуется сложностью конструкции.
Известно устройство для вибрационно-механического массажа позвоночника [4], содержащее аварийную кнопку, выполненную выносным, полый корпус, рабочая поверхность которого выполнена в виде кушетки с прямоугольной прорезью, соответствующей расположению позвоночника пациента на кушетке, и снабженной тепловым узлом, пульт управления, встроенный в боковую панель корпуса, и размещенные внутри корпуса механизм продольного перемещения, выполненный в виде подвижной платформы на направляющих, концы которых жестко закреплены на корпусе, и кинематически связанный через вилку, кулачок, цепную передачу со звездочками и червячный механизм с электроприводом перемещения, подъемный механизм, размещенный на подвижной платформе и снабженный электроприводом и датчиком уровня подъема, массажную тележку с парами роликов-массажеров, размещенными в прорези кушетки, и снабженную вибратором с электроприводом, и программный блок, при этом массажная тележка шарнирно соединена с подъемным механизмом.
Такое устройство характеризуется следующими недостатками. Во-первых, обладает относительно низким лечебным эффектом, так как в процессе массажа позвонки перемещаются только в одной (сагиттальной) плоскости. Во-вторых, в устройстве имеет место отрицательное влияние вибрации на его узлы и механизмы, а также на голову пациента.
Наиболее близким изобретением к заявляемому устройству по технической сущности и схемному решению является устройство для вибрационно-механического массажа позвоночника, описанное в [5].
Такое устройство, выбранное в качестве прототипа, содержит полый корпус, рабочая поверхность которого выполнена в виде кушетки с прямоугольной прорезью в ее головном участке и снабжена тепловым узлом, секции которого расположены по разные стороны от прямоугольной прорези кушетки, подколенник, установленный над ножным участком кушетки и снабженный вертикальными стойками, проходящими через продольный паз, выполненный в ножном участке кушетки, размещенные внутри корпуса первую подвижную платформу, установленную на первых направляющих и снабженную механизмом продольного перемещения с электроприводом, закрепленных на корпусе, первый подъемный механизм, закрепленный на первой подвижной платформе и снабженный электроприводом и датчиком уровня подъема, массажную тележку, шарнирно соединенную с опорой, закрепленной на первом подъемном механизме, и снабженную парами роликов-массажеров, размещенными в прямоугольной прорези кушетки, вибратор, установленный на массажной тележке и снабженный электроприводом, вторую подвижную платформу, установленную на вторых направляющих, второй подъемный механизм, установленный на второй подвижной платформе и снабженный электроприводом и втулками, внутри которых размещены вертикальные стойки подколенника, и программный блок, снабженный пультом управления и аварийной кнопкой, выполненными выносными, при этом вход программного блока соединен с выходом датчика уровня подъема, а выходы – с электроприводами механизма продольного перемещения, первого и второго механизмов подъема, вибратора и тепловым узлом, а первый подъемный механизм и кинематически связанный с ним датчик уровня подъема установлены на первой подвижной платформе.
Такое устройство характеризуется следующими недостатками:
– обладает относительно низким лечебным эффектом, так как в процессе массажа позвонки перемещаются только в одной (сагиттальной) плоскости;
– в устройстве имеет место отрицательное влияние вибрации на его узлы и механизмы, а также на голову пациента.
Изобретение направлено на обеспечение таких технических результатов, как:
1. Повышение лечебного эффекта процедуры массажа.
2. Исключение вредного влияния вибрации на узлы и механизмы устройства. Повышение надежности устройства.
3. Снижение (исключение) отрицательного воздействия вибрации на голову пациента путем отдаления источника вибрации от головы пациента.
Сущность изобретения.
Указанные технические результаты достигаются тем, что известное устройство для вибрационно-механического массажа позвоночника, содержащее полый корпус, рабочая поверхность которого выполнена в виде кушетки с прямоугольной прорезью в ее головном участке и снабжена тепловым узлом, секции которого расположены по разные стороны от прямоугольной прорези кушетки, подколенник, установленный над ножным участком кушетки и снабженный вертикальными стойками, размещенные внутри корпуса подвижную платформу, установленную на направляющих и снабженную механизмом продольного перемещения с электроприводом, массажную тележку, шарнирно соединенную с опорой и снабженную парами роликов-массажеров, размещенными в прямоугольной прорези кушетки, вибратор, установленный на массажной тележке и снабженный электроприводом, подъемный механизм, датчик уровня подъема и программный блок, снабженный пультом управления и аварийной кнопкой, выполненные выносными, при этом вход программного блока соединен с выходом датчика уровня подъема, а выходы – с электроприводами механизма продольного перемещения, вибрации и тепловым узлом, содержит также размещенный внутри корпуса и снабженный электроприводом механизм поперечного перемещения, с которым соединены вертикальные стойки подколенника, проходящие через поперечный паз, выполненный в ножном участке кушетки, при этом подъемный механизм закреплен на корпусе и соединен через гибкий вал с рукояткой, установленной на корпусе, механизм продольного перемещения с электроприводом закреплены на направляющих, одни концы которых шарнирно соединены с корпусом, а другие концы установлены на подъемном механизме, опора массажной тележки закреплена на подвижной платформе, вибратор с электроприводом размещены на массажной тележке у пары роликов-массажеров, наиболее удаленных от места головного участка кушетки, где размещается голова пациента, шарнир между массажной тележкой и опорой снабжен демпфирующей втулкой, шарнир между направляющими и корпусом выполнен в виде резиновых втулок, размещенных между концами направляющих и кронштейном корпуса, а выход программного блока соединен с электроприводом механизма поперечного перемещения.
Кроме того,
– датчик уровня подъема выполнен в виде размещенного на корпусе потенциометра, вал которого кинематически связан с направляющими;
– подколенник выполнен с анатомическими выемками для размещения нижних конечностей пациента;
– корпус снабжен ограничителями перемещения направляющих;
– прямоугольная прорезь кушетки закрыта сверху накидкой;
– аварийная кнопка размещена на пульте управления;
– пульт управления размещен на стойке, закрепленной на боковой стенке корпуса;
– программный блок снабжен источником звукового сигнала.
Проверка условия патентоспособности «новизна».
Основными признаками, отличающими заявляемое устройство от прототипа, являются:
– размещение внутри корпуса и снабжение электроприводом механизма поперечного перемещения, с которым соединены вертикальные стойки подколенника, проходящие через поперечный паз, выполненный в ножном участке кушетки;
– закрепление подъемного механизма на корпусе и соединение его через гибкий вал с рукояткой, установленной на корпусе;
– закрепление механизма продольного перемещения с электроприводом на направляющих, одни концы которых шарнирно соединены с корпусом, а другие концы установлены на подъемном механизме;
– закрепление опоры массажной тележки на подвижной платформе;
– размещение вибратора с электроприводом на массажной тележке у пары роликов-массажеров, наиболее удаленных от места головного участка кушетки, где размещается голова пациента;
– снабжение шарнира между массажной тележкой и опорой демпфирующей втулкой;
– выполнение шарнира между направляющими и корпусом в виде резиновых втулок, размещенных между концами направляющих и кронштейном корпуса;
– соединение выхода программного блока с электроприводом механизма поперечного перемещения.
Кроме того,
– выполнение датчика уровня подъема в виде размещенного на корпусе потенциометра, вал которого кинематически связан с направляющими;
– выполнение подколенника с анатомическими выемками для размещения нижних конечностей пациента;
– снабжение корпуса ограничителями перемещения направляющих;
– закрытие прямоугольной прорези кушетки сверху накидкой;
– размещение аварийной кнопки на пульте управления;
– размещение пульта управления на стойке, закрепленной на боковой стенке корпуса;
– снабжение программного блока источником звукового сигнала.
Наличие указанных отличительных признаков обеспечивает соответствие заявляемого устройства условию патентоспособности «новизна» по действующему законодательству.
Проверка условия патентоспособности «изобретательский уровень».
Для проверки соответствия требованию изобретательского уровня авторами проведен дополнительный поиск и анализ решений с целью выявления признаков, совпадающих с отличными от выбранного прототипа признаками, результаты которого показали, что заявленный объект явным образом не следует из известного уровня техники, определенного авторами.
Другими словами, сравнение заявляемого устройства не только с прототипом, но и с другими техническими решениями в данной и смежных областях медицинской техники показало, что последние не содержат признаков, сходных с признаками, отличающими заявляемое техническое решение от прототипа.
Это позволяет сделать вывод о соответствии заявляемого устройства условию патентоспособности «изобретательский уровень» по действующему законодательству.
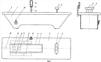
Сущность изобретения иллюстрируются чертежами:
– на фиг.1 приведен общий вид устройства в трех проекциях;
– на фиг.2 и 3 показаны основные механические и электрические связи в устройстве;
– на фиг.4 дана конструкция шарнира, соединяющего направляющие с корпусом устройства;
– на фиг.5 показана конструкция шарнира, соединяющего массажную тележку с опорой;
– на фиг.6 показаны траектории лечебного перемещения позвонков в сагиттальной и фронтальной плоскостях под воздействием соответственно роликов-массажеров и подколенника.
Описание устройства в статике.
Устройство для вибрационно-механического массажа позвоночника содержит (фиг.1) полый корпус 1, рабочая поверхность которого выполнена в виде кушетки 2, состоящей из панели, обшитой искусственным покрытием (кожзаменителем), под которым размещен наполнитель (поролон).
В головном («левом») участке панели выполнена продольная прямоугольная прорезь 3, соответствующая расположению позвоночника пациента на кушетке 2 и закрытая сверху накидкой 4, снабженной для крепления ее на кушетке 2 «липучками» (не показаны).
Над ножным («правым») участком панели кушетки 2 установлен подколенник 5, вертикальные стойки 6 которого проходят через поперечный паз 7, выполненный в ножном участке. Подколенник 5 имеет анатомические выемки 8 для размещения на них нижних конечностей пациента.
В кушетку 2 встроен тепловой узел 9, выполненный на основе гибкой графитовой ленты. Секции узла 9 размещены попарно по разные стороны от продольной прорези 3.
Устройство снабжено съемным (выносным) пультом 10 управления, размещенным в специальном гнезде 11, которое крепится к корпусу 1 с помощью стойки 12. Аварийная кнопка 13 (см. фиг.3) размещена на пульте 10 управления.
Внутри корпуса 1 размещены (фиг.2):
подъемный механизм, закрепленный на корпусе 1; подвижная платформа 14, установленная на направляющих 15; массажная тележка с парами роликов-массажеров 16 и 17, установленными в прорези 3 кушетки 2 (см. также фиг.1); датчик уровня подъема, выполненный в виде размещенного на корпусе 1 потенциометра 18, вал которого кинематически связан с направляющими 15; механизмы продольного и поперечного перемещений и программно-временной блок 19 (фиг.2 и 3).
Одни концы направляющих 15 шарнирно соединены с корпусом 1, а другие концы установлены на подъемном механизме.
Подъемный механизм содержит (фиг.2) винт 20, соединенный через гибкий вал 21 с рукояткой 22, установленной на корпусе 1, гайку 23 и четырехзвенный шарнирный («параллелограммный») узел 24. При вращении рукоятки 22 гайка 23 поступательно перемещается вдоль винта 20, «увлекая» с собой пару звеньев узла 24. В результате последний сжимается или разжимается, обеспечивая соответственно подъем или опускание левых концов направляющих 15.
Перемещение (вращение) направляющих 15 вокруг своих шарниров ограничено ограничителями перемещения (упорами) 25, закрепленными на корпусе 1.
Подвижная платформа 14 кинематически связана с механизмом продольного перемещения, состоящим из вилки 26, кулачка 27, цепной передачи 28 со звездочками 29 и червячного узла 30 с электроприводом 31.
Массажная тележка выполнена в виде коромысла, на плечах 32 и 33 которого установлены на осях соответственно пары роликов-массажеров 16 и 17. На плече 33 коромысла (у пары роликов-массажеров 17), наиболее удаленном (удаленных) от места 34 головного участка кушетки 2 (см. фиг.1), соответствующего размещению на нем головы (затылка) пациента, установлены вибратор 35 с электроприводом 36.
Массажная тележка (фиг.2) шарнирно соединена в плоскости ее перемещения с опорой 37, жестко установленной на платформе 14. Оси роликов-массажеров 16 и 17 шарнирно соединены соответственно с плечами 32 и 33 в плоскости, перпендикулярной направлению перемещения тележки. Благодаря такой конструкции ролики-массажеры 16 и 17 в процессе массажа имеют возможность более плотно прилегать к спине пациента (адаптироваться к ее неровностям).
Шарнир, соединяющий направляющие 15 с корпусом 1, содержит (фиг.4) жестко закрепленный на корпусе 1 кронштейн 38, в отверстие которого вставлен болт 39, две резиновые втулки 40, надетые на указанный болт 39, шайбу 41 и стягивающую гайку 42. Благодаря такой конструкции шарнира обеспечивается полужесткая связь между направляющими 15 и корпусом 1 в плоскости перемещения (вращения) направляющих 15.
Шарнирное соединение между массажной тележкой и опорой 37 содержит (фиг.5) стальную втулку 43, жестко соединяющую плечи 32 и 33, и соосно размещенные внутри нее демпфирующую (резиновую) 44 и бронзовую 45 втулки и стальную ось 46, жестко закрепленную на опоре 37.
Механизм поперечного перемещения содержит кинематически связанные электропривод 47, понижающий редуктор 48, состоящий из дух зубчатых колес, один из которых снабжен поводком 49, и ползунка 50, выполненного с возможностью поперечного перемещения по направляющим 51 и имеющего вертикальный паз 52, в который вставлен поводок 49.
Вход программного блока 19 соединен (фиг.3) с выходом потенциометра 18, а выходы блока 19 подключены к входам теплового узла 9 и электроприводов 31, 47 и 36 соответственно механизмов продольного и поперечного перемещений и вибратора 35. При этом блок 19 снабжен источником 53 звукового сигнала.
Конструктивно программный блок 19 представляет собой печатную плату с размещенными на ней микросхемами и другими электрорадиоэлементами.
Управление работой программного блока 19 осуществляется с пульта 10 управления. Последний представляет собой совокупность сенсорных переключателей и индикаторов (на чертеже не показаны).
Назначение и функции блоков, узлов и механизмов устройства.
Тепловые элементы 9 предназначены для повышения эффективности механического массажа путем подогрева мышц и связок спины пациента при проведении лечебных процедур.
Механизмом продольного перемещения предназначен для преобразования вращения ротора электропривода 31 в возвратно-поступательное перемещение платформы 14 и размещенной на ней тележки с роликами-массажерами 16 и 17 параллельно оси позвоночника пациента.
Вибратор 35 с электроприводом 36 предназначен для обеспечения вибрационных колебаний роликов-массажеров 17, а следовательно, вибрационного воздействия на массажируемые участки спины пациента.
Механизм поперечного перемещения предназначен для преобразования вращения ротора электропривода 47 в возвратно-поступательное перемещение подколенника 5 перпендикулярно оси позвоночника пациента в горизонтальной (фронтальной) плоскости. При этом анатомические выемки 8 обеспечивают фиксацию (захват) нижних конечностей пациента на подколеннике 5 во время таких перемещений (колебаний).
Подъемный механизм, выполняющий функцию домкрата, обеспечивает подъем и опускание (поворот) направляющих 15, а следовательно, необходимое поджатие тележки с роликами-массажерами 16 и 17 к спине пациента. При этом гибкий вал 21 механизма обеспечивает передачу вращения от рукоятки 22 к перемещающемуся вертикально вверх или вниз винту 20.
Пульт 10 управления предназначен для задания режимов работы устройства при проведении процедур.
Источник 53 звукового сигнала предназначен для генерации звука при завершении в устройстве процедуры массажа.
Накидка 4 предназначена для исключения непосредственного контакта роликов-массажеров 16 и 17 со спиной пациента.
Описание устройства в динамике.
Перед выполнением процедуры теплового и вибрационно-механического воздействия на мышечно-связочный аппарат позвоночника с помощью пульта 10 управления устанавливаются следующие заранее задаваемые величины (параметры) процедуры:
– уровень обогрева кушетки 2;
– уровень вибрации роликов-массажеров 16 и 17 (если вибрация не противопоказана пациенту);
– время (длительность) процедуры.
Уровень подъема (поджатия к спине пациента) массажной тележки устанавливается путем вращения рукоятки 22. При этом текущее положение (уровень, высота) тележки, а следовательно, ее роликов-массажеров 16 и 17 отслеживается потенциометром 18, сигналы с которого поступают через программный блок 19 на соответствующий индикатор «Уровень роликов» пульта 10 управления.
После этого пациент укладывается спиной на кушетку 2 таким образом, чтобы спина его размещалась над прорезью 3, а голова занимала примерно положение 34 (фиг.1). При этом ноги пациента размещаются в анатомических выемках 8 подколенника 5.
В общем случае наличие подколенника в устройстве массажа связано с тем, что для наибольшего эффекта массажа необходимо добиться полного расслабления мышц массируемой области (в данном случае мышц спины). Такое состояние наступает при так называемом среднем физиологическом положении, когда суставы ног пациента согнуты под определенным углом (бедро располагается примерно под углом около 40° к горизонтали [15]).
В описываемом устройстве подколенник 5, кроме указанной функции, выполняет также и другую функцию, изложенную ниже.
В следующий момент с пульта 10 управления нажатием на кнопку «Пуск» запускается программный блок 19 на выполнение процедуры с установленными параметрами. Под действием управляющих сигналов последнего запускаются узлы и механизмы устройства и начинается программа лечебной процедуры. При этом включаются тепловые элементы 9 и спина пациента подвергается тепловому воздействию (массажу), благодаря чему облегчается механический массаж спинных мышц и связок.
Если лечебная процедура предполагает вибрацию, включается электропривод (электродвигатель постоянного тока) 36 вибратора (эксцентрика) 35, осуществляющий вибрацию роликов-массажеров 17.
По сигналу с блока 19 запускается также электропривод 31 и платформа 14 начинает перемещаться, обеспечивая возвратно-поступательное движение массажной тележки, а вместе с ней и роликов-массажеров 16 и 17 в пределах прорези 3 кушетки 2 вдоль оси позвоночника пациента.
В процессе такого перемещения (прокатывания) роликов-массажеров 16 и 17 производится продольный механический массаж спины пациента. Усилие поджатия роликов-массажеров 16 и 17 к спине пациента определяется уровнем (высотой) подъема массажной тележки. При этом каждый позвонок позвоночника совершает колебательные движения в сагиттальной плоскости, траектория перемещения которых показана на фиг.6 (кривая 1).
Если включена вибрация, на такое движение позвонков накладываются дополнительно вибрационные колебания с относительно высокой частотой и малой амплитудой, в результате чего позвонки совершают более сложные периодические движения.
Одновременно с электроприводом 31 запускается также электропривод 47 механизма поперечного перемещения, Электропривод 47, вращая колеса редуктора 48, вращает также поводок 49, выполненный с возможностью скольжения вдоль вертикальной прорези 52 ползунка 50. Такая конструкция механизма позволяет «выделить» поперечную составляющую вращательного движения соответствующего колеса редуктора 48 и формировать, таким образом, возвратно-поступательные перемещения ползунка 50, а следовательно, подколенника 5 вдоль направляющих 51.
Благодаря анатомическим выемкам 8 подколенник «увлекает» за собой ноги пациента и начинает раскачивать их влево-вправо в горизонтальной плоскости – в поперечном относительно оси позвоночника направлении. В результате этого данное волнообразное движение ног во фронтальной плоскости (кривая 2 на фиг.6) через кости таза передается на его позвоночник вплоть до шейного отдела.
Таким образом, во время данной процедуры на каждый позвонок действуют две основные силы. Одна из них заставляет позвонки колебаться в сагиттальной плоскости (кривая 1 на фиг.6), другая – во фронтальной плоскости (кривая 2 на этой же фиг.6). В результате сложения колебаний позвонки и околопозвоночные мышцы и связки совершают сложные пространственно-круговые движения. При этом на фиг.6 показаны:
Wc и Wф – перемещения позвонков соответственно в сагиттальной и фронтальной плоскостях,
Тс и Тф – периоды колебаний позвонков соответственно в сагиттальной и фронтальной плоскостях.
Другими словами, в заявляемом устройстве массажная тележка и подколенник 5 производят массаж спины пациента каждый в «своей» плоскости: массажная тележка – в сагиттальной (вертикальной), а подколенник 5 – во фронтальной (горизонтальной) плоскостях. Суммарное их действие заставляет позвонки перемещаться «пространственно» – по сложно-пространственной кривой. В результате реализуется так называемый продольно-поперечный или пространственный массаж спины пациента, что повышает лечебный эффект процедуры массажа.
Во время такого массажа в результате изменения межпозвонкового расстояния имеет место микровытяжение локальных участков позвоночника. В итоге под влиянием массажных действий происходит растяжение позвоночника, его выравнивание и выпрямление, исчезновение ущемления (сдавливания) нервных окончаний, расположенных возле позвоночника, снимается мышечный спазм, восстанавливается нормальная подвижность позвонков, улучшается проводимость нервных импульсов к внутренним органам и тканям. В итоге происходит также оздоровление различных органов всего организма.
Следует отметить, что при необходимости с пульта 10 управления может включаться только электропривод 31 или 47. В результате будет осуществляться только продольный или только поперечный массаж.
В устройстве программа лечения может быть построена таким образом, что тепловой массаж начинается раньше механического массажа, т.е. возможно проведение предварительного теплового воздействия на спину пациента.
При выполнении лечебной процедуры пульт 10 управления может находиться в руке пациента. Если в процессе проведения лечебных процедур возникает необходимость в экстренной остановке работы устройства, пациенту достаточно нажать на аварийную кнопку «Сброс» пульта 10. При этом автоматически прекращаются продольное перемещение и вибрация роликов-массажеров 16 и 17, поперечное перемещение подколенника 5 и отключаются тепловые элементы 9.
Завершение процедуры в устройстве сопровождается звуковым сигналом источника 53.
При вращении рукоятки 22 направляющие 15 совершают вращательное движение вокруг шарнира, показанного на фиг.4. Так как при этом угол поворота направляющих 15 достаточно мал, при их повороте происходит лишь незначительная деформация (разминание) резиновых втулок 40. В опытном экземпляре устройства, изготовленном заявителем, при длине направляющих в 1090 мм и максимальном подъеме роликов-массажеров 16 и 17 на высоту в 70 мм максимальный угол поворота направляющих 15 составил всего 3,5°.
Как было отмечено выше, вибратор 36 с электроприводом 35 формируют колебательные движения, передаваемые на ролики-массажеры 16 и 17. Такая вибрация является «нужной» («лечебной»). Но для узлов и механизмов устройства она является «вредной».
Для исключения передачи вибрационных колебаний через опору 37 на механизм продольного перемещения и датчик уровня подъема шарнир между массажной тележкой и опорой 37, показанный на фиг.5, снабжен демпфирующей втулкой 44. В процессе работы шарнира втулка 43 вместе с плечами 32 и 33, демпфирующей 44 и бронзовой 45 втулками вращаются вокруг стальной оси 46, жестко закрепленной на опоре 37. При этом демпфирующая втулка 44 гасит и не пропускает на опору 37 поступающие вибрационные колебания.
В связи с тем что вибратор 35 с электроприводом 36 размещены на наиболее удаленном от затылка пациента месте массажной тележки – у роликов-массажеров 17, воздействие вибрации на его голову свидится к минимуму.
Таким образом, предлагаемая совокупность существенных признаков устройства для вибрационно-механического массажа позвоночника по сравнению с указанным прототипом позволяет достичь следующих технических результатов:
1. Достичь более высокого лечебного эффекта.
В процессе массажа позвонки перемещаются как в сагиттальной, так и во фронтальной плоскостях. Такие перемещения могут осуществляться как одновременно, так и в определенной последовательности. На такие перемещения может накладываться вибрация. В итоге обеспечивается более высокое качество лечебного массажа.
2. Исключить вредное влияние вибрации на узлы и механизмы устройства, повысить надежность устройства.
В устройстве подъемный механизм в отличие от прототипа имеет достаточно простую конструкцию. Кроме того, данный механизм и датчик уровня подъема «удалены» от вибратора 35 и размещены не на платформе 14 (как у прототипа), а на корпусе 1. Повышению надежности устройства способствует также наличие демпфирующей втулки 44, препятствующей проникновению вибрации от вибратора 35 на платформу 14.
Выполнение массажной тележки в виде коромысла позволяет обеспечить ее простоту и компактность. Например, плечи 32 и 33 коромысла могут быть изготовлены из прутков круглого сечения.
Упрощение устройства достигается также благодаря совмещению аварийной кнопки 13 и пульта 10 управления.
3. Исключить вредное влияние вибрации на голову пациента.
В устройстве снижено (практически исключено) отрицательное воздействие вибрации на голову пациента путем отдаления источника вибрации от его головы.
4. Удобство и простота управления устройством.
Пульт 10 управления размещен в специальном гнезде на стойке, что делает его доступным как для медработника, так и для пациента.
Устройство не требует специальных навыков для проведения процедур, что делает необязательным присутствие врача или другого медперсонала, прошедшего специальное обучение по работе с устройством. Оно может эксплуатироваться даже в домашних условиях.
Проверка условия патентоспособности «промышленная применимость».
Предлагаемое устройство для вибрационно-механического массажа позвоночника не вызывает затруднений при изготовлении и может быть промышленно освоено и использовано для целей профилактики и лечения болезней позвоночника. В настоящее время, например, заявителем проводится подготовка к серийному производству данного устройства под названием Аппарат для массажа позвоночника «ОРМЕД-релакс».
Вышеизложенные сведения свидетельствуют для заявленного устройства, как оно охарактеризовано в формуле изобретения, о возможности реализации его с помощью известных и предложенных методов и средств.
Следовательно, заявленное изобретение соответствует условию патентоспособности «промышленная применимость» по действующему законодательству.
ИСПОЛЬЗОВАННЫЕ ИСТОЧНИКИ
1. Патент РФ №2195243 на изобретение «Устройство для вытяжения позвоночника». БИ 36, 2002.
2. Патент РФ №2265427 на изобретение «Устройство для вытяжения позвоночника». БИ 34, 2005.
3. Патент РФ №2275941 на изобретение «Устройство для массажа и вытяжения позвоночника». Публ. 10.05.2006.
4. Патент РФ №2262915 на изобретение «Устройство для массажа и вытяжения позвоночника». БИ №30, 2005.
5. Патент РФ №50412 на полезную модель «Устройство массажа и вытяжения позвоночника». БИПМ №02, 2006 (прототип).
6. Авт. свидетельство СССР №1706620. Массажер-вибратор, БИ, 1992, №3.
7. Авт. свидетельство СССР №1777870. Биомеханический стимулятор. БИ, 1992, №44.
8. Авт. свидетельство СССР №1801466. Электромеханический биостимулятор. БИ, 1993, №10.
9. Патент РФ №2052988 на изобретение «Устройство для вибрационного массажа мышц тела». БИ, 1996, №3.
10. Заявка №95109222 на изобретение «Устройство для лечения заболеваний позвоночника».
11. Патент США №3039458, кл. А 61 15/00, 1963.
12. Патент РФ №2123317 на изобретение «Устройство для массажа». Публ. 20.12.1998.
13. Патент РФ №2171612 на изобретение «Массажно-гимнастический стол». Публ. 10.08.2001.
14. Васичкин В.И. Справочник по массажу. Для средних медицинских работников. – Л.: Медицина. Ленинградское отделение, 1990, с.9-10, рис.6, б.
15. Васичкин В.И. Справочник по массажу. Для средних медицинских работников. – Л.: Медицина. Ленинградское отделение. 1990, с.6, рис.3, б.
Формула изобретения
1. Устройство для вибрационно-механического массажа позвоночника, содержащее полый корпус, рабочая поверхность которого выполнена в виде кушетки с прямоугольной прорезью в ее головном участке и снабжена тепловым узлом, секции которого расположены по разные стороны от прямоугольной прорези кушетки, подколенник, установленный над ножным участком кушетки и снабженный вертикальными стойками, размещенные внутри корпуса подвижную платформу, установленную на направляющих и снабженную механизмом продольного перемещения с электроприводом, массажную тележку, шарнирно соединенную с опорой, и снабженную парами роликов-массажеров, размещенными в прямоугольной прорези кушетки, вибратор, установленный на массажной тележке и снабженный электроприводом, подъемный механизм, датчик уровня подъема и программный блок, снабженный пультом управления и аварийной кнопкой, выполненные выносными, при этом вход программного блока соединен с выходом датчика уровня подъема, а выходы с электроприводами механизма продольного перемещения, вибрации и тепловым узлом, отличающееся тем, что содержит размещенный внутри корпуса и снабженный электроприводом механизм поперечного перемещения, с которым соединены вертикальные стойки подколенника, проходящие через поперечный паз, выполненный в ножном участке кушетки, при этом подъемный механизм закреплен на корпусе и соединен через гибкий вал с рукояткой, установленной на корпусе, механизм продольного перемещения с электроприводом закреплены на направляющих, одни концы которых шарнирно соединены с корпусом, а другие концы установлены на подъемном механизме, опора массажной тележки закреплена на подвижной платформе, вибратор с электроприводом размещены на массажной тележке у пары роликов-массажеров, наиболее удаленных от места головного участка кушетки, где размещается голова пациента, шарнир между массажной тележкой и опорой снабжен демпфирующей втулкой, шарнир между направляющими и корпусом выполнен в виде резиновых втулок, размещенных между концами направляющих и кронштейном корпуса, а выход программного блока соединен с электроприводом механизма поперечного перемещения.
2. Устройство по п.1, отличающееся тем, что датчик уровня подъема выполнен в виде размещенного на корпусе потенциометра, вал которого кинематически связан с направляющими.
3. Устройство по п.1, отличающееся тем, что подколенник выполнен с анатомическими выемками для размещения нижних конечностей пациента.
4. Устройство по п.1, отличающееся тем, что корпус снабжен ограничителями перемещения направляющих.
5. Устройство по п.1, отличающееся тем, что прямоугольная прорезь кушетки закрыта сверху накидкой.
6. Устройство по п,1, отличающееся тем, что аварийная кнопка размещена на пульте управления.
7. Устройство по п.1, отличающееся тем, что пульт управления размещен на стойке, закрепленной на боковой стенке корпуса.
8. Устройство по п.1, отличающееся тем, что программный блок снабжен источником звукового сигнала.
РИСУНКИ
|