|
|
(21), (22) Заявка: 2006128221/09, 04.08.2006
(24) Дата начала отсчета срока действия патента:
04.08.2006
(46) Опубликовано: 20.03.2008
(56) Список документов, цитированных в отчете о поиске:
ШРАЕР Ф.И. Аппаратура производственной и учрежденческой связи. Справочник. – М.: Связь, 1974, с.133-135. RU 2132596 C1, 27.06.1999. SU 1125770 A, 23.11.1984. RU 31475 U1, 10.08.2003. GB 2309851 A, 06.08.1997. CN 1496092, 12.05.2004. ЕР 0283955, 28.09.1988.
Адрес для переписки:
141006, Московская обл., г. Мытищи-6, 16 ЦНИИИ МО РФ, зам. начальника института по научной работе А.А. Степанову
|
(72) Автор(ы):
Вергелис Николай Иванович (RU)
(73) Патентообладатель(и):
16 Центральный научно-исследовательский испытательный институт Министерства обороны Российской Федерации (RU)
|
(54) СИСТЕМА ДИСПЕТЧЕРСКОЙ СВЯЗИ
(57) Реферат:
Изобретение относится к технике телефонной связи и может быть использовано для обеспечения связи между абонентами сети диспетчерской связи на различных предприятиях, в ведомствах и учреждениях. Достигаемым техническим результатом изобретения является повышение качества обслуживания абонентов и обеспечение надежного взаимодействия с существующими сетями телефонной связи при одновременном сокращении массогабаритных показателей. Новым в заявленной системе является наличие новых блоков и устройств: на центральной и базовых станциях – двух пультов управления и двух ультракоротковолновых радиостанций, конструктивное (модульное) выполнение блоков коммутации центральной и базовых станций, а также пульта связи абонентских станций, расширенные функциональные возможности комплектов абонентских и соединительных линий, каналов связи, изменение связей между известными блоками. 5 з.п. ф-лы, 4 ил.
Изобретение относится к технике телефонной связи и может быть использовано для обеспечения связи между абонентами сети диспетчерской связи на различных предприятиях, в ведомствах и учреждениях.
Известен комплекс установок директорской связи, включающий в свой состав коммутаторы КД-36, КД-18 и КД-12А, каждый из которых обеспечивает подключение соответственно 36, 18 и 12 линий связи, включая абонентские линии прямой связи и линии с секретарем, а также возможность обслуживания абонентов с предоставлением определенных услуг связи [1, 2].
Однако данные установки имеют большие массогабаритные характеристики и не обеспечивают требуемого качества обслуживания абонентов.
Наиболее близким к предлагаемому изобретению является комплекс станций оперативной связи, включающий в себя станции СОС-30, СОС-60 и устройство абонентское переговорное, описанный в [2].
Известные станции СОС-30 и СОС-60 предназначены для организации оперативной телефонной связи, службы скорой помощи и пожарной охраны на промышленных предприятиях различных отраслей народного хозяйства.
Конструктивно станции СОС-30 и СОС-60 выполнены в виде пультов и стативов, к которым подключаются соответственно 30 и 60 линий прямых абонентов, по две линии выделенных абонентов, по четыре соединительные линии с однотипными станциями, по три соединительные линии со спецслужбами, по шесть соединительных линий со станциями АТС или РТС системы ЦБ, а на линиях прямых и выделенных абонентов устанавливаются (подключаются) абонентские переговорные устройства (АПУ).
Станции обеспечивают двустороннюю телефонную связь оператора с прямыми абонентами, с абонентами станций АТС и РТС, с операторами однотипных станций, выделенных абонентов с любым абонентом станции, связь абонентов городских телефонных станций с оператором по соединительным линиям спецслужб, а также циркулярную передачу оператором сообщений для абонентов и операторов однотипных станций.
Однако указанный комплекс средств диспетчерской связи в составе станций СОС-30, СОС-60 и абонентского переговорного устройства имеет большие габариты, низкое качество обслуживания и ограниченные возможности по сопряжению (взаимодействию) с существующими сетями телефонной связи общего пользования (ТФОП) и сетями сотовой связи. Статив указанных станций СОС-30 и СОС-60 имеет габариты: ширина – 750 мм, глубина – 440 мм и высота – 2140 мм. Общий объем статива составляет примерно 706 куб. дециметров (литров). Пульт станции имеет следующие габариты: 1330×775×990 мм, а его объем составляет 1020 куб. дециметров (литров). В целом станция СОС-60 занимает объем в 1726 куб. дециметров.
Целью изобретения является повышение качества обслуживания абонентов и обеспечение надежного взаимодействия с существующими сетями телефонной связи при одновременном сокращении массогабаритных показателей устройств системы диспетчерской связи.
Поставленная цель достигается тем, что в систему диспетчерской связи, содержащую центральную станцию, состоящую из последовательно соединенных по входам-выходам пульта управления и статива, m базовых станций, каждая из которых состоит из последовательно соединенных по входам-выходам пульта управления и статива, и n абонентских станций, на центральной станции введены два пульта управления и две ультракоротковолновые радиостанции, а статив центральной станции выполнен в виде блока коммутации модульной конструкции, включающего в себя унифицированные комплекты k линий прямых абонентов, одной-двух линий выделенных абонентов, m соединительных линий с однотипными станциями, n абонентских линий прямой связи (АЛПС), соединительные линии со станциями АТС или ручной телефонной станции (РТС) системы ЦБ, одного двухпроводного канала тональной частоты (2ПРТЧ), двух четырехпроводных каналов тональной частоты (4ПРТЧ), двух радиоканалов (РК) от радиостанций малой мощности, одного четырехпроводного цифрового канала (ЦК1) со скоростью передачи 1200 или 2400 бит/с, двух четырехпроводных цифровых каналов (ЦК2) со скоростью передачи 16 кбит/с, двух линий внутренней связи (ЛВС) и одной линии для связи с внешним устройством, при этом первые входы-выходы первого пульта управления соединены с первыми входами-выходами блока коммутации, вторые и третьи входы-выходы которого подключены к первым входам-выходам соответственно второго и третьего пультов управления, вторые входы-выходы первого и второго пультов управления соединены между собой посредством первой линии внутренней связи, а вторые входы-выходы второго и третьего пультов управления соединены между собой посредством второй линии внутренней связи, первые и вторые канальные входы-выходы блока коммутации подключены к канальным входам-выходам соответственно первой и второй ультракоротковолновых радиостанций, а пульт связи абонентской станции посредством проводной линии подключен к одному из комплектов соединительной линии с однотипными станциями блока коммутации, на каждой из m базовых станций введены два пульта управления и две ультракоротковолновые радиостанции, а статив каждой из m базовых станций выполнен в виде блока коммутации модульной конструкции, включающего в себя унифицированные комплекты k линий прямых абонентов, одной-двух линий выделенных абонентов, m соединительных линий с однотипными станциями, n абонентских линий прямой связи (АЛПС), соединительные линии со станциями АТС или ручной телефонной станции (РТС) системы ЦБ, одного двухпроводного канала тональной частоты (2ПРТЧ), двух четырехпроводных каналов тональной частоты (4ПРТЧ), двух радиоканалов (РК) от радиостанций малой мощности, одного четырехпроводного цифрового канала (ЦК1) со скоростью передачи 1200 или 2400 бит/с, двух четырехпроводных цифровых каналов (ЦК2) со скоростью передачи 16 кбит/с, двух линий внутренней связи (ЛВС) и одной линии для связи с внешним устройством, при этом первые входы-выходы первого пульта управления соединены с первыми входами-выходами блока коммутации, вторые и третьи входы-выходы которого подключены к первым входам-выходам соответственно второго и третьего пультов управления, вторые входы-выходы первого и второго пультов управления соединены между собой посредством первой линии внутренней связи, а вторые входы-выходы второго и третьего пультов управления соединены между собой посредством второй линии внутренней связи, первые и вторые канальные входы-выходы блока коммутации подключены к канальным входам-выходам соответственно первой и второй ультракоротковолновых радиостанций, а пульты связи абонентских станций посредством проводных линий подключены к комплектам соединительных линий с однотипными станциями блока коммутации, каждая абонентская станция выполнена в виде пульта связи, включающего в себя комплекты абонентских и соединительных линий, каналов связи, к которым подключены соответствующие линии и каналы связи, при этом центральная станция и базовые станции могут иметь одинаковую общую емкость линий и каналов связи или общая емкость базовых станций может быть в два раза меньше емкости центральной станции, а абонентская станция имеет в три раза меньшую емкость линий и каналов связи по сравнению с базовыми станциями, причем центральная станция посредством соединительных линий привилегированного абонента соединена с каждой из m базовых станций, а базовые станции могут быть соединены между собой посредством линий прямых абонентов и с помощью упомянутых линий привилегированного абонента соединены с пультами связи абонентских станций, к комплектам каналов связи блоков коммутации центральной станции и каждой из m базовых станций подключены канальные входы-выходы упомянутых первой и второй ультракоротковолновых радиостанций, а к первым и вторым канальным входам-выходам каждого из пультов связи подключены канальные входы-выходы соответственно первой и второй ультракоротковолновых радиостанций.
Достигается тем, что система диспетчерской связи дополнительно содержит, по меньшей мере, две ультракоротковолновые радиостанции, радиоканалы которых посредством проводных линий связи подключены к указанным центральной и базовым станциям диспетчерской связи.
Достигается тем, что модульное конструктивное выполнение центральной и базовых станций, а также пульта связи абонентской станции обеспечивает возможность эластичного выбора емкости и повышения объема услуг, обеспечиваемых указанными станциями и абонентским устройством, при этом система упомянутого состава может работать совместно со станциями и устройствами аналогичного назначения по физическим линиям и каналам связи.
Сопоставительный анализ с прототипом показывает, что предлагаемая система диспетчерской связи отличается от прототипа наличием новых блоков и устройств: на центральной и базовых станциях – двух пультов управления и двух ультракоротковолновых радиостанций, конструктивным (модульным) выполнением блоков коммутации центральной и базовых станций, а также пульта связи абонентских станций, расширенными функциональными возможностями комплектов абонентских и соединительных линий, каналов связи, изменением связей между известными блоками.
Таким образом, заявляемая система диспетчерской связи удовлетворяет критерию «новизна».
Выполнение центральной и базовых станций диспетчерской связи и пульта связи абонентских станций с использованием унифицированных конструктивных модулей и их расширенные функциональные возможности привели к появлению новых свойств системы и способствовали повышению качества обслуживания абонентов, обеспечению возможности надежного взаимодействия с существующими сетями телефонной связи при одновременном существенном сокращении массогабаритных показателей. Это позволяет сделать вывод о соответствии технического решения критерию «существенные отличия».
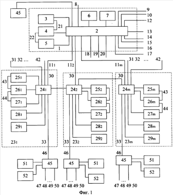
На фиг.1 представлена структурная схема системы диспетчерской связи, на фиг.2, 3 и 4 приведены структурные схемы соответственно центральной станции, базовой станции и пульта связи абонентской станции.
Система диспетчерской связи (см. фиг.1) содержит центральную станцию 1, включающую в себя блок 2 коммутации, первый 3, второй 4 и третий 5 пульты управления, первую 6 и вторую 7 ультракоротковолновые радиостанции, соединительные линии привилегированного абонента (СЛПА) 8, абонентские линии (АЛ) 9 от автоматической телефонной станции (АТС) и абонентские линии 10 от станции системы ЦБ ручного обслуживания, абонентские линии 11 (111-11m) прямой телефонной связи (АЛПС), двухпроводный канал 12 тональной частоты (2ПРТЧ), первый 13 и второй 14 четырехпроводные каналы тональной частоты (4ПРТЧ), первый 15 и второй 16 радиоканалы (РК) от радиостанций малой мощности, четырехпроводный цифровой 17 канал (ЦК1) со скоростью передачи 1200 или 2400 бит/с, первый 18 и второй 19 четырехпроводные цифровые каналы (ЦК2) со скоростью передачи 16 кбит/с, линию 20 для связи с внешним устройством (датчиком системы единого времени или оконечным оборудованием), первую 21 и вторую 22 линии внутренней связи (ЛВС), m базовых станций 23 (231-23m), каждая из которых включает в себя блок 24 коммутации, первый 25, второй 26 и третий 27 пульты управления, первую 28 и вторую 29 ультракоротковолновые радиостанции, соединительную линию 30 привилегированного абонента (СЛПА), абонентские линии (АЛ) от автоматической телефонной станции (АТС) 31 и абонентские линии 32 от станции системы ЦБ ручного обслуживания, абонентские линии 33 прямой телефонной связи (АЛПС), двухпроводный канал 34 тональной частоты (2ПРТЧ), первый 35 и второй 36 четырехпроводные каналы тональной частоты (4ПРТЧ), первый 37 и второй 38 радиоканалы (РК) от радиостанций малой мощности, четырехпроводный цифровой 39 канал (ЦК1) со скоростью передачи 1200 или 2400 бит/с, первый 40 и второй 41 четырехпроводные цифровые каналы (ЦК2) со скоростью передачи 16 кбит/с, линию 42 для связи с внешним устройством, первую 43 и вторую 44 линии внутренней связи (ЛВС), а также n пультов связи 45 (451-45n) абонентских станций, к каждому из которых подключены одна соединительная линия 46 привилегированного абонента (СЛПА), одна абонентская 47 линия (АЛ) от автоматической телефонной станции (АТС) или от станции системы ЦБ, одна абонентская 48 линия прямой телефонной связи (АЛПС), один четырехпроводный канал 49 тональной частоты (4ПРТЧ), один четырехпроводный цифровой 50 канал (ЦК2) со скоростью передачи 16 кбит/с, первая 51 и вторая 52 ультракоротковолновые радиостанции. Взамен одной из линий и каналов связи, подключенных к пульту связи 45, может быть подключена линия для связи с внешним устройством.
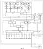
Центральная станция 1 содержит (фиг.2) блок коммутации 2, включающий в себя блок подключения пультов 53, блок коммутационного поля 54, блок 55 унифицированных комплектов абонентских и соединительных линий, каналов связи, блок 56 управления коммутацией. К блоку 55 унифицированных комплектов абонентских и соединительных линий, каналов связи блока коммутации 2 подключены соединительные линии привилегированного абонента (СЛПА) 8, абонентские линии (АЛ) 9 от автоматической телефонной станции (АТС) и абонентские линии 10 от станции системы ЦБ ручного обслуживания, абонентские линии 11 (111-11m) прямой телефонной связи (АЛПС), двухпроводный канал 12 тональной частоты (2ПРТЧ), первый 13 и второй 14 четырехпроводные каналы тональной частоты (4ПРТЧ), первый 15 и второй 16 радиоканалы (РК) от радиостанций малой мощности, четырехпроводный цифровой 17 канал (ЦК1) со скоростью передачи 1200 или 2400 бит/с, первый 18 и второй 19 четырехпроводные цифровые каналы (ЦК2) со скоростью передачи 16 кбит/с и линия 20 для связи с внешним устройством (датчиком системы единого времени или оконечным оборудованием). Между первым 3 и вторым 4 пультами управления подключена первая 21 линия внутренней связи, а между первым 3 и третьим 5 пультами или вторым 4 и третьим 5 пультами управления подключена вторая 22 линия внутренней связи (ЛВС).
Каждый из пультов управления 3, 4 и 5 центральной станции 1 содержит (фиг.2) блок 57 согласования, громкоговорящий узел (ГГС) в составе микрофона 58, усилителя передачи 59, усилителя приема 60 и громкоговорителя 61, телефонный узел (МТ) в составе микротелефонной трубки 62, микрофонного усилителя 63 и телефонного усилителя 64, блок 65 управления работой пульта, контроллер 66 клавиатуры, клавиатуру 67, блок обработки сигналов 68, блок индикации 69 и световое табло 70.
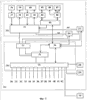
Каждая из m базовых станций 23 (231-23m) системы диспетчерской связи содержит (фиг.3) блок коммутации 24, состоящий из блока подключения пультов 71, блока коммутационного поля 72, блока 73 унифицированных комплектов абонентских и соединительных линий, каналов связи и блока управления 74 коммутацией, первый 25, второй 26 и третий 27 пульты управления.
К блоку 73 унифицированных комплектов абонентских и соединительных линий, каналов связи блока коммутации 24 каждой из базовых станций 23 (231-23m) подключены соединительная линия 30 привилегированного абонента (СЛПА), абонентские линии (АЛ) от автоматической телефонной станции (АТС) 31 и абонентские линии 32 от станции системы ЦБ ручного обслуживания, абонентские линии 33 прямой телефонной связи (АЛПС), двухпроводный канал 34 тональной частоты (2ПРТЧ), первый 35 и второй 36 четырехпроводные каналы тональной частоты (4ПРТЧ), первый 37 и второй 38 радиоканалы (РК) от радиостанций малой мощности, четырехпроводный цифровой 39 канал (ЦК1) со скоростью передачи 1200 или 2400 бит/с, первый 40 и второй 41 четырехпроводные цифровые каналы (ЦК2) со скоростью передачи 16 кбит/с и линия 42 для связи с внешним устройством. Между первым 25 и вторым 26 пультами управления подключена первая 43 линия внутренней связи, а между первым 25 и третьим 27 пультами или вторым 26 и третьим 27 пультами управления подключена вторая 44 линия внутренней связи (ЛВС).
Каждый из пультов управления 25, 26 и 27 базовой станции 23 содержит (фиг.3) блок 75 согласования, громкоговорящий узел (ГГС) в составе микрофона 76, усилителя передачи 77, усилителя приема 78 и громкоговорителя 79, телефонный узел (МТ) в составе микротелефонной трубки 80, микрофонного усилителя 81 и телефонного усилителя 82, блок 83 управления работой пульта, контроллер 84 клавиатуры, клавиатуру 85, блок обработки сигналов 86, блок индикации 87 и световое табло 88.
Пульт связи 45 абонентских станций (фиг.4) содержит блок 89 коммутации в составе блока подключения рабочих мест 90, блока 91 коммутационного поля, блока 92 унифицированных комплектов абонентских и соединительных линий, каналов связи и блока 93 управления коммутацией и блок 94 рабочих мест, состоящий из блока согласования 95, громкоговорящего узла (ГГС) в составе микрофона 96, усилителя передачи 97, усилителя приема 98 и громкоговорителя 99, телефонного узла (МТ) в составе микротелефонной трубки 100, микрофонного усилителя 101 и телефонного усилителя 102, блока 103 управления режимами работы, контроллера 104 клавиатуры, клавиатуры 105, блока 106 обработки сигналов, блока 107 индикации и светового табло 108.
К блоку 92 унифицированных комплектов абонентских и соединительных линий, каналов связи блока 89 коммутации пульта связи 45 абонентских станций подключены одна соединительная линия 46 привилегированного абонента (СЛПА), одна абонентская 47 линия (АЛ) от автоматической телефонной станции (АТС) или от станции системы ЦБ, одна абонентская 48 линия прямой телефонной связи (АЛПС), один четырехпроводный канал 49 тональной частоты (4ПРТЧ), один четырехпроводный цифровой 50 канал (ЦК2) со скоростью передачи 16 кбит/с, первая 51 и вторая 52 ультракоротковолновые радиостанции. Взамен одной из упомянутых линий и каналов связи пульта может быть подключена линия для связи с внешним устройством.
На центральной станции 1 системы диспетчерской связи первые входы-выходы первого 3 пульта управления подключены к первым входам-выходам блока коммутации 2, вторые и третьи входы-выходы которого подключены к первым входам-выходам соответственно второго 4 и третьего 5 пультов управления. Первые и вторые канальные входы-выходы блока 2 коммутации подключены к канальным входам-выходам соответственно первой 6 и второй 7 ультракоротковолновых радиостанций. К первым, вторым, третьим, четвертым, пятым, шестым, седьмым, восьмым, девятым, десятым, одиннадцатым, двенадцатым и тринадцатым линейным входам-выходам блока коммутации 2 подключены соответственно соединительные линии привилегированного абонента (СЛПА) 8, абонентские линии (АЛ) 9 от автоматической телефонной станции (АТС) и абонентские линии 10 от станции системы ЦБ ручного обслуживания, абонентские линии 11 (111-11m) прямой телефонной связи (АЛПС), двухпроводный канал 12 тональной частоты (2ПРТЧ), первый 13 и второй 14 четырехпроводные каналы тональной частоты (4ПРТЧ), первый 15 и второй 16 радиоканалы (РК) от радиостанций малой мощности, четырехпроводный цифровой 17 канал (ЦК1) со скоростью передачи 1200 или 2400 бит/с, первый 18 и второй 19 четырехпроводные цифровые каналы (ЦК2) со скоростью передачи 16 кбит/с и линия 20 для связи с внешним устройством (датчиком системы единого времени или оконечным оборудованием).
Вторые входы-выходы первого пульта управления 3 посредством первой 21 линии внутренней связи соединены со вторыми входами-выходами второго 4 пульта управления, третьи входы-выходы которого посредством второй 22 линии внутренней связи соединены со вторыми входами-выходами третьего пульта управления 5. Вторые входы-выходы третьего пульта управления 5 могут быть соединены с третьими входами-выходами первого пульта управления 3.
К одному из комплектов блока коммутации 2 посредством абонентской линии прямой связи 11 подключен отдельный пульт связи 45 абонентской станции.
На каждой базовой станции 23 первые входы-выходы первого 25 пульта управления подключены к первым входам-выходам блока коммутации 24, вторые и третьи входы-выходы которого подключены к первым входам-выходам соответственно второго 26 и третьего 27 пультов управления. Первые и вторые канальные входы-выходы блока 24 коммутации подключены к канальным входам-выходам соответственно первой 28 и второй 29 ультракоротковолновых радиостанций.
К первым, вторым, третьим, четвертым, пятым, шестым, седьмым, восьмым, девятым, десятым, одиннадцатым, двенадцатым и тринадцатым линейным входам-выходам блока коммутации 24 подключены соответственно соединительные линии привилегированного абонента (СЛПА) 30, абонентские линии (АЛ) 31 от автоматической телефонной станции (АТС) и абонентские линии 32 от станции системы ЦБ ручного обслуживания, абонентские линии 33 (331-33m) прямой телефонной связи (АЛПС), двухпроводный канал 34 тональной частоты (2ПРТЧ), первый 35 и второй 36 четырехпроводные каналы тональной частоты (4ПРТЧ), первый 37 и второй 38 радиоканалы (РК) от радиостанций малой мощности, четырехпроводный цифровой 39 канал (ЦК1) со скоростью передачи 1200 или 2400 бит/с, первый 40 и второй 41 четырехпроводные цифровые каналы (ЦК2) со скоростью передачи 16 кбит/с и линия 42 для связи с внешним устройством (датчиком системы единого времени или оконечным оборудованием).
Вторые входы-выходы первого пульта управления 25 посредством первой 21 линии внутренней связи соединены со вторыми входами-выходами второго 26 пульта управления, третьи входы-выходы которого посредством второй 22 линии внутренней связи соединены со вторыми входами-выходами третьего пульта управления 27. Вторые входы-выходы третьего пульта управления 27 могут быть соединены с третьими входами-выходами первого пульта управления 25.
К одному из комплектов блока коммутации 24 посредством абонентской линии прямой связи 33 подключен отдельный пульт связи 45 абонентской станции.
Комплект пульта связи 45 абонентских станций посредством соединительной линии привилегированного абонента 46 и комплекта абонентской линии прямой связи 33 соединен с блоком коммутации 24 базовой станции 23 системы диспетчерской связи, а к другим комплектам пульта связи 45 подключены соответственно одна абонентская 47 линия (АЛ) от автоматической телефонной станции (АТС) или от станции системы ЦБ, одна абонентская 48 линия прямой телефонной связи (АЛПС), один четырехпроводный канал 49 тональной частоты (4ПРТЧ), один четырехпроводный цифровой 50 канал (ЦК2) со скоростью передачи 16 кбит/с, первая 51 и вторая 52 ультракоротковолновые радиостанции.
Заявляемая система диспетчерской связи работает следующим образом.
Центральная 1 и базовые 23 станции обеспечивают двустороннюю телефонную и громкоговорящую связь оператора с прямыми абонентами, с абонентами автоматических телефонных станций (АТС) и станций ручного обслуживания (РТС), с операторами однотипных станций, выделенных абонентов с любым абонентом станции, связь абонентов телефонных станций с оператором по выделенным соединительным линиям, а также циркулярную передачу оператором сообщений для абонентов и операторов однотипных станций, существующих станций старого парка по двухпроводным физическим цепям, двух- и четырехпроводным каналам тональной частоты, четырехпроводным цифровым каналам и каналам, образованным ультракоротковолновыми радиостанциями.
При этом комплекты линий и каналов связи упомянутых центральной 1 и базовых станций 23, а также пульта связи 45 абонентской станции обеспечивают возможность по соединительной линии привилегированного абонента посылки вызова голосом и приема сигнала вызова постоянным током напряжением 27 В со звуковой и световой сигнализацией на пультах управления 3, 4, 5, 25, 26, 27 и пульте связи 45, по абонентской линии от станции АТС – посылку сигнала вызова путем формирования импульсной последовательности набора номера и прием сигнала вызова переменным током напряжением 80 В со звуковой и световой сигнализацией, по линии АЛ в режиме ЦБ – посылку вызова постоянным током напряжением 27 В путем замыкания шлейфа и прием сигнала вызова переменным током напряжением 80 В со звуковой и световой сигнализацией, по линии АЛПС – посылку и прием сигнала вызова постоянным током напряжением 27 В со звуковой и световой сигнализацией, по каналам 2ПРТЧ и 4ПРТЧ – посылку и прием сигнала вызова переменным током напряжением от 40 до 60 В со звуковой и световой сигнализацией.
С каждого из упомянутых пультов управления и пульта связи обеспечивается возможность одновременного ведения связи по любой линии или каналу связи с обоих переговорных узлов (ГГС и МТ), при этом на пультах управления и пульте связи для удобства пользования и исключения мешающего действия обеспечивается сигнализация занятости линий и каналов связи. Обеспечивается также переадресация принятого по линии или каналу связи сигнала вызова с одного пульта управления на другой.
Организация связи по любой линии и каналу связи осуществляется следующим образом. Первоначально на пульте управления или пульте связи происходит выбор рабочего места, с которого планируется ведение связи, затем осуществляется выбор требуемого канала или линии связи, посылка вызова по нему и ответ абонента, ведение переговоров и отбой по окончании переговоров.
Перед установлением связи оператор на центральной станции 1 (или на базовой станции 23) с любого пульта управления 3, 4 и 5 осуществляет выбор переговорного прибора (ГТС или МТ) и требуемой линии и канала связи 8-20 с помощью блока управления 65 работой пульта. При этом подключение переговорного прибора производится путем нажатия соответствующей клавиши на блоке 67, а выход на линию производится посредством набора двухзначного номера, например 01, 02 и т.д. Информация о выбранном приборе и требуемой линии в виде двоично-десятичного кода с клавиатуры 67 через контроллер 66 поступает в блок 65, который принятую информацию преобразует в двоичный код и через блок обработки 68 передает на блок индикации 69 и световое табло 70. В блоке 69 включается индикатор выбранного переговорного прибора. Одновременно с этим информация поступает в блок 56 управления коммутацией. По этим данным блок управления 56 вырабатывает команду для переключения переговорных приборов на выбранную линию или канал связи, а блок 54 обеспечивает переключение выбранного переговорного прибора на требуемую линию и канал связи.
Посылка вызова по линии осуществляется также по сигналам управления, вырабатываемым блоком 56. При этом управляющие сигналы с выходов блока 56 поступают на вход блока коммутации 54 и через него поступают в блок 55 унифицированных комплектов, в котором срабатывает исполнительный элемент, переключающий цепи приема вызова линии на передачу, а также запускают блок формирования сигналов вызова. При этом происходит следующее: сигнал вызова переменного тока напряжением 80 В или постоянного тока напряжением 27 В с выхода блока формирования сигналов вызова через замкнутые контакты исполнительных элементов блока 55 поступают в выбранную линию (например, абонентскую линию 11 или канал связи 12, 13). По окончании посылки вызова исполнительный элемент блока 55 отпускает, происходит размыкание цепи передачи и замыкание цепи приема вызова. Подключение к выбранной линии сопровождается включением индикатора в блоке 69 (занятие линии).
В зависимости от выбранного режима ведения связи к линии подключаются микротелефонная трубка 62 или прибор громкоговорящей связи (блоки 58, 59, 60 и 61). При этом на световом табло 70 высвечивается тип выбранного переговорного прибора, состояние подключенной линии или канала связи и каким пультом (например, первым 3 или вторым 4 и т.д.) они заняты.
Передача речи производится с микрофона 58 через усилитель 59 или с микротелефонной трубки 62 через усилитель 63 и блок согласования 57 пульта, блоки 53, коммутатор 54 и в подключенную абонентскую линию. На приеме речевой сигнал по абонентской линии или каналу связи через замкнутые контакты исполнительного элемента блока 55, коммутатор 54 и блок 53 поступает на блок согласования 57, к которому подключены переговорные приборы ГГС и МТ пульта управления 3. С выхода блока 57 речевой сигнал поступает через усилитель приема 60 на громкоговоритель 61 или через телефонный усилитель 64 передается на микротелефонную трубку 62.
При приеме вызова переменного тока напряжением 60-80 В или постоянного тока напряжением 27 В сигналы по любой абонентской линии или каналу связи через замкнутые контакты соответствующих исполнительных элементов блока 55 поступают на входы блока 56, который производит прием поступающих сигналов вызова, их анализ, преобразование в необходимый вид и передачу их на вход блока 65. В блоке 65 на основе данных, поступивших из блока 56, формируются управляющие сигналы, которые через блок обработки сигналов 68 передаются на вход блока 69 и световое табло 70. В блоках 69 пультов управления 3, 4 и 5 включается и мигает индикатор той линии, по которой поступил вызов. Для ответа на вызов нажимается клавиша переговорного прибора ГТС или МТ, а подключение к линии осуществляется путем набора двухзначного номера необходимой линии, который высвечивается на световом табло 70. При этом работа устройства происходит аналогично, как и при занятии линии. Блокировка цепи посылки вызова по занятой линии от всех пультов управления обеспечивается путем запрета на подключение к ней с помощью управляющих сигналов, поступающих с выхода блока 56 на вход блока 55.
Работа по абонентской линии от станции АТС отличается от работы по другим линиям режимом посылки вызова, осуществляемого путем передачи в линию импульсов набора номера абонента с помощью импульсного ключа, и созданием в данной линии шлейфа по постоянному току.
Посылка и прием вызова по каналам тональной частоты и цифровым каналам осуществляется с использованием системы вызова переменным током напряжением 60-80 В или постоянным током напряжением 27 В. Установка и переключение системы вызова обеспечивается программными методами.
По радиоканалу первой 6 или второй 7 ультракоротковолновых радиостанций, в зависимости от используемой системы вызова, в предлагаемой системе диспетчерской связи реализованы два режима работы:
а) посылка и прием устройством сигналов индивидуального и циркулярного вызова на фиксированных частотах непосредственно из канала (без преобразования тональных посылок);
б) посылка в канал и прием из канала сигналов вызова переменного тока напряжением 60 В. При этом осуществляется преобразование вызывных сигналов переменного тока в сигналы тональных посылок средствами самой радиостанции, радиоканалы которой подключены к устройству диспетчерской связи.
В первом случае по радиоканалу первой 6 или второй 7 ультракоротковолновых радиостанций осуществляется посылка и прием индивидуальных и циркулярного вызовов, а также ведение радиосвязи. При этом, независимо от режима работы, устройство диспетчерской связи постоянно находится в режиме дежурного приема индивидуального (например, на частотах 1000 или 1200 Гц) и циркулярного (например, 2300 Гц) вызовов.
При поступлении из канала радиостанции 6 (7) сигнала вызова на любой из трех указанных частот он принимается одним из комплектов блока 55, в нем срабатывает приемник вызова и с его выхода через блок 54 на вход блока 56 управления поступает сигнал определенного уровня. По этому сигналу блок 56 формирует управляющий сигнал, который поступает на вход блока 65. В блоке 65 на основе данных, поступивших из блока 56, формируются управляющие сигналы, которые через блок обработки сигналов 68 передаются на вход блока 69 и световое табло 70. В блоках 69 пультов управления 3, 4 и 5 включается и мигает индикатор той линии, по которой поступил вызов.
Для посылки по каналу первой 6 или второй 7 ультракоротковолновых радиостанций индивидуального или циркулярного вызова на одной из трех частот на пульте управления 3 (4, 5) выбирается, как описано выше, требуемый канал и переговорный прибор (ГГС или МТ). Затем на клавиатуре 67 пульта 3 нажимается кнопка «ВЫЗОВ». При нажатии кнопки «ВЫЗОВ» в блоке 65 формируется сигнал вызова частотой 1000, 1200 или 2300 Гц, который с выхода блока 5 через замкнутые контакты исполнительных элементов поступает в канал первой 6 (или второй 7) радиостанции и одновременно на световом табло 70 на короткое время загорается надпись «ВЫЗОВ» с указанием посылаемой в канал частоты. При этом с выхода блока управления 65 пульта управления 3 поступает требуемая команда вызова, на основании которой блок 55 через реле времени на определенное время, например 2 с, запускает генератор фиксированных частот. С выхода генератора вызывная частота передается в канал первой 6 ультракоротковолновой радиостанции, подключенной к центральной станции 1 (или базовой станции 23). В радиостанции вызывной сигнал поступает в тракт передачи канала радиостанции и далее излучается в эфир. На противоположной стороне сигнал вызова принимается радиостанцией и передается в радиоканал по линии, подключенной к аналогичной центральной 1 станции (или базовой станции 23) системы диспетчерской связи. На центральной станции 1 поступивший сигнал принимается одним из комплектов блока 55, в котором срабатывает приемник вызова и с выхода приемника управляющий сигнал через блок 54 поступает в блок 56 управления коммутацией, который формирует команду вызова и передает ее в блок управления 65 работой пульта 3 (4, 5). На блоке 69 индикации включается индикатор приема вызова, а в пульте 3 включается также акустическая сигнализация. После ответа корреспондента осуществляется разговор по радиоканалу первой 6 ультракоротковолновой радиостанции.
После окончания разговора микротелефонная трубка кладется на место или на пульте управления 3 нажимается кнопка «ОТБОЙ» и все приборы возвращаются в исходное состояние.
Для второго режима работы по радиоканалу первой 6 радиостанции посылка и прием сигналов вызова на фиксированной частоте (индивидуального или циркулярного вызова) осуществляется в самой радиостанции путем преобразования принятых тональных посылок в сигналы переменного тока напряжением 60-80 В. При этом по радиоканалу радиостанции 6 между блоком 55 коммутации и радиостанцией 6 обмен осуществляется сигналами переменного тока аналогично вызову по абонентской линии, то есть с радиоканала радиостанции 6 поступает сигнал вызова переменным током напряжением 60-80 В, который через блоки 55 и 54 поступает на блок 56 управления коммутацией. Далее процесс происходит аналогично описанному для абонентской линии.
Остановимся на аппаратурной реализации отдельных блоков системы диспетчерской связи.
Блок коммутации 2 центральной станции 1 и блок коммутации 24 базовых станций 23 конструктивно могут быть выполнены с использованием унифицированных модулей, размещенных на стандартных платах формата 3U размером 160×100 мм и платах формата 6U размером 233×160 мм.
Пульты управления 3, 4 и 5 центральной станции 1, 25, 26 и 27 базовых станций 23, а также пульт связи 45 абонентских станций конструктивно выполнены с использованием стандартных печатных плат размером 190×220 мм.
Использование унифицированных модулей, стандартных печатных плат и малогабаритных присоединительных элементов позволило значительно сократить массогабаритные характеристики блоков коммутации, пультов управления и пультов связи, а также сократить общий объем оборудования центральной станции 1, базовых станций 23 и пультов связи 45 системы диспетчерской связи.
Блок коммутации 2 предлагаемой центральной станции 1 имеет габаритные размеры (длина × ширина × глубина), равные 347×269×280 мм, а масса блока коммутации 2 составляет не более 12,0 кг. При этом объем блока коммутации 2 составляет примерно 26 куб. дециметров.
Пульты управления 3, 4 и 5 предлагаемой центральной станции 1 выполнены в следующих размерах: 371×266×100 мм, а масса одного пульта управления равна 4,5 кг. При этом объем одного пульта управления 3 составляет примерно 10 куб. дециметров, а три пульта управления 3,4 и 5 занимают суммарно объем в 30 куб. дециметров.
В целом центральная станция 1 занимает объем в 56 куб. дециметров.
При использовании предлагаемых двух центральных станций 1 для увеличения емкости линий и каналов связи выигрыш по объему по сравнению с прототипом (станцией СОС-60) достигается примерно в 16 раз, а качество обслуживания абонентов возрастает на 60 процентов за счет увеличения количества рабочих мест станции и исключения потерь времени на обслуживание вызовов.
Блок коммутации 24 базовой станции 23 имеет габаритные размеры (длина × ширина × глубина), равные 286×269×280 мм, а масса блока коммутации 24 составляет не более 9,5 кг. При этом объем блока коммутации 24 составляет примерно 22 куб. дециметра.
Пульты управления 25, 26 и 27 базовой станции 23 выполнены в следующих размерах: 371×266×100 мм, а масса одного пульта управления равна 4,5 кг. При этом объем одного пульта управления 25 составляет примерно 10 куб. дециметров, а три пульта управления 25, 26 и 27 занимают суммарно 30 куб. дециметров.
Пульт связи 45 выполнен в следующих размерах: 195×70×255 мм, а масса пульта управления равна 5,0 кг. При этом объем пульта связи 45 составляет 3,5 куб. дециметра.
Пульты управления центральной 1 и базовых 23 станций, а также пульт связи 45 абонентской станции могут быть выполнены в соответствии с решениями на изобретения по авторскому свидетельству № 1125770 [3] или патенту Российской Федерации № 2132596 [4].
Техническая эффективность от предлагаемой системы диспетчерской связи заключается в повышении качества обслуживания абонентов и обеспечение надежного взаимодействия с существующими сетями телефонной связи при одновременном сокращении массогабаритных показателей устройств системы диспетчерской связи. Это достигается благодаря выбранным способам организации и ведения связи между абонентами, системе вызова абонентов на сети, единству технических решений по конструктивному выполнению блоков коммутации, пультов управления и пультов связи центральной и базовых станций, абонентской станции, типам подключаемых к ним линий и каналов связи с учетом необходимости работы как с аналогичными средствами, так и со средствами старого парка.
Применение унифицированных модулей и модульное построение станций способствовали существенному сокращению массогабаритных показателей предлагаемой системы диспетчерской связи. При этом в предлагаемой системе диспетчерской связи достигается выигрыш по объему по сравнению с прототипом (станцией СОС-60) примерно в 16 раз, а качество обслуживания абонентов возрастает на 60 процентов.
Особенностью предлагаемой системы диспетчерской связи является также удобство пользования, которому способствует реализованная в пультах управления центральной станции 1 и базовых станций 23, а также пульте связи 45 функция записи в память и отображения на световом табло наиболее часто используемых телефонных номеров автоматической телефонной станции и номеров абонентов сети подвижной связи с возможностью чтения их и замены на новый номер (при необходимости), а также возможность автоматической посылки вызова абоненту путем нажатия на упомянутых пультах одной кнопки (без повторного набора номера).
Источники информации
1. SU, авторское свидетельство № 568200, кл. Н04М 9/08, 1975.
2. Шраер Ф.И. Аппаратура производственной и учрежденческой связи. Справочник. – М.: Связь, 1974, с.133-135 (прототип).
3. SU, авторское свидетельство № 1125770, кл. Н04М 9/08, 1984.
4. RU, патент № 2132596, кл. Н04М 9/08, 1999.
Формула изобретения
1. Система диспетчерской связи, содержащая центральную станцию, состоящую из последовательно соединенных по входам-выходам пульта управления и статива, m базовых станций, каждая из которых состоит из последовательно соединенных по входам-выходам пульта управления и статива, и n абонентских станций, отличающаяся тем, что на центральной станции введены два пульта управления и две ультракоротковолновые радиостанции, а статив центральной станции выполнен в виде блока коммутации модульной конструкции, включающего в себя унифицированные комплекты абонентских и соединительных линий, каналов связи, к которым подключены соединительные линии привилегированного абонента (СЛПА), m абонентских линий прямой телефонной связи (АЛПС), абонентские линии (АЛ) от автоматической телефонной станции (АТС), абонентские линии (АЛ) от станции системы центральной батареи (ЦБ) ручного обслуживания, одного двухпроводного канала тональной частоты (2ПРТЧ), двух четырехпроводных каналов тональной частоты (4ПРТЧ), двух радиоканалов (РК) от радиостанций малой мощности, одного четырехпроводного цифрового канала (ЦК1) со скоростью передачи 1200 или 2400 бит/с, двух четырехпроводных цифровых каналов (ЦК2) со скоростью передачи 16 кбит/с, двух линий внутренней связи (ЛВС) и одной линии для связи с внешним устройством, при этом первые входы-выходы первого пульта управления соединены с первыми входами-выходами блока коммутации, вторые и третьи входы-выходы которого подключены к первым входам-выходам соответственно второго и третьего пультов управления, вторые входы-выходы первого и второго пультов управления соединены между собой посредством первой линии внутренней связи, а третьи входы-выходы второго и вторые входы-выходы третьего пультов управления соединены между собой посредством второй линии внутренней связи, первые и вторые канальные входы-выходы блока коммутации подключены к канальным входам-выходам соответственно первой и второй ультракоротковолновых радиостанций, каждая абонентская станция выполнена в виде пульта связи, а пульт связи абонентской станции посредством проводной линии подключен к одному из комплектов соединительной линии блока коммутации, на каждой из m базовых станций введены два пульта управления и две ультракоротковолновые радиостанции, а статив каждой из m базовых станций выполнен в виде блока коммутации модульной конструкции, включающего в себя унифицированные комплекты абонентских и соединительных линий, каналов связи, к которым подключены СЛПА, m АЛПС, АЛ от АТС, АЛ от станции системы ЦБ ручного обслуживания, одного 2ПРТЧ, двух 4ПРТЧ, двух РК от радиостанций малой мощности, одного четырехпроводного ЦК1 со скоростью передачи 1200 или 2400 бит/с, двух четырехпроводных ЦК2 со скоростью передачи 16 кбит/с, двух ЛВС и одной линии для связи с внешним устройством, при этом первые входы-выходы первого пульта управления соединены с первыми входами-выходами блока коммутации, вторые и третьи входы-выходы которого подключены к первым входам-выходам соответственно второго и третьего пультов управления, вторые входы-выходы первого и второго пультов управления соединены между собой посредством первой линии внутренней связи, а третьи входы-выходы второго и вторые входы-выходы третьего пультов управления соединены между собой посредством второй линии внутренней связи, первые и вторые канальные входы-выходы блока коммутации подключены к канальным входам-выходам соответственно первой и второй ультракоротковолновых радиостанций, а пульты связи абонентских станций посредством проводных линий подключены к комплектам соединительных линий блока коммутации, каждый пульт связи абонентской станции включает в себя комплекты абонентских и соединительных линий, каналов связи, к которым подключены соответствующие линии и каналы связи, при этом центральная станция и базовые станции могут иметь одинаковую общую емкость линий и каналов связи или общая емкость базовых станций может быть в два раза меньше емкости центральной станции, а абонентская станция имеет в три раза меньшую емкость линий и каналов связи по сравнению с базовыми станциями, причем центральная станция посредством СЛПА соединена с каждой из m базовых станций, а базовые станции могут быть соединены между собой посредством АЛПС и с помощью упомянутых СЛПА соединены с пультами связи абонентских станций, а к первым и вторым канальным входам-выходам каждого из пультов связи абонентской станции подключены канальные входы-выходы соответственно первой и второй ультракоротковолновых радиостанций.
2. Система по п.1, отличающаяся тем, что центральная станция в составе блока коммутации и от одного до трех пультов управления, соединенных с блоком коммутации, к унифицированным комплектам абонентских и соединительных линий, каналов связи которого подключены, по меньшей мере, одна СЛПА, две АЛ от АТС или две АЛ от станции системы ЦБ ручного обслуживания, до восемнадцати АЛПС, один 2ПРТЧ, два 4ПРТЧ, два РК от радиостанций малой мощности, один четырехпроводный ЦК1 со скоростью передачи 1200 или 2400 бит/с, два четырехпроводных ЦК2 со скоростью передачи 16 кбит/с, две ЛВС и одна линия для связи с внешним устройством.
3. Система по п.1, отличающаяся тем, что каждая из упомянутых базовых станций в составе блока коммутации и от одного до трех пультов управления, соединенных с блоком коммутации, к унифицированным комплектам абонентских и соединительных линий, каналов связи которого подключены, по меньшей мере, одна СЛПА, две АЛ от АТС или две АЛ от станции системы ЦБ ручного обслуживания, до шести АЛПС, один 2ПРТЧ, один 4ПРТЧ, два РК от радиостанций малой мощности, один четырехпроводный ЦК1 со скоростью передачи 1200 или 2400 бит/с, один четырехпроводный ЦК2 со скоростью передачи 16 кбит/с, две ЛВС и одна линия для связи с внешним устройством.
4. Система по п.1, отличающаяся тем, что абонентская станция выполнена в виде пульта связи, к унифицированным комплектам абонентских и соединительных линий, каналов связи которого подключены, по меньшей мере, одна СЛПА, одна АЛ от АТС или одна АС от станции системы ЦБ ручного обслуживания, одна АЛПС, один 4ПРТЧ, один четырехпроводный ЦК2 со скоростью передачи 16 кбит/с и одна линия для связи с внешним устройством.
5. Система по пп.2-4, отличающаяся тем, что каждый из упомянутых пультов управления центральной и базовых станций, а также пульт связи абонентской станции содержит переговорный громкоговорящий узел (ГГС), включающий в себя микрофон с усилителем передачи и усилитель приема с громкоговорителем, а также переговорный телефонный узел (МТТ), включающий микротелефонную трубку в составе микрофона и телефона, причем с каждого пульта управления и пульта связи обеспечивается выбор переговорного прибора (ГГС или МТТ), требуемой линии и канала связи, при этом на пультах управления и пульте связи обеспечивается сигнализация занятости линий и каналов связи посредством блока индикации и светового табло.
6. Система по пп.2-4, отличающаяся тем, что комплекты линий и каналов связи упомянутых центральной и базовых станций, а также пульта связи абонентской станции обеспечивают возможность по соединительной линии привилегированного абонента посылки вызова голосом и приема сигнала вызова постоянным током напряжением 27 В со звуковой и световой сигнализацией на пультах управления и пульте связи, по абонентской линии от станции АТС – посылку сигнала вызова путем формирования импульсной последовательности набора номера и прием сигнала вызова переменным током напряжением 80 В со звуковой и световой сигнализацией, по линии АЛ в режиме ЦБ – посылку вызова постоянным током напряжением 27 В путем замыкания шлейфа и прием сигнала вызова переменным током напряжением 80 В со звуковой и световой сигнализацией, по линии АЛПС – посылку и прием сигнала вызова постоянным током напряжением 27 В со звуковой и световой сигнализацией, по каналам 2ПРТЧ и 4ПРТЧ – посылку и прием сигнала вызова переменным током напряжением от 40 до 60 В со звуковой и световой сигнализацией.
РИСУНКИ
|
|