|
|
(21), (22) Заявка: 2006119153/02, 31.05.2006
(24) Дата начала отсчета срока действия патента:
31.05.2006
(46) Опубликовано: 20.03.2008
(56) Список документов, цитированных в отчете о поиске:
SU 1601199 A1, 23.10.1990. SU 989440 A1, 15.01.1983. RU 2122047 С1, 20.11.1998. GB 900248 А, 04.07.1962. JP 57029939 А, 18.02.1982.
Адрес для переписки:
355037, г.Ставрополь, 2-й Юго-западный пр-д, 9А, ООО “ЗГА “НС”, генеральному директору
|
(72) Автор(ы):
Кулаков Игорь Геннадьевич (RU), Логвинов Анатолий Иванович (RU), Енин Алексей Алексеевич (RU)
(73) Патентообладатель(и):
Общество с ограниченной ответственностью “Завод газовой аппаратуры “НС” (RU)
|
(54) НЕПОЛЯРИЗУЮЩИЙСЯ ХЛОРИДСЕРЕБРЯНЫЙ ЭЛЕКТРОД СРАВНЕНИЯ ДЛИТЕЛЬНОГО ДЕЙСТВИЯ
(57) Реферат:
Изобретение относится к защите от коррозии подземных металлических сооружений, может быть использовано при определении опасности коррозии и эффективности защиты подземных металлических сооружений и позволяет повысить надежность и качество измерений при производстве работ по электрохимической защите подземных металлических сооружений от коррозии. Хлоридсеребряный электрод сравнения содержит токонепроводящий корпус, заполненный электролитом, расположенный в корпусе стержень, а на корпусе – датчик потенциала, которые соединены проводником с наконечником, ионообменную мембрану, при этом стержень выполнен серебряным с нерастворимым покрытием хлорида серебра и является электродом, ионообменная мембрана прижата через уплотнительную прокладку к корпусу посредством муфты с перфорацией, а электролит, которым заполнен корпус электрода, содержит насыщенный раствор хлористого калия в смеси воды и этиленгликоля в соотношении 3:2-2:1. 3 ил.
Область техники, к которой относится изобретение
Изобретение относится к защите от коррозии подземных металлических сооружений, в частности к неполяризующимся хлоридсеребряным электродам сравнения длительного действия, и может быть использовано при определении опасности коррозии и эффективности защиты подземных металлических сооружений.
Уровень техники
Известен неполяризующийся электрод сравнения преимущественно для устройств катодной защиты, содержащий корпус в виде диска с полостью на боковой поверхности, заполненной наполнителем в виде насыщенного раствора медного купороса, установленный на подшипниках на оси, смонтированные в полости электроды в виде колец, контактный обод, токосъемный коллектор и проводники, при этом полость в диске выполнена с П-образным профилем, контактный обод выполнен в виде сопряженных шторы из прочной ткани и камеры из гибкого упругого материала со шлангом для соединения с пневмомагистралью, причем камера смонтирована на среднем выступе корпуса, а штора закреплена на крайних выступах корпуса с возможностью охвата камеры.
В электроде наполнитель выполнен в виде губчатого материала (см. авт. св. СССР №1689432, кл. С23F 13/00, G01N 27/30, опубл. 07.11.1991 г.).
Недостатком данного электрода сравнения является невысокая надежность и качество измерений.
Известна аппаратура для определения смещения разности потенциалов между подземным металлическим сооружением и электродом сравнения, содержащая вольтметр с внутренним сопротивлением не менее 20 кОм на 1 В шкалы, регистрирующий или показывающий медносульфатный электрод сравнения, стальной электрод сравнения, с помощью которой выполняют измерения в контрольно-измерительных пунктах, колодцах, шурфах и т.д. контактным методом с применением регистрирующих или показывающих приборов, при этом положительную клемму измерительного прибора присоединяют к сооружению, отрицательную – к электроду сравнения с последующей обработкой результатов измерений, причем разность между измеренным потенциалом сооружения и значением его стационарного потенциала вычисляют по формуле
U=Uизм-Uc,
где Uизм – наименее отрицательная или наиболее положительная за период измерений мгновенная разность потенциалов между сооружением и медносульфатным электродом сравнения;
Uc – стационарный потенциал сооружения.
(см. Единая система защиты от коррозии и старения. Сооружения подземные. Общие требования к защите от коррозии. ГОСТ 9.602-89, Москва).
Недостатком данной аппаратуры является относительно невысокий срок службы.
Наиболее близким по технической сущности и достигаемому положительному эффекту и принятый авторами за прототип является электрод сравнения длительного действия, содержащий токонепроводящий корпус с пористым дном, заполненный электролитом, расположенный в корпусе медный стержень и смонтированный на корпусе датчик потенциала, при этом он снабжен ионообменной мембраной, смонтированной на пористом дне корпуса, а электролит содержит насыщенный раствор сульфата меди в смеси воды и этиленгликоля в соотношении 3:2-2:1.
В электроде используется ионообменная мембрана, полученная рациональной привитой сополимеризацией акриловой или метакриловой кислоты в количестве 100-170% на двуосноориентированную полипропиленовую пленку (см. авт. св. СССР №1601199, кл. С23F 13/00, опубл. 23.10.1990 г.).
Недостатком данного электрода является значительное сокращение срока службы при использовании в грунтах с высоким содержанием кальция и хлора, что доказано результатами многолетней эксплуатации. Происходит это в результате замещения ионов CuSO4 ионами более активных Са и Cl, что приводит к необратимому изменению потенциала электрода. Кроме того, потенциал хлоридсеребряных электродов более стабилен, в сравнении с потенциалом медносульфатных электродов сравнения, именно поэтому при контроле потенциалов медносульфатных электродов в качестве образцового используется хлоридсеребряный электрод.
Раскрытие изобретения
Задачей предлагаемого изобретения является разработка неполяризующегося хлоридсеребряного электрода сравнения, обладающего надежностью и качеством измерений.
Технический результат, который может быть достигнут с помощью предлагаемого изобретения, сводится к повышению надежности и качеству измерений за счет хлоридсеребряного электрода сравнения длительного действия, пригодного для установки в грунт при производстве работ по электрохимической защите подземных металлических сооружений от коррозии, имеющего стабильный потенциал и не критичного к составу грунта, в котором устанавливается электрод.
Технический результат достигается с помощью неполяризующегося хлоридсеребряного электрода сравнения длительного действия, содержащего токонепроводящий корпус, заполненный электролитом, расположенный в корпусе стержень, а на корпусе – датчик потенциала, которые соединены проводником с наконечником, ионообменную мембрану, при этом стержень выполнен серебряным с нерастворимым покрытием хлорида серебра и являющимся электродом, а ионообменная мембрана прижата через уплотнительную прокладку к корпусу посредством муфты с перфорацией, причем электролит, которым заполнен корпус электрода, содержит насыщенный раствор хлористого калия в смеси воды и этиленгликоля в соотношении 3:2-2:1.
Технический результат, который может быть получен при осуществлении предлагаемого изобретения, достигается следующим образом. Корпус электрода заполняют электролитом, в состав которого входит дистиллированная вода, этиленгликоль и хлористый калий (KCl), при этом содержание KCl обеспечивает насыщение раствора с выделением свободных кристаллов KCl·5H2O. В центральной части корпуса установлен электрод, представляющий собой серебряный стержень, имеющий нерастворимое покрытие хлорида серебра AgCl.
Существенные признаки заявляемого изобретения следующие.
Неполяризующийся хлоридсеребряный электрод сравнения длительного действия содержит токонепроводящий корпус, заполненный электролитом, в состав которого входит дистиллированная вода, этиленгликоль и хлористый калий (KCl), при этом содержание KCl должно обеспечивать насыщение раствора, с выделением свободных кристаллов KCl·5Н2O. В центральной части корпуса установлен электрод, представляющий собой серебряный стержень, имеющий нерастворимое покрытие хлорида серебра AgCl.
В отличие от прототипа электролит, которым заполнен корпус электрода, состоит из дистиллированной воды, этиленгликоля и хлористого калия, при этом содержание хлористого калия должно обеспечивать насыщение раствора, с выделением свободных кристаллов KCl·5H2O.
Электродом является серебряный стержень, имеющий нерастворимое покрытие хлорида серебра AgCl.
Краткое описание чертежей
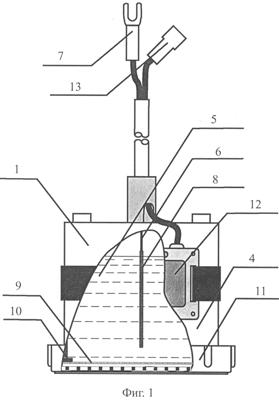
На фиг.1 дан хлоридсеребряный неполяризующийся электрод сравнения длительного действия, общий вид.
На фиг.2 – схема измерения разности потенциалов.
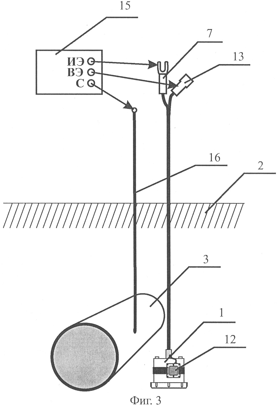
На фиг.3 – схема измерения поляризационного потенциала.
Осуществление изобретения
Неполяризующийся хлоридсеребряный электрод сравнения 1 длительного действия устанавливают непосредственно в грунт 2 у трубопровода 3, при этом электрод сравнения 1 состоит из токонепроводящего корпуса 4, заполненного электролитом 5, в состав которого входит дистиллированная вода, этиленгликоль и хлористый калий (KCl), при этом содержание KCl обеспечивает насыщение раствора с выделением свободных кристаллов KCl·5Н2O. Соотношение воды и этиленгликоля 2:1. В центральной части корпуса 4 электрода сравнения 1 укреплен серебряный стержень 6, электрически соединенный медным проводником (на фиг. не показан) с наконечником 7. На стержень 6 нанесено нерастворимое покрытие 8 хлорида серебра AgCl. Для обеспечения ионного обмена, при сохранении герметичности, используют гомогенную ионообменную мембрану 9 толщиной 30-60 мкм на основе двуосноориентированной полипропиленовой пленки с содержанием радиационно привитой метакриловой кислоты 150%, прижатой через резиновую уплотнительную прокладку 10 муфтой с перфорацией 11 к корпусу 4, при этом на корпусе 4 электрода сравнения 1 установлен датчик потенциала 12, электрически соединенный медным проводником с наконечником 13. Проводники от серебряного стержня 6 и датчика потенциала 12 с наконечниками 7 и 13 выводятся на поверхность земли для подключения измерительных приборов 14 и 15 с помощью шины 16, соединенной с трубопроводом 3 при производстве замеров потенциалов.
Неполяризующийся хлоридсеребряный электрод сравнения длительного действия работает следующим образом.
Неполяризующийся хлоридсеребряный электрод сравнения 1 длительного действия устанавливают в грунт 2 в непосредственной близости от подземного сооружения, в частности трубопровода 3, соединенного с проводником (на фиг. не показан), выходящим на поверхность земли. Для измерения разности потенциалов между проводником, соединенным с подземным сооружением 3, и наконечником 7, соединенным проводником с серебряным стержнем 3 электрода сравнения 1, подключается вольтметр постоянного тока 14, имеющий входное сопротивление не менее 20 кОм/В на пределе измерения 0-3 В или близком к указанному пределе измерения, причем положительная клемма присоединяется к проводнику от подземного сооружения, отрицательная клемма вольтметра 14 присоединяется к наконечнику 7.
Поляризационный потенциал измеряется в соответствии со схемой на фиг.3.
Измерения поляризационного потенциала выполняют с помощью приборов, содержащих прерыватель тока, например 43313.1, ОРИОН-ИП01, при этом клемма «С» прибора 1 присоединяется к проводнику от подземного сооружения 3, клемма «ИЭ» присоединяется к наконечнику 7, соединенного проводником с серебряным стержнем электрода сравнения 1, а клемма «ВЭ» – к наконечнику 13, соединенному проводником с датчиком потенциала 14.
Пример. Стандартные медносульфатные электроды сравнения длительного действия с ионообменной мембраной помещают в кюветы из диэлектрического материала, одна из которых содержит насыщенный водный раствор CaCl2, вторая кювета заполнена песком, увлажненным раствором NaCl в дистиллированной воде. В две кюветы с тем же составом помещают хлоридсеребряные электроды 1, собранные по чертежу, представленному на фиг.1. В течение шести месяцев производят измерение потенциалов электродов относительно лабораторного хлоридсеребряного электрода ЭВЛ-1М1 (ТУ-25-07-591-69). По завершении испытаний (через 6 месяцев) потенциал медносульфатного электрода сравнения, находящегося в кювете, содержащей водный раствор CaCl2, понизился на 73 мВ относительно первоначальной величины. Потенциал медносульфатного электрода сравнения, находящегося в кювете с песком, увлажненным раствором NaCl в дистиллированной воде, понизился на 27 мВ. Потенциал хлоридсеребряных электродов на протяжении всего срока испытаний колебался в пределах от плюс 5 до минус 4 мВ.
Предлагаемое изобретение по сравнению с прототипом и другими известными техническими решениями позволяет получить неполяризующийся электрод сравнения длительного действия, не критичный к составу грунта, в который он устанавливается, имеющий повышенный срок службы, с высокой стабильностью величины потенциала.
Формула изобретения
Неполяризующийся хлоридсеребряный электрод сравнения длительного действия, содержащий токонепроводящий корпус, заполненный электролитом, расположенный в корпусе стержень, а на корпусе – датчик потенциала, которые соединены проводниками с наконечниками, и ионообменную мембрану, при этом стержень выполнен из серебра с нерастворимым покрытием хлорида серебра, ионообменная мембрана прижата через уплотнительную прокладку к корпусу посредством муфты с перфорацией, а в качестве электролита, которым заполнен корпус электрода, использован насыщенный раствор хлористого калия в смеси воды и этиленгликоля в соотношении 3:2-2:1.
РИСУНКИ
MM4A – Досрочное прекращение действия патента СССР или патента Российской Федерации на изобретение из-за неуплаты в установленный срок пошлины за поддержание патента в силе
Дата прекращения действия патента: 01.06.2008
Извещение опубликовано: 20.09.2009 БИ: 26/2009
NF4A – Восстановление действия патента СССР или патента Российской Федерации на изобретение
Дата, с которой действие патента восстановлено: 20.12.2009
Извещение опубликовано: 20.12.2009 БИ: 35/2009
|
|