|
|
(21), (22) Заявка: 2006117742/06, 23.05.2006
(24) Дата начала отсчета срока действия патента:
23.05.2006
(46) Опубликовано: 20.03.2008
(56) Список документов, цитированных в отчете о поиске:
RU 2117877 C1, 20.08.1998. RU 2149318 C1, 20.05.2000. SU 1370362 A1, 30.01.1988. RU 2134383 C1, 10.08.1999. RU 2206853 С1, 17.10.2001. US 3835817 А, 17.07.1974.
Адрес для переписки:
443100, г.Самара, ул. Молодогвардейская, 244, Главный корпус СамГТУ, патентный отдел
|
(72) Автор(ы):
Нуяндин Владимир Дмитриевич (RU), Григорьев Владимир Сергеевич (RU)
(73) Патентообладатель(и):
Общество с ограниченной ответственностью “КАМЕТ” (RU)
|
(54) ГАЗОВЫЙ ВОДОГРЕЙНЫЙ МОДУЛЬ “САМАРА-М”
(57) Реферат:
Изобретение предназначено для нагрева воды и может быть использовано для теплообеспечения и горячего водоснабжения производственных и жилых помещений. Газовый водогрейный модуль состоит из металлического бака для нагреваемой воды, погруженного в него нагревательного элемента U-образной формы с последовательно расположенными прямым и обратным ходом, автоматизированным газогорелочным блоком. Обратный ход выполнен из двух полусфер, плоские поверхности которых ошипованы на 1/3 своей площади и имеют приваренные вертикально внутрь цилиндрические ударники, которые при вибрации, вызванной горением, ударяют по сферической части и вызывают звуковую волну, устраняющую накипь и пленочное кипение. Изобретение обеспечивает нечувствительность модуля к качеству нагреваемой воды, повышение теплоотдачи, уменьшение габаритов и веса. 4 ил.
Изобретение относится к газовым водогрейным системам, используемых для автономного теплообеспечения и горячего водоснабжения производственных и жилых помещений.
Известны водогрейные устройства для автономного теплоснабжения различной мощности, такие как котлы фирмы STG (COMPACT, STANDART), Юнкерс, Сонье-Дюваль (каталог продукции 2005 г.) и др. Это жаротрубные, стальные котлы двух- и трехходового типа, которые применяются для отопления и горячего водоснабжения промышленных и производственных зданий.
Недостатком таких установок является большая удельная масса, высокие требования к качеству нагреваемой воды, частые прогары и тепловые деформации нагревательных элементов.
В качестве прототипа принят газовый отопительный модуль «Самара» (патент РФ №2117877), состоящий из бака с нагреваемой водой, системы подвода газа и воздуха, автоматизированного газогорелочного блока, теплогенерирующего элемента, дымохода и вспомогательных устройств, причем теплогенерирующий элемент выполнен в виде U-образного короба, имеющего последовательно расположенные прямой и обратный ходы прямоугольной формы, соединенные поворотным коленом и имеющие общий фланец для крепления, а обратный ход имеет цилиндрические шины, установленные по всей длине обратного хода. Для горения применена горелка растянутого диффузионного пламени. Нагреваемая вода подается в отопительный контур зданий.
Недостатком прототипа являются высокие требования к качеству нагреваемой воды и возможность прогара при отложении накипи на нагревательном элементе.
Техническим результатом предлагаемого изобретения является нечувствительность модуля к качеству нагреваемой воды, повышение теплоотдачи и уменьшение габаритов и веса.
Технический результат достигается тем, что в газовом водогрейном модуле, состоящем из металлического бака для нагреваемой воды, погруженного в него нагревательного элемента U-образной формы с последовательно расположенными прямым и обратным ходом с автоматизированным газогорелочным блоком, обратный ход выполнен из двух полусфер, плоские поверхности которых ошипованы на 1/3 своей площади и имеют приваренные вертикально внутрь цилиндрические ударники, которые при вибрации, вызванной горением, ударяют по сферической части и вызывают звуковую волну, устраняющую накипь и пленочное кипение.
Внутри полусфер перпендикулярно к плоской части приварены цилиндрические ударники, недостающие до сферической плоскости 1-2 мм. Тонколистовая плоская, ошипованная поверхность при горении вибрирует, передавая удары через ударники на весь нагревательный элемент и исключая отложение накипи. Звуковая волна высокого тона не увеличивает звуковой нагрузки, которая сопровождает горение, но резко снижает адгезионные свойства накипи и исключает пленочное кипение на неошипованных поверхностях.
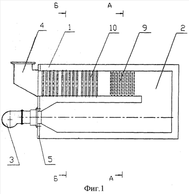
На фиг.1 изображен водогрейный модуль, общий вид. На фиг.2 – разрез А-А. На фиг.3 – разрез Б-Б. На фиг.4 – ударник.
Газовый водогрейный модуль состоит из металлического бака с водой 1, нагревательного элемента U-образной формы 2, автоматизированного газогорелочного блока с горелкой растянутого диффузионного пламени 3 и дымохода со сборником конденсата 4.
Нагревательный элемент имеет общий фланец 5 для прямого и обратного хода и крепится к вертикальной стороне бака шпильками для облегчения монтажа и демонтажа. Нагревательный элемент 2 представляет собой двухходовую U-образную конструкцию, расположенную горизонтально и состоящую из цилиндрической топки прямого хода 6 с цилиндрическим коленом, соединяющим ее с полусферическими каналами обратного хода 7. Полусферические каналы обратного хода 7 продуктов сгорания располагаются параллельно и обращены друг к другу плоскими поверхностями, образующие канал 8 для подъема нагреваемой воды, определенной ширины. Ошипованные с двух сторон части плоских поверхностей 9 находятся в начале каналов и во избежание пленочного кипения смещены относительно друг друга.
Для увеличения поверхности теплосъема в конце обратных каналов, в шахматном порядке, расположены переточные, вертикальные трубы 10. Ошипованная площадь составляет 1/3 площади плоских поверхностей. Переточные трубы занимают 2/3 длины полусферических каналов.
К вибрирующей вертикальной плоскости по всей ее длине вертикально приварены 12 цилиндрических ударников 11, недостающие до сферической поверхности 1-2 мм и вызывающие звуковую волну при ударах о сферическую поверхность.
Количество ударников, их диаметр определяются мощностью нагревателя, высотой и уровнем звука, распределяемого по объему нагревателя. Звуковое давление в интервале 18-24 ДБА является оптимальным, т.к. полностью устраняет отложение накипи и исключает пленочное кипение по всей нагреваемой поверхности.
Газовый водогрейный модуль работает следующим образом. Газогорелочный блок установлен в U-образной конструкции, которая погружена в теплоноситель. Поток продуктов сгорания при его вибрационном горении передает эту вибрацию на плоские элементы U-образного нагревательного элемента, к которым приварены цилиндрические ударники определенной длины и диаметра. Цилиндрические ударники соприкасаются со сферическими частями нагревателя, вызывая звуковую волну, устраняющую накипь и пленочное кипение.
Предлагаемая конструкция нагревателя позволяет повысить его теплоотдачу на 20-24%, уменьшить его размеры и сделать не чувствительным к качеству нагреваемой воды.
Формула изобретения
Газовый водогрейный модуль, состоящий из металлического бака для нагреваемой воды, погруженного в него нагревательного элемента U-образной формы с последовательно расположенными прямым и обратным ходом, автоматизированным газогорелочным блоком, отличающийся тем, что обратный ход выполнен из двух полусфер, плоские поверхности которых ошипованы на 1/3 своей площади и имеют приваренные вертикально внутрь цилиндрические ударники, которые при вибрации, вызванной горением, ударяют по сферической части и вызывают звуковую волну, устраняющую накипь и пленочное кипение.
РИСУНКИ
|
|