|
(21), (22) Заявка: 2006119592/06, 05.06.2006
(24) Дата начала отсчета срока действия патента:
05.06.2006
(46) Опубликовано: 20.03.2008
(56) Список документов, цитированных в отчете о поиске:
RU 2184261 С1, 27.06.2002. RU 2042857 C1, 27.08.1995.
Адрес для переписки:
454000, г.Челябинск, пр. Ленина, 53-79, Т.И. Березиной
|
(72) Автор(ы):
Березина Тамара Ивановна (RU), Березин Игорь Викторович (RU)
(73) Патентообладатель(и):
Березина Тамара Ивановна (RU)
|
(54) ВОЗДУХООЧИСТИТЕЛЬ
(57) Реферат:
Изобретение относится к области машиностроения, а именно к воздухоочистителям, преимущественно к большегабаритным воздухоочистителям для транспортных средств. Воздухоочиститель содержит корпус, расположенные в нем сепарационные отверстия, в каждом из которых со стороны входа размещен завихритель потока. К корпусу присоединен пылесборный поддон с патрубком отсоса пыли и приемными конусами для очищенного воздуха. Каждый приемный конус со стороны вершины размещен с зазором внутри выходного участка сепарационного отверстия с образованием кольцевого канала. Около каждого сепарационного отверстия со стороны основания выполнено окно с пересечением стенки сепарационного отверстия. Корпус выполнен составным из моноблоков, жестко закрепленных между собой. Пылесборный поддон выполнен составным из моноблоков. Моноблоки герметично соединены между собой сваркой. Завихритель потока выполнен лопаточным с центральной втулкой и закреплен на приемном конусе. Приемный конус снабжен щелями для прохода очищенного воздуха. Пылесборный поддон присоединен к корпусу при помощи шпилек и гаек. Приемные конусы прикреплены к пылесборному поддону сваркой (металлические) или клеем (пластмассовые). Моноблоки могут быть собраны и жестко соединены между собой, например на доске с помощью винтов, которые на чертеже не показаны, либо любым иным способом. Изобретение позволяет повысить надежность и экономичность воздухоочистителя. 3 з.п. ф-лы, 4 ил.
Предлагаемое изобретение относится к области машиностроения, а именно к воздухоочистителям, преимущественно к большегабаритным воздухоочистителям для транспортных средств.
Известен воздухоочиститель, описанный в патенте РФ №2042857, опубликованном 27.08.1995 г. Известный воздухоочиститель содержит корпус и расположенные в нем сепарационные отверстия. В каждом из сепарационных отверстий со стороны входа воздуха размещен завихритель потока. Воздухоочиститель содержит также присоединенный к корпусу пылесборный поддон с патрубком отсоса пыли и приемными конусами для очищенного воздуха. Каждый приемный конус со стороны вершины размещен с зазором внутри выходного участка сепарационного отверстия с образованием кольцевого канала.
В моноблочном корпусе со стороны основания в общих стенках, по меньшей мере, трех соседних сепарационных отверстий выполнены глухие каналы и щелевые сквозные пазы, расположенные тангенциально к сепарационным отверстиям.
Недостатком известного воздухоочистителя является низкая надежность моноблочного литого большегабаритного корпуса, что обусловлено частым возникновением рыхлот и раковин в тонких общих стенках сепарационных отверстий, приводящих к появлению трещин, разрушающих тонкие общие стенки, особенно при движении транспортного средства по пересеченной местности и бездорожью, при резких разнонаправленных ударных нагрузках на корпус воздухоочистителя.
Наиболее близким по технической сущности и выбранным за прототип является воздухоочиститель, описанный в патенте РФ №2184264, опубликованном 27.06.2002 г. Воздухоочиститель, согласно этому патенту, содержит корпус и расположенные в нем сепарационные отверстия. В каждом сепарационном отверстии размещен завихритель потока. Воздухоочиститель содержит также присоединенный к корпусу пылесборный поддон с патрубком отсоса пыли и приемными конусами для очищенного воздуха. Каждый приемный конус со стороны вершины размещен с зазором внутри выходного участка сепарационного отверстия с образованием кольцевого канала.
В известном воздухоочистителе корпус выполнен прямоугольным и в продольном направлении составным. Корпус состоит, по крайней мере, из двух частей. При этом сепарационные отверстия корпуса размещены продольными рядами.
Недостатками известного воздухоочистителя являются низкие надежность и экономичность воздухоочистителя вследствие низкой эффективности очистки пылесборного поддона от отложений фракций загрязнителя и малой периодичности обслуживания очистки воздухоочистителя в условиях повышенной запыленности, особенно крупными фракциями загрязнителя. В то же время известный воздухоочиститель имеет низкие надежность и экономичность изготовления воздухоочистителя, обусловленные трудностями получения качественных и надежных корпусов из-за трудностей получения качественных и надежных тонких общих стенок сепарационных отверстий и большими трудозатратами изготовления технологического оборудования.
Основной технической задачей, на решение которой направлено предлагаемое изобретение, является повышение надежности и экономичности воздухоочистителя. Дополнительной технической задачей предполагаемого изобретения является повышение надежности и экономичности изготовления воздухоочистителя при выполнении воздухоочистителя больших габаритов.
Для выполнения указанных технических задач в воздухоочистителе, содержащем корпус и расположенные в нем сепарационные отверстия, в каждом из которых со стороны входа размещен завихритель потока, а также присоединенный к корпусу пылесборный поддон с патрубком отсоса пыли и приемными конусами для очищенного воздуха, причем каждый приемный конус со стороны вершины размещен с зазором внутри выходного участка сепарационного отверстия с образованием кольцевого канала, согласно предлагаемому изобретению около каждого сепарационного отверстия со стороны основания выполнено окно с пересечением стенки сепарационного отверстия.
В воздухоочистителе согласно предлагаемому изобретению общая площадь кольцевого канала и окна сепарационного отверстия составляет 6-15% от площади входа в сепарационное отверстие.
При этом корпус воздухоочистителя выполнен из отдельных моноблоков, каждый из которых снабжен, по крайней мере, одним сепарационным отверстием и одним окном, жестко закрепленных между собой.
Кроме того, пылесборный поддон воздухоочистителя выполнен составным из герметично соединенных между собой частей.
Повышение надежности и экономичности воздухоочистителя достигается за счет того, что в воздухоочистителе около каждого сепарационного отверстия со стороны основания выполнено окно с пересечением стенки сепарационного отверстия. Такое выполнение сепарационных отверстий с окнами позволяет увеличить эффективность очистки пылесборного поддона от отложений фракций загрязнителя в условиях повышенной запыленности, особенно крупными фракциями загрязнителя. При этом увеличивается периодичность обслуживания очистки воздухоочистителя. Наибольший результат в увеличении эффективности очистки пылесборного поддона получается в том случае, когда общая площадь кольцевого канала и окна сепарационного отверстия составляет 6-15% от площади входа в сепарационное отверстие. Если общая площадь кольцевого канала и окна для сброса пыли в пылесборный поддон меньше 6%, резко падает степень очистки воздуха – один из главных параметров воздухоочистителя, так как количество воздуха, проходящее через вышеназванные каналы, недостаточно для эвакуации пыли при оптимальных скоростях движения потока в каналах воздухоочистителя. Если общая площадь вышеупомянутых каналов больше 15% при тех же условиях работы воздухоочистителя, то степень очистки растет столь незначительно, что затраченная энергия на эвакуацию пыли неоправданно высока и неэкономична, так как количество воздуха, выброшенное с пылью, больше не участвует в работе двигателя – это потери.
Повышение надежности и экономичности изготовления воздухоочистителя достигается путем выполнения корпуса воздухоочистителя из отдельных моноблоков, каждый из которых снабжен, по крайней мере, одним сепарационным отверстием и одним окном, жестко закрепленных между собой. При изготовлении таких моноблоков уменьшается трудоемкость и трудозатраты. При возникновении брака выбраковывается только моноблок, а не весь корпус, что значительно экономичнее. В то же время обеспечивается получение более надежных тонких общих стенок в сепарационных отверстиях.
При изготовлении большегабаритных воздухоочистителей экономически целесообразно сделать пылесборный поддон составным из моноблоков, что позволяет при меньших затратах на прессформы формировать воздухоочистители различной производительности, это повышает экономичность как в серийном, так и в опытном производстве.
Для пояснения сущности предлагаемого изобретения приведены чертежи, где:
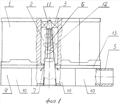
на фиг.1 показан общий вид воздухоочистителя с вырывами для показа в разрезе сепарационного отверстия с завихрителем и приемным конусом, а также для показа в разрезе патрубка для отсоса пыли;
на фиг.2 показан вид сверху воздухоочистителя;
на фиг.3 – разрез по А-А на фиг.2;
на фиг.4 показано крепление моноблоков корпуса на доске.
Воздухоочиститель содержит корпус 1 и расположенные в нем сепарационные отверстия 2, в каждом из которых со стороны входа размещен завихритель потока 3. К корпусу 1 присоединен пылесборный поддон 4 с патрубком отсоса пыли 5 и приемными конусами 6 для очищенного воздуха. Каждый приемный конус 6 со стороны вершины размещен с зазором внутри выходного участка сепарационного отверстия 2 с образованием кольцевого канала 7. Около каждого сепарационного отверстия 2 со стороны основания выполнено окно 8 с пересечением стенки сепарационного отверстия 2. Корпус 1 выполнен составным из моноблоков 9, жестко закрепленных между собой. Пылесборный поддон 4 выполнен составным из моноблоков 10. Моноблоки 10 герметично соединены между собой сваркой.
Завихритель потока 3 выполнен лопаточным с центральной втулкой 11 и закреплен на приемном конусе 6. Приемный конус 6 снабжен щелями 12 для прохода очищенного воздуха. Пылесборный поддон 4 присоединен к корпусу 1 при помощи шпилек и гаек, которые на чертеже не показаны. Приемные конусы прикреплены к пылесборному поддону 4 сваркой, если выполнение из металла, клеем, если выполнение из пластмассы. Моноблоки 9 могут быть собраны и жестко соединены между собой, например на доске 13 с помощью винтов, которые на чертеже не показаны, либо любым иным способом.
Работа воздухоочистителя осуществляется следующим образом.
Загрязненный воздух, подлежащий очистке, поступает в сепарационные отверстия 2, в каждом из которых, проходя через завихритель потока 3, приобретает вращательно-поступательное движение и перемещается к его основанию.
За счет возникновения в потоке инерционных сил составные фракции загрязнителя, крупные и мелкие частицы пыли, а также и другие примеси, отбрасываются к стенке сепарационного отверстия 2 и продолжают вращательно-поступательное движение через кольцевой канал 7, сбрасываются в пылесборный поддон 4 и из последнего удаляются через патрубок 5 отсоса пыли. Часть воздуха с фракциями загрязнителя поступает в пылесборный поддон 4 через окно 8 сепарационного отверстия 2. Очищенный воздух поступает внутрь приемного конуса 6 через щели 12. Затем очищенный воздух направляется в двигатель (не показан) или во вторую ступень очистки.
Предлагаемый воздухоочиститель технологичен в промышленном изготовлении и обладает повышенной надежностью. Конструкция воздухоочистителя позволяет выполнить его в любых большегабаритных размерах и использовать в транспортных средствах, имеющих возможность двигаться по пересеченной местности и в условиях бездорожья. Предлагаемый воздухоочиститель имеет эффективную очистку пылесборного поддона от отложений фракций загрязнителя, что увеличивает периодичность обслуживания воздухоочистителя.
Формула изобретения
1. Воздухоочиститель, содержащий корпус и расположенные в нем сепарационные отверстия, в каждом из которых со стороны входа размещен завихритель потока, а также присоединенный к корпусу пылесборный поддон с патрубком отсоса пыли и приемными конусами для очищенного воздуха, причем каждый приемный конус со стороны вершины размещен с зазором внутри выходного участка сепарационного отверстия с образованием кольцевого канала, отличающийся тем, что около каждого сепарационного отверстия со стороны основания выполнено окно с пересечением стенки сепарационного отверстия.
2. Воздухоочиститель по п.1, отличающийся тем, что общая площадь кольцевого канала и окна сепарационного отверстия составляет 6-15% от площади входа в сепарационное отверстие.
3. Воздухоочиститель по п.1, отличающийся тем, что корпус выполнен из отдельных моноблоков, каждый из которых снабжен, по крайней мере, одним сепарационным отверстием и одним окном, жестко закрепленных между собой.
4. Воздухоочиститель по п.3, отличающийся тем, что пылесборный поддон выполнен составным из герметично соединенных между собой частей.
РИСУНКИ
|