|
|
(21), (22) Заявка: 2004137826/02, 23.12.2004
(24) Дата начала отсчета срока действия патента:
23.12.2004
(43) Дата публикации заявки: 10.06.2006
(46) Опубликовано: 20.03.2008
(56) Список документов, цитированных в отчете о поиске:
SU 377418 А, 17.04.1973. RU 2006529 C1, 30.01.1994. RU 2214482 C1, 20.10.2003. ЕР 0256848 А1, 24.02.1988. US 4414070 A, 08.11.1983.
Адрес для переписки:
398042, г.Липецк, ул. Московская, 43, кв.15, В.К.Бутакову
|
(72) Автор(ы):
Бутаков Владимир Кириллович (RU)
(73) Патентообладатель(и):
Бутаков Владимир Кириллович (RU)
|
(54) МЕХАНИЗМ ПОДЪЕМА И ОПУСКАНИЯ ОБОЖЖЕННЫХ АНОДНЫХ БЛОКОВ НА ЭЛЕКТРОЛИЗЕРАХ С НЕПОДВИЖНОЙ АНОДНОЙ РАМОЙ
(57) Реферат:
Изобретение относится к цветной металлургии, в частности к технологическому оборудованию для получения алюминия электролизом. Механизм содержит два параллельных вала с закрепленными на них шкивами и звездочки, установленные с возможностью свободного вращения на валах, несущие бесконечные тяговые цепи для закрепления при помощи кронштейнов токоподводящих штанг анодных блоков. На кронштейнах размещены пластины с зубьями, входящие в зацепление со звеньями тяговых цепей. Звездочки и шкивы имеют по периметру боковой поверхности зубья с прямой и скошенной гранью для зацепления друг с другом посредством поджатия звездочки пружиной. Изобретение позволит использовать цепь с меньшим шагом и звездочки меньшего диаметра, а также в несколько раз уменьшить крутящий момент на валу привода и его диаметр. 2 ил.
Изобретение относится к технологическому оборудованию для получения алюминия электролизом.
Известен механизм подъема и опускания обожженных анодных блоков на электролизерах с неподвижной анодной рамой, содержащий два параллельных вала, расположенных симметрично относительно продольной оси, снабженных закрепленными на валу звездочками, несущими бесконечные тяговые цепи, на звеньях которых подвешены токоподводящие штанги обожженных анодных блоков при помощи кронштейна, опирающегося на пазы звеньев цепи, или при помощи подпружиненных рычагов, входящих в зацепление с цепью, что конструктивно не позволяет использовать звездочки с небольшим диаметром, уменьшить крутящий момент на валу привода и его диаметр (SU 377418, С25C 3/12, публ. 17.04.1973).
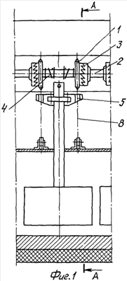
Для решения этой задачи предлагается механизм подъема и опускания обожженных анодных блоков, содержащий два параллельных вала /2/ с закрепленными на них шкивами /3/ и звездочки /1/, несущие бесконечные тяговые цепи /8/, на которых при помощи пластин с зубьями /9/ закреплены кронштейны /5/ с токоподводящей гибкой ошиновкой /6/ для крепления токоподводящих штанг анодных блоков /7/.
Звездочки не закреплены и могут свободно вращаться на валах, имеют так же, как и шкивы по периметру боковой поверхности зубья с прямой и скошенной гранью для зацепления друг с другом посредством поджатия звездочки пружиной /4/.
Предлагаемое решение позволяет использовать цепь с меньшим шагом, применить звездочки с значительно меньшим диаметром, в несколько раз уменьшить крутящий момент на валу привода и уменьшить его диаметр, позволяет отказаться от конструктивно сложного устройства механизма крепления кронштейна к звеньям цепи и его перемещения по ним в верхнее положение при замене огарков на новый анодный блок.
На фиг.1 изображен фрагмент продольного вида электролизера с предлагаемым решением.
На Фиг.2 /разрез А-А/ показан фрагмент поперечного сечения до плоскости симметрии с видом звездочки со стороны зубьев.
По мере сгорания обожженных анодных блоков валы поворачиваются вместе со шкивами и находящимися в зацеплении с ними звездочками, опуская ветви цепей с закрепленными на них кронштейнами, к которым присоединены токоподводящие штанги анодных блоков.
Обгоревший анодный блок /огарок/, без отсоединения токоподводяшей штанги от кронштейна, поднимается грузоподъемным устройством в верхнее /исходное/ положение.
При этом звездочки поворачиваются в обратном направлении, смещаются по валу за счет скольжения скошенных граней зубьев по скошенным граням зубьев шкивов, сжимают пружину и выходят из зацепления со шкивами.
После поднятия кронштейна в исходное положение пружины возвращают звездочки в положение постоянного зацепления.
Токоподводящие штанги отсоединяются от кронштейна и огарок вынимается из анодного устройства.
На место извлеченного огарка устанавливается новый анодный блок. Надежность зацепления звездочек со шкивами обеспечивается поджатием их пружиной и тем, что прямые грани зубьев звездочек опираются на прямые грани зубьев шкивов.
Скольжение по скошенным граням зубьев происходит как при неподвижном шкиве и движении звездочки в обратном направлении /замена огарка/, так и при зависании анодного блока на корке электролита /неподвижная звездочка/ при опускании анода /вращение вала/.
Продавливание зависшего анодного блока обеспечивается регулировкой сжатия пружины, что увеличивает сцепление скошенных граней зубьев.
Формула изобретения
Механизм подъема и опускания обожженных анодных блоков на электролизерах с неподвижной анодной рамой, содержащий два параллельных вала и звездочки, несущие бесконечные тяговые цепи для закрепления при помощи кронштейнов токоподводящих штанг анодных блоков, отличающийся тем, что он снабжен пластинами с зубьями, размещенными на кронштейнах, входящими в зацепление со звеньями тяговых цепей, и закрепленными на валах шкивами, при этом звездочки установлены с возможностью свободного вращения на валах, а звездочки и шкивы имеют по периметру боковой поверхности зубья с прямой и скошенной гранью для зацепления друг с другом посредством поджатия звездочки пружиной.
РИСУНКИ
|
|