|
|
(21), (22) Заявка: 2006128835/03, 08.08.2006
(24) Дата начала отсчета срока действия патента:
08.08.2006
(46) Опубликовано: 10.03.2008
(56) Список документов, цитированных в отчете о поиске:
RU 2190724 С2, 10.10.2002. RU 2105841 С1, 27.02.1998. RU 2085658 С1, 27.07.1997. SU 1523636 А1, 23.11.1989. SU 330234 А, 17.04.1972. FR 2849827 А, 16.07.2004.
Адрес для переписки:
350044, г.Краснодар, ул. Калинина, 13, КГАУ, Патентно-информационный отдел
|
(72) Автор(ы):
Дегтярев Георгий Владимирович (RU), Дегтярев Владимир Георгиевич (RU)
(73) Патентообладатель(и):
Федеральное государственное образовательное учреждение высшего профессионального образования “Кубанский государственный аграрный университет” (RU)
|
(54) УСТРОЙСТВО ДЛЯ СБОРА НЕФТИ И НЕФТЕПРОДУКТОВ С ПОВЕРХНОСТИ ВОДЫ
(57) Реферат:
Изобретение относится к устройствам для сбора нефти и нефтепродуктов с поверхности воды и может быть использовано в отстойниках-накопителях при очистке дождевых, ливневых и производственных сточных вод предприятий, а также для сбора нефтепродуктов с поверхности естественных водных акваторий. Устройство для сбора нефти и нефтепродуктов с поверхности воды включает корпус нефтеловушки в виде открытой снизу кюветы с желобом, цилиндрический нефтепродуктосборный барабан с приводом, с лопастями и с горизонтальной осью вращения, примыкающий к боковой стенке корпуса со соответствующей стороны сбора нефтепродуктов. Корпус нефтеловушки выполнен многоугольным, при этом на двух сторонах сбора нефтепродуктов или на большем их количестве расположены нефтепродуктосборные барабаны, привод которых находится внутри опорного контура, образованного стенками корпуса, обеспечивая балансировку относительно центра тяжести устройства. Изобретение обеспечивает повышение надежности и эффективности работы устройства, а также упрощение его эксплуатации. 3 ил.
Изобретение относится к устройствам для сбора нефти и нефтепродуктов с поверхности воды и может быть использовано в отстойниках – накопителях при очистке дождевых, ливневых и производственных сточных вод предприятий, а также для сбора нефтепродуктов с поверхности естественных водных акваторий.
Известно плавучее устройство для сбора нефти с поверхности воды, включающее раму с фильтром в донной ее части, нефтеприемник, сообщающийся с плавучей рамой, и приспособление для удаления нефти, причем нефтеприемник установлен в проеме плавучей рамы со стороны сбора нефти и выполнен в виде многолопастного колеса, снабженного независимым приводом, закрытого по торцам дисками и размещенного так, что его ось параллельна водной поверхности и перпендикулярна к направлению транспортирования нефти (а.с. СССР №977566, МКИ Е02В 15/04, БИ №44, 1982 г.).
Недостатком данного технического решения является низкая эффективность в работе при наличии лишь одного многолопастного колеса и, как следствие, одной стороны сбора нефтепродуктов, а также примененный неэффективный принцип размещения энергетического оборудования вне зоны опорного контура устройства, когда вместе с нефтепродуктами в раму подается значительно большее количество воды, чем нефти, из-за отсутствия возможности обеспечить нужную балансировку устройства.
Наиболее близким к предлагаемому изобретению по технической сущности является устройство для сбора нефтепродуктов с поверхности воды, включающее плавучий корпус в виде открытой снизу кюветы, в которой размещены патрубок насоса и датчик его управления, цилиндрический нефтепродуктосборный барабан с эластичными лопастями, с приводом, с горизонтальной осью вращения и примыкающий к боковой стенке корпуса со стороны сбора нефтепродуктов, с образованием с ней канала, имеющего телескопическую вставку, двигающуюся по направляющим (Патент РФ №2190724, МКИ Е02В 15/10, БИ №28, 2002 г.).
Недостатком данного устройства является его низкая надежность и эффективность в работе, так как конструктивное решение размещения энергетического оборудования вне зоны опорного контура усложняет балансировку устройства относительно кромки приемного водослива, при исполнении устройства плавучим, а также повышает риск опрокидывания устройства при динамическом воздействии на корпус, например, от удара волны или порыва ветра, даже при исполнении устройства стационарным; наличие лишь одного нефтепродуктосборного барабан снижает производительность устройства.
Техническим решением задачи предлагаемого изобретения является повышение производительности, надежности и эффективности в работе за счет размещения на двух сторонах или большем их количестве устройства нефтепродуктосборных барабанов и энергетического оборудования в зоне опорного контура устройства, образованного сторонами корпуса, обеспечивающее эффективное управление его осадкой и балансировкой относительно приемного водослива, при реализации плавучего варианта, а также повышение надежности при стационарном варианте исполнения.
Задача достигается тем, что в устройстве для сбора нефти и нефтепродуктов с поверхности воды, включающем корпус в виде открытой снизу кюветы с желобом, цилиндрический нефтепродуктосборный барабан, с приводом, с лопастями, с горизонтальной осью вращения и примыкающий к боковой стенке корпуса со стороны сбора нефтепродуктов, согласно изобретению корпус нефтеловушки выполнен многоугольным, при этом на двух сторонах или на большем их количестве расположены нефтепродуктосборные барабаны, привод которых находится внутри опорного контура, образованного сторонами корпуса, обеспечивая балансировку относительно центра тяжести устройства.
Сопоставительный анализ заявляемого устройства с прототипом показывает, что заявляемое устройство отличается тем, что корпус нефтеловушки выполнен многоугольным, при этом на двух сторонах или на большем их количестве расположены нефтепродуктосборные барабаны, привод которых находится внутри опорного контура, образованного сторонами корпуса, обеспечивая балансировку относительно центра тяжести устройства. Таким образом, заявленное устройство соответствует критерию «новизна». Сравнительный анализ заявленного устройства с другими решениями в данной области не позволил выявить в них признаки, отличающие заявляемое решение от прототипа, что позволяет сделать вывод об их соответствии критерию «существенные отличия».
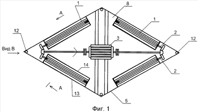
На чертежах представлено устройство для сбора нефти и нефтепродуктов с поверхности воды, на фиг.1 – план (в качестве примера многоугольник в виде ромба, при размещении нефтепродуктосборного барабана на всех четырех сторонах), на фиг.2 – вид В фиг.1, а на фиг.3 – разрез по А-А фиг.1.
Устройство для сбора нефти и нефтепродуктов с поверхности воды включает цилиндрические нефтепродуктосборные барабаны 1 с горизонтальными осями вращения 2, с приводом 3 в виде электродвигателя и трансмиссии, обеспечивающим направление вращения барабанов, указанное на фиг.3, и с лопастями 4. Корпус 5 устройства выполнен в виде рамы и образует с вышеуказанными барабанами 1 посредством желобов 6 нефтепроводные каналы 7. Кювета 8, замкнутая по периметру, без дна, образована плоскими сторонами корпуса 5. В кювете 8 находится датчик 9 уровня раздела сред вода-нефть, всасывающий патрубок 10 насоса 11. Все устройство может быть навесным как на судне, так и над нефтесборной емкостью или опираться на опорную плоскость посредством телескопических ножек 12, или плавающим посредством понтонов, обрамляющих корпус (на чертеже не показано). Во всех случаях устройству задается погружение и центровка таким образом, чтобы уровень жидкости был выше гребней приемных водосливов 13, но ниже гребней сливных водосливов 14.
Устройство работает следующим образом при вращении цилиндрических нефтепродуктосборных барабанов 1 с лопастями 4 на осях вращения 2, посредством привода 3 в виде электродвигателя и трансмиссии в направлении, указанном стрелкой, нефтепродукты, с поверхности воды, переливаясь через гребни приемных водосливов 13, попадают в нефтепроводные каналы 7, образованные цилиндрическими нефтепродуктосборными барабанами 1 и желобами 6. Лопасти 4 цилиндрических нефтепродуктосборных барабанов 1, вращаясь, продвигают жидкость по нефтепроводным каналам 7 до гребней сливных водосливов 14, переливаясь через которые, она попадает в кювету 8, образованную корпусом 5. Устройству задается погружение и центровка таким образом, чтобы уровень жидкости над гребнями приемных водосливов 13 был бы соизмерим с толщиной разлитого нефтепродукта, тогда нефтепродукты переливаются через водосливы 13 без воды или при ее минимуме. Поступившие в кювету 8 вместе с водой нефтепродукты обезвоживаются посредством стратификации жидкости, усиливающейся за счет действия на нее колебаний при передаче крутящего момента на барабаны 1, а также за счет того, что цилиндрических нефтепродуктосборных барабанов несколько, подавая нефтепродукты каждый из них в кювету 8, создает дополнительную турбулизацию двухфазной жидкости. Вытесненная из двухфазной жидкости вода уходит из кюветы 8 через ее дно. Работа устройства возможна в двух вариантах – в плавучем и в стационарном. Однако в том и другом вариантах необходимо, чтобы центровка всего устройства обеспечивала возможность его балансировки относительного приемного водослива 13, таким образом, чтобы величина переливающегося слоя нефтепродуктов по всему фронту приемного водослива была бы одинаковой и поддавалась регулировке в одном варианте за счет выталкивающей силы понтонов, в другом за счет телескопических ножек 12. При этом балансировка всех элементов устройства, в том числе привода 3 с трансмиссией, относительно центра тяжести, возможна лишь при расположении последнего внутри опорного контура, кроме того, это приводит к повышению эффективности и обеспечивает надежность работы устройства, повышая его устойчивость, например, при порывах ветра или большой волне. Далее нефтепродукты, попавшие в кювету 8, обезвоживаясь, будут заполнять ее объем от верхнего уровня до нижнего, в результате чего датчик раздела сред нефть – вода обеспечит команду на откачку нефтепродуктов из кюветы 8, посредством приемного патрубка 10, насосом 11 от нижнего положения до верхнего, после чего цикл работы повторится.
Заявленное устройство конструктивно простое и вместе с тем позволяет повысить производительность пропорционально количеству установленных нефтепродуктосборных барабанов, в связи с чем улучшаются его эксплуатационные показатели, так как обеспечивается сбор нефтепродуктов по всему периметру устройства и надежность в работе, так как именно расположение привода внутри опорного контура, обеспечивая балансировку относительно центра тяжести устройства, повышает надежность, расширяет диапазон применения, особенно на небольших, локальных объектах загрязнения, например, автомобильных мойках, автозаправочных станциях и подобных объектах, связанных с нефтепродуктами.
Формула изобретения
Устройство для сбора нефти и нефтепродуктов с поверхности воды, включающее корпус нефтеловушки в виде открытой снизу кюветы с желобом, цилиндрический нефтепродуктосборный барабан с приводом, с лопастями и с горизонтальной осью вращения, примыкающий к боковой стенке корпуса с соответствующей стороны сбора нефтепродуктов, отличающееся тем, что корпус нефтеловушки выполнен многоугольным, при этом на двух сторонах сбора нефтепродуктов или на большем их количестве расположены нефтепродуктосборные барабаны, привод которых находится внутри опорного контура, образованного стенками корпуса, обеспечивая балансировку относительно центра тяжести устройства.
РИСУНКИ
MM4A – Досрочное прекращение действия патента СССР или патента Российской Федерации на изобретение из-за неуплаты в установленный срок пошлины за поддержание патента в силе
Дата прекращения действия патента: 09.08.2008
Извещение опубликовано: 10.04.2010 БИ: 10/2010
|
|