|
|
(21), (22) Заявка: 2006117611/12, 22.05.2006
(24) Дата начала отсчета срока действия патента:
22.05.2006
(46) Опубликовано: 10.03.2008
(56) Список документов, цитированных в отчете о поиске:
SU 825687 А, 30.04.1981. SU 128971 А, 01.01.1960. SU 204487 А, 25.12.1967. US 5447238 A, 05.09.1995. US 5507074 А, 16.04.1996. FR 2623527 А1, 26.05.1989.
Адрес для переписки:
156530, г.Кострома, Караваево-1, ФГОУ ВПО Костромская ГСХА, научная часть
|
(72) Автор(ы):
Смирнов Николай Алексеевич (RU)
(73) Патентообладатель(и):
ФГОУ ВПО Костромская государственная сельскохозяйственная академия (RU)
|
(54) УСТРОЙСТВО ДЛЯ СЪЕМА ТРЕСТЫ ЛЬНЯНОЙ С ТРАНСПОРТЕРА СУШИЛКИ
(57) Реферат:
Устройство для съема тресты льняной с транспортера сушилки содержит зажимные транспортеры и приспособление для соединения слоев тресты, причем отделяющий зажимной транспортер смещен по горизонтали относительно удерживающего и его выходной конец поднят по вертикали, приспособление для соединения слоев тресты выполнено в виде транспортерно-оборачивающего механизма с прижимными направляющими, которое включает в себя приемный и установленный с боковой его стороны выходной шкивы, размещенные за ними попарно на осях ведомые шкивы, а также огибающий указанные шкивы бесконечный ремень, который на участке между приемным шкивом и размещенной за ним парой ведомых шкивов имеет противоположный разворот относительно участка ремня между выходным и расположенной за ним другой парой ведомых шкивов, при этом транспортерно-оборачивающий механизм установлен так, что приемный и выходной его шкивы по горизонтали находятся между выходными концами зажимных транспортеров. Использование данного изобретения позволяет обеспечить качественную уборку и подготовку к переработке льняной тресты. 4 з.п. ф-лы, 6 ил.
Изобретение относится к сельскохозяйственному машиностроению и может быть использовано на льнозаводе при подготовке к переработке тресты из рулонов, замотанных в поле из валка, образованного в результате сдваивания лент путем накладывания одной на другую вершинными частями комлями наружу.
Известен [1] способ уборки и подготовки к переработке тресты льняной, включающий формирование рулонов в поле из сдвоенных путем накладывания одной на другую вершинными частями комлями наружу лент стеблей, обвязку их и транспортировку на пункт переработки, а перед переработкой разматывание рулона, разъединение и объединение лент с ориентацией стеблей комлями в одну сторону, а также подсушивание тресты до технологической влажности, отличающийся тем, что на пункте при разматывании рулона сдвоенные перед его формированием ленты для подачи в переработку расстилают на сетчатый транспортер с таким взаиморасположением, какое было свойственно им в рулоне, и в таком же виде их пропускают через сушильную камеру, а после нее при подходе к мяльно-трепальному агрегату каждую ленту захватывают с транспортера за комлевые части стеблей как можно ближе к корням, предназначенным для нее ременным транспортером, и, зажав за указанные части, этими ременными транспортерами отводят одну ленту от другой до полного разъединения, а далее, освободив из зажима, ленты объединяют с ориентацией вершинами в одну сторону и выравниванием их по комлям.
Для осуществления этого известного [1] способа уборки и подготовки к переработке тресты льняной требуется надежно работающее устройство, обеспечивающее разделение двух лент и перекладку одной из них на другую с ориентацией стеблей комлями в одну сторону.
Известно устройство для подбора и сдваивания лент льна [2], содержащее закрепленные на раме копирующее колесо, барабан с горизонтальной осью вращения и транспортно-оборачивающее устройство с прижимными прутками, отличающееся тем, что, с целью упрощения конструкции и повышения надежности выполнения технологического процесса, транспортно-оборачивающее устройство имеет установленный с боковой стороны барабана параллельно его оси вращения ведущий шкив и размещенные за ними попарно на вертикальных осях ведомые шкивы, при этом барабан, ведомые и ведущий шкивы связаны посредством имеющего на рабочей поверхности пальцы бесконечного ремня, который на участке между барабаном и размещенной за ним парой ведомых шкивов имеет противоположный разворот относительно участка ремня между ведущим и расположенной за ним другой парой ведомых шкивов; прижимные прутки снабжены шпильками, которые соединены с рамой посредством винтового механизма для регулирования зазора между прутками и рабочей поверхностью ремня.
Устройство для подбора и сдваивания лент льна [2] подбирает ленту льна с поля и перекладывает ее на соседнюю с одновременным оборачиванием. Оно не может быть применено для реализации известного [1] способа уборки и подготовки к переработке тресты льняной, так как это устройство предназначено для работы только с одной лентой стеблей, притом только тогда, когда вторая лента не соприкасается с первой.
Известно устройство для съема высушенной тресты с транспортера сушилки [3], содержащее зажимные транспортеры и примыкающую к ним наклонную плоскость, отличающееся тем, что, с целью обеспечения выгрузки тресты, расположенной двухрядным слоем со сдвигом, зажимные транспортеры расположены один над другим между наклонной плоскостью и транспортером сушилки, при этом верхний зажимной транспортер смещен относительно нижнего по горизонтали, выходной конец его поднят по вертикали, а наклонная плоскость имеет направляющий щиток.
Известное устройство [3] предназначено для выгрузки тресты, расположенной двухрядным слоем со сдвигом. Оно не может поворачивать слой на 180 градусов. Поэтому это известное устройство для реализации известного [1] способа уборки и подготовки к переработке тресты льняной не может быть использовано.
Наиболее близким к заявляемому изобретению является устройство для съема тресты с транспортера сушилки [4], содержащее смонтированные на раме зажимные транспортеры, расположенные со смещением по горизонтали один над другим, и направляющую для соединения слоев тресты, размещенную над нижним зажимным транспортером, отличающееся тем, что, с целью расширения технологических возможностей, направляющая выполнена в виде цилиндра, выходной конец которого шарнирно связан с рамой, при этом направляющая имеет средство для перемещения выходного конца в вертикальной и горизонтальной плоскостях.
На наш взгляд, известное [4] устройство для съема тресты с транспортера сушилки имеет несколько недостатков.
Зажимной транспортер, обозначенный цифрой 2, в рассматриваемом устройстве выполняет самую сложную и главную функцию: захватывает верхний слой тресты, отделяет его от нижнего, поворачивает этот слой на 180 градусов и расстилает повернутые стебли на нижний слой.
По общепринятому понятию зажимной транспортер, работающий с льнопродукцией, должен иметь два ремня /гибких элемента/, а каждый из них – по две ветви. В настоящее время в льноуборочных машинах в основном применяют бесконечные ремни. Рабочая и холостая ветви бесконечного ремня, имеющего сложное движение, не должны касаться одна другой. Иначе они будут стаскивать одна другую со стабильного положения. Чтобы ветви не касались одна другой, а также неподвижных поверхностей, ремни должны поддерживаться отклоняющими роликами. Такие ролики в зажимном транспортере 2 не показаны, хотя в зажимном транспортере 1 они изображены. Ленты /гибкие элементы/ зажимного транспортера 2 совершают очень сложное движение. Возможность осуществления этого движения в схеме, которая показана в описании изобретения, вызывает очень большое сомнение.
Как видно на фиг.1 и 2, какие-то ветви гибких элементов транспортера 2 охватывают направляющую в виде цилиндра, а какие-то нет. Можно понять, что эта направляющая в виде цилиндра не вращается. Значит, ветви гибких элементов транспортера 2 охватывают неподвижную цилиндрическую поверхность и при движении трутся по ней. Из-за трения о неподвижную цилиндрическую поверхность гибкие элементы будут нагреваться и расширяться по длине. При удлинении гибкого элемента и уменьшении натяжения изменится характер его движения по цилиндрической поверхности, а также условия набегания ветвей на ведущие и натяжные шкивы. По этой причине зажимной транспортер 2 будет требовать частой поднастройки для исключения сбегания его гибких элементов со шкивов.
Из-за трения гибких элементов зажимного транспортера 2 о неподвижную цилиндрическую направляющую возникают значительные силы сопротивления их движению. Чтобы ведущие шкивы не пробуксовывали по гибким элементам, последние должны быть не слабо натянуты. Но с увеличением натяжения гибких элементов возрастет и трение их о неподвижную направляющую. Из этого ясно, что коэффициент полезного действия зажимного транспортера 2 будет весьма низким, так как значительная часть энергии расходуется не на полезную работу – перемещение тресты, а на преодоление сил трения гибких элементов о неподвижную цилиндрическую направляющую.
При реализации известного [1] способа уборки и подготовки к переработке тресты льняной в процессе разматывания рулона получается слой, состоящий из двух лент стеблей. Эти ленты стеблей сформированы при тереблении льна, а затем несколько раз пропущены через льноуборочные машины: при отделении семенной части урожая от стеблей, оборачивании лент, при их сдваивании и рулонировании валка. Плотность ленты и ее толщина в основном зависят от урожайности льна на поле и ширины захвата теребилки. Но на нее оказывает влияние и работа других машин. Поэтому изменение толщины ленты стеблей носит случайный характер. Однако от толщины слоя стеблей, перемещаемого зажимным транспортером 2, зависит натяжение его гибких элементов. Следовательно, и натяжение последних носит случайный характер. Из-за этого еще больше усложнится настройка гибких элементов зажимного транспортера 2 для того, чтобы они не сбегали с ведущих и натяжных шкивов.
Сказанное свидетельствует о том, что анализируемое известное [4] устройство для съема тресты с транспортера сушилки обладает существенными техническими недостатками. Но оно кроме технических имеет также технологические недостатки.
Первый технологический недостаток известного [4] устройства вытекает из того, что его зажимной транспортер 2 захватывает стебли и начинает их перемещать не в направлении движения транспортера сушилки и питающего транспортера, а под значительным углом к этому направлению. При таком захватывании транспортером 2 стебли должны быстро заиметь составляющую скорости движения, направленную перпендикулярно длине слоя. Из-за этого будет изменяться структура последнего в сторону ухудшения, что снизит выход длинного волокна при переработке тресты.
Второй технологический недостаток известного [4] устройства происходит из-за того, что выходная часть зажимного транспортера 2 установлена также под углом к направлению движения питающего транспортера. Так как начало и конец зажимного транспортера 2 установлены под большим углом к питающему транспортеру, стебли тресты как на входе, так и на выходе из него будут расположены под большим углом к гибким элементам. Но, как уже было отмечено, при реализации известного [1] способа уборки и подготовки к переработке тресты льняной ленты стеблей, из которых сформирован слой, подаваемый транспортером сушилки, имеют непостоянную плотность и толщину, причем последние изменяются случайно. Наличие указанных углов, а также непостоянные плотность и жесткость ленты стеблей приведут к тому, что слой тресты, выходящий из зажимного транспортера 2, будет опускаться на слой, выходящий из транспортера 1, в направлении, перпендикулярном длине питающего транспортера, то ближе, то дальше. По этой причине увеличится растянутость стеблей в слое, подаваемом в мяльно-трепальный агрегат, и еще больше снизится выход длинного волокна при переработке тресты.
Из всего сказанного следует вывод о том, что известное [4] устройство для съема тресты с транспортера сушилки непригодно для использования его при реализации известного [1] способа уборки и подготовки к переработке тресты льняной, так как оно не отвечает ни техническим, ни технологическим требованиям способа.
Наши соображения относительно серьезных недостатков рассматриваемого известного устройства подтверждает и тот факт, что оно с 1979 года не применяется в производственных условиях льнозаводов для съема тресты с транспортера сушилки.
В предлагаемом устройстве для съема тресты льняной с транспортера сушилки, содержащем зажимные транспортеры и приспособление для соединения слоев тресты, причем отделяющий зажимной транспортер смещен по горизонтали относительно удерживающего и его выходной конец поднят по вертикали, согласно предлагаемому изобретению приспособление для соединения слоев тресты выполнено в виде транспортерно-оборачивающего механизма с прижимными направляющими, включающего в себя приемный и установленный с боковой его стороны выходной шкивы, размещенные за ними попарно на осях ведомые шкивы, а также огибающий указанные шкивы бесконечный ремень, который на участке между приемным шкивом и размещенной за ним парой ведомых шкивов имеет противоположный разворот относительно участка ремня между выходным и расположенной за ним другой парой ведомых шкивов, при этом транспортерно-оборачивающий механизм установлен так, что приемный и выходной его шкивы по горизонтали находятся между выходными концами зажимных транспортеров; после удерживающего зажимного транспортера под выходным шкивом транспортерно-оборачивающего механизма и за ним установлен механизм для сдвигания и выпрямления по комлям стеблей слоя, соединенного из двух лент, содержащий транспортирующие бесконечные ремни с лопатками и сдвигающий ремень, плоскость рабочей ветви которого перпендикулярна плоскости, проходящей через рабочие ветви транспортирующих ремней, и расположена под углом к последним, при этом сдвигающий ремень имеет регулировку своего расположения относительно транспортирующих в зависимости от длины стеблей; рабочая ветвь ремня транспортерно-оборачивающего механизма на участке между ведомым шкивом, размещенным за приемным шкивом, и ведомым шкивом, расположенным за выходным шкивом, имеет разворот за счет того, что ось названного второго ведомого шкива установлена под меньшим углом к горизонтальной плоскости, чем ось первого; прижимные направляющие транспортерно-оборачивающего механизма на участке, где его ремень движется в том же направлении, что и отделяющий зажимной транспортер, а также на участке между ведомыми шкивами выполнены в виде бесконечного прижимного ремня, надетого на ролики, свободно вращающиеся на осях, при этом один или несколько роликов подпружинены так, что это дает возможность прижимному ремню отходить от рабочей ветви основного ремня механизма под действием перемещаемой массы при утолщении слоя стеблей; отделяющий зажимной транспортер и транспортерно-оборачивающий механизм смонтированы на одной раме, а удерживающий зажимной транспортер и механизм для сдвигания и выпрямления слоя, соединенного из двух лент, – на другой, при этом рамы не связаны жестко и расположение их в пространстве можно изменять отдельно.
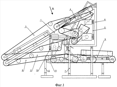
Схема предлагаемого устройства для съема тресты льняной с транспортера сушилки показана на фиг.1 – вид сбоку и на фиг.2 – вид А на фиг.1. Схема отделяюще-перекладывающей секции представлена на фиг.3 – вид сбоку и на фиг.4 – вид Б на фиг.3. Схема удерживающе-сдвигающей секции изображена на фиг.5 – вид сбоку и на фиг.6 – вид В на фиг.5.
Устройство для съема тресты льняной с транспортера сушилки состоит из отделяюще-перекладывающей 1 и удерживающе-сдвигающей 2 секций (фиг.1 и 2).
Отделяюще-перекладывающая секция 1 включает отделяющий транспортер 3 (фиг.3 и 4), транспортерно-оборачивающий механизм 4 и систему их привода 5, смонтированные на раме 6, опирающейся на стойки 7.
Удерживающее-сдвигающая секция 2 представлена удерживающим транспортером 8 (фиг.5 и 6), механизмом 9 для сдвигания слоя и системы 10 для их привода, установленными на раме 11, опирающейся на стойки 12.
Отделяющий транспортер 3 (фиг.3 и 4) имеет два зажимных ремня 13 и 14, огибающие ведущие шкивы 15 и 16, натяжные 17 и 18, а также промежуточные 19 и отклоняющие 20 ролики.
Транспортерно-оборачивающий механизм 4 включает основной 21, прижимной 22 бесконечные ремни и прижимные направляющие 23. Основной ремень 21 огибает приемный 24 и установленный с боковой его стороны выходной 25 шкивы, а также размещенные за ними попарно на осях ведомые (отклоняющие) шкивы 26, 27 и 28, 29. Ось второго верхнего ведомого шкива 28 установлена под меньшим углом к горизонтальной плоскости, чем ось первого 26. Поэтому ремень 21 на участке между шкивами 26 и 28 имеет разворот. Последний необходим для того, чтобы осуществить оборот ленты стеблей при меньшем расстоянии между приемным 24 и выходным 25 шкивами. Это диктуется ограниченными размерами участка на льнозаводе для размещения устройства, расстоянием между комлевыми частями лент в слое и длиной стеблей в лентах. Прижимной ремень 22 огибает входной 30, натяжной 31 и отклоняющий 32 ролики. Входной ролик 30 установлен на поворотной рамке 33 для того, чтобы он мог свободно отходить от приемного шкива 24 основного ремня 21 и пропускать скопления стеблевой массы тресты. Натяжной ролик 31 установлен на рамке 34, которая может поворачиваться вокруг шарнира и возвращаться в исходное положение пружиной 35. Такое дает возможность прижимному ремню 22 отходить от рабочей ветви основного ремня 21 под действием перемещаемой массы при утолщении ленты стеблей. Прижимной ремень 22 вместе с рабочей ветвью основного ремня 21 огибает также отклоняющие шкивы 26 и 28. Прижимной ремень 22 приводится в движение за счет контакта через слой стеблей с рабочей ветвью основного ремня 21. Прижимные направляющие 23 выполнены в виде двух полозьев 36 и 37, каждый из которых закреплен к раме 6 секции 1 с зазором между ним и ремнем 21 и с возможностью отхода от этого ремня 21 при утолщении перемещаемой ленты стеблей. Начало и конец каждого полоза 36 и 37 подсоединены к раме 6 через пружины 38 и 39, благодаря этому полозья осуществляют прижим транспортируемых стеблей к ремню 21.
Отделяющий транспортер 3 установлен перед приемным шкивом 24 транспортерно-оборачивающего механизма 4, при этом выходная часть отделяющего транспортера (ведущие шкивы 15 и 16, а также части огибающих их зажимных ремней 13 и 14) расположена с наружной боковой стороны приемного шкива 24 (со стороны, удаленной от выходного шкива 25 на большее расстояние). Последнее необходимо для того, чтобы ремни 13 и 14 отделяющего транспортера 3 захватывали стебли тресты за комлевые, а ремни 21 и 22 транспортерно-оборачивающего механизма 4 зажимали их за срединные части. Это обеспечивает более легкое разделение лент и надежную передачу стеблей из отделяющего транспортера 3 в транспортерно-оборачивающий механизм 4, а также оборот ленты механизмом 4.
Удерживающий транспортер 8 (фиг.5 и 6) содержит два зажимных ремня 40 и 41, огибающие ведущие шкивы 42 и 43, натяжные 44 и 45 и промежуточные 46 ролики. Удерживающий транспортер 8 расположен перед выходным шкивом 25 транспортерно-оборачивающего механизма 4 со стороны от выходного шкива 25, противоположной расположению приемного шкива 24. Последнее сделано для того, чтобы ремни 40 и 41 захватывали вторую ленту и удерживали ее за комлевые части стеблей.
Механизм 9 для сдвигания слоя стеблей, соединенного из двух лент, включает в себя основные транспортирующие бесконечные ремни 47 и 48, а также дополнительный ремень 49, огибающие ведущие 50 и натяжные 51 шкивы, а также отклоняющие ролики 52. На транспортирующих ремнях 47 и 48 закреплены лопатки. С наружной стороны ремней 47, 48 и 49 смонтирован сдвигающий ремень 53, надетый на ведущий 54 и натяжной 55 шкивы. Ведущий шкив 54 посажен на вал редуктора 56. Плоскость рабочей ветви сдвигающего ремня 53 перпендикулярна плоскости, проходящей через рабочие ветви транспортирующих ремней 47 и 48, и расположена под углом к последним. Сдвигающий ремень 53 со шкивами 54 и 55 и редуктором 56 установлены на рамке 57, которая имеет возможность перемещаться по роликам 58, смонтированным на раме 11 удерживающе-сдвигающей секции 2 под действием винтового механизма 59.
Все упомянутые шкивы и ролики, установленные на валах и осях, а также движущиеся элементы для передачи крутящего момента закрыты ограждающими щитками, которые для лучшего понимания технологического процесса, выполняемого устройством, не показаны.
Рама 6 отделяюще-перекладывающей секции 1 и рама 11 удерживающе-сдвигающей секции 2 не связаны одна с другой жестко. Положение их в пространстве можно изменять отдельно для настройки правильной работы устройства и формирования им качественного слоя из двух лент стеблей.
Устройство для съема тресты льняной с транспортера сушилки работает следующим образом.
При реализации способа уборки и подготовки к переработке тресты льняной [1] на льнозаводе в процессе разматывания рулона получают слой, в котором правая (по ходу движения слоя) лента стеблей наложена на левую вершинными частями комлями наружу. Такой слой тресты проходит через сушильную камеру, высушивается, выходит из нее и подается к устройству для съема тресты льняной с транспортера сушилки.
После выхода из сушилки слоя тресты правую его ленту захватывает за комлевые части стеблей (как можно ближе к корням) отделяющий транспортер 3 отделяюще-перекладывающей секции 1, а левую ленту также за комлевые части (ближе к корням) захватывает удерживающий транспортер 8 удерживающе-сдвигающей секции 2, далее правая лента перемещается зажимными ремнями 13 и 14 отделяющего транспортера 3 вперед и вверх, при этом вершинная часть ленты снимается с вершинной части левой ленты. Левая лента в это время перемещается зажимными ремнями 40 и 41 удерживающего транспортера 8 и удерживается ими. Таким образом осуществляется разделение лент. После разделения левая лента удерживающим транспортером 8 направляется под выходную часть (под выходной шкив 25) транспортерно-оборачивающего механизма 4. При подходе к выходному шкиву 25 левая лента стеблей, еще не освободившись из зажима между ремнями 40 и 41, попадает под действие транспортирующих ремней 47, 48 и 49 механизма 9 для сдвигания слоя. При этом основные ремни 47 и 48 с лопатками перемещают вершинные части стеблей, а дополнительный ремень 49 способствует продвижению комлевой части ленты и долевых стеблей, которые по каким-либо причинам не попали в зажим между ремнями 40 и 41. После освобождения из зажима между ремнями 40 и 41 удерживающего транспортера 8 лента переходит в механизм 9 для сдвигания слоя стеблей, соединенного из двух лент, она находится на ремнях 47, 48 и 49 этого механизма и перемещается ими. Над движущейся левой лентой располагается выходная часть транспортерно-оборачивающего механизма 4.
В указанное время правая лента стеблей выходит из отделяющего транспортера 3, захватывается за срединную часть основным 21 и прижимным 22 ремнями транспортерно-оборачивающего механизма 4, перемещается этими ремнями вперед и вверх. При этом происходит полное отделение правой ленты стеблей от левой. Далее правая лента вместе с ремнями 21 и 22 изменяет направление движения на 90 градусов, огибая шкив 26. После указанного правая лента в зажатом состоянии перемещается ремнями 21 и 22 в сторону левой ленты. На участке огибания основным ремнем 21 шкива 28 правая лента выходит из зажима между ремнями 21 и 22 и еще раз изменяет направление своего движения на 90 градусов вместе с ремнем 21. Далее она перемещается под действием ремня 21 вниз и поджимается к нему прижимными направляющими 23. Во время движения ленты вниз происходит разворот ее под действием ремня 21 и полозьев 36 и 37 так, что вершинные части стеблей правой ленты оказываются направленными в ту же сторону, что и вершинные части стеблей левой ленты. Совершив разворот, правая лента выходит из транспортерно-оборачивающего механизма 4 и опускается на движущуюся под его выходным шкивом 25 левую ленту тресты с образованием слоя, в котором все стебли расположены комлями в одну сторону. Далее этот слой перемещается ремнями 47, 48 и 49 в сторону мяльно-трепального агрегата. Как только слой продвинется на небольшое расстояние от выходного шкива 25, на комли стеблей вдоль их будет действовать сдвигающий ремень 53. После этого времени и до выхода слоя тресты из удерживающе-сдвигающей секции 2 стеблевая масса будет перемещаться под действием ремней 47 и 48 и сдвигающего ремня 53. Последний сдвигает слой стеблей, состоящий из двух лент, до положения, которое необходимо для правильной работы мяльно-трепального агрегата. Место расположения сдвигающего ремня 53 можно регулировать при помощи винтового механизма 59. В нужном положении слой стеблей выходит из устройства для съема тресты льняной с транспортера сушилки и направляется в мяльно-трепальный агрегат.
Предлагаемое устройство для съема тресты льняной с транспортера сушилки обеспечит качественное осуществление известного [1] способа уборки и подготовки к переработке тресты льняной.
При реализации указанного известного [1] способа наиболее сложной и трудноосуществляемой является операция разделения двух лент тресты и перекладки одной из них на другую перед мяльно-трепальным агрегатом. В процессе работы предлагаемого устройства каждая из двух лент захватывается зажимными ремнями за комлевые части как можно ближе к корням стеблей и в зажатом за комлевые части состоянии производится отделение одной ленты от другой. Разделение лент производится при прямолинейном их движении. После разделения правая лента зажимается ремнями транспортерно-оборачивающего механизма за срединные части стеблей и в таком положении выполняется перекладка ее на левую ленту. Таким образом, и разделение лент, и перекладка одной из них на другую осуществляются с зажимом стеблей между двумя ремнями. При этом и правая, и левая ленты захватываются зажимными транспортерами так, что стебли в каждом транспортере расположены перпендикулярно его ремням. И опускается правая лента на левую, не имея составляющей скорости, направленной перпендикулярно длине левой ленты. Это обеспечивает гарантированное и качественное выполнение технологического процесса. Соединенный слой, в котором все стебли расположены комлями в одну сторону, сдвигается и в правильном положении подается в мяльно-трепальный агрегат. При этом происходит выпрямление слоя по комлям и уменьшение в нем растянутости стеблей. Все указанные положительные отличия направлены на увеличение выхода длинного волокна при переработке тресты, а также повышение надежности работы предлагаемого устройства.
Предлагаемое устройство для съема тресты с транспортера сушилки в принципиальном плане может быть установлено в технологической линии льнозавода не сразу за сушилкой, а и в каком-то другом месте до мяльно-трепального агрегата, так как не на всяком льнозаводе имеется участок непосредственно за сушилкой для размещения такого механизма. Предлагаемое устройство может захватывать две ленты стеблей необязательно с транспортера сушилки, оно способно это делать в любом другом месте, а также самостоятельно перемещать обе ленты, разделять их и перекладывать одну на другую. И при расположении в другом месте между сушилкой и мяльно-трепальным агрегатом предлагаемое устройство может служить для осуществления известного [1] способа уборки и подготовки к переработке тресты льняной.
Источники информации
1. Патент 2257704 РФ, МКИ кл. А01D 45/06, D01В 1/16. Способ уборки и подготовки к переработке тресты льняной / Смирнов Н.А. №2003111102/12, заявл. 17.04.2003, опубл. 10.08.2005. Бюл. №22.
2. А.с. 1029886 СССР, МКИ кл. А01D 89/00, А01D 45/06. Устройство для подбора и сдваивания лент льна / Г.А.Сотникова, Н.Н.Семенов, В.П.Голдович, А.Е.Карлюков. №3334148/30-15, заявл. 03.08.81, опубл. 23.07.83. Бюл. №2
3. А.с. 494447 СССР, МКИ кл. D01В 1/38. Устройство для съема высушенной тресты с транспортера сушилки / В.Г.Москалев, А.И.Муравьев и В.В.Мороз. №1811967/28-12, заявл. 18.07.72, опубл. 05.12.75. Бюл. №45.
4. А.с. 825687 СССР, МКИ кл. D01В 1/38. Устройство для съема тресты с транспортера сушилки / П.И.Муха, А.А.Кирьяненко, Г.Г.Литвинов и др. 2783357/28-12, заявл. 22.06.79, опубл. 30.04.81. Бюл. №16.
Формула изобретения
1. Устройство для съема тресты льняной с транспортера сушилки, содержащее зажимные транспортеры и приспособление для соединения слоев тресты, причем отделяющий зажимной транспортер смещен по горизонтали относительно удерживающего и его выходной конец поднят по вертикали, отличающееся тем, что приспособление для соединения слоев тресты выполнено в виде транспортерно-оборачивающего механизма с прижимными направляющими, включающего в себя приемный и установленный с боковой его стороны выходной шкивы, размещенные за ними попарно на осях ведомые шкивы, а также огибающий указанные шкивы бесконечный ремень, который на участке между приемным шкивом и размещенной за ним парой ведомых шкивов имеет противоположный разворот относительно участка ремня между выходным и расположенной за ним другой парой ведомых шкивов, при этом транспортерно-оборачивающий механизм установлен так, что приемный и выходной его шкивы по горизонтали находятся между выходными концами зажимных транспортеров.
2. Устройство по п.1, отличающееся тем, что после удерживающего зажимного транспортера под выходным шкивом транспортерно-оборачивающего механизма и за ним установлен механизм для сдвигания и выпрямления по комлям стеблей слоя, соединенного из двух лент, содержащий транспортирующие бесконечные ремни с лопатками и сдвигающий ремень, плоскость рабочей ветви которого перпендикулярна плоскости, проходящей через рабочие ветви транспортирующих ремней, и расположена под углом к последним, при этом сдвигающий ремень имеет регулировку своего расположения относительно транспортирующих в зависимости от длины стеблей.
3. Устройство по п.1, отличающееся тем, что рабочая ветвь ремня транспортерно-оборачивающего механизма на участке между ведомым шкивом, размещенным за приемным шкивом, и ведомым шкивом, расположенным за выходным шкивом, имеет разворот за счет того, что ось названного второго ведомого шкива установлена под меньшим углом к горизонтальной плоскости, чем ось первого.
4. Устройство по п.1, отличающееся тем, что прижимные направляющие транспортерно-оборачивающего механизма на участке, где его ремень движется в том же направлении, что и отделяющий зажимной транспортер, а также на участке между ведомыми шкивами выполнены в виде бесконечного ремня, надетого на ролики, свободно вращающиеся на осях, при этом один или несколько роликов подпружинены так, что это дает возможность прижимному ремню отходить от рабочей ветви основного ремня механизма под действием перемещаемой массы при утолщении слоя стеблей.
5. Устройство по п.1, отличающееся тем, что отделяющий транспортер и транспортерно-оборачивающий механизм смонтированы на одной раме, а удерживающий транспортер и механизм для сдвигания и выпрямления слоя, соединенного из двух лент – на другой, при этом рамы не связаны жестко и расположение их в пространстве можно изменять отдельно.
РИСУНКИ
|
|