|
|
(21), (22) Заявка: 2006115427/15, 04.05.2006
(24) Дата начала отсчета срока действия патента:
04.05.2006
(46) Опубликовано: 10.03.2008
(56) Список документов, цитированных в отчете о поиске:
RU 2232789 C1, 20.07.2004. SU 717124 A, 28.02.1980. SU 1135747 A1, 23.01.1983. RU 2112008 C1, 27.05.1998. RU 2161176 C1, 27.12.2000. RU 2121490 C1, 10.11.1998. US 6294080 B1, 25.09.2001. US 5186815 A, 16.02.1993.
Адрес для переписки:
450065, Башкортостан, г.Уфа, ул. Инициативная, 12, ГУП “ИНХП РБ”, зав. ОИС С.А. Зайцевой
|
(72) Автор(ы):
Таушев Виктор Васильевич (RU), Хайрудинов Ильдар Рашидович (RU), Теляшев Эльшад Гумерович (RU), Таушева Елена Викторовна (RU)
(73) Патентообладатель(и):
Государственное унитарное предприятие “Институт нефтехимпереработки Респулики Башкортостан” (ГУП “ИНХП РБ”) (RU)
|
(54) УСТАНОВКА ДЛЯ ПРОВЕДЕНИЯ ТЕРМОДЕСТРУКЦИИ НЕФТЯНЫХ ОСТАТКОВ (ВАРИАНТЫ)
(57) Реферат:
Изобретения относятся к нефтепереработке, в частности к висбрекингу и термокрекингу. Установка включает печь для нагрева сырья, выносной реактор для проведения термодеструкции, ректификационную колонну для разделения термопродуктов, теплообменники. Реактор снабжен рубашкой охлаждения с патрубками ввода и вывода охлаждающего агента – циркуляционного орошения ректификационной колонны и дополнительно оснащен в своей нижней части патрубком для подачи «холодной струи» – кубового остатка колонны. По второму варианту патрубок ввода сырья расположен в нижней части реактора, патрубок для подачи «холодной струи» – в верхней части, а реактор снабжен тарелками провального типа. Изобретения позволяют предотвратить коксообразование, улучшить качество получаемых продуктов, повысить производительность установки. 2 н. и 6 з.п. ф-лы, 3 ил.
Изобретения относятся к нефтепереработке, в частности к установкам для проведения термодеструкции нефтяных остатков (висбрекинга, термического крекинга).
Известна установка висбрекинга, включающая печь для нагрева исходного сырья, сокинг-камеру (реактор) для проведения термодеструкции нефтяных остатков, блок разделения продуктов термодеструкции с выводом газа, бензина, легкого и тяжелого газойля и остатка (М.Г.Рудин и др. Карманный справочник нефтепереработчика. М., ОАО «ЦНИИТЭнефтехим», 2004, стр.176-179).
Недостатком известной установки является закоксовывание внутренней поверхности реактора, сопровождаемое снижением глубины разложения и качества (вязкости) полученного продукта.
Известна установка термического крекинга тяжелых нефтяных остатков, включающая блок предварительного нагрева сырья, инжектор-смеситель для контакта нагретого сырья с воздухом, связанный с сепаратором для разделения отработанного воздуха от активированного остатка, печь, реактор для проведения термодеструкции и блок разделения продуктов термокрекинга (ректификационную колонну) (Пат. РФ №2232789, МПК 7 С10G 9/00, оп. 02.09.2003).
Недостатком известной установки является значительное коксообразование в ее аппаратах – 0,1% масс. Несложные расчеты показывают, что при производительности установки 1 млн т/год и объеме реактора 90 м3 время полного закоксовывания реактора составит 1 месяц, то есть продолжительность непрерывного пробега установки не превысит одного месяца, что вызовет частые остановки на ремонт, снижение производительности и неоправданно большие эксплуатационные затраты. Кроме того, наличие узла подачи сжатого воздуха делает установку сложной и небезопасной в эксплуатации.
Технический результат, на достижение которого направлены изобретения, заключается в предотвращении коксообразования в реакторе и сопутствующем оборудовании.
Для достижения указанного технического результата в установке для проведения термодеструкции нефтяных остатков по первому варианту, включающей печь для нагрева сырья, реактор с патрубками ввода сырья и вывода термопродукта в ректификационную колонну с линиями вывода разделенных продуктов, согласно изобретению реактор выполнен с рубашкой охлаждения, патрубки ввода и вывода охлаждающего агента которой связаны с линией циркуляционного орошения ректификационной колонны, и дополнительно снабжен патрубком для ввода «холодной струи», размещенным в нижней части реактора, при этом патрубок ввода сырья расположен в верхней части реактора.
Патрубок для ввода «холодной струи» может быть связан с линией вывода кубового остатка из ректификационной колонны.
Целесообразно рубашку охлаждения реактора снабдить линзовыми компенсаторами.
По второму варианту для достижения того же технического результата в установке для проведения термодеструкции нефтяных остатков, включающей печь для нагрева сырья, реактор с патрубками для ввода сырья и вывода термопродукта в ректификационную колонну с линиями вывода разделенных продуктов, согласно изобретению реактор выполнен с рубашкой охлаждения, патрубки ввода и вывода охлаждающего агента которой связаны с линией циркуляционного орошения ректификационной колонны, и дополнительно снабжен патрубком для ввода «холодной струи», размещенным в верхней части реактора, при этом патрубок ввода сырья установлен в нижней части реактора, а внутри реактора размещены тарелки, например, провального типа.
Патрубок для ввода «холодной струи» может быть связан с линией вывода кубового остатка из ректификационной колонны.
Целесообразно рубашку охлаждения реактора снабдить линзовыми компенсаторами.
Площадь проходного сечения провальной тарелки может составить 8-10% от ее общей площади.
Расстояние между тарелками может составить не более 1 м.
Выполнение реактора в составе установки для проведения термодеструкции нефтяных остатков с рубашкой охлаждения позволяет предотвратить коксообразование на его внутренней поверхности следующим образом. При подаче охлаждающего агента – циркуляционного орошения из ректификационной колонны в рубашку охлаждения внутренняя поверхность реактора охлаждается до температуры ниже предельной температуры крекинга сырья (около 250°С). При этом компоненты реакционной массы, имеющие температуру застывания выше 250°С, прилипают к «холодной» стенке и тем самым защищают ее от закоксовывания.
Сравнение предлагаемых изобретений с прототипом выявило главный отличительный признак – новую форму выполнения реактора в общей схеме установки для проведения термодеструкции нефтяных остатков – с рубашкой охлаждения, поэтому можно сделать вывод о соответствии критерию «новизна».
Поиск по отличительным признакам показал наличие множества аппаратов – реакторов с рубашками охлаждения, например, изобретение по а.с. №1518001 (МПК4 ВО1J 1/10, оп. 30.10.89). Известное устройство также снабжено рубашкой охлаждения, в которую подают хладагент – воду для отвода тепла от химических реакций, протекающих в реакционной массе внутри корпуса. Технический результат, который достигается в известном техническом решении, – повышение производительности реактора за счет стабилизации температурного режима внутри реактора.
В предлагаемых изобретениях достигается иной технический результат – предотвращение коксообразования в реакторе за счет создания защитной пленки на внутренней стенке реактора из компонентов реакционной массы с температурой застывания выше 250°С, поэтому можно сделать вывод о соответствии критерию «изобретательский уровень».
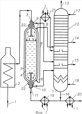
На фиг.1 приведена предлагаемая установка – первый вариант, на фиг.2 – второй вариант, на фиг.3 – сечение по А-А фиг.2.
Установка для проведения термодеструкции нефтяных остатков по первому варианту включает линии подачи сырья 1, печь для нагрева сырья до заданной температуры 2, патрубок 3 ввода термообработанного сырья в реактор, реактор 4, рубашку охлаждения 5 с патрубками 6, 7 ввода и вывода охлаждающего агента, соответственно, линию циркуляционного орошения 8, патрубок 9 вывода паровой части термопродукта, патрубок 10 вывода остатка (жидкой части) продуктов термодеструкции, патрубок 11 ввода «холодной струи» в реактор, ректификационную колонну 12, линии вывода 13, 14, 15, 16 продуктов термодеструкции сырья из колонны, линию 17 подачи острого орошения (бензина), линию 18 ввода водяного пара, теплообменники сырья – холодильники 19, 20, 21, соответственно, «холодной струи», кубового остатка, циркуляционного орошения колонны (охлаждающего агента). Рубашка охлаждения 5 снабжена линзовыми компенсаторами 22.
Предлагаемая установка (первый вариант) работает следующим образом.
Сырье – нефтяные остатки 1, предварительно подогретое в теплообменниках 19, 20, 21, поступает в печь 2, где оно нагревается за счет сжигания топлива до температуры 460-550°С. Термообработанное сырье по патрубку 3 вводят в верхнюю часть реактора 4 с рубашкой охлаждения 5 для продолжения термодеструкции нефтяных остатков за счет тепла, аккумулированного в печи 2.
Паровую часть по патрубку 9 выводят из верхней части реактора 4 в ректификационную колонну 12 на разделение.
Жидкая фаза термопродукта, опускаясь в нижнюю часть реактора, подвергается дальнейшей термодеструкции. Для прекращения процесса крекинга сырья и закоксовывания трубопроводов и аппаратов в нижнюю часть реактора 4 по патрубку 11 вводят «холодную струю». Смесь продуктов термодеструкции сырья и «холодной струи» выводят по патрубку 10 из реактора 4 и подают на разделение в ректификационную колонну 12. Закокосовывание внутренней поверхности реактора 4 предотвращают путем ее охлаждения до температуры ниже предельной температуры крекинга сырья (около 250°С). При этом компоненты реакционной массы, имеющие температуру застывания выше 250°С, прилипают к «холодной» стенке и тем самым защищают ее от закоксовывания. Для охлаждения стенок реактора 4 его снабжают рубашкой 5, в которую по патрубку 6 вводят охлаждающий агент – циркуляционное орошение 8 колонны 12. Регулирование температуры циркуляционного орошения производят путем передачи тепла от циркуляционного орошения 8 к сырью 1 в теплообменнике 21. Вывод охлаждающего агента из рубашки 5 в колонну 12 производят через патрубок 7. В колонне 12 в процессе ректификации получают продукты: газ, бензин, воду 13, легкий 14 и тяжелый 15 газойли, кубовый остаток 16 (компонент котельного топлива, «холодная струя»). Для обеспечения процесса ректификации в колонну 12 подают острое орошение (бензин) 17 и водяной пар 18. Температуру кубового остатка 16 снижают в теплообменниках (холодильниках) 19, 20 путем подачи тепла от кубового остатка 16 сырью 1 с последующим использованием части кубового остатка в качестве «холодной струи».
Установка по второму варианту включает линии подачи сырья 1, печь для нагрева сырья 2, патрубок 3 ввода термообработанного сырья в реактор, реактор 4, рубашку охлаждения 5 с патрубками 6, 7 ввода и вывода охлаждающего агента, соответственно, линию циркуляционного орошения 8, патрубок 9 вывода термопродукта из реактора 4, патрубок 10 ввода «холодной струи» в реактор. Реактор 4 снабжен тарелками 11 провального типа. Далее установка содержит ректификационную колонну 12 с линиями вывода 13, 14, 15, 16 продуктов термодеструкции из колонны, линию 17 подачи острого орошения (бензина), линию 18 ввода водяного пара, теплообменники сырья – холодильники 19, 20, 21. Рубашка охлаждения 5 снабжена линзовыми компенсаторами 22.
Установка по второму варианту работает следующим образом.
Сырье – нефтяные остатки 1 после подогрева в теплообменниках 19, 20, 21 и нагрева до заданной температуры в печи 2 подают в реактор 4 по патрубку 3, размещенному в нижней части реактора. Реакционная смесь равномерно распределяется по объему реактора 4 с помощью тарелок 11. Заданная величина площади проходного сечения тарелки, составляющая 8-10% от ее общей площади, а также определенные расстояния между тарелками (не более 1 м) снижают вероятность образования застойных зон и, следовательно, коксования в объеме жидкой фазы. Реакционная масса, заполняя весь объем реактора, поднимается из нижней в верхнюю его часть. Аналогично первому варианту в реактор 4 подают «холодную струю», но по патрубку 10, размещенному в верхней части реактора 4, охлаждение с помощью рубашки 5 проводится подобно первому варианту. Из колонны 12 выводят смесь газа, бензина и воды 13, легкий 14 и тяжелый 15 газойли, кубовый остаток 16 (компонент котельного топлива, «холодная струя»).
Предлагаемые изобретения позволяют предотвратить коксоотложения в реакторе и сопутствующем оборудовании и, как следствие, улучшить качество получаемых продуктов и повысить производительность установки.
Формула изобретения
1. Установка для проведения термодеструкции нефтяных остатков, включающая печь для нагрева сырья, реактор с патрубками ввода сырья и вывода термопродукта в ректификационную колонну с линиями вывода разделенных продуктов, отличающаяся тем, что реактор выполнен с рубашкой охлаждения, патрубки ввода и вывода охлаждающего агента которой связаны с линией циркуляционного орошения ректификационной колонны и дополнительно снабжен патрубком для ввода «холодной струи», размещенным в нижней части реактора, при этом патрубок ввода сырья расположен в верхней части реактора.
2. Установка по п.1, отличающаяся тем, что патрубок ввода «холодной струи» связан с линией вывода кубового остатка ректификационной колонны.
3. Установка по п.1, отличающаяся тем, что рубашка охлаждения реактора снабжена линзовыми компенсаторами.
4. Установка для проведения термодеструкции нефтяных остатков, включающая печь для нагрева сырья, реактор с патрубками ввода сырья и вывода термопродукта в ректификационную колонну с линиями вывода разделенных продуктов, отличающаяся тем, что реактор выполнен с рубашкой охлаждения, патрубки ввода и вывода охлаждающего агента которой связаны с линией циркуляционного орошения ректификационной колонны и дополнительно снабжен патрубком для ввода «холодной струи», размещенным в верхней части реактора, при этом патрубок ввода сырья расположен в нижней части реактора, а внутри реактора размещены тарелки провального типа.
5. Установка по п.4, отличающаяся тем, что патрубок ввода «холодной струи» связан с линией вывода кубового остатка ректификационной колонны.
6. Установка по п.4, отличающаяся тем, что рубашка охлаждения реактора снабжена линзовыми компенсаторами.
7. Установка по п.4, отличающаяся тем, что площадь проходного сечения провальной тарелки составляет 8-10% от ее общей площади.
8. Установка по п.7, отличающаяся тем, что расстояние между тарелками не превышает 1 м.
РИСУНКИ
|
|