|
|
(21), (22) Заявка: 2005105043/04, 23.07.2003
(24) Дата начала отсчета срока действия патента:
23.07.2003
(30) Конвенционный приоритет:
24.07.2002 DE 10233621.0
(43) Дата публикации заявки: 10.07.2005
(46) Опубликовано: 10.03.2008
(56) Список документов, цитированных в отчете о поиске:
US 4049742 A, 20.09.1977. US 4277313 A, 07.07.1981. US 6337429 B1, 08.01.2002. WO 01/85656 A1, 15.11.2001. WO 95/15934 A1, 15.06.1995. RU 2132838 C1, 10.07.1999.
(85) Дата перевода заявки PCT на национальную фазу:
24.02.2005
(86) Заявка PCT:
EP 03/08044 (23.07.2003)
(87) Публикация PCT:
WO 2004/011407 (05.02.2004)
Адрес для переписки:
103064, Москва, ул. Казакова,16, НИИР Канцелярия “Патентные поверенные Квашнин, Сапельников и партнеры”, В.П.Квашнину
|
(72) Автор(ы):
ХИЛЛ Томас (DE), КИНДЛЕР Клаус (DE), ХАЙДА Бернд (DE)
(73) Патентообладатель(и):
БАСФ Акциенгезелльшафт (DE)
|
(54) СПОСОБ ПЕРЕРАБОТКИ СЫРОГО 1,3-БУТАДИЕНА
(57) Реферат:
Использование: нефтехимия. Сущность: проводят непрерывное разделение смеси углеводородов, полученной экстрактивной дистилляцией С4-фракции (С4) с использованием селективного растворителя, которая включает углеводороды из С4-фракции (С4), которые лучше растворимы в селективном растворителе, чем бутаны и бутены. Смесь подают на первую дистилляционную колонну, где ее разделяют на головной поток, включающий 1,3-бутадиен, пропин, в случае необходимости, другие низкокипящие компоненты и, в случае необходимости, воду, и нижний поток, содержащий 1,3-бутадиен, 1,2-бутадиен, ацетилены и, в случае необходимости, другие высококипящие компоненты. Соотношение 1,3-бутадиена в нижнем потоке из первой дистилляционной колонны, регулируемом таким образом, чтобы оно было достаточно высоким для разведения ацетиленов до выхода за пределы интервала, в котором существует опасность самопроизвольного разложения, и головной поток из первой дистилляционной колонны подают во вторую дистилляционную колонну и в ней разделяют на головной поток, содержащий пропин, в случае необходимости, другие низкокипящие компоненты и, в случае необходимости, воду, и нижний поток, содержащий чистый 1,3-бутадиен. Технический результат: упрощение процесса, снижение энергозатрат. 3 з.п. ф-лы, 1 ил.
Настоящее изобретение относится к способу переработки смеси углеводородов, которая была получена экстрактивной дистилляцией C4-фракции.
Термином «С4-фракция» обозначаются смеси углеводородов, имеющих преимущественно четыре атома углерода в молекуле. С4-фракции получают, например, при производстве этилена и/или пропилена термическим крекингом, обычно в паровых крекинг-установках или на FCC-установках (FCC – жидкого каталитического крекинга) нефтяной фракции, такой как сжиженный нефтяной газ, легкий бензин или газойль. С4-фракции также получают при каталитическом дегидрировании н-бутана и/или н-бутена. C4-фракции обычно содержат бутаны, н-бутен, изобутен, 1,3-бутадиен вместе с небольшими количествами других углеводородов, включая бутины, в частности 1-бутин (этилацетилен) и бутенин (винилацетилен). Содержание 1,3-бутадиена в С4-фракциях из паровых крекинг-установок обычно составляет 10-80 вес.%, предпочтительно 20-70 вес.%, в особенности 30-60 вес.%, в то время как содержание винилацетилена и этилацетилена обычно не превышает 5 вес.%.
Разделение С4-фракций представляет собой сложную дистилляционную проблему вследствие небольших различий в относительной летучести компонентов. Поэтому разделение проводят экстрактивной дистилляцией, т.е. дистилляцией с добавлением селективного растворителя (также обозначаемого как экстрагирующий агент), который имеет точку кипения выше, чем точка кипения смеси, которая подлежит разделению, и увеличивает различия в относительной летучести компонентов, которые подвергают разделению.
Известно много способов разделения С4-фракций путем экстрактивной дистилляции с использованием селективных растворителей. Общим для всех этих способов является то, что газообразную С4-фракцию, которую подвергают разделению, приводят в противоточный контакт с жидким селективным растворителем в подходящих термодинамических условиях, обычно при низких температурах, зачастую в интервале 20-80°С, при умеренном давлении, часто при атмосферном давлении до 6 бар, так что селективный растворитель загружают компонентами С4-фракции, к которым он имеет относительно высокое сродство, в то время как компоненты, к которым селективный растворитель имеет более низкое сродство, остаются в газовой фазе и удаляются через верх колонны. Затем на одной или нескольких последующих стадиях процесса компоненты фракционно удаляют из потока, содержащего растворитель, в подходящих термодинамических условиях, т.е. при повышенной температуре и/или сниженном давлении по сравнению с первой стадией процесса.
Экстрактивную дистилляцию С4-фракций часто проводят таким образом, что компоненты С4-фракции, к которым селективный растворитель имеет более низкое сродство, чем к 1,3-бутадиену, в частности бутаны и бутены, остаются по существу в газовой фазе, в то время как 1,3-бутадиен и другие углеводороды, к которым селективный растворитель имеет более высокое сродство, чем к 1,3-бутадиену, по существу полностью абсорбируются селективным растворителем. Газовая фаза удаляется через верх колонны и зачастую упоминается как рафинат 1. Такой процесс описан, например, в DE-A 19818810, где рафинат 1 представляет собой поток, обозначенный как Gbc, который удаляется через верх колонны экстрактивной дистилляции E I на фиг.1 и 2.
Переработка нагруженного 1,3-бутадиеном, а также другими углеводородами, для которых селективный растворитель имеет более высокое сродство, чем для 1,3-бутадиена, селективного растворителя осуществляется, как правило, посредством фракционированной десорбции, причем абсорбированные в селективном растворителе углеводороды десорбируются в обратной последовательности их сродства к селективному растворителю.
Подобный способ известен, например, из DE-A 19818810, согласно которому селективный растворитель, нагруженный 1,3-бутадиеном и прочими С4-углеводородами и обозначаемый как так называемый экстракционный раствор ad, переводится на стадии способа 3 в зону десорбции со сниженным по отношению к зоне экстракции давлением и/или повышенной температурой и при этом из экстракционного раствора ad десорбируется 1,3-бутадиен, причем основная часть прочих С4-углеводородов остается в жидкой фазе. При этом отводятся два отдельных потока, а именно 1,3-бутадиен как поток сырого 1,3-бутадиена и нагруженный прочими С4-углеводородами селективный растворитель в качестве экстракционного раствора d. Из экстракционного раствора d во второй зоне десорбции с пониженным по отношению к первой зоне десорбции давлением и/или повышенной температурой и с градиентом давления и/или температуры фракционированно десорбируются оставшийся 1,3-бутадиен и прочие С4-углеводороды, по меньшей мере, в качестве двух раздельных фракций.
Согласно существующему мнению до сих пор было невозможно отделять дистилляцией ацетилены и 1,2-бутадиен от сырого 1,3-бутадиена с экономически приемлемыми затратами. Особенно проблематичным при этом было малое различие в относительной летучести, а также высокая реакционная способность образующих поток сырого 1,3-бутадиена компонентов.
Поэтому задачей настоящего изобретения является разработка способа, который с приемлемыми экономическими затратами обеспечивает дистилляционное отделение ацетиленов и 1,2-бутадиена от потока сырого 1,3-бутадиена и при этом обеспечивает надежное проведение способа. Способ согласно изобретению позволяет дистилляционную переработку потоков сырого 1,3-бутадиена без сложных предварительных стадий отделения ацетиленов экстрактивной дистилляцией с использованием селективного растворителя.
Задача решается непрерывным способом разделения смеси углеводородов, которая была получена экстрактивной дистилляцией С4-фракции с использованием селективного растворителя и которая включает углеводороды из C4-фракции, которые лучше растворимы в селективном растворителе, чем бутаны и бутены, который отличается тем, что смесь подают на первую дистилляционную колонну, где она разделяется на головной поток, включающий 1,3-бутадиен, пропин, в случае необходимости, другие низкокипящие компоненты и, в случае необходимости, воду, а также нижний поток, включающий 1,3-бутадиен, 1,2-бутадиен, ацетилены, а также, в случае необходимости, другие высококипящие компоненты, причем доля 1,3-бутадиена в нижнем потоке дистилляционной колонны отрегулирована таким образом, что она, по меньшей мере, настолько высока, что он разбавляет ацетилены вне зоны опасности самопроизвольного разложения и головной поток первой дистилляционной колонны подают ко второй дистилляционной колонне и во второй дистилляционной колонне разделяют на головной поток, включающий пропин, в случае необходимости, другие высококипящие компоненты и, в случае необходимости, воду и нижний поток, включающий очищенный 1,3-бутадиен.
Таким образом, согласно изобретению поток сырого 1,3-бутадиена подвергают нечеткому по отношению к 1,3-бутадиену дистилляционному разделению в дистилляционной колонне, причем ацетилены и 1,2-бутадиен отводятся как нижний поток, который разбавлен 1,3-бутадиеном вне зоны опасности самопроизвольного разложения. Впрочем бутадиен, вместе с пропином, в случае необходимости, с другими низкокипящими компонентами и, в случае необходимости, с водой отводятся в качестве головного потока.
Головной поток дистилляционной колонны предпочтительно конденсируют в конденсаторе в верхней части колонны, часть конденсата возвращают в колонну, а остатки подают во вторую дистилляционную колонну, в которой их разделяют на головной поток, содержащий пропин и возможно другие низкокипящие соединения, и нижний поток, содержащий чистый 1,3-бутадиен.
В обеих вышеописанных дистилляционных колоннах, в принципе, можно использовать все внутренние разделительные элементы, обычно используемые для дистилляции бутадиена. Благодаря сниженной тенденции к засорению особенно пригодными являются тарелки.
Состав потока сырого 1,3-бутадиена зависит от состава С4-фракции, которая была подана на экстрактивную дистилляцию, и включает, как правило, все ацетилены, весь 1,2-бутадиен, от 30 до 70% цис-2-бутена, а также, по меньшей мере, 99% 1,3-бутадиена из С4-фракции.
При этом более низкокипящие, чем 1,3-бутадиен, углеводороды обозначаются как низкокипящие компоненты и более высококипящие, чем 1,3-бутадиены, углеводороды обозначаются как высококипящие компоненты. Типичным низкокипящим компонентом является пропин, высококипящими компонентами являются углеводороды с тройной связью, далее обозначаемые как ацетилены, в частности 1-бутин (этилацетилен) и бутенин (винилацетилен).
Термин “в случае необходимости”, используемый в настоящем описании в контексте состава потоков, получаемых при переработке дистилляцией, означает, что компоненты, описываемые таким образом, могут присутствовать в соответствующих потоках, в зависимости от конкретных условий проведения процесса, в частности в зависимости от состава используемой С4-фракции, используемого растворителя и/или используемых вспомогательных веществ.
Отделение ацетиленов и 1,2-бутадиена от сырого 1,3-бутадиена дистилляцией представляет собой сложную проблему вследствие их высокой реакционной способности и незначительных различий в относительной летучести компонентов, составляющих поток сырого 1,3-бутадиена. Однако неожиданно было обнаружено, что ацетилены и 1,2-бутадиен могут быть разделены дистилляцией с допустимым энергопотреблением и в то же самое время надежность процесса может быть обеспечена, если ацетилены и 1,2-бутадиен отводят в виде нижнего потока из дистилляционной колонны и, таким образом, они разбавляются 1,3-бутадиеном для выхода за пределы интервала, в котором существует опасность самопроизвольного разложения. Для этой цели обычно достаточным бывает разбавление нижнего потока до значения ниже 30 мол.% ацетиленов. С4-фракции, как правило, имеют состав, следующего интервала вес.%:
| 1,3-бутадиен |
от 10 до 80 |
| бутаны |
от 10 до 60 |
| бутены |
от 5 до 40 |
| прочие С4-углеводороды и |
от 0,1 до 5 |
| прочие углеводороды, в частности |
|
| С3– и С5-углеводороды |
от 0 до максимально 5 |
Обозначение «чистый 1,3-бутадиен» относится к потоку с содержанием, по меньшей мере, 99 вес.% 1,3-бутадиена, предпочтительно, по меньшей мере, 99,6 вес.% 1,3-бутадиена, остаток примеси, в частности 1,2-бутадиен и цис-2-бутен.
В предпочтительном варианте процесса нижний поток из первой дистилляционной колонны и головной поток из второй дистилляционной колонны подают в колонну реакционной дистилляции, в которой проводят гетерогенно катализируемое селективное гидрирование водородом углеводородов, содержащих тройные связи, до углеводородов, содержащих двойные связи, с получением верхнего потока, содержащего 1,3-бутадиен, бутаны, бутены и остатки негидрированных углеводородов, имеющих тройные связи, и нижнего потока, содержащего высококипящие соединения, который отводят.
В частности, винилацетилен селективно гидрируют до полезного продукта 1,3-бутадиена.
Головной поток из колонны реакционной дистилляции или ее частичный поток предпочтительно рециркулируют в колонну экстрактивной дистилляции. Однако возможно также отбирать поток из верхней части колонны реакционной дистилляции или его субпоток из установки и перерабатывать его в дальнейшем, например, в крекинг-установке или сжигать его.
Предпочтительный вариант способа с селективным гидрированием нижнего потока ацетиленов при экстрактивной дистилляции имеет технологические преимущества, в частности, в отношении возможного выбора катализатора, поскольку селективное гидрирование проводят на стадии переработки, на которой фактически в реакционной смеси не остается никакого селективного растворителя. Если, с другой стороны, селективное гидрирование было бы проведено, как в известном способе, в колонне экстрактивной дистилляции и, таким образом, в присутствии селективного растворителя, то выбор катализатора был бы значительно ограничен селективным растворителем, что могло бы сделать гидрирование менее селективным. В отличие от этого селективное гидрирование нижнего потока при экстрактивной дистилляции не так подвержено ограничениями в отношении выбора катализатора.
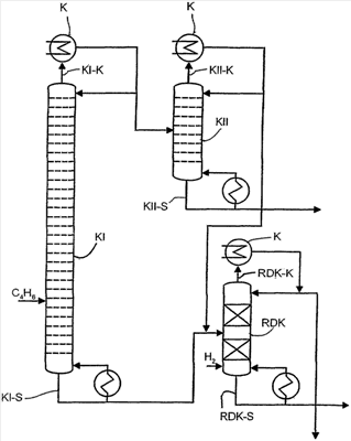
Изобретение поясняется далее с помощью схемы и примера выполнения.
На чертеже схематически показана установка для дистилляционного разделения потока сырого 1,3-бутадиена.
Поток сырого 1,3-бутадиена, обозначаемый как С4Н6, подают в первую дистилляционную колонну K I, где его разделяют на головной поток K I-K и нижний поток K I-S. Головной поток K I-K конденсируют в конденсаторе K в верхней части колонны, часть конденсата возвращают в колонну, а остаток отводят и направляют во вторую дистилляционную колонну K II. Нижний поток K I-S отводят и подают в колонну реакционной дистилляции RDK.
Во второй дистилляционной колонне K II конденсат из первой дистилляционной колонны разделяют с получением головного потока К II-K, который конденсируют в конденсаторе K, часть конденсата возвращают в виде обратного потока в колонну, а остаток таким же образом направляют в колонну реакционной дистилляции RDK. Нижний поток K II-S из второй дистилляционной колонны К II отводят в виде потока чистого 1,3-бутадиена.
В колонне реакционной дистилляции RDK углеводороды, содержащие тройные связи, селективно гидрируют водородом до углеводородов, содержащих двойные связи, в присутствии гетерогенного катализатора. Головной поток RDK-K отводят, конденсируют в конденсаторе К, часть конденсата возвращают в колонну реакционной дистилляции RDK, а остаток, как показано на чертеже, преимущественно рециркулируют в колонну экстрактивной дистилляции.
Нижний поток из колонны реакционной дистилляции, а именно поток RDK-S, который содержит преимущественно высококипящие компоненты, отводят из установки и преимущественно сжигают.
Пример: дистилляционная переработка сырого 1,3-бутадиена
Поток сырого 1,3-бутадиена С4Н6, который получают экстрактивной дистилляцией из С4-фракции, подводят к дистилляционной колонне с 80 теоретическими тарелками на 25-ю тарелку, при расчете тарелок снизу вверх. Поток сырого 1,3-бутадиена С4Н6 имел следующий состав, вес.%:
| пропин |
0,11 |
| 1,3-бутадиен |
98,58 |
| 1,2-бутадиен |
0,30 |
| 1-бутин |
0,30 |
| винилацетилен |
0,56 |
| вода |
0,15 |
Его разделяют в первой дистилляционной колонне K I на головной поток K I-K со следующим составом, вес.%:
| пропин |
0,11 |
| 1,3-бутадиен |
99,73 |
| вода |
0,16 |
а также на нижний поток K I-S со следующим составом, вес.%:
| цис-бутен-2 |
0,52 |
| 1,3-бутадиен |
40,0 |
| 1,2-бутадиен |
15,1 |
| 1-бутин |
13,75 |
| винилацетилен |
29,17 |
| 3-метилбутен-1 |
0,98 |
| 2-метилбутен-2 |
0,48 |
Головной поток K I-K первой дистилляционной колонны K I разделяют на отвод (1/7 головного потока K I-K) и на рецикл (6/7 головного потока K I-K). Отвод подают ко второй дистилляционной колонне K II с 25 теоретическими тарелками, на 14-ю разделительную тарелку и разделяют на головной поток K II-K со следующим составом, вес.%:
| пропин |
79,52 |
| 1,3-бутадиен |
20,0 |
| вода |
0,48 |
а также на нижний поток K II-S, включающий чистый 1,3-бутадиен с содержанием 1,3-бутадиена 99,99%. Нижний продукт K II-S отводят как полезный продукт.
По сравнению с известным способом получения 1,3-бутадиена из С4-фракции с отделением ацетиленов от 1,3-бутадиена экстрактивной дистилляцией с селективным растворителем настоящим способом достигается экономия энергии приблизительно 9%. Кроме того, установка благодаря упразднению колонны для отделения ацетиленов от 1,3-бутадиена экстрактивной дистилляцией упрощается и снижаются расходы на капиталовложения и экономится занимаемая площадь.
Формула изобретения
1. Способ непрерывного разделения смеси углеводородов, полученной экстрактивной дистилляцией С4-фракции (С4) с использованием селективного растворителя, которая включает углеводороды из С4-фракции (С4), которые лучше растворимы в селективном растворителе, чем бутаны и бутены, отличающийся тем, что смесь подают на первую дистилляционную колонну, где ее разделяют на головной поток, включающий 1,3-бутадиен, пропин, в случае необходимости, другие низкокипящие компоненты и, в случае необходимости, воду, и нижний поток, содержащий 1,3-бутадиен, 1,2-бутадиен, ацетилены и, в случае необходимости, другие высококипящие компоненты, при соотношении 1,3-бутадиена в нижнем потоке из первой дистилляционной колонны, регулируемом таким образом, чтобы оно было достаточно высоким для разведения ацетиленов до выхода за пределы интервала, в котором существует опасность самопроизвольного разложения, и головной поток из первой дистилляционной колонны подают во вторую дистилляционную колонну и в ней разделяют на головной поток, содержащий пропин, в случае необходимости, другие низкокипящие компоненты и, в случае необходимости, воду, и нижний поток, содержащий чистый 1,3-бутадиен.
2. Способ по п.1, отличающийся тем, что доля 1,3-бутадиена в нижнем потоке первый дистилляционной колонны выбрана таким образом, что доля ацетиленов в нижнем потоке составляет менее 30 мол.%.
3. Способ по п.1, отличающийся тем, что нижний поток из первой дистилляционной колонны и головной поток из второй дистилляционной колонны подают в колонну реакционной дистилляции, в которой проводят гетерогенно катализируемое селективное гидрирование водородом углеводородов, содержащих тройные связи, до углеводородов, содержащих двойные связи, с частичной конверсией ацетиленов, с получением головного потока, содержащего 1,3-бутадиен, бутаны, бутены и негидрированные углеводороды, имеющие тройные связи, и нижнего потока, содержащего высококипящие соединения, который отводят.
4. Способ по одному из пп.1 – 3, отличающийся тем, что головной поток из реакционной дистилляционной колонны или его частичный поток рециркулируют на экстракционную дистилляцию.
РИСУНКИ
|
|