|
|
(21), (22) Заявка: 2005108301/15, 24.03.2005
(24) Дата начала отсчета срока действия патента:
24.03.2005
(43) Дата публикации заявки: 10.09.2006
(46) Опубликовано: 10.03.2008
(56) Список документов, цитированных в отчете о поиске:
RU 5586 U1, 16.12.1997. SU 1386578 A1, 07.04.1988. SU 850597 A, 30.07.1981. US 2004055961 A, 25.03.2004. US 2005040119 A, 24.02.2005.
Адрес для переписки:
117342, Москва, ул. Миклухо-Маклая, 65, корп.4, кв.34, пат.пов. И.Л.Стояченко, рег. № 23
|
(72) Автор(ы):
Батин Геннадий Леонидович (RU), Бриллиантов Василий Константинович (RU), Мишуров Евгений Евгеньевич (RU)
(73) Патентообладатель(и):
Закрытое акционерное общество “Экологический промышленно-финансовый концерн “МОЙДОДЫР” (RU)
|
(54) УСТАНОВКА ДЛЯ ОЧИСТКИ МОЮЩИХ И ОБЕЗЖИРИВАЮЩИХ РАСТВОРОВ
(57) Реферат:
Изобретение относится к очистке растворов от нефтепродуктов и взвешенных веществ и может использоваться при подготовке заготовок и металлоконструкций к порошковой окраске. Установка содержит гидроциклон, нефтеотделитель, тонкослойный полочный отстойник, фильтр доочистки, сообщенный с резервуаром очищенного раствора. Гидроциклон оборудован трубопроводом подачи раствора на очистку и сообщен трубопроводом отвода раствора с тонкослойным полочным отстойником, а трубопроводом отвода обводненных нефтепродуктов – с нефтеотделителем. Тонкослойный полочный отстойник сообщен трубопроводом отвода частично очищенного раствора с фильтром доочистки. Нефтеотделитель сообщен трубопроводом отвода отстоявшегося раствора с тонкослойным полочным отстойником. Гидроциклон, тонкослойный полочный отстойник и фильтр доочистки сообщены трубопроводами сброса шлама со шламосборником. Технический результат состоит в повышении степени очистки моющих и обезжиривающих растворов. 3 з.п. ф-лы, 3 ил.
Настоящее изобретение предназначено для очистки моющих растворов и растворов типа КФА-8, обеспечивающих обезжиривание с одновременным фосфатированием, используемых для подготовки заготовок и металлоконструкций к порошковой окраске. Очистка осуществляется от нефтепродуктов и взвешенных веществ, в том числе фосфатного шлама.
Известна установка, которая может применяться для очистки моющих и обезжиривающих растворов (Патент РФ N 2047567, 1991), содержащая моечную машину, фильтр грубой очистки, отстойник из двух секций с лабиринтными отделителями масла, ультрафильтрационную установку, узел обработки шлама, технологические трубопроводы.
Недостатком известной установки является то, что она не обеспечивает достаточную полноту очистки и использование отходов при очистке моющих и обезжиривающих растворов, в частности, образующихся после мойки автомобилей.
Задачей настоящего изобретения является повышение степени очистки моющих и обезжиривающих растворов, а также повышение эффективности использования отходов.
Задача решена путем создания установки, содержащей гидроциклон, нефтеотделитель, тонкослойный полочный отстойник, фильтр доочистки, сообщенный с резервуаром очищенного раствора, в которой гидроциклон оборудован трубопроводом подачи раствора на очистку и сообщен трубопроводом отвода раствора с тонкослойным полочным отстойником, а трубопроводом отвода обводненных нефтепродуктов с нефтеотделителем, тонкослойный полочный отстойник сообщен трубопроводом отвода частично очищенного раствора с фильтром доочистки, нефтеотделитель сообщен трубопроводом отвода отстоявшегося раствора с тонкослойным полочным отстойником, при этом гидроциклон, тонкослойный полочный отстойник и фильтр доочистки сообщены трубопроводами сброса шлама со шламосборником.
Указанная совокупность признаков обеспечивает решение поставленной выше задачи.
Целесообразно, чтобы тонкослойный полочный отстойник в верхней части был оборудован карманом-пеносборником и сообщен дополнительным трубопроводом с трубопроводом подачи раствора на очистку, при этом выходной участок дополнительного трубопровода выполнен перфорированным и расположен в верхней части емкости тонкослойного полочного отстойника.
Наличие кармана-пеносборника в верхней части емкости тонкослойного полочного отстойника обеспечивает большую полноту удаления примесей.
Целесообразно, чтобы резервуар очищенной воды был оборудован, по меньшей мере, одним электронагревателем с регулятором температуры.
Наличие электронагревателя обеспечивает поддержание температуры очищенной воды на заданном уровне.
Целесообразно, чтобы резервуар очищенного раствора был оборудован трубопроводом отвода очищенного раствора и трубопроводом отвода избыточного раствора, сообщенным с аккумулирующей емкостью.
Наличие трубопровода отвода избыточного раствора исключает превышение расчетного уровня раствора в установке.
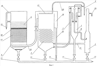
На Фиг.1 показана принципиальная схема установки, на Фиг.2 – общий вид установки, на Фиг.3 – вид сверху.
Установка содержит гидроциклон 1, нефтеотделитель 2, тонкослойный полочный отстойник 3, фильтр доочистки 4 с резервуаром очищенного раствора 5. Гидроциклон 1 оборудован трубопроводом 6 подачи загрязненного раствора на очистку и сообщен трубопроводом 7 отвода раствора с тонкослойным полочным отстойником 3, а трубопроводом 8 отвода обводненных нефтепродуктов с нефтеотделителем 2. Нефтеотделитель 2 сообщен трубопроводом 9 отвода отстоявшегося раствора с тонкослойным полочным отстойником 3, а тонкослойный полочный отстойник 3 в свою очередь сообщен трубопроводом 10 отвода раствора с фильтром доочистки 4. Для сброса шлама, накопленного во время работы установки, гидроциклон 1, тонкослойный полочный отстойник 3, фильтр доочистки 4 и нефтеотделитель 2 сообщены системой трубопроводов 11 со шламосборником (на чертежах не показан). Для возможного подогрева раствора в резервуаре очищенного раствора 5 установлен электронагреватель (ТЭН) 12 с регулятором температуры 13 и блоком управления 14. Для забора очищенного раствора на технологическую установку предназначен трубопровод 15, для отвода избыточного раствора из резервуара очищенного раствора 5 в случае превышения расчетного уровня раствора предусмотрена переливная труба 16, сообщенная с аккумулирующей ванной (на чертежах не показана) или с системой трубопроводов 11. Фильтр доочистки 4 заполнен слоем плавающих гранул вспененного полистирола 17 диаметром 3-5 мм, над которым расположена решетка 18. Тонкослойный полочный отстойник 3 может быть выполнен с карманом-пеносборником 19, расположенным в верхней части тонкослойного полочного отстойника 3. Тонкослойный полочный отстойник 3 сообщен дополнительным трубопроводом 20 с трубопроводом 6 подачи раствора на очистку, при этом выходной участок 21 дополнительного трубопровода 20 выполнен перфорированным и расположен в верхней части тонкослойного полочного отстойника 3, при этом перфорации на выходном участке 21 направлены в сторону кармана-пеносборника 19. В дополнительном трубопроводе 20 может быть установлен сетчатый фильтр (на чертеже не показан). Карман-пеносборник 19 сообщен с нефтеотделителем 2 или с отдельной емкостью для сбора нефтепродуктов (на чертеже не показана) трубопроводом 22.
Установка выполнена сварной из листовой стали толщиной 3-4 мм, защищена от коррозии, снабжена крышками и лестницей. Рама установки состоит из двух частей, соединяемых болтами, что облегчает транспортирование и монтаж установки. Технологические трубопроводы выполнены из цельных стальных труб с антикоррозийным покрытием, а также из шлангов, изготовленных из полимерных материалов.
Установка работает следующим образом.
Установку подключают к электросети с напряжением 380 вольт. При работе установки очищаемый раствор по трубопроводу 6 подается в гидроциклон 1, где происходит отделение грубодисперсных частиц взвеси, затем по трубопроводу 7 самотеком переливается в тонкослойный отстойник 3, из которого частично очищенный раствор по трубопроводу 10 поступает в фильтр доочистки 4, где фильтруется через слой плавающих гранул вспененного полистирола 17 диаметром 3-5 мм, над которым расположена решетка 18, не позволяющая гранулам вспененного полистирола всплывать на поверхность. Очищенный раствор собирается в резервуаре 5, расположенном над слоем плавающих гранул вспененного полистирола 17 и решеткой 18. Отвод очищенного раствора на технологическую установку осуществляют по трубопроводу 15. Качество очищенного раствора оценивается визуально. Рекомендуется контролировать качество очищенного раствора путем регулярного (ежемесячного) отбора проб раствора и их лабораторного анализа.
Отделение нефтепродуктов в установке осуществляется в гидроциклоне 1 путем отвода нефтеводяной эмульсии с поверхности гидроциклона 1 по трубопроводу 8 в нефтеотделитель 2. Отделившиеся нефтепродукты периодически отводятся из нефтеотделителя 2 по трубопроводу 23 в сборную емкость (на чертеже не показана), а из кармана-пеносборника 19 по трубопроводу 22 в нефтеотделитель 2 или в сборную емкость.
При необходимости осуществляется подогрев очищенного раствора в резервуаре 5 с помощью ТЭНов 12 до температуры 45°С. Поддержание заданной температуры производится с помощью терморегулятора 13, который при достижении заданной температуры раствора автоматически отключает ТЭНы и повторно включает их при понижении температуры. Предусмотрен также ручной режим включения и отключения ТЭНов.
Шлам, накопленный во время работы установки в гидроциклоне 1, нефтеотделителе 2, тонкослойном отстойнике 3 и фильтре доочистки 4 периодически отводится вместе с частью раствора в систему трубопроводов 11 и сбрасывается в шламосборник (шламосборный колодец). Осадок из шламосборника периодически утилизируется.
Промывка гидроциклона 1 и тонкослойного отстойника 3 осуществляется находящимся в них раствором, а фильтрующей плавающей загрузки в фильтре доочистки 4 – раствором из резервуара очищенного раствора 5, который перед промывкой фильтра заполняется до максимального расчетного уровня. Во время промывки гидроциклона 1 и тонкослойного отстойника 3 прекращается подача очищаемого раствора. Продолжительность работы тонкослойного отстойника 3 и фильтра доочистки 4 между промывками зависит от режима работы и степени загрязнения поступающего раствора и может составлять от 8 часов до нескольких суток. Оптимальная продолжительность между промывками установки определяется в процессе ее эксплуатации.
В случае превышения расчетного уровня раствора в установке излишек ее отводится по переливной трубе 16 в аккумулирующую ванну или через систему трубопроводов 11 в шламосборник.
Предлагаемая установка по сравнению с известными установками того же назначения обеспечивает повторное использование моющего раствора, предотвращает загрязнение окружающей среды и экономит воду и другие компоненты, входящие в состав моющего раствора.
Формула изобретения
1. Установка для очистки моющих растворов, содержащая гидроциклон, нефтеотделитель, тонкослойный полочный отстойник, фильтр доочистки, сообщенный с резервуаром очищенного раствора, в которой гидроциклон оборудован трубопроводом подачи раствора на очистку и сообщен трубопроводом отвода раствора с тонкослойным полочным отстойником, а трубопроводом отвода обводненных нефтепродуктов с нефтеотделителем, тонкослойный полочный отстойник сообщен трубопроводом отвода частично очищенного раствора с фильтром доочистки, нефтеотделитель сообщен трубопроводом отвода отстоявшегося раствора с тонкослойным полочным отстойником, при этом гидроциклон, тонкослойный полочный отстойник и фильтр доочистки сообщены трубопроводами сброса шлама со шламосборником.
2. Установка по п.1, в которой тонкослойный полочный отстойник в верхней части оборудован карманом-пеносборником и сообщен дополнительным трубопроводом с трубопроводом подачи раствора на очистку, при этом выходной участок дополнительного трубопровода выполнен перфорированным и расположен в верхней части тонкослойного полочного отстойника.
3. Установка по п.1, в которой резервуар очищенного раствора оборудован электронагревателем с регулятором температуры.
4. Установка по п.1, в которой резервуар очищенного раствора оборудован трубопроводом отвода очищенного раствора и трубопроводом отвода избыточного раствора, сообщенным с аккумулирующей емкостью.
РИСУНКИ
|
|