|
(21), (22) Заявка: 2005103408/15, 09.07.2003
(24) Дата начала отсчета срока действия патента:
09.07.2003
(30) Конвенционный приоритет:
10.07.2002 DE 10231096.3
(43) Дата публикации заявки: 10.07.2005
(46) Опубликовано: 10.03.2008
(56) Список документов, цитированных в отчете о поиске:
DE 1536899 А, 20.08.1970. US 5427683 A, 27.06.1995. EP 1106578 A1, 13.06.2001. EP 1160204 A2, 05.12.2001. US 4654142 A, 31.03.1987. US 3442800 A, 06.05.1969. SU 1116417 A, 30.09.1984.
(85) Дата перевода заявки PCT на национальную фазу:
10.02.2005
(86) Заявка PCT:
EP 03/07404 (09.07.2003)
(87) Публикация PCT:
WO 2004/007374 (22.01.2004)
Адрес для переписки:
129010, Москва, ул. Б.Спасская, 25, стр.3, ООО “Юридическая фирма Городисский и Партнеры”, пат.пов. Е.И.Емельянову
|
(72) Автор(ы):
ХАЙТЕЛЕ Бернд (DE)
(73) Патентообладатель(и):
БРИТА ГМБХ (DE)
|
(54) ФИЛЬТРУЮЩЕЕ УСТРОЙСТВО И ВНУТРЕННЯЯ ЕМКОСТЬ ДЛЯ ФИЛЬТРУЮЩЕГО УСТРОЙСТВА
(57) Реферат:
Изобретение относится к фильтру со смесительным устройством, у которого доля смешивания при изменении всего объемного потока остается в значительной степени постоянной. Фильтрующее устройство содержит фильтрующий тракт А с первым фильтрационным участком и смесительный тракт В со вторым фильтрационным участком. Тракты соединены с приемным каналом для воды и выпускным каналом для чистой воды. Гидродинамическая характеристика компонентов смесительного тракта В согласована с гидродинамической характеристикой компонентов фильтрующего тракта А. Внутренняя емкость для фильтрующего устройства имеет первую фильтровальную камеру, в которой расположена вторая фильтровальная камера. Под камерами расположена сборная камера. Технический результат состоит в сохранении постоянной доли смешивания при изменении всего объемного потока. 2 н. и 18 з.п. ф-лы, 10 ил.
Изобретение относится к фильтрующему устройству для очистки и/или, по меньшей мере, частичной декарбонизации неочищенной воды, содержащему приемный канал для неочищенной воды и выпускной канал для чистой воды, фильтрующий тракт А, включающий в себя участок проточного канала и первый фильтрационный участок, и смесительный тракт В, включающий в себя смесительный клапан и второй фильтрационный участок, которые с одной стороны соединены через разделительное устройство с приемным каналом для неочищенной воды, а с другой стороны через соединительное устройство с выпускным каналом для чистой воды, причем оба фильтрационных участка расположены во внутренней емкости. Изобретение относится также к внутренней емкости для такого фильтрующего устройства.
Под фильтрующими устройствами понимают, в частности, декарбонизирующие фильтры, используемые в автоматах для приготовления напитков и кофе, как правило, со смесительным устройством. Речь при этом идет в большинстве случаев о больших водяных фильтрах, содержащих обычно внутреннюю емкость объемом порядка 1,5-25 л и, например, заполненных ионообменной смолой или другими веществами, которые могут отбирать у воды прежде всего карбонат и, при необходимости, в зависимости от вида применяемого фильтрующего материала также нитраты, хлориды и сульфаты или другие вещества.
Поскольку карбонатная жесткость сырой воды не всегда и везде одинакова, а, с другой стороны, карбонатная жесткость оказывает существенное влияние, в том числе, на вкус, в частности, кофе, необходимо смешивать отфильтрованную воду с неотфильтрованной сырой водой.
Из DE 19648405.7 известен присоединительный блок для больших водяных фильтров, который содержит ведущую в фильтр приемную линию и удаляющую отфильтрованную воду из фильтра выпускную линию, причем в соединяющем эти линии обводе предусмотрен клапан-дозатор, обеспечивающий целенаправленно регулируемое смешивание отфильтрованной и неотфильтрованной воды в выпускной линии.
Оказалось, однако, что подобные смесительные устройства могут обеспечивать установленную долю смешивания только тогда, когда объемный поток велик, т.е. когда объемный поток, очень сильно зависящий также от мощности всасывания потребителя, лежит в диапазоне, например, 100-300 л/ч. Под объемным потоком понимают всегда объемный поток непрерывного течения.
Если объемный поток мал, то происходит отклонение от установленного через смесительный клапан значения таким образом, что неотфильтрованная доля сырой воды возрастает по мере уменьшения объемного потока. В этом случае необходимо осуществить посредством клапана-дозатора корректировку, что непросто потому, что отклонение от установленного количества смешивания, как правило, неизвестно.
Далее известны смесительные клапаны, которые при регулировании влияют как на фильтрующий, так и на смесительный тракт. Подобные смесительные клапаны механически очень сложны и, тем самым, дороги.
Из DE 19958648.9 известно фильтрующее устройство для воды, которое содержит разделительное устройство для разделения поступающей через приемный канал сырой воды на два отдельных потока. Оба отдельных потока направляют через частично различающиеся фильтрующие тракты. При этом соотношение отдельных потоков может регулироваться клапаном.
С помощью этого фильтрующего устройства должна быть решена проблема, заключающаяся в том, что удаленная из устройства вода, с одной стороны, правда, не полностью декарбонизирована, однако, с другой стороны, все другие нежелательные вещества полностью удалены из воды. Для достижения этого один отдельный поток протекает через обычно используемую ионообменную смолу и, например, активированный уголь, а другой отдельный поток протекает, например, только через активированный уголь. Проблема изменения доли смешивания по отношению ко всему количеству при небольших расходах, однако, не затрагивается.
Из DE-AS 1536899 известен комбинированный напорный фильтр, состоящий из расположенных выше и ниже по потоку фильтров, у которого фильтрат с минимальной потерей напора отводят соразмерно всему поперечному сечению мелкозернистой фильтрующей массы без особого заборного устройства. При этом расположенный выше по потоку фильтр расположен внутри расположенного ниже по потоку фильтра. Фильтруемую жидкость подают как сверху, так и снизу, причем оба фильтруемых потока объединяются в расположенном ниже по потоку фильтре.
Задачей изобретения является поэтому создание фильтрующего устройства со смесительным устройством и внутренней емкостью, являющейся составной частью фильтрующего устройства, у которых доля смешивания при изменении всего объемного потока остается в значительной степени постоянной.
Эта задача решается посредством фильтрующего устройства, у которого определяемая функцией потери давления гидродинамическая характеристика компонентов смесительного тракта В согласована с определяемой функцией потери давления гидродинамической характеристикой компонентов фильтрующего тракта А таким образом, что, по меньшей мере, для одной доли Х смешивания при для объемных потоков от л/ч до л/ч (первый диапазон объемных потоков), по меньшей мере, для одного второго диапазона объемных потоков шириной, по меньшей мере, 5 л/ч в пределах первого диапазона объемных потоков справедливо следующее условие смешивания:

где G обозначает предельное значение условия смешивания, – падение давления по ходу фильтрующего тракта А, – падение давления по ходу смесительного тракта В соответственно в зависимости от объемных потоков в [л/мин] воды в трактах А и В.
Под функцией потери давления понимают функцию, описывающую падение давления между точками разветвления распределительного и смесительного устройств. Расположенные, в зависимости от обстоятельств, в или перед распределительным устройством дроссели или т.п. остаются при этом без внимания.
Функции потери давления складываются из соответствующих функций расположенных друг за другом компонентов в трактах А и В. При этом для упрощения, например, систему трубопроводов тракта А объединяют с участком проточного канала. На фильтрационных участках расположенные на них фильтры являются определяющими для гидродинамической характеристики и, тем самым, для соответствующей функции потери давления на этом участке.
Оказалось, что за счет согласования расчета компонентов функция рВ потери давления может быть согласована с функцией рА потери давления настолько, что при разных объемных потоках установленная доля смешивания остается, по существу, одинаковой.
При расчете компонентов трактов А и В сначала задают долю Х смешивания преимущественно соответствующей доле смешивания, с которой обычно эксплуатируют фильтрующее устройство. Эта доля смешивания называется также основным расчетом.
Далее осуществляют расчет компонентов для диапазона объемных потоков, который особенно чувствительно реагирует в отношении доли смешивания. Было установлено, что не требуется учитывать при расчете компонентов весь диапазон объемных потоков, в котором может быть использовано фильтрующее устройство. Напротив, оказалось, что для расчета достаточно первого диапазона объемных потоков, который можно определить предельными значениями л/ч и л/ч, и в пределах этого первого диапазона, по меньшей мере, одного второго диапазона объемных потоков с шириной, по меньшей мере, 5 л/ч. Величина фильтрующего устройства и здесь, в частности, величина объема внутренней емкости влияют прежде всего на гидродинамическую характеристику функции потери давления в пределах этого диапазона между и так что положение второго диапазона объемных потоков может изменяться в пределах и Когда согласование компонентов фильтрующего устройства проводилось для объемных потоков во втором диапазоне объемных потоков, оказалось, что даже при меньших объемных потоках, т.е. в диапазоне от до начала второго диапазона объемных потоков, доля смешивания при изменении всего объемного потока почти не изменяется.
Преимущественно предельное значение G лежит при 0,10, в частности при 0,05. Предпочтительные значения ширины второго диапазона объемных потоков составляют, по меньшей мере, 10 л/ч, в частности, по меньшей мере, 15 л/ч.
Преимущественно смесительный клапан и второй фильтрационный участок рассчитаны таким образом, что во втором диапазоне объемных потоков справедливо: где обозначает функцию потери давления смесительного клапана, а – функцию потери давления второго фильтрационного участка.
В этом случае гидродинамическая характеристика второго фильтрационного участка доминирует над гидродинамической характеристикой всего смесительного тракта В.
Преимущественно при согласовании компонентов исходят из смесительного клапана в полностью открытом состоянии и гидродинамическую характеристику участка проточного канала согласовывают с гидродинамической характеристикой смесительного клапана.
Расчет обоих фильтрационных участков согласовывают между собой тогда таким образом, что функции и потери давления первого и второго фильтрационных участков приближены друг к другу.
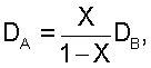
Преимущественно площади QA и QB протекания, соответственно в м2, и отрезки hA и hB пути, соответственно в м, первого и второго фильтрационных участков рассчитаны таким образом, что для коэффициентов DA и DB потери давления, соответственно в кПа·ч/м2, обоих фильтрационных участков справедливо:

где


а SA(h) и SВ(h), соответственно в кПа·ч/м2, обозначают коэффициенты потери давления фильтрующих материалов.
В насыпном материале отрезки hA и hB пути определяются высотой фильтрующего слоя. У спеченных блоков, выполненных, например, цилиндрическими с центральным каналом для фильтрата и омываемых снаружи, отрезок пути определяется толщиной стенки цилиндра. Боковая поверхность цилиндра образует в этом примере площадь протекания.
Преимущественно площадь QA поперечного сечения лежит в диапазоне 5-600 см2, а QB – в диапазоне 1-300 см2.
Коэффициенты потери давления у фильтрующего насыпного материала определяются размером зерен, а у спеченных тел – размером пор.
Размер зерен находится преимущественно в диапазоне 0,1-2 мм, причем эти данные относятся к среднему значению нормального распределения. Преимущественно в качестве насыпного материала используют активированный уголь.
Фильтрующим материалом фильтрующих трактов А и/или В является преимущественно фильтрующий блок, в частности спеченный фильтрующий блок, с размером пор в диапазоне 0,1-100 мкм. Эти данные относятся к среднему размеру пор нормального распределения.
Вместо насыпного материала или спеченных блоков могут использоваться также фильтрующие мембраны.
В рамках изобретения можно также соединять между собой оба фильтрационных участка, чтобы использовать, например, фильтрующий материал сообща как для тракта А, так и для тракта В.
Преимущественно выход второго фильтрационного участка заканчивается в первом фильтрационном участке. Устье может быть в области второй половины первого фильтрационного участка.
Внутренняя емкость такого фильтрующего устройства отличается тем, что она имеет первую фильтровальную камеру, в которой расположена вторая фильтровальная камера, причем каждая фильтровальная камера присоединена к подаваемому сверху отдельному потоку, а под фильтровальными камерами расположена общая сборная камера с выпускным каналом для чистой воды для сбора отфильтрованных отдельных потоков. Первая фильтровальная камера образует фильтрационный участок фильтрующего тракта А, а вторая фильтровальная камера – фильтрационный участок смесительного тракта. За счет встраивания второй фильтровальной камеры в первую фильтровальную камеру создается компактное устройство.
Обе фильтровальные камеры согласованы с обоими отдельными потоками и могут быть, при необходимости, разделены на секции или подкамеры. Преимущественно, по меньшей мере, одна из обеих фильтровальных камер разделена, по меньшей мере, на две секции, в которых расположены разные фильтрующие материалы.
Кроме того, можно расположить фильтрующий материал в сборной камере и/или в выпускном канале для чистой воды. Таким образом реализуется общий дополнительный фильтр.
Преимущественно обе фильтровальные камеры проходят до сборной камеры, находящейся над дном внутренней емкости, причем первая фильтровальная камера кольцеобразно окружает вторую фильтровальную камеру. За счет этого создается вращательно-симметричное устройство, которое позволяет отводить жидкость фильтрующего А и смесительного В трактов центрально, преимущественно вверх.
Подобный вариант осуществления может быть экономично реализован с небольшим числом конструктивных элементов экономично. Преимущественно для этого на дне внутренней емкости расположена кольцеобразная дренажная пластина с отверстиями для фильтрата, которая на обращенной ко дну стороне имеет радиально проходящие сборные каналы и проходящую вверх от дренажной пластины стаканообразную вставку.
Другой вариант осуществления предусматривает, по существу, три вставленных друг в друга компонента, состоящих из внутреннего, фильтрующего и внешнего стаканов.
Выпускной канал для чистой воды из сборной камеры может быть расположен на нижней стороне внутренней емкости. Для отвода чистой воды на верхней стороне внутренней емкости предпочтительно расположить внутри внутренней емкости всасывающую трубку, которая может представлять собой преимущественно двухстенную трубку, через которую также осуществляется подвод отдельного потока к одной из обеих фильтровальных камер.
Двухстенная трубка расположена преимущественно в крышке и может быть расположена между стаканообразной вставкой или соответственно между внутренним и внешним стаканами и крышкой.
Внешняя трубка двухстенной трубки может выдаваться в первую фильтровальную камеру или соответствующую секцию первой фильтровальной камеры. В этом варианте осуществления одна область объема первой фильтровальной камеры совместно используется вторым отдельным потоком. Для слива воды преимущественно на нижнем конце внешней трубки расположено распределительное устройство, которое в соответствии с особым вариантом осуществления включает в себя распределенные по периферии внешней трубки сопла.
Первая фильтровальная камера может быть заполнена, по меньшей мере, ионообменной смолой, тогда как вторая фильтровальная камера заполнена, например, активированным углем.
Примерные варианты осуществления изобретения более подробно поясняются ниже с помощью чертежей, на которых показано:
– фиг.1а: схема соединения фильтрующего устройства с фильтрующим и смесительным трактами;
– фиг.1b: схема соединения фильтрующего устройства с фильтрующим и смесительным трактами согласно другому варианту осуществления;
– фиг.2а, b: диаграммы для отдельных участков фильтрующего А и смесительного В трактов;
– фиг.3а, b: диаграммы для всего фильтрующего А и смесительного В трактов с долей смешивания 50% для разных диапазонов объемных потоков;
– фиг.4: диаграмма, показывающая долю смешивания в зависимости от объемного потока 
– фиг.5: соответствующая диаграмме на фиг.3 диаграмма доли смешивания 30%;
– фиг.6: диаграмма, показывающая долю смешивания в зависимости от объемного потока;
– фиг.7: схематичный разрез фильтрующего устройства;
– фиг.8: разрез фильтрующего устройства со вставками;
– фиг.9: разрез фильтрующего устройства согласно другому варианту осуществления;
– фиг.10: разрез фильтрующего устройства в соответствии со схематичным изображением на фиг.1b.
На фиг.1а изображена схема соединения фильтрующего устройства 1. Через приемный канал 2 неочищенная вода поступает в разделительное устройство 3, которое разделяет неочищенную воду на два отдельных потока. Неочищенную воду подают к фильтрующему А и смесительному В трактам. Фильтрующий тракт А состоит из участка 10а проточного канала, в котором показан обозначающий гидродинамическую характеристику символ клапана, и первого фильтрационного участка 10b. Смесительный тракт В состоит соответственно из второго фильтрационного участка 20b и предвключенного участка, гидродинамическая характеристика которого определяется смесительным клапаном 20а.
Оба выхода фильтрующего А и смесительного В трактов заканчиваются в соединительном устройстве 4, присоединенном к выпускному каналу 5 для чистой воды.
Падение давления по ходу фильтрующего устройства 1 между точками 6, 7 разветвления обозначено р. Это значение р складывается из значений соответственно рА1 и рА2 или соответственно рВ1 и рВ2, которые обозначают соответствующие падения давления на участках 10а, 10b, 20b и на смесительном клапане 20а.
На фиг.1b изображена схема соединения фильтрующего устройства 1 согласно другому варианту осуществления. Смесительный тракт В заканчивается на фильтрационном участке 10b, нижний участок которого используется обоими отдельными потоками и образует, тем самым, также второй фильтрационный участок 20b. Насколько большой является используемая вторым отдельным потоком область фильтрационного участка, зависит от расположения и условий давления, что более подробно поясняется в связи с фиг.10.
Падение давления по ходу фильтрующего устройства 1 между точкой 6 разветвления и выходной точкой 7′ также обозначено р. Это значение р складывается из значений соответственно рА1 и рА2 или соответственно рВ1 и рВ2, которые обозначают соответствующие падения давления на участках 10а, 10b, 20b и в смесительном клапане 20а.
Падения давления являются функциями объемного потока, как это показано на фиг.2а и 2b для доли смешивания 50% в первом диапазоне объемных потоков от л/ч до л/ч. При 50%-ном смешивании объемный поток разделяется на две равные части и так что важные диапазоны составляют от л/ч до л/ч и от л/ч до л/ч. Поэтому кривые для и показаны только в диапазоне значений от 0 до 100 л/ч. В то время как функции и показывают квадратичную зависимость, под функцией и соответственно понимаются линейные зависимости. В основу этого примера была положена внутренняя емкость объемом 10 л.
Для л/ч справедливо т.е. фильтровальная характеристика первого фильтрационного участка 10b оказывает большее влияние на фильтровальную характеристику всей функции рА (фиг.2а). Второй диапазон объемных потоков составляет здесь от л/ч до л/ч. Это означает, что условие смешивания соблюдается во всем диапазоне 10-120 л/ч.
Результирующие из обеих функций функции рВ и рА изображены на фиг.3а, b. Результирующие кривые выше значения 55 л/ч для ветви А и 77 л/ч для ветви В определяются, по существу, параболическими кривыми участков 10а, 20а, тогда как ниже этих значений гидродинамическая характеристика фильтрационных участков является доминирующей величиной. Это означает, что смесительный клапан ниже 77 л/ч для ветви тракта В оказывает небольшое влияние на общую гидродинамическую характеристику.
Обе изображенные на фиг.3а, b кривые не совпадают, поскольку невозможно полностью согласовать гидродинамические характеристики смесительного тракта с гидродинамической характеристикой фильтрующего тракта. Это приводит к тому, что возникает незначительное отклонение, которое при малых объемных потоках, как показано на фиг.4, ведет к пренебрежимому отклонению от заданной кривой смешивания на 4%. Для этой доли Х смешивания 50% соблюдается, тем самым, условие

На фиг.4 изображены доли смешивания в зависимости от объемного потока. В показанном здесь примере основной расчет осуществлялся для доли смешивания 50%. Идеальным образом доля смешивания поэтому при 0,5 должна была бы быть постоянной по всему изображенному диапазону объемных потоков и образовать прямую, как это обозначено кривой «идеально 50%». Фактическая кривая «реальная основа 50%» показывает незначительное отклонение примерно 4% от этой идеальной кривой при объемных потоках менее 50 л/ч, что гораздо лучше, чем соответствующая кривая смешивания в соответствии с уровнем техники (кривая «норма уровня техники 50%»).
За счет установки смесительного клапана на долю смешивания 30% возникает кривая («30% при основном расчете 50%»), которая при малых объемных потоках возрастает и показывает отклонение от идеального значения 0,3 около 30%. Это отклонение всегда гораздо меньше, чем в уровне техники («норма уровня техники 30%»), где при малых объемных потоках возникают отклонения доли смешивания более чем на 50%.
На фиг.5 изображены кривые рА и рВ для основного расчета 30%-й доли смешивания. Функция рВ потери давления показывает небольшое отклонение от идеальной кривой («сумма В идеально»), соответствующей установленной доле смешивания 30%. Это приводит, как показано на фиг.6, к кривой доли смешивания, перемещаемой при больших объемных потоках выше прямой 0,3 и находящейся при объемном потоке<50 л/ч ниже этой идеальной прямой. Соответствующая кривая в соответствии с уровнем техники («норма уровня техники 30%») показывает значительное возрастание при малых объемных потоках.
Когда смесительный клапан снова открывают, в результате чего достигается доля смешивания 50%, возникает кривая, лежащая ниже идеального значения 0,5. Соответствующая кривая в соответствии с уровнем техники показывает здесь отклонение вверх, причем процентное отклонение значительно больше, чем при расчете согласно изобретению.
Благодаря согласованию, согласно изобретению, гидродинамической характеристики смесительного тракта В с фильтрующим трактом А можно соблюдать отклонение, по меньшей мере, при одной доле Х смешивания даже при малых объемных потоках между ±5%.
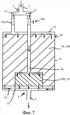
На фиг.7 изображен вертикальный разрез фильтрующего устройства 1. В верхней области изображен приемный канал 2 для неочищенной воды, заканчивающийся в разделительном устройстве 3, которое разделяет подаваемую неочищенную воду на два отдельных потока. Левый отдельный поток подают через участок 10а проточного канала и первый приемный канал 11 к внутренней емкости 50, внутреннее пространство которой образовано, по существу, первой фильтровальной камерой 54, образующей фильтрационный участок 10b. Поступающая через участок 10а проточного канала неочищенная вода разделяется между крышкой 53 и находящимся под ней фильтрующим материалом фильтровальной камеры 54 и проникает через фильтрующий материал, пока не вытечет на нижней стороне и не соберется там в сборной камере 57, откуда она отводится через выпускной канал 5 для чистой воды соединительного устройства 4.
Первая фильтровальная камера 54 окружает вторую фильтровальную камеру 55, которая образует второй фильтрационный участок 20b. Речь при этом идет о концентричном расположении, причем вторая фильтровальная камера 55 окружена первой фильтровальной камерой 54 кольцеобразно. Обе фильтровальные камеры проходят до области дна 52, причем вторая фильтровальная камера 55 имеет меньший объем, чем первая фильтровальная камера 54. Второй отдельный поток, направляемый через смесительный клапан 20а, подают по второму приемному каналу 21 и приемной трубке 56 ко второй фильтровальной камере 55. Протекающая через эту вторую фильтровальную камеру 55 вода также собирается на нижней стороне над дном 52 в сборной камере 57 и вместе с вытекающей из первой фильтровальной камеры 54 водой стекает через выпускной канал 5 для чистой воды.
На фиг.8 изображен схематичный вертикальный разрез фильтрующего устройства 1, содержащего внутреннюю емкость 50, в которой, по существу, размещены фильтрационные участки 10b, 20b. Приемный канал 2 для неочищенной воды заканчивается в разделительном устройстве 3, в котором поступающая неочищенная вода разделяется на два отдельных потока. Один отдельный поток подают через участок 10а проточного канала к первой фильтровальной камере 54 во внутренней емкости 50. Второй отдельный поток подают через смесительный клапан 20а к двухстенной, расположенной концентрично во внутренней емкости 50 трубке 60, и он течет через внешнюю трубку 61а во вторую фильтровальную камеру 55.
Внутреннее пространство внутренней емкости 50 образовано в верхней области первой фильтровальной камерой 54, разделенной на верхнюю 54а и нижнюю 54b секции, в которых расположены разные фильтрующие материалы. В нижней области расположена вторая фильтровальная камера 55, кольцеобразно окруженная первой фильтровальной камерой 54. На расстоянии от дна 52 расположена дренажная пластина 71, имеющая отверстия 72 для фильтрата. Отфильтрованная вода может, таким образом, стекать вниз как из первой фильтровальной камеры 54, так и из второй фильтровальной камеры 55 и скапливается между дренажной пластиной 71 и дном 52. Там дренажная пластина 71 образует сборные каналы 73, образующие соединительное устройство 4. Сведенную вместе через фильтрующий А и смесительный В тракты отфильтрованную воду через общий сток, образованный внутренней трубкой 61b, отводят вверх и подают к выпускному каналу 5 для чистой воды. Вторая фильтровальная камера 55 окружена стаканообразной вставкой 70. Между этой стаканообразной вставкой 70 и крышкой 73 расположена двухстенная трубка 60.
На фиг.9 изображен вертикальный разрез фильтрующего устройства согласно другому варианту осуществления. В верхней части видна фильтрующая головка 8, содержащая приемный канал 2 для неочищенной воды, разделительное устройство 3, смесительный клапан 20а и выпускной канал 5 для чистой воды.
Эту головку 8 надевают на выступающую вверх двухстенную трубку 60, состоящую из внешней 61а и внутренней 61b трубок. Эта двухстенная трубка 60 зафиксирована в крышке 53 внутренней емкости 50. Под крышкой расположена распределительная среда в виде волокнистого материала, задачей которой также является фиксация находящегося ниже ионообменного материала. Благодаря этому можно эксплуатировать фильтрующее устройство 1 не только вертикально, но и горизонтально.
Во внутреннем пространстве помимо двухстенной трубки 60 имеются, по существу, три конструктивных элемента. Внутренний стакан 100 состоит, по существу, из цилиндрической или конической стенки 102, которая сужается вверх и входит во внутреннюю трубку 61b. Внизу стенка 102 переходит в кольцеобразную ситовую пластину 101, опирающуюся на дно 52. Внутренний стакан 100 окружен фильтрующим стаканом 110, имеющим, по существу, внутреннюю 111 и внешнюю 112 кольцевые стенки, которые соединены между собой поперечными ребрами 113. Между внутренней кольцевой стенкой 111 и цилиндрической стенкой 102 образована вторая фильтровальная камера 55, заполненная гранулированным активированным углем 82. Между внутренней 111 и внешней 112 кольцевыми стенками образована секция 54b камеры, также заполненная гранулированным активированным углем 82. Под гранулированным активированным углем 82 находится кольцеобразная плотная сетка, служащая фильтром 83 для частиц. Этот фильтр 83 для частиц прилегает непосредственно к ситовой пластине 101.
Вверху примыкает внешний стакан 120, также имеющий, по существу, цилиндрическую стенку 122, которая сужается вверх и окружает внешнюю трубку 61b. Внизу стенка 122 переходит в кольцеобразное колпачкообразное ограждение 121, которое охватывает сверху внутреннюю кольцевую стенку 111 фильтрующего стакана 110. Под крышкой 121 может быть предусмотрена распределительная среда 80. Также на ребрах находится распределительная среда 80.
На фиг.10 изображен другой вариант осуществления фильтрующего устройства 1, соответствующий схематичному изображению на фиг.1b. Фильтровальная камера 54 так же, как и на фиг.8, разделена на две секции 54а, b. Двухстенная трубка 60 направляет во внутреннюю трубку 61b отфильтрованную чистую воду из сборной камеры 57 вверх к выпускному каналу 5 для чистой воды. Через кольцевое пространство между внутренней 61b и внешней 61а трубками, как на фиг.8, подают второй отдельный поток. Внешняя трубка 61а выполнена на нижнем конце конусообразной и закрытой и имеет там распределенные по периферии сопла 62, через которые воду второго отдельного потока вводят в секцию 54b камеры. Вытекающая из распределительного устройства 63 вода заполняет внутри секции 54b камеры обозначенный штриховой линией колоколообразный объем 55′, соответствующий второй фильтровальной камере 55 на фиг.8 и 9. В зависимости от вида, выполнения и расположения сопел 62, а также в зависимости от давления нагружается меньший или больший объем 55′ секции 54b камеры. В переходной области между объемом 55′ и остальным объемом секции 54b камеры может возникнуть небольшая зона смешивания, в которой могут смешиваться оба отдельных потока, чем, однако, можно пренебречь.
Перечень ссылочных позиций
1 – фильтрующее устройство
2 – приемный канал для неочищенной воды
3 – разделительное устройство
4 – соединительное устройство
5 – выпускной канал для чистой воды
6 – точка разветвления
7 – точка разветвления
7′ – выходная точка
8 – фильтрующая головка
А – фильтрующий тракт
В – смесительный тракт
10а – участок проточного канала
10b – фильтрационный участок
11 – первый приемный канал
20а – смесительный клапан
20b – фильтрационный участок
21 – второй приемный канал
30 – присоединительная арматура
40 – напорная емкость
50 – кассета, внутренняя емкость
51 – периферийная стенка
52 – дно
53 – крышка
54 – первая фильтровальная камера
54а, b – секции камеры
55 – вторая фильтровальная камера
55′ – объем
56 – приемная трубка
57 – сборная камера
60 – двухстенная трубка
61а – внешняя трубка
61b – внутренняя трубка
62 – сопло
63 – распределительное устройство
70 – стаканообразный корпус фильтра
71 – дренажная пластина
72 – отверстия для фильтрата
73 – собирающий канал
80 – распределительная среда
81 – ионообменник
82 – гранулированный активированный уголь
83 – фильтр для частиц
100 – внутренний стакан
101 – кольцеобразная ситовая пластина
102 – стенка
110 – фильтрующий стакан
111 – внутренняя кольцевая стенка
112 – внешняя кольцевая стенка
113 – поперечные ребра
120 – внешний стакан
121 – кольцеобразная крышка
122 – стенка
Формула изобретения
1. Фильтрующее устройство для очистки и/или, по меньшей мере, частичной декарбонизации неочищенной воды, содержащее приемный канал для неочищенной воды и выпускной канал для чистой воды, фильтрующий тракт А, включающий в себя участок проточного канала и первый фильтрационный участок, и смесительный тракт В, включающий в себя смесительный клапан и второй фильтрационный участок, которые соединены через разделительное устройство с приемным каналом для неочищенной воды, и, через соединительное устройство с выпускным каналом для чистой воды, причем оба фильтрационных участка расположены во внутренней емкости, отличающееся тем, что определяемая функцией потери давления гидродинамическая характеристика компонентов смесительного тракта В согласована с определяемой функцией потери давления гидродинамической характеристикой компонентов фильтрующего тракта А таким образом, что, по меньшей мере, для одной доли Х смешивания при для объемных потоков от л/ч до л/ч (первый диапазон объемных потоков), по меньшей мере, для одного второго диапазона объемных потоков шириной, по меньшей мере, 5 л/ч в пределах первого диапазона объемных потоков справедливо следующее условие смешивания:

где G обозначает предельное значение условия смешивания, – падение давления по ходу фильтрующего тракта А, – падение давления по ходу смесительного тракта В соответственно в зависимости от объемных потоков в [л/мин] воды в трактах А и В.
2. Устройство по п.1, отличающееся тем, что смесительный клапан (20а) и второй фильтрационный участок (20b) рассчитаны таким образом, что во втором диапазоне объемных потоков справедливо: где обозначает функцию потери давления смесительного клапана (20а), а – функцию потери давления второго фильтрационного участка (20b).
3. Устройство по п.1, отличающееся тем, что смесительный клапан (20а) в полностью открытом состоянии имеет гидродинамическую характеристику соответствующую гидродинамической характеристике участка (10а) проточного канала, при этом функции и потери давления первого (10b) и второго (20b) фильтрационных участков согласованы между собой, причем согласование зависит от желаемого смешивания.
4. Устройство по п.3, отличающееся тем, что площади QA и QB протекания, соответственно в м2, и отрезки hA и hB пути, соответственно в м, первого (10b) и второго (20b) фильтрационных участков рассчитаны таким образом, что для коэффициентов DA и DB потери давления, соответственно в кПа·ч/м2, обоих фильтрационных участков (10b, 20b) справедливо

где


a SA(h) и SB(h) соответственно в кПа·ч/м2, обозначают коэффициенты потери давления фильтрующих материалов.
5. Устройство по п.4, отличающееся тем, что QA лежит в диапазоне 5-600 см2, a QB – в диапазоне 1-300 см2.
6. Устройство по п.1, отличающееся тем, что фильтрующий материал фильтрационных трактов А и/или В представляет собой фильтрующий насыпной материал со средним размером зерен в диапазоне 0,1-2 мм.
7. Устройство по п.1, отличающееся тем, что фильтрующий материал фильтрационных трактов А и/или В представляет собой фильтрующий блок со средним размером пор в диапазоне 0,1-100 мкм.
8. Устройство по п.1, отличающееся тем, что выход второго фильтрационного участка (20b) заканчивается в первом фильтрационном участке (10b).
9. Устройство по п.8, отличающееся тем, что выход второго фильтрационного участка (20b) заканчивается в зоне второй половины первого фильтрационного участка (10b).
10. Внутренняя емкость для фильтрующего устройства по одному из пп.1-9, отличающаяся тем, что она имеет первую фильтровальную камеру (54), в которой расположена вторая фильтровальная камера (55), причем каждая фильтровальная камера (54, 55) присоединена к подаваемому сверху отдельному потоку, а под обеими фильтровальными камерами (54, 55) расположена общая сборная камера (57) с выпускным каналом (5) для чистой воды для сбора отфильтрованных отдельных потоков.
11. Емкость по п.10, отличающаяся тем, что, по меньшей мере, одна из обеих фильтровальных камер (54, 55) разделена, по меньшей мере, на две секции (54а, 54b), в которых расположены разные фильтрующие материалы.
12. Емкость по п.10, отличающаяся тем, что в сборной камере (57) и/или в выпускном канале (5) для чистой воды расположен фильтрующий материал.
13. Емкость по п.10, отличающаяся тем, что обе фильтровальные камеры (54, 55) проходят до сборной камеры (57), причем первая фильтровальная камера (54) кольцеобразно окружает вторую фильтровальную камеру (55).
14. Емкость по п.10, отличающаяся тем, что на дне (52) внутренней емкости (50) расположена кольцеобразная дренажная пластина (71) с отверстиями (72) для фильтрата, которая на обращенной ко дну (52) стороне имеет радиально проходящие собирающие каналы (73) и проходящую вверх от дренажной пластины (71) стаканообразную вставку (70).
15. Емкость по п.14, отличающаяся тем, что в крышке (53) расположена двухстенная трубка (60).
16. Емкость по п.15, отличающаяся тем, что внешняя трубка (61а) двухстенной трубки (60) выдается в первую фильтровальную камеру (54).
17. Емкость по п.16, отличающаяся тем, что внешняя трубка (61а) содержит в области первой фильтровальной камеры (54) распределительное устройство (63) для слива подаваемой воды.
18. Емкость по п.17, отличающаяся тем, что распределительное устройство (63) содержит сопла (62), распределенные по периферии внешней трубки (61а).
19. Емкость по п.10, отличающаяся тем, что первая фильтровальная камера (54) заполнена, по меньшей мере, ионообменной смолой.
20. Емкость по п.10, отличающаяся тем, что вторая фильтровальная камера (55) заполнена, по меньшей мере, активированным углем.
РИСУНКИ
|