|
|
(21), (22) Заявка: 2004105678/12, 25.02.2004
(24) Дата начала отсчета срока действия патента:
25.02.2004
(30) Конвенционный приоритет:
26.02.2003 DE 10308156.9
(43) Дата публикации заявки: 10.08.2005
(46) Опубликовано: 10.03.2008
(56) Список документов, цитированных в отчете о поиске:
ЕР 0616971 А1, 28.09.1994. ЕР 0470398 А1, 12.02.1992. RU 14924 U1, 10.09.2000. SU 1279949 A1, 30.12.1986.
Адрес для переписки:
103735, Москва, ул. Ильинка, 5/2, ООО “Союзпатент”, пат.пов. О.Ф.Ивановой
|
(72) Автор(ы):
БЕРНХАРД Герберт (DE)
(73) Патентообладатель(и):
КХС МАШИНЕН-УНД АНЛАГЕНБАУ АГ (DE)
|
(54) ПОДЪЕМНЫЙ ОРГАН ДЛЯ ПРИЖАТИЯ СОСУДОВ В МАШИНАХ ДЛЯ ЗАПОЛНЕНИЯ СОСУДОВ
(57) Реферат:
Изобретение относится к разливочным машинам. Подъемный орган с регулируемым ходом имеет подъемные органы, расположенные кругообразно на роторе на расстоянии друг от друга. Каждый подъемный орган содержит ведущий в рабочий объем трубопровод для напорной среды. Подъемный орган выполнен в виде цилиндра и поршня, соединенного с ротором, и снабжен упорными средствами в виде, по меньшей мере, одного нагруженного пружиной упорного элемента. Упорный элемент в зависимости от давления напорной среды обеспечивает соответственно измененное положение хода. Изобретение позволяет осуществлять розлив как с противодавлением, так и без давления на одном устройстве. Устройство имеет простую конструкцию и не требует больших затрат времени на переналадку. 6 з.п. ф-лы, 3 ил.
Изобретение относится к подъемному органу с регулируемым ходом, к машинам для обработки сосудов, в частности к разливочным машинам для сосудов, причем подъемные органы расположены кругообразно на столе на расстоянии друг от друга.
Машины для наполнения сосудов выполнены преимущественно в виде вращающихся машин, содержащих на своих роторах множество наполняющих элементов. С этими наполняющими элементами взаимодействуют подъемно-опускные опорные тарелки, которые посредством подающих звездочек захватывают заполняемые сосуды. С каждой из этих опорных тарелок, в свою очередь, взаимодействует так называемый подъемный орган, предназначенный для того, чтобы приподнимать и прижимать стоящие на опорных тарелках сосуды к наполняющим элементам.
Для реализации этой функции подъемные органы состоят, как правило, из комбинации неподвижного поршня и охватывающего этот поршень подвижного цилиндра. Эти детали расположены вертикально, причем поршень жестко соединен с ротором машины для заполнения сосудов.
Цилиндр может перемещаться в вертикальном направлении вверх и вниз.
Возникающий между неподвижным поршнем и подвижным цилиндром рабочий объем нагружают в большинстве случаев сжатым воздухом, который направляют через расточку в поршне, в результате чего цилиндр стремится двигаться вертикально вверх. Это движение ограничено закрепленным на цилиндре, установленным с возможностью вращения вокруг своей продольной оси роликом, причем этот ролик взаимодействует с неподвижным кулачком. При вращении ротора машины для заполнения сосудов ролик обкатывается по кулачку, повторяет, тем самым, его контур и выполняет за счет этого одновременно движение вверх и вниз, которое за счет конструктивного выполнения повторяют также опорная тарелка и, тем самым, также находящийся на ней сосуд.
В большинстве случаев подобные кулачки расположены не вдоль всей периферийной поверхности ротора, а находятся только на участке периферии, по существу в зоне входа и выхода сосудов, где приемная поверхность опорных тарелок должна находиться на высоте подающих и отводящих транспортеров.
Подобный подъемный орган предложен, например, в DE 3919565. Недостатком подобного выполнения является то, что движение подъема подъемного органа определяется исключительно контуром кулачка, а изменения движения подъема могут быть реализованы только за счет замены кулачка, что на практике отнимает очень много времени и, тем самым, дорого.
В рамках усилий по снижению расходов в промышленности производства напитков во все большей степени встает задача розлива самых разных напитков на одной и той же разливочной машине. Помимо возможности приспособить отдельные этапы процесса розлива в зависимости от напитка, потребители требуют также возможности простым образом выбирать между розливом с противодавлением и розливом без давления.
Существенное различие между обоими способами розлива состоит в соединении наполняющего элемента и заполняемого сосуда в процессе розлива. При розливе с противодавлением наполняющий элемент и сосуд находятся в плотно прижатом друг к другу положении, а это означает, что сосуд прижимается к наполняющему элементу со значительным усилием с тем, чтобы газоплотно отделить внутреннее пространство сосуда от окружающего пространства. Этот способ розлива находит применение прежде всего у газированных напитков, например пива или минеральной воды. При розливе без давления наполняющий элемент и сосуд не находятся в плотно прижатом друг к другу положении, а расположены на расстоянии друг от друга. Этот способ розлива находит применение у негазированных напитков, например фруктовых соков или молока.
Поскольку, однако, ход подъемного органа, в основном, постоянный, для реализации подобной функции не требуется специального конструктивного выполнения.
В технике для решения этой проблемы известно одно предложение, согласно которому используют подъемный орган с неподвижным цилиндром и подвижным поршнем, причем соответствующий поршневой шток выступает за цилиндр с обоих концов. На верхнем конце штока поршня закреплена опорная тарелка, а на нижнем – упорная плита. При розливе с противодавлением эта упорная плита не функционирует, шток поршня может двигаться вверх до тех пор, пока сосуд и наполняющий элемент не будут находиться в плотно прижатом друг к другу положении. Для реализации розлива без давления на нижний конец штока поршня насаживают распорку, которую располагают перед упорной плитой. Поскольку эта распорка уменьшает пространство для движения упорной плиты или эффективную длину нижнего конца указанного штока, ход поршня ограничивается. Большим недостатком этого способа являются высокие, в частности у разливочных машин с многочисленными позициями розлива, затраты времени, которых требует замена распорок.
Другое предложение по решению указанной проблемы состоит в том, чтобы выполнить наполняющий элемент с возможностью перемещения по высоте, за счет чего при постоянном ходе подъемных элементов также можно оказать влияние на создание плотного прижатия. Подобное решение механически очень сложное и, тем самым, дорогое.
Задачей настоящего изобретения является создание усовершенствованного устройства, которое устранило бы названные недостатки и, тем не менее, обеспечивало бы простую смену режимов розлива без давления и розлива с противодавлением. Для этого изобретение предусматривает эксплуатацию подъемных органов с разными рабочими давлениями и оснащение подъемных органов дополнительно подпружиненным передвижным упором, который заканчивает ход подъемных органов при первом низком рабочем давлении в первом низком положении и при втором более высоком рабочем давлении во втором более высоком положении.
Ниже изобретение более подробно поясняется с помощью примеров выполнения. На чертежах изображают:
– фиг.1: в разрезе подъемный орган, согласно изобретению, находящийся во вдвинутом состоянии;
– фиг.2: в разрезе подъемный орган, согласно изобретению, находящийся во выдвинутом состоянии;
– фиг.3: детальный вид подпружиненного упора подъемного органа, согласно изобретению.
Усовершенствования, преимущества и возможности применения изобретения приведены в нижеследующем описании примеров выполнения и на чертежах. При этом все описанные и/или изображенные признаки отдельно или в произвольной комбинации образуют объект изобретения, независимо от их объединения в пунктах формулы или от их подчиненности. В то же время содержание формулы изобретения сделано составной частью описания.
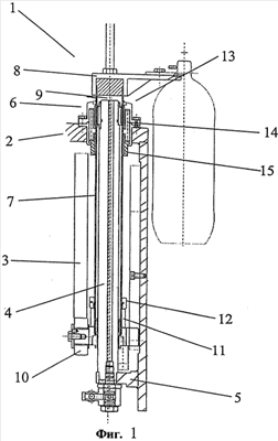
Как показано на фиг.1, подъемные органы 1 расположены на внешней периферии ротора 2 машины для наполнения сосудов. Основной составной деталью подъемного органа 1 является поршень 4, который посредством элемента 5 крепления прочно соединен с ротором 2. Поршень 4 окружен цилиндром 6, который образован трубой 7 и головкой 8. Рабочий объем 9, возникающий между поршнем 4, трубой 7 и головкой 8, нагружают через расположенную в поршне 4 расточку сжатым воздухом. Возникающее за счет этого движение цилиндра 6 вверх ограничивается и управляется закрепленным на нем, установленным с возможностью вращения роликом 10, причем этот ролик 10 прилегает к неподвижному кулачку 3.
На нижнем конце цилиндра 6 на его внешней периферии посредством распорки 11 закреплен упорный элемент 12.
На верхнем конце цилиндра 6 находится приемо-направляющий элемент 13 для цилиндра 6. Этот приемо-направляющий элемент 13 выполнен с возможностью выполнения помимо своих направляющих функций еще и других задач. Для этого этот элемент содержит камеру 14 для пружины и упорную втулку 15, подвижно установленную между трубой 7 и приемо-направляющим элементом 13.
Внутри камеры 14 расположена цилиндрическая винтовая пружина 16. В усовершенствование настоящего изобретения может быть предусмотрено применение также других упругих элементов, например упруго деформирующихся пластиковых элементов, нескольких расположенных по периферии камеры 14 винтовых пружин или других известных в технике и пригодных для данного назначения средств.
За счет расположенной в камере 14 с натягом винтовой пружины 16 направляемая, в основном, трубой 7 упорная втулка 15 движется вниз до тех пор, пока она за счет своей геометрической формы не прижмется к упору приемо-направляющего элемента 13. В этом положении нижний конец упорной втулки 15 заметно выступает за нижнее ограничение приемо-направляющего элемента 13.
Ниже описан принцип первого способа розлива, при котором сосуды должны быть наполнены без давления, т.е. не в плотно прижатом к наполняющему элементу положении клапана.
Для реализации этого способа рабочий объем 9 нагружают первым, низким, давлением. Во время вращения ротора 2 вокруг его вертикальной оси цилиндр 6 повторяет заданное прилегающим к кулачку 3 роликом 10 движение вверх и вниз. Когда ротор 2 достигает определенного угла поворота, кулачок 3 заканчивается непрерывным сбегом. Как правило, уже перед достижением этого сбега цилиндр 6 поднимается вверх настолько, что упорный элемент 12 прилегает к упорной втулке 15 и, тем самым, не может двигаться дальше вверх. Используемого в этом способе давления недостаточно, чтобы сжать находящуюся в камере 14 винтовую пружину 16, движение подъемного органа вверх заканчивается в этом положении, и сосуд не находится в плотно прижатом к наполняющему элементу положении.
При втором способе розлива, способе с противодавлением, рабочий объем 9 нагружают вторым, более высоким, давлением. Вследствие этого закрепленный на трубе цилиндра упорный элемент 12 прижимается к упорной втулке 15 с большим усилием. Когда ролик 10 покидает зону действия кулачка 3, а имеющееся в рабочем объеме 9 давление достаточно велико, упорный элемент 12 способен сжать винтовую пружину за счет перемещения упорной втулки 15 до тех пор, пока упорная втулка 15 не столкнется с верхней частью камеры 14. В результате этого возникает увеличенный ход цилиндра 6, и сосуд находится в плотно прижатом к наполняющему элементу положении.
Эта ситуация схематично показана на фиг.2.
В другом, гораздо более предпочтительном усовершенствовании настоящего изобретения предусмотрено использование гидравлически и/или пневматически работающих функциональных или пружинящих элементов. Эти элементы могут состоять из цилиндра и поршня со штоком, причем шток должен служить упором для движущегося подъемного органа. Когда этот подъемный орган движется к поршневому штоку, в цилиндрическом пространстве элемента возникает соответствующее давление. Если давление превышает определенное значение, то открывается ограничительный клапан, и находящаяся в цилиндрическом пространстве напорная среда может выходить из него, за счет чего поршень может продолжать вдвигаться, что вызывает дальнейший ход подъемного органа. Когда подъемный орган в рамках продолжающегося вращения ротора снова опускается, расположенный в или на элементе пружинящий элемент снова возвращает поршень в его исходное положение. Если давление при реализации второго способа розлива остается в цилиндрическом пространстве ниже значения, которое требуется для открывания ограничительного клапана, то поршень не может вдвинуться в цилиндр за определенное малое значение, в результате чего ход подъемного органа ограничен.
Используемая внутри описанного выше элемента напорная среда может представлять собой в зависимости от варианта газ или гидравлическую жидкость.
Формула изобретения
1. Подъемный орган с регулируемым ходом к разливочной машине для сосудов, в которой подъемные органы расположены кругообразно на роторе на расстоянии друг от друга, каждый подъемный орган содержит ведущий в рабочий объем трубопровод для напорной среды, подъемный орган, выполненный в виде цилиндра и поршня, соединенного с ротором, снабжен упорными средствами в виде, по меньшей мере, одного нагруженного пружиной упорного элемента, который в зависимости от давления напорной среды обеспечивают соответственно измененное положение хода.
2. Подъемный орган по п.1, отличающийся тем, что упорный элемент представляет собой втулку (15), нагруженную усилием пружины, под действием которого она занимает, по меньшей мере, два определенных положения.
3. Подъемный орган по п.1 или 2, отличающийся тем, что упорные элементы в виде втулки (15) находятся, по меньшей мере, частично внутри камеры (14).
4. Подъемный орган по п.2, отличающийся тем, что создающие пружинящее усилие элементы представляют собой, по меньшей мере, одну винтовую пружину (16).
5. Подъемный орган по п.2, отличающийся тем, что создающие пружинящее усилие элементы представляют собой любые пружинящие элементы из пластика, металла или другого материала.
6. Подъемный орган по п.2, отличающийся тем, что создающие пружинящее усилие элементы представляют собой гидравлически и/или пневматически работающие функциональные элементы.
7. Подъемный орган по п.1 или 2, отличающийся тем, что упорные средства ограничивают ход подъемного органа в зависимости от давления напорной среды.
РИСУНКИ
|
|