|
|
(21), (22) Заявка: 2005140099/11, 14.05.2004
(24) Дата начала отсчета срока действия патента:
14.05.2004
(30) Конвенционный приоритет:
22.05.2003 DE 10323175.7
(43) Дата публикации заявки: 10.05.2006
(46) Опубликовано: 10.03.2008
(56) Список документов, цитированных в отчете о поиске:
JP 2003054853 А, 26.02.2003. DE 4311011 А, 27.01.1994. WO 9208665 А, 29.05.1992. RU 2096303 C1, 20.11.1997.
(85) Дата перевода заявки PCT на национальную фазу:
22.12.2005
(86) Заявка PCT:
EP 2004/005180 (14.05.2004)
(87) Публикация PCT:
WO 2004/103880 (02.12.2004)
Адрес для переписки:
129010, Москва, ул. Б.Спасская, 25, стр.3, ООО “Юридическая фирма Городисский и Партнеры”, пат.пов. С.А.Дорофееву
|
(72) Автор(ы):
РИЗЕР Ханс (DE), ФИДЛЕР Мартин (DE)
(73) Патентообладатель(и):
ТЮФ РАЙНЛАНД ИНДУСТРИ СЕРВИС ГМБХ (DE)
|
(54) ТЕСТОВЫЙ РЫЧАГ
(57) Реферат:
Изобретения относятся к портативному тестовому рычагу и могут быть использованы для контроля подъемной способности и/или способности ускорения подъемника. Портативный тестовый рычаг содержит плечо нагрузки и плечо приложения силы, встроенное измерительное устройство, дистанцированный от плеча приложения силы и расположенный на плече нагрузки приемный элемент. Способ измерения подъемной способности каната подъемника и/или способности ускорения подъемника заключается в закреплении портативного тестового рычага, образовании опорной точки для тестового рычага, оказании тестового усилия на часть тестового рычага, которое передается на канат подъемника посредством тестового рычага, и прием параметра измерения, характеризующего состояние подъемника. Система тестового рычага расположена на канате подъемника, опорная точка тестового рычага образована путем соединения с частью здания и/или частью подъемника. Крепежное устройство каната для тестового рычага выполнено с расположенной по центру направляющей для каната для образования сопряженной части для опоры тестового рычага. Технический результат заключается в упрощении конструкции. 5 н. и 13 з.п. ф-лы, 12 ил.
Настоящее изобретение относится к портативному тестовому рычагу с плечом нагрузки и плечом приложения силы, а также к соответствующему способу, с помощью которого можно установить состояние подъемника, например, в рамках контроля безопасности или соответственно надежности.
Из EP 0391174 B2, EP 0573432 B1 и EP 0390972 B1 соответственно известно контрольно-измерительное устройство, с помощью которого можно контролировать рабочее состояние подъемника. Для этого на тестовое устройство через канат оказывается усилие. На основе воспринятых измеренных значений усилия, воздействующего через канат, можно сделать заключение о рабочем состоянии подъемника.
Задачей настоящего изобретения является упрощение устройства, а также способа измерения для контроля рабочего состояния подъемника.
Эта задача решается с помощью портативного тестового рычага с признаками пункта 1 формулы изобретения, с помощью способа с признаками пункта 9 формулы изобретения, а также с помощью расположения тестового рычага с признаками пунктов 13 и 14 формулы изобретения. Другие выгодные варианты выполнения и усовершенствования приведены в соответствующих зависимых пунктах формулы изобретения.
Настоящее изобретение имеет портативный тестовый рычаг с плечом нагрузки и плечом приложения силы для контроля подъемной способности, в частности проскальзывания каната и/или способности ускорения подъемника. Тестовый рычаг имеет встроенное измерительное устройство. На расстоянии от плеча силы на тестовом рычаге расположен приемный элемент, в частности приемный элемент для каната, и/или крепежное устройство, в частности крепежное устройство каната. Далее, тестовый рычаг имеет опору, предпочтительно, например, в виде системы опорной точки, которая расположена предпочтительно на тестовом рычаге между приемным элементом для каната и измерительным устройством. Опора для крепежного устройства, в частности для крепежного устройства каната, расположена, в частности, между опорной точкой и датчиком деформации материала. Портативный тестовый рычаг может сразу транспортироваться от подъемника к подъемнику и использоваться одним человеком. В частности, применение портативного тестового рычага позволяет отказаться от участия нескольких человек при контроле безопасности.
В портативном тестовом рычаге используется, в частности, принцип, заключающийся в том, что с помощью тестового рычага на канат оказывается тестовое усилие. Благодаря этому тестовый рычаг может быть выполнен компактным и может найти применение на самых различных канатных подъемниках в качестве тестового прибора.
Согласно одному варианту выполнения в тестовом рычаге между приемным элементом для каната и расположением опорной точки имеется расстояние, которое установлено заданным образом для измерения параметров, предпочтительно с возможностью регулирования. Благодаря заданному разделению тестового рычага на плечо нагрузки и плечо приложения силы становится возможным то, что с помощью приложения силы к плечу силы и использования системы опорной точки в качестве неподвижной точки или точки вращения при измерении усилие передается в плечо нагрузки и через него в канат. На основе поведения тестового рычага или каната, с учетом заданных расстояний можно получить данные о том, находится ли имеющееся в канатном подъемнике тяговое усилие еще в допустимом диапазоне или за его пределами.
Предпочтительно измерительное устройство расположено в плече приложения силы и/или в плече нагрузки. Также можно предусмотреть несколько измерительных устройств, в частности, в разных позициях.
В частности, тестовый рычаг позволяет осуществлять тестирование отдельных канатов подъемника. Предпочтительно при большом числе канатов подъемника тестируется тот канат подъемника, который кажется наиболее ослабленным.
Измерительное устройство может воспринимать оказываемое на плечо нагрузки усилие посредством, по меньшей мере, одного соответствующего параметра измерения. В качестве примера можно установить изгиб плеча приложения силы под воздействием тестового усилия. Например, благодаря применению одного или более тензометрических датчиков можно получить данные о том, возникает ли уже при определяемом тестовом усилии проскальзывание каната или еще нет.
Измерение сил можно осуществлять дополнительно или альтернативно, с помощью емкостного датчика, индуктивного датчика, анкерного датчика, магнитоупругого датчика, пьезоэлектрического датчика, фотоэлектрического датчика, резистивного датчика линейных измерений и/или с помощью зонда Холла.
При применении тензометрических датчиков, в частности полупроводниковых тензометрических датчиков, применяют преимущественно мост Уитстона, чтобы с его помощью исключить возмущающее воздействие, например, температуры.
Предпочтительно измерительное устройство имеет устройство для подавления помех. Возмущающие воздействия могут представлять собой, например, температуру, электромагнитные поля помех или другие.
Приемный элемент для каната в тестовом рычаге расположен предпочтительно на конце плеча нагрузки. Например, плечо нагрузки может иметь вилкообразный конец, по центру которого расположен канат подъемника. Предпочтительно канат подъемника зажимается в приемном элементе для каната, в частности в крепежном устройстве каната. Благодаря этому возможна передача сил от тестового рычага на канат. Зажимание можно осуществить, например, с помощью винтового соединения. Путем затягивания одного или нескольких винтов можно прижать канат подъемника к расположенной между опорными плоскостями направляющей.
Система опорной точки, например крепежное устройство каната, портативного тестового рычага, расположена, в частности, между плечом нагрузки и плечом приложения силы. Система опорной точки, в частности крепежное устройство каната, обеспечивает, что при воздействующем тестовом усилии тестовый рычаг может передавать свое усилие на канат. Тестовый рычаг в сочетании с системой опорной точки имеет возможность, например, на неподвижной части здания или на неподвижной части подъемника образовать опорную точку, с помощью которой тестовый рычаг может проявить свое рычажное действие.
Другой вариант выполнения предусматривает, что тестовый рычаг имеет, по меньшей мере, один датчик ускорения. Датчик ускорения может, например, определять вертикальное и/или горизонтальное ускорение подъемника. Кроме того, можно, с одной стороны, сделать заключение о пусковом параметре подъемника, а также о параметрах торможения. Предпочтительно тестовый рычаг имеет один или несколько датчиков ускорения в сочетании с одним и тем же измерительным устройством, как и для одного или нескольких измерительных устройств для восприятия усилия, в частности тензометрических датчиков. К примеру, для этого тензометрические датчики могут быть размещены в полом пространстве тестового рычага и находиться в соединении с плитой, на которой располагается датчик ускорения.
Дальнейшее развитие предусматривает, что тестовый рычаг имеет встроенное устройство для обработки данных в соединении с сигнальным устройством. В устройство для обработки данных предпочтительно может вводиться, в частности, с возможностью запоминания задаваемый профиль параметров. Воспринятый или воспринятые в тестовом рычаге параметры измерения могут сравниваться с заданными параметрами. К примеру, можно проверить, находятся ли параметры измерения в задаваемом диапазоне или за его пределами. Благодаря соединению устройства для обработки данных с сигнальным устройством является возможным то, что на тестовом рычаге непосредственно появляется индикация, которая характеризует состояние подъемника. Например, может показываться, что воспринятые параметры измерения находятся в пределах или за ними диапазона надежности. Благодаря этому отпадает длительный анализ воспринятых параметров измерения. Это позволяет осуществлять непосредственный контроль и установление рабочего состояния канатного подъемника с помощью портативного тестового рычага.
Результат тестирования показывается непосредственно после приложения тестового усилия.
Дальнейшее развитие предусматривает, что тестовый рычаг имеет устройство передачи сигнала, которое позволяет беспроводную передачу сигнала на отдельно расположенный компьютер. Например, тестовый рычаг может иметь запоминающее устройство. С помощью устройства для передачи сигнала воспринятые, а также запомненные параметры измерения могут передаваться дальше на отдельно расположенный компьютер. Этот компьютер может представлять собой, например, портативный компьютер, который имеет программу обработки данных. Он позволяет перемещаться портативному тестовому рычагу с подъемником отдельно от контролера и, несмотря на это, продолжать непосредственно воспринимать параметры измерения и обрабатывать их. Это особенно желательно при контроле ускорения.
Отдельно расположенный компьютер может быть также компьютером, регулирующим или управляющим оборудованием здания. Также устройство передачи сигнала позволяет осуществлять дистанционный контроль надежности или безопасности канатного подъемника. Воспринятые и переданные сигналы позволяют заключить, стал ли необходимым контроль (тестирование) надежности канатного подъемника. Таким образом можно, в частности, осуществлять регулярный контроль без необходимости присутствия для этого на месте контролера.
Предпочтительно тестовый рычаг имеет встроенное заменяемое устройство подачи энергии. Подача энергии может обеспечиваться, например, с помощью одной или нескольких батарей или аккумуляторов и/или внешнего источника питания. Предпочтительно тестовый рычаг для этого, по меньшей мере, в отдельной области, выполнен полым. В этой полой области можно поместить, в частности, одну или несколько батарей или аккумуляторов. Дополнительно в этой полой области может быть расположено, по меньшей мере, частично, устройство передачи сигнала. Также в этой полой области может находиться измерительное устройство. Далее, тестовый рычаг может иметь подсоединение для внешнего источника питания.
Согласно другой идее изобретения предоставляется способ измерения подъемной способности, в частности проскальзывания каната подъемника, и/или способности ускорения подъемника со следующими этапами:
– крепление портативного тестового рычага, который имеет плечо нагрузки и плечо приложения силы, а также встроенное измерительное устройство, с дистанцированным от плеча нагрузки приемным элементом, в частности с приемным элементом для каната, и/или крепежным устройством, в частности крепежным устройством каната, предпочтительно на канате подъемника, и
образование опорной точки,
– оказание тестового усилия на часть тестового рычага и
– прием параметра измерения, характеризующего состояние подъемника.
Этот способ позволяет то, что тестовый рычаг может неподвижно располагаться на подъемнике. К примеру, тестовый рычаг может совершать совместное движение с подъемником благодаря его расположению на канате подъемника или на части кабины подъемника. Это позволяет, например, осуществлять измерение как положительного, так и отрицательного ускорения.
Предпочтительно тестовый рычаг для образования крепежной точки своей опорной точкой крепится на части здания и/или подъемника. После этого тестовое усилие может через тестовый рычаг передаваться на канат. Если канат подъемника проскальзывает, то это можно установить и измерить. Например, проскальзывание может быть детектировано непосредственно, например, оптическим, электрическим или иным способом. Также тестовый рычаг может детектировать движение каната подъемника.
В частности, тестовый рычаг в рамках контроля надежности имеет возможность того, что параметр или параметры измерения анализировались в самом тестовом рычаге и результат индицировался на тестовом рычаге благодаря инициированию сигнала. Предпочтительно осуществляется качественная индикация параметра или параметров измерения. Например, для этого тестовый рычаг располагает, по меньшей мере, первой, а также второй областью индикации. Первая область индикации, например, зажигается красным цветом, если анализ данных показал, что состояние подъемника находится за пределами области надежности. Вторая область зажигается, например, зеленым цветом, если анализ показывает состояние подъемника, находящееся в области надежности.
Согласно одному варианту выполнения тестовый рычаг имеет одно или несколько средств индикации, в частности, LED (светодиодный индикатор), которые индицируют сигнал, произведенный на основе анализа данных. Другой вариант выполнения предусматривает, что возможна количественная индикация, например, посредством цифровой индикации.
Дальнейшее выполнение изобретения предусматривает, что тестовый рычаг имеет акустическое индикационное устройство. Если, например, прикладывается недостаточное тестовое усилие, то инициируется предупредительный сигнал. Также можно при анализе параметра измерения или параметров измерения сообщить результат акустически, например, с помощью различных производимых акустических сигналов.
Согласно другой идеи изобретения предусмотрена система тестового рычага, расположенная на канате подъемника, в которой опорная точка тестового рычага образована с помощью соединения с частью здания и/или с частью подъемника. Для этого тестовый рычаг может иметь дополнительно одну или несколько конструктивных деталей, которые ведут к системе опорной точки. Система опорной точки образует, например, точку крепления или точку вращения для тестового рычага.
Согласно другой идеи изобретения система тестового рычага находится в расположенной подвижно области подъемника, предпочтительно в примерно горизонтальной ориентации. Предпочтительно тестовый рычаг для этого закрепляется с помощью плеча нагрузки. В плече приложения силы предпочтительно расположены один или несколько датчиков, в частности датчиков ускорения. Благодаря горизонтальной ориентации тестовый рычаг может служить, например, в качестве жесткой консоли. Измерительные датчики при ускорении тестового рычага при движении подъемника побуждаются к инициированию сигнала измерения, характеризующего ускорение. Благодаря расположению датчиков на расстоянии от опорной точки консоли осуществляется более чувствительное измерение ускорения по сравнению с расположенным непосредственно на движущейся части подъемника измерительным датчиком.
Согласно дальнейшему развитию идеи изобретения тестовый рычаг размещают на подвижно расположенной области подъемника в примерно вертикальной ориентации. Это имеет, в частности, преимущество там, где имеется очень суженная шахта подъемника. К примеру, такое расположение позволяет, чтобы тестовый рычаг также был квази неподвижно соединен с подъемником. Таким образом, становится возможным продолженный контроль подъемника в отношении его параметра ускорения. Если нужно контролировать свойства каната подъемника, то в этом случае не следует дополнительно приносить новый тестовый рычаг. Наоборот, можно преобразовать находящийся на месте тестовый рычаг, который, как описано выше, используется для контроля подъемной способности подъемника, и контролирует проскальзывание каната или канатов подъемника.
Для того чтобы повысить точность измерений, предпочтительно для тестового рычага используется крепежное устройство каната, которое оснащено расположенной по центру направляющей для каната подъемника для непосредственной передачи сил предпочтительно без образования крутящего момента. Таким образом, исключаются ошибки измерения. Расположенная по центру направляющая может быть получена с помощью расположенных под углом относительно друг друга и сходящихся друг к другу поверхностей, к которым прижимается канат. В частности, крепежное устройство каната является транспортабельным.
Тестовый рычаг образован предпочтительно, по меньшей мере, в преобладающей части из металла. В качестве примера его можно, однако, также образовать из усиленной стекловолокном пластмассы или т.п. материала, которые имеют соответствующие условия прочности. Согласно одному варианту выполнения тестовый рычаг изготовлен из алюминия. Другой вариант выполнения предусматривает, что тестовый рычаг содержит один или несколько материалов. Предпочтительно тестовый рычаг имеет вес, который составляет меньше четырех килограммов. Благодаря этому является возможным нести тестовый рычаг одной рукой, поддерживать на канате подъемника, а другой рукой можно закреплять.
Предпочтительно тестовый рычаг состоит из нескольких конструктивных деталей, которые предпочтительно могут вставляться друг в друга. Например, согласно первому варианту выполнения соотношение длин плеча силы и плеча нагрузки может изменяться. Также плечо силы может иметь тестовую головку, которая может устанавливаться с возможностью замены. Другой вариант выполнения изобретения предусматривает, что измерительные датчики установлены в испытательном рычаге с возможностью замены. Другой вариант выполнения предусматривает, что система обработки данных и/или запоминающее устройство также являются заменяемыми. Предпочтительно тестовый рычаг оснащен таким образом, что может согласовываться находящееся в испытательном рычаге программное обеспечение. Для этого тестовый рычаг может иметь, например, устройство сопряжения, через которое может подсоединяться новое программное обеспечение или новые версии средств обеспечения. Далее, тестовый рычаг может иметь устройство сопряжения, через которое могут передаваться анализируемые и проанализированные сигналы. К примеру, тестовый рычаг имеет встроенную антенну для радиопередачи.
Дальнейшее развитие предусматривает, что крепежное устройство каната для тестового рычага имеет удлинение. Удлинение позволяет осуществлять введение тестового рычага его приемным элементом при одновременном опирании на крепежное устройство каната. Предпочтительно крепежное устройство каната может в сочетании с системой опорной точки тестового рычага образовать ось вращения. При нагружении тестового рычага тестовым усилием он прилегает к крепежному устройству каната. В качестве сопряженной части для тестового усилия действует конец удлинения, в который входит тестовый рычаг. Таким образом, тестовая сила передается на канат при одновременном образовании контрусилия посредством удлинения.
Другой вариант выполнения изобретения предусматривает, что тестовый рычаг имеет заменяемую тестовую головку. Эта тестовая головка предпочтительно насаживается. Тестовая головка, в частности, образована в виде головной части рычага, которая охватывает систему опорной точки тестового рычага. Дальнейшее развитие предусматривает, что тестовая головка установлена с возможностью вращения. Например, тестовая головка имеет фиксируемый вращательный шарнир.
Другой вариант выполнения предусматривает, что тестовая головка имеет стержень. Стержень вставляется, например, в отверстие, предпочтительно отверстие в ведущем шкиве канатного подъемника. Благодаря опиранию тестового рычага, например, в отверстии тестовое усилие оказывается на тестовый рычаг, и при этом контролируется, проскальзывают ли несущие канаты.
Предпочтительно тестовый рычаг спроектирован с такими размерами, чтобы на канат могло передаваться действующее тестовое усилие, например, по меньшей мере, 200 кг, предпочтительно, по меньшей мере, до 800 кг. Предпочтительно тестовый рычаг имеет соотношение плеч >1:5, в частности >1:8, предпочтительно в диапазоне от 1:11 до 1:20. Таким образом, благодаря приложению небольшого тестового усилия на плечо приложения силы можно ввести в канат большое действующее усилие посредством плеча нагрузки.
Другие предпочтительные варианты выполнения изобретения и дальнейшие усовершенствования, а также признаки более подробно пояснены на основе приведенных далее чертежей. Представленные там варианты выполнения со своими признаками не ограничиваются, однако, отдельными вариантами выполнения. Наоборот, их можно выполнять в комбинации друг с другом, а также применительно к новым разработкам, в частности, с признаками, которые приведены выше в описании. Также лишь отдельные признаки вариантов выполнения приведенных ниже чертежей могут комбинироваться с описанными выше признаками.
На чертежах представлено:
фиг.1 – первый вариант выполнения тестового рычага,
фиг.2 – применение тестового рычага из фиг.1,
фиг.3 – образование системы опорной точки для тестового рычага,
фиг.4 – электронное устройство для обработки данных, которое может встраиваться в тестовый рычаг,
фиг.5 – возможности применения тестового рычага в сочетании с ведущим шкивом подъемника,
фиг.6 – другая возможность применения тестового рычага с ведущим шкивом,
фиг.7 – закрепление тестового рычага на подъемнике,
фиг.8 – другой вариант выполнения изобретения с тестовой головкой и крепежным устройством каната,
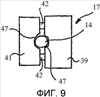
фиг.9 – крепежное устройство каната на виде сверху вдоль разреза IX-IX из фиг.8,
фиг.10 – тестовая головка тестового рычага, которая выполнена в качестве головной части рычага,
фиг.11 – представленный схематически вид ведущего шкива, на котором может крепиться тестовый рычаг,
фиг.12 – принцип точки упора перед несущими канатами.
Фиг.1 показывает первый вариант выполнения тестового рычага 1 с головной частью 2, которая расположена на тестовом рычаге с помощью установочного шарнира 3. Головная часть 2 рычага имеет приемный элемент 4 для каната. Приемный элемент 4 для каната имеет первую и вторую полку, между которыми может помещаться канат подъемника. Предпочтительно канат подъемника может фиксироваться, в частности зажиматься, в приемном элементе 4 без возможности реверсирования. Тестовый рычаг 1 имеет установочный шарнир 3, выполненный предпочтительно также в качестве опоры 5. Опора 5 дает возможность того, что тестовый рычаг 1 может опираться на опорную точку, используя ее, в частности, в качестве крепежной точки или точки вращения. При этом, в частности, следует учесть, что опора 5 предпочтительно является не поверхностью в форме точки, а, скорее, имеет продольно проходящую опорную поверхность. Головная часть 2 рычага, которая посредством установочного шарнира 5 расположена с возможностью поворота на тестовом рычаге 1, может благодаря этому приводиться в различные позиции, так чтобы опора 5 могла опираться. Таким образом, тестовый рычаг может гибко приспосабливаться к различным помещениям, которые выберет контролер у подъемника и, в частности, в шахте подъемника. Штриховкой обозначен максимальный круг поворота головной части 2 рычага вокруг установочного шарнира 3. Дальнейшее усовершенствование предусматривает, что головная часть 2 рычага может произвольно поворачиваться и фиксироваться лишь в определенном угловом диапазоне. Этот угловой диапазон может составлять от 10° до 350°. Далее, тестовый рычаг 1 имеет встроенное измерительное устройство 6. Измерительное устройство, в свою очередь, имеет встроенное устройство 7 обработки данных, которое соединено с сигнальным устройством 8. Сигнальное устройство 8 содержит, например, одно или несколько средств индикации, в частности световые диоды. Конструкция тестового рычага 1 позволяет, чтобы он образовал первую область в виде плеча 9 нагрузки и вторую область в виде плеча 10 приложения силы. Плечо 9 нагрузки и плечо 10 силы предпочтительно так, как представлено, разделяются опорой 5. Тестовое усилие прикладывается к плечу 10 силы и через плечо 9 нагрузки передается на канат подъемника. Кроме того, определяется, имеется ли или не имеется достаточная подъемная способность у привода ведущего шкива подъемника.
Тестовый рычаг 1 использует, в частности, упругие пружинящие свойства материала тестового рычага 1. Они образуют первичный датчик измерительного устройства подъемной способности и замедления. При измерении подъемной способности предпочтительно с помощью измерительных средств регистрируется временное удлинение материала тестового рычага при воздействии сил через головную часть рычага с помощью встроенных в рычаг датчиков деформации материала, например датчиков усилий, как, например, тензометрических датчиков, и подвергается электронной обработке. Тестовое усилие создается, в частности, путем ручного нажатия тестового рычага 1 на плечо 10 силы, трансформируется через плечо 9 нагрузки в установленную точку на канате подъемника, причем прилагаемая там сила регистрируется с помощью измерительных средств на основе определенных физических свойств тестового рычага, в частности действующих закономерностей для рычага.
Предпочтительно тестовый рычаг 1 имеет встроенный датчик 11 ускорения. При измерении замедления предпочтительно регистрируется воздействие силы инерции массы, в частности силы инерции массы головной части 2 рычага. Предпочтительно тестовый рычаг образован в виде консоли. Воздействующее на тестовый рычаг 1 замедление, как и ускорение, приводит к отклонению тестового рычага 1, который, к примеру, зафиксирован относительно головной части 2 рычага. Так как тестовый рычаг 1 одновременно также обладает определенной массой, то в сочетании с силой инерции массы является возможным сделать заключение относительно способности ускорения подъемника.
Например, измерение замедления можно зарегистрировать благодаря тому, что при торможении или запуске подъемника производимое в тестовом рычаге 1 временное удлинение материала тестового рычага можно зарегистрировать посредством, например, встроенных датчиков деформации материала, например тензометрических датчиков, и обработать в качестве сигнала замедления. Дополнительно в форме определения базового значения может быть жестко встроен другой датчик ускорения в тестовом рычаге 1, который распознает замедление с помощью измерения по двум осям, передает его встроенному в тестовом рычаге 1 измерительному устройству 6 и устройству 7 для обработки данных, которое производит корреляционный сигнал.
Результаты измерения приводной способности, а также измерения замедления, в частности, при превышении, как и при недостижении заданного предельного значения сигнализируются оптически и/или акустически с помощью сигнального устройства 8.
Фиг.2 показывает первую возможность применения тестового рычага 1 по фиг.1. Подъемник 12 имеет ведущий шкив 13, с помощью которого приводятся в движение один или несколько канатов 14 подъемника.
Тестовый рычаг опирается своей опорой 5 на крепежное устройство 17 каната. Крепежное устройство 17 каната служит для введения сил в канат 14 подъемника. Крепежное устройство 17 каната устанавливается, например, с помощью фиксирующего элемента путем привинчивания или зажимания, причем тестовый рычаг 1 может устанавливаться на крепежном устройстве 17 каната своей опорой 5 с возможностью вращения. Далее, на подъемнике расположен упорный элемент 18. Упорный элемент 18 служит для создания опорной точки для головной части 2 рычага тестового рычага 1. Упорный элемент 18 можно установить, например, на ведущем шкиве 13. В качестве примера ведущий шкив может иметь отверстие или также упор, с помощью которого тестовый рычаг 1 получает опорную точку. Как представлено на фиг.2, опорная точка образуется с помощью упорного элемента 18 также посредством части 19 здания. Также для этого может служить неподвижная часть подъемника. В частности, для образования опорной точки можно использовать проем в потолке, раму установки и/или также держатель направляющих. Как представлено, упорный элемент 18 может быть дистанцирован от части 19 здания. Это можно выполнить, например, с помощью каната, который закрепляется на части 19 здания и на конце имеет упорный элемент 18. Если теперь на тестовый рычаг 1 оказать тестовое усилие F1, то усилие F2 передается на канат 14 подъемника. Переданное усилие F2 при этом генерируется в зависимости от конструктивно заданных соотношений рычага в зависимости от тестового усилия F1.
Фиг.3 показывает возможность образования упорного элемента 18 при использовании направляющего ролика 20, с помощью которого направляется крепежный канат 21. Крепежный канат 21 прикреплен, например, к части 19 здания, а направляющий ролик 20 закреплен на части 22 подъемника.
Фиг.4 показывает пример электронного устройства 7 обработки данных, которое может встраиваться в тестовый рычаг.
Конструкция встроенных в тестовый рычаг элементов, содержит, например, первый датчик 23.1 ускорения, второй датчик 23.2 ускорения, соответствующий усилитель 24, вычислительное и управляющее устройство 25, переключатель 26 диапазона, датчик 27 деформации материала, к которому подключен усилитель 24, индикаторное устройство 28, которое, например, может показать сигнал как оптическим, так и акустическим способом, аналого-цифровой преобразователь 29, устройство 30 для передачи сигнала, а также, например, устройство 31 снабжения энергией в виде устройства подачи постоянного тока. Другие варианты выполнения устройства 7 обработки данных могут иметь один или несколько из этих конструктивных элементов в комбинации с другими. Устройство 30 для передачи сигналов предпочтительно пригодно для передачи радиосигналов и имеет соответствующий передатчик. Передаваемый радиосигнал, например, через приемник 32 направляется к компьютеру 33, с помощью которого может осуществляться дальнейшая обработка.
Измерение подъемной способности с помощью тестового рычага осуществляется, например, следующим образом: посредством датчика 27 деформации материала сигнал измерения через усилитель 24 и подключенный к нему аналого-цифровой преобразователь 29 подается на вычислительно-управляющее устройство 25 в виде оцифрованного сигнала. При этом с помощью переключателя 26 диапазона можно настроить измерительный диапазон датчика 27 деформации материала. С помощью индикаторного устройства 28 можно оптически или акустически сигнализировать, находится ли воспринятое измеренное значение в предварительно заданном измерительном диапазоне или находится за его пределами. Предпочтительно результат измерения в форме данных о предельном значении (правильно/неправильно) индицируется непосредственно на тестовом рычаге. Это может осуществляться оптическим и/или акустическим способом. Дополнительно имеется возможность с помощью устройства 30 для передачи сигналов осуществлять передачу по радио. Для этого устройство 30 для передачи сигналов может активироваться с помощью вычислительно-управляющего устройства 25, чтобы передавать, в частности, цифровой, кодированный, защищенный от ошибок пакет данных, который генерирован в вычислительно-управляющем устройстве. Предпочтительно пакет данных наряду с данными измерений имеет защиту от ошибок, а также источник информации. Таким образом, можно, в частности, обеспечить, что, с одной стороны, имеется достаточная защита данных. С другой стороны, этот вид кодирования позволяет однозначное распределение принятых совместимым приемником сигналов, которые, например, посредством компьютера 33 могут снова декодироваться и обрабатываться. В частности, это дает возможность того, что компьютер 33 может принимать и обрабатывать множество пакетов данных из различных мест. Предпочтительно эта система предлагается при дистанционном контроле подъемника. Передача пакета данных наряду с передачей через радиоканал может подаваться к компьютеру через телефонную сеть или по электросети.
Измерение ускорения, к примеру, с помощью тестового рычага осуществляется, например, следующим образом: тестовый рычаг закрепляется, например, на раме кабины подъемной установки таким образом, что головная часть рычага образует свободно подвижную консоль. Головная часть рычага своей заданной массой детектирует возникающее ускорение в виде силы инерции массы, что приводит к временной деформации тестового рычага. Временная деформация воспринимается, например, одним или несколькими датчиками 27 деформации материала. Они могут, в частности, иметь встроенный измерительный мостик, в котором производится сигнал, инициируемый соответствующей деформацией. С помощью переключателя 26 диапазона можно предварительно настроить измерительный диапазон, так что направленный через усилитель 24 к аналого-цифровому преобразователю 29 сигнал подается на вычислительно-управляющее устройство 25 предпочтительно для образования базового значения с другим двухкоординатным датчиком 23.3 ускорения. Двухкоординатный датчик 23.3 ускорения определяет значения замедления, которые передаются через преобразующую ступень 34 вычислительно-управляющему устройству 25 в качестве оцифрованных сигналов. Поступающие в вычислительно-управляющее устройство 25 оцифрованные сигналы сравниваются, оцениваются и направляются дальше. К примеру, с помощью индикаторного устройства 28 можно вызвать оптические, а также акустические оповещения, которые показывают, идет ли речь при воспринятом измеренном значении об установленном посредством переключателя 26 диапазона, в пределах или за пределами измерительном диапазоне.
Так как и в приведенном в качестве примера измерении подъемной способности при описанном выше измерении ускорения существует возможность с помощью устройства 30 для передачи сигнала посылать предпочтительно кодированные пакеты данных, которые можно доставлять к приемнику 32 в форме кодированного и помехозащищенного пакета данных. Также эти пакеты данных могут содержать оцифрованные данные измерений с защитой от ошибок, а также с информацией об источниках. Предпочтительно пакет данных имеет данные измерений деформации материала и ускорении в двух координатах. Дальнейшее развитие предусматривает, что данные измерений непрерывно посылаются, например, компьютеру 33. Это может осуществляться также только при необходимости. Для дальнейшей передачи подходит, например, модемная передача по мобильному телефону, а также и канал передачи по телефонной линии. В частности, компьютер 33 может быть предусмотрен только лишь в качестве дополнения, причем электронная обработка данных и индикация в достаточной степени осуществляются в самом тестовом рычаге.
Фиг.5 показывает возможность применения тестового рычага 1 во взаимодействии с ведущим шкивом 13. Ведущий шкив 13 имеет упорный элемент 18, посредством которого тестовый рычаг 1 может передавать усилие на крепежное устройство 17 каната. Ведущий шкив 13 может, например, иметь одно или несколько отверстий, распределенных по периметру. В эти отверстия можно вставить один или несколько болтов. Тестовый рычаг 1 на конце образован таким, что головная часть 2 рычага может захватить болт. Если на тестовый рычаг 1 воздействует тестовое усилие, то, с одной стороны, усилие воздействует на крепежное устройство 17 каната, а с другой стороны, на упорный элемент 18 действует контрсила. Дальнейшее развитие изобретения предусматривает, что болт имеет упорную обойму, в которую может входить головная часть рычага.
Фиг.6 показывает другую возможность применения тестового рычага 1 на ведущем шкиве 13. К примеру, может быть необходимым, что ввиду имеющегося в распоряжении пространства плечо 9 нагрузки должно поворачиваться на установочном шарнире 3. Тестовый рычаг образован таким образом, что он в области установочного шарнира 3 может быть соединен с ведущим шкивом 13. Это можно осуществить, например, током с помощью болтового соединения. Плечо 9 нагрузки с помощью своего приемного элемента 4 для каната захватывает канат подъемника и опирается на крепежное устройство 17 каната при воздействии тестового усилия на тестовый рычаг 1.
Фиг.7 показывает крепление тестового рычага 1 на подъемнике 12. Подъемник 12 содержит кабину 35 подъемника, на которой расположена рама 36 кабины. Рама 36 кабины имеет крепление 37, с помощью которого тестовый рычаг 1 может стационарно закрепляться на раме 36 кабины и тем самым на кабине 35 подъемника. Тестовый рычаг 1 образует при этом свободно подвижную консоль, причем головная часть 2 рычага имеет определенную массу (m), которая может отклоняться с возможностью измерения соответственно как отрицательному, так и положительному ускорению кабины 35 подъемника. Таким образом, можно проводить измерение ускорения с помощью тестового рычага 1.
Фиг.8 показывает другой вариант выполнения тестового рычага с тестовой головкой 38 и вариант выполнения крепежного устройства 17 каната. Крепежное устройство 17 каната выполнено, например, из двух частей, причем первая конструктивная часть 39 образует сопряженную часть 40 для опоры 5 тестового рычага 1. Вторая конструктивная часть 41 соединена с первой конструктивной частью 39 с помощью винтов 42. Винты 42 имеют предпочтительно резьбу 43, так что не показанная стопорная гайка может действовать по направлению к первой конструктивной части 39. Первая конструктивная часть 39 и вторая конструктивная часть 41 зажимают канат 14 подъемника. Предпочтительно крепежное устройство 17 каната выполнено таким образом, что канат 14 подъемника так, как показано, проходит концентрично через сопряженную часть 40 и вместе с тем через опору 5. Таким образом, предотвращается то, что приложение усилий передает в канат поперечные усилия, которые могли бы привести к искажению результатов измерений. Предпочтительно это устройство 17 для крепления каната, как и тестовый рычаг 1, образовано таким образом, что между сопряженной частью 40 и опорой 5 имеется подвижность. Например, опора 5 и сопряженная часть 40 имеют различные углы, так что становится возможным скатывание опоры 5 по сопряженной части 40. Опора 5 или сопряженная часть 40 для этого, в частности, по меньшей мере, частично может быть образована круглой, изогнутой или прямолинейной. Предпочтительно тестовый рычаг 1 и крепежное устройство 17 каната подогнаны друг к другу таким образом, что они в среднем положении образуют угол 43 раскрытия, который составляет предпочтительно от 10° до 25°, в частности, 12,5-17,5°, предпочтительно 15°. Согласно одному варианту выполнения угол 43 раскрытия с обеих сторон одинаков, согласно другому варианту выполнения различный.
Фиг.8 показывает тестовую головку 38, которая образует головную часть 2 рычага. Тестовая головка 38 вставлена в трубу 44. Там она удерживается с помощью фиксирующего элемента 45. Фиксирующий элемент 45 выполнен, например, в виде винтового соединения. Труба 44 выполнена предпочтительно из металла. Головная часть 2 рычага имеет приемный элемент 46 для упорного элемента. Приемный элемент 46 для упорного элемента может захватывать упорный элемент 18, как это следует из фиг.2, фиг.3, а также фиг.5.
Фиг.9 показывает крепежное устройство 17 каната на виде вдоль разреза IX-IX из фиг.8. Первая конструктивная деталь 39 и вторая конструктивная деталь 41 скреплены друг с другом двумя винтами 42. Винтовое соединение, в частности, образовано так, что на канат 14 подъемника оказывается достаточное зажимное усилие. Для этого детали 39, 41 имеют зажимные поверхности 47. Зажимная поверхность 47 может иметь полностью или частично изогнутые, круглые или даже прямые поверхности. В частности, вся зажимная поверхность может иметь угловатость, предпочтительно для центрирования каната 14 подъемника в крепежном устройстве 17 каната.
Фиг.10 показывает отделенную от трубы тестовую головку 38 из фиг.8. Тестовая головка 38 имеет приемный элемент 4 для каната в форме двух расположенных друг от друга на расстоянии плеч. Далее, головная часть 2 рычага имеет возможность направленно размещать упорный элемент 18, который обозначен штриховой линией. Дополнительно на упорном элементе 18 может быть помещен, например, крепежный канат 21. Также существует возможность, что между плечами в тестовой головке 38 расположена часть ведущего шкива.
Фиг.11 показывает в схематичном виде ведущий шкив 13, по которому проходят 4 каната 14 подъемника. Например, ведущий шкив 13 может иметь отверстия, через которые может проходить болт в качестве упорного средства 18. Не показанный тестовый рычаг может затем входить в упорный элемент 18. Другой вариант выполнения предусматривает упорную обойму 49, которая, к примеру, проходит по всей ширине ведущего шкива 13 и насажена на болты 18. Тестовая головка 2 может попеременно фиксироваться для каждого несущего каната 14 подъемника 12 с помощью упорной обоймы 49. Далее, можно предусмотреть также одну или несколько маркировок 48, с помощью которых можно детектировать проскальзывание каната подъемника. К примеру, это может осуществляться также путем автоматического распознавания, например, с помощью оптического контрольного устройства.
Фиг.12 показывает другой вариант выполнения для контроля посредством тестового рычага 1 во взаимодействии с ведущим шкивом 13 подъемной способности подъемника. Например, тестовый рычаг 1 можно повернуть вокруг его оси на 180°. Головная часть 2 тестового рычага 1 опирается на опорную поверхность 50. Опорная поверхность 50 образуется с помощью фиксирующего элемента 51, который закреплен на канате 14 подъемника предпочтительно с возможностью отделения. Система опорной точки в этом варианте выполнения образуется благодаря тому, что на жестко установленном относительно каната 14 подъемника участке 52 имеется соединение 53 для образования опорной точки 54 с тестовым рычагом 1. Участок 52, как и соединение 53, выбраны предпочтительно такими, чтобы тестовый рычаг относительно головной части 2 рычага проходил от ведущего шкива 13. Предпочтительно, как представлено, участок 52 расположен по отношению к ведущему шкиву 13 таким образом, что тестовый рычаг расположен не между канатом подъемника, который проходит по обе стороны от ведущего шкива 13. Благодаря приложению усилия F1 растяжения в направлении вверх на канат 14 подъемника оказывается соответствующее тестовое усилие F2. Эта система имеет, например, то преимущество, что контролер не должен работать под ведущим шкивом 13.
Настоящее изобретение позволяет выполнять связанные с техникой безопасности тестовые задачи для контроля безопасности на подъемных и транспортных установках или установках, например, с тяговыми приводами с силовым замыканием при, в частности, повторяемых тестах, при тестировании систем, контроле конформности и т.п. предпочтительно аккредитованными или другими контрольными организациями или прочими авторизованными службами и лицами.
Формула изобретения
1. Портативный тестовый рычаг (1) с плечом (9) нагрузки и плечом (10) приложения силы для контроля приводной способности и/или способности ускорения подъемника (12) со встроенным измерительным устройством (6), дистанцированным от плеча (10) приложения силы и расположенным на плече (9) нагрузки приемным элементом, в частности, по меньшей мере, приемным элементом (4) для каната, и опорой (5).
2. Рычаг (1) по п.1, отличающийся тем, что расстояние между приемным элементом, в частности, приемным элементом (4) для каната, и опорой (5) может устанавливаться заданным образом относительно измерения параметров.
3. Рычаг (1) по п.1 или 2, отличающийся тем, что с помощью приложенного к плечу (10) силы тестового усилия может восприниматься значение параметра, характеризующего состояние подъемника (12).
4. Рычаг (1) по п.1 или 2, отличающийся тем, что имеет, по меньшей мере, один встроенный датчик (27) деформации материала, в частности, тензометрический датчик.
5. Рычаг (1) по п.1 или 2, отличающийся тем, что имеет встроенный датчик (23.1) ускорения.
6. Рычаг (1) по п.1 или 2, отличающийся тем, что имеет встроенное устройство (7) обработки данных, связанное с сигнальным устройством (8).
7. Рычаг (1) по п.1 или 2, отличающийся тем, что содержит устройство (30) передачи сигнала, которое позволяет беспроводную передачу сигнала к расположенному отдельно компьютеру (33).
8. Рычаг (1) по п.1 или 2, отличающийся тем, что имеет встроенное, заменяемое устройство подачи энергии.
9. Способ измерения подъемной способности каната (14) подъемника и/или способности ускорения подъемника (12) со следующими этапами:
закрепление портативного тестового рычага (1), который имеет плечо нагрузки и плечо приложения силы, а также встроенное измерительное устройство и дистанцированный от плеча приложения силы приемный элемент,
образование опорной точки для тестового рычага (1),
оказание тестового усилия на часть тестового рычага (1), которое передается на канат (14) подъемника посредством тестового рычага (1), и
прием параметра измерения, характеризующего состояние подъемника.
10. Способ по п.9, отличающийся тем, что параметр измерения анализируется в тестовом рычаге (1) и результат индицируется в испытательном рычаге (1) благодаря инициированию сигнала.
11. Способ по п.9 или 10, отличающийся тем, что осуществляется качественная индикация.
12. Способ по п.9 или 10, отличающийся тем, что сигнал передается на отдельно расположенную компьютерную установку.
13. Система тестового рычага (1) по п.1, конец которой расположен на части (22) подъемника, в частности, на канате (14) подъемника, причем опорная точка тестового рычага (1) образуется путем соединения с частью здания и/или частью (19, 22) подъемника.
14. Система тестового рычага (1) по п.1, расположенная на установленной подвижно части подъемника.
15. Система тестового рычага (1) по п.14, расположенная на установленной подвижно части подъемника примерно в вертикальной или горизонтальной ориентации.
16. Крепежное устройство (17) каната для тестового рычага (1) по п.1 с расположенной по центру направляющей для каната (14) для образования сопряженной части (40) для опоры (5) тестового рычага (1).
17. Крепежное устройство (17) каната по п.16, отличающееся тем, что оно содержит фиксирующий элемент (51) для тестового рычага (1).
18. Крепежное устройство (17) каната по п.17, отличающееся тем, что фиксирующий элемент (51) образует опорную точку для тестового рычага (1).
РИСУНКИ
|
|