|
(21), (22) Заявка: 2005107706/11, 20.08.2003
(24) Дата начала отсчета срока действия патента:
20.08.2003
(30) Конвенционный приоритет:
21.08.2002 (пп.1-8, 9-11) SE 0202487-5
(43) Дата публикации заявки: 10.09.2005
(46) Опубликовано: 10.03.2008
(56) Список документов, цитированных в отчете о поиске:
US 6264069 А, 24.07.2001. US 2838073 А, 10.06.1958. GB 1550080 A, 08.08.1978. JP 3157599 A, 05.07.1991. SU 1149097 A, 07.04.1985. SU 1725005 A1, 07.04.1992.
(85) Дата перевода заявки PCT на национальную фазу:
21.03.2005
(86) Заявка PCT:
SE 03/01295 (20.08.2003)
(87) Публикация PCT:
WO 2004/018345 (04.03.2004)
Адрес для переписки:
129010, Москва, ул. Б.Спасская, 25, стр.3, ООО “Юридическая фирма Городисский и Партнеры”, пат.пов. С.А.Дорофееву
|
(72) Автор(ы):
ГУСТАФССОН Пер (SE)
(73) Патентообладатель(и):
ЭКО ЛИН РЕСЕРЧ ЭНД ДИВЕЛОПМЕНТ А/С (DK)
|
(54) УСТРОЙСТВО ДЛЯ КОМПЕНСАЦИИ ПЕРЕПАДА ДАВЛЕНИЙ
(57) Реферат:
Изобретение относится к устройству для компенсации перепада давлений в трубопроводе, через который течет жидкость, и к системе, содержащей такое устройство. Устройство содержит сжимаемый трубчатый участок, который соединен с трубопроводом, а также содержит ограничительное средство, неэластичное в периферическом направлении, и служащее для противодействия растяжению трубчатого участка в периферическом направлении, а также позволяющее свободное сжатие трубчатого участка. Достигается создание усовершенствованного устройства для компенсации перепада давлений в трубопроводе, недорогого в производстве, установке и ремонте, а также создание усовершенствованной системы для компенсации перепада давлений в трубопроводе. 2 н. и 9 з.п. ф-лы, 8 ил.
Настоящее изобретение относится к устройству для компенсации перепада давлений в трубопроводе, через который течет жидкость, и к системе для заполнения контейнеров, содержащей такое устройство. Настоящее изобретение конкретнее относится к такому устройству, включающему сжимаемый трубчатый участок, который соединен с трубопроводом.
Устройства для компенсации перепада давлений в трубопроводе, через который течет жидкость, используют, например, в пищевой промышленности для заполнения контейнеров на разливочной машине.
Разливочная машина соединена с трубопроводом и имеет разливочную станцию, в которой жидкое содержимое, такое как молоко или фруктовый сок, разливается в пустые контейнеры. С этой целью, разливочное устройство обычно содержит разливочную трубку, которая через разливочный клапан соединена с трубопроводом. Для заполнения контейнера разливочная трубка помещается в контейнер, после чего открывается разливочный клапан. Когда разливочный клапан открыт, жидкость при этом будет течь через разливочный клапан в контейнер. После того, как требуемый объем переведен в контейнер, разливочный клапан закрывается. Разливочный клапан может, например, быть управляемым по времени или по объему. Тогда заполненный контейнер может быть перевезен по конвейеру к запечатывающему устройству, и новый пустой контейнер может быть подан к устройству для розлива.
Когда разливочный клапан открывают, давление в трубопроводе падает. Это падение давления может вызвать более или менее серьезные нарушения.
Падение давления может распространяться к другим разливочным устройствам, которые присоединены к трубопроводу, и таким образом будет влиять на разливочные процессы, которые управляются разливочными клапанами соответствующих разливочных устройств.
Кроме того, падение давления может повлиять на разливочный процесс, контролируемый данным разливочным клапаном. Конкретнее, падение давления влияет на скорость, с которой продукт течет по трубопроводу.
Если разливочный клапан управляется по времени, падение давления таким образом создает неопределенность по отношению к точности, с которой заполняется контейнер. Контейнер также может заполняться слишком малым или слишком большим количеством жидкости.
Если разливочный клапан управляется по объему, падение давления означает, что время заполнения, требуемое для заполнения контейнера, увеличивается, так как падение давления вызывает снижение скорости потока продукта в трубопроводе.
Когда клапан закрывают после заполнения, возникает резкое повышение давления (гидравлический удар), распространяющееся по трубопроводу. Этот удар может повредить разливочное устройство и также оказывать влияние на процессы заполнения на других разливочных устройствах, соединенных с трубопроводом.
Для устранения, или, во всяком случае, снижения вредного влияния указанных перепадов давлений, к трубопроводу обычно подключают устройство для компенсации перепадов давления.
Такое известное устройство для компенсации перепадов давлений представляет собой так называемую уравнительную емкость, то есть резервуар, в котором уровень жидкости регулируется поплавком, управляющим подачей жидкости. Уровень жидкости регулируется так, чтобы он всегда поддерживался в определенных пределах, независимо от выброса жидкости из резервуара. Когда жидкость вытекает из резервуара, это происходит под действием силы тяжести, и не возникнет ни падения давления, ни гидравлического удара соответственно в начале и в конце вытекания. Эта конструкция, однако, имеет тот недостаток, что ее сложно очищать и стерилизовать, что является важным аспектом в системах для заполнения контейнеров жидким пищевым содержимым. Эта конструкция также является относительно дорогой при изготовлении и установке.
В патенте SE 410844 описано устройство для компенсации перепада давлений в трубопроводах, через которые проходит жидкость, и это устройство частично решает упомянутые проблемы традиционных устройств в отношении чистки и стерилизации. Это устройство содержит первую и вторую камеры, примыкающие друг к другу, и разделенные посредством гибкой стенки. Первая камера имеет вход и выход, последовательно соединенные с трубопроводом. Вторая камера соединена через средства управления с источником сжатого воздуха. В случае резкого повышения давления (гидравлического удара) в трубопроводе, стенка первой камеры растягивается в соответствии с повышением давления. Давление во второй камере регулируется так, чтобы компенсировать изменение объема первой камеры. Падение давления компенсируется способностью первой камеры сжиматься.
Устройство согласно патенту SE 410844, однако, имеет серьезный недостаток, заключающийся в крайне ограниченном сроке службы. Причиной этого является повторяющееся растяжение стенки первой камеры, вызванное указанными перепадами давлений. До сих пор сложно найти материал, который бы мог подвергаться таким растяжениям с приемлемым сроком службы.
В патенте США 6264069 описано устройство для успокоения волн жидкости. Устройство состоит из внутренней и внешней трубок, внутренняя трубка соединена, например, с системой для розлива напитков. Устройство предназначено для гашения волн от насоса в системе. Волна заставляет внутреннюю трубку расширяться до контакта с внешней трубкой, которая предотвращает ее дальнейшее расширение.
Устройство, описанное в патенте США 6264069, однако, сталкивается с проблемами, аналогичными устройству SE 410844, т.е. повторяющиеся растяжения внутренней трубки приводят к сокращению ее срока службы.
В патенте США 2838073 описано устройство, которое предназначено для успокоения перепадов давления в огнемете. Устройство по патенту США 2838073 состоит из упругой внутренней трубки из толстой резины и внешней армированной трубки. Когда возникает перепад давления, внутренняя трубка расширяется для поглощения прилагаемых усилий. Внешняя трубка служит для ограничения расширения до заданной степени. Это устройство также имеет короткий срок службы, так как внутренняя трубка подвергается многократному растяжению.
В патенте США 2875786 описано устройство для успокоения волн жидкости. Это устройство состоит из внутренней неэластичной перфорированной трубки, эластичной трубки, которая расположена непосредственно снаружи этой трубки и второй неэластичной трубки, которая окружает эластичную трубку. Когда в системе возникает волна, эластичная трубка расширяется и, таким образом, успокаивает волну. Другая трубка обеспечивает то, что указанное расширение может происходить лишь до определенного предела. Патент США 2875786 также имеет проблемы, аналогичные Патентам США 6264069 и 2838073, так как эластичная трубка растягивается повторно.
Патент JP 3175599 описывает шланг (рукав) для герметичных систем. Шланг содержит внутренний слой внешний слой. Армированный слой расположен на противоположных сторонах соответствующих слоев. Пластиковый армированный слой расположен между армированными слоями. Армированный пластиковый слой служит для того, чтобы шланг мог расширяться только до определенного предела. Шланг по JP 3175599 не предназначен для влияния на давление в системе, но также имеет короткий срок службы из-за повторяющихся растяжений.
Таким образом существует потребность в менее дорогом и проще очищаемом устройстве, которое может компенсировать падение давления в трубопроводе, и которое также имеет удовлетворительный срок службы.
Принимая во внимание вышесказанное, задача настоящего изобретения состоит в создании усовершенствованных устройства и системы для компенсации перепада давлений в трубопроводе.
Особой задачей изобретения является создание устройства, а также системы для заполнения контейнеров, содержащей такое устройство для компенсации перепада давлений в трубопроводе, которое является относительно недорогим, имеет удовлетворительный срок службы и которое легко очищать.
Для решения по меньшей мере одной из этих задач, а также других задач, которые будут понятны из последующего описания, предлагается устройство и система в соответствии с изобретением, имеющие признаки, изложенные в пункте 1 и в пункте 11, соответственно, предпочтительные варианты выполнения которых определены в зависимых пунктах.
Конкретнее, в соответствии с настоящим изобретением предлагается устройство для компенсации перепада давлений в трубопроводе, через который течет жидкость, содержащее сжимаемый трубчатый участок, соединяемый с указанным трубопроводом. Устройство характеризуется тем, что содержит ограничительные средства, которые противодействуют растяжению трубчатого участка в периферическом направлении и позволяют свободное сжатие трубчатого участка.
Это обеспечивает улучшение устройства для компенсации перепада давлений в трубопроводе.
Так как это устройство содержит трубчатый участок, соединяемый с трубопроводом, получается устройство, которое чрезвычайно легко очистить. Устройство по изобретению и его трубчатый участок могут быть, в частности, очищены вместе при очистке данного трубопровода.
Кроме того, устройство по изобретению может обеспечить удовлетворительный срок службы. Благодаря тому, что растяжению оказывается противодействие и таким образом оно практически предотвращается, трубчатый участок не будет подвергаться повторным растяжениям, таким образом устраняя проблемы, связанные с указанным растяжением, снижающим срок службы в результате усталости трубчатого участка, вызванной указанным растяжением.
Устройство также недорого в производстве, установке и ремонте, так как конструкция довольно простая и несложная.
Тем не менее, устройство подходит для эффективного устранения перепада давлений в трубопроводе, так как ограничительное средство позволяет свободное сжатие трубчатого участка.
Под свободным сжатием понимается, что трубчатый участок способен беспрепятственно принимать сжатое положение (состояние). Такое свободное сжатие имеет решающее значение в отношении возможности эффективного управления перепадом давлений без подвергания трубчатого участка напряжениям, негативно влияющим на его срок службы.
В соответствии с предпочтительным вариантом выполнения устройства по изобретению ограничительное средство интегрировано в стенку трубчатого участка. В результате обеспечивается гигиеничное устройство, которое легко установить, а также хранить и очищать.
Ограничительное средство может представлять собой армирование, встроенное в стенку трубки. Армирование легко отрегулировать так, чтобы оно оказывало противодействие растяжению трубчатого участка во время свободного сжатия трубчатого участка, таким образом обеспечивая прочный трубчатый участок с удовлетворительным сроком службы.
В соответствии с другим предпочтительным вариантом выполнения ограничительное средство расположено снаружи трубчатого участка. Это обеспечивает то, что ограничительное средство может представлять собой обычную армированную трубку, такую как пожарный шланг. В результате, устройство по изобретению может быть получено из относительно недорогих стандартных компонентов, с учетом того, что указанный трубчатый участок должен быть пригодным для пищевых продуктов, поскольку этот участок будет контактировать с продуктом.
Ограничительное средство предпочтительно неэластично в периферическом направлении. Это противодействует растяжению в периферическом направлении трубчатого участка вплоть до полного предотвращения такого растяжения.
Ограничительное средство может иметь такой предел прочности, чтобы предотвращать растяжение в периферическом направлении трубчатого участка при давлении, превышающем атмосферное на величину в пределах от 1 до 10 Бар.
Ограничительное средство предпочтительно является гибким, чтобы позволять свободное сжатие трубчатого участка.
В соответствии с другим вариантом выполнения устройство по изобретению содержит корпус, в котором расположены указанный трубчатый участок и указанное ограничительное средство, причем также обеспечено средство приложения давления для создания преобладающего давления в корпусе, немного ниже нормального давления, преобладающего в трубчатом участке при работе. Это обеспечивает сжатие трубчатого участка также при таком перепаде давлений, когда результирующее давление в трубчатом участке превышает атмосферное давление.
Средство приложения давления может быть средством подачи сжатого воздуха, которое простым и недорогим образом позволяют приложить указанное давление в корпусе.
Трубчатый участок устройства предпочтительно является гибким и растягивающимся для достижения указанной сжимаемости.
Кроме того, в соответствии с изобретением предлагается система для заполнения контейнеров жидким содержимым, содержащая трубопровод, который ведет к по меньшей мере одной устройству для розлива с по меньшей мере одним разливочным клапаном. Система в соответствии с изобретением характеризуется тем, что содержит устройство, соответствующее одному из указанных вариантов, которое расположено (по ходу) перед указанным по меньшей мере одним устройством для розлива, соединено с указанным трубопроводом и способно компенсировать перепад давлений в трубопроводе.
Это обеспечивает улучшенную систему для розлива, имеющую преимущества, описанные выше в связи с устройством по изобретению.
В соответствии с предпочтительным вариантом выполнения этой системы трубчатый участок расположен по существу прямолинейно и под углом к горизонтальной плоскости. Это обеспечивает то, что в случае перепада давлений трубчатый участок сжимается так, что способствует выдаче продукта. Конкретнее, сжатие будет происходить в форме сжимающего заполняющего движения, что обеспечивает вытекание продукта через трубчатый участок удовлетворительным образом.
Трубчатый участок устройства предпочтительно расположен под углом, составляющим от 5 до 90°, предпочтительнее от 10 до 45°, и наиболее предпочтительно от 25 до 35°.
Изобретение ниже описывается более подробно на неограничивающих примерах его выполнения со ссылкой на прилагаемые чертежи. Эквивалентным компонентам в обоих вариантах выполнения присвоены одинаковые позиции.
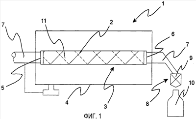
Фиг.1 – вид сбоку устройства по изобретению в нерабочем состоянии.
Фиг.2 – вид сбоку устройства по изобретению в состоянии под действием падения давления.
Фиг.3 – вид сбоку устройства по изобретению в состоянии под действием гидравлического удара.
Фиг.4 – поперечное сечение первого варианта выполнения изобретения.
Фиг.5 – поперечное сечение второго варианта выполнения изобретения.
Фиг.6 – схематичный вид системы по изобретению.
Фиг.7а и 7b – виды сбоку устройства в сжатом наклонном состоянии.
В соответствии с настоящим изобретением обеспечено устройство для компенсации перепада давлений в трубопроводе.
Такое устройство чрезвычайно выгодно для систем заполнения контейнеров жидким пищевым содержимым, в которых содержимое подается по указанному трубопроводу.
Ниже описано несколько предпочтительных вариантов выполнения настоящего изобретения, причем компоненты, имеющие эквивалентную и одинаковую функцию, обозначены одинаковыми позициями.
На Фиг.1 показан первый вариант выполнения устройства 1 по изобретению.
Устройство 1 содержит, в качестве основных компонентов, гибкий трубчатый участок 2, расположенное снаружи него ограничительное средство 3 и корпус 4, который окружает указанный трубчатый участок 2 и указанное ограничительное средство 3.
Показанный вариант выполнения устройства 1 содержит вход 5 и выход 6, через которые устройство 1 соединено с трубопроводом 7 таким образом, что трубчатый участок 2 устройства 1 образует часть пути трубопровода 7. Часть трубопровода 7, которая продолжается от выхода 6 устройства 1, ведет к устройству для розлива 8, схематично показанному как разливочный клапан 9. Разливочный клапан 9 способен открываться для выдачи продукта, протекающего в трубопроводе 7, например, для заполнения контейнера 10.
Трубчатый участок 2 изготовлен из эластичного материала, который растягивается в периферическом направлении и стремится к сжатию при применении давления, ниже окружающего давления в трубчатом участке 2. Устройство 1, как сказано выше, соединено с трубопроводом 7 и с этой целью содержит указанные вход 5 и выход 6, посредством чего трубчатый участок 2 устройства 1 может быть присоединен к трубопроводу 7 и может быть изготовлен так, чтобы образовывать часть ее.
Ограничительное средство 3, расположенное снаружи трубчатого участка 2, окружает трубчатый участок 2 в радиальном направлении и предназначен для противодействия растяжению трубки 2 в периферическом направлении.
В показанном варианте выполнения ограничительное средство 3 выполнено в форме трубки 12, например типа пожарного шланга, сотканной из неэластичных нитей, показанных позицией 11, причем указанная трубка 12 надета на указанный трубчатый участок 2 и таким образом эффективно противодействует его периферическому растяжению. Это более ясно показано на Фиг.4.
Ограничительное средство 3 также может быть выполнено так, чтобы предотвращать растяжение трубчатого участка 2 в периферическом направлении при приложении давления, преобладающего в участке трубке 2, которое превышает окружающее давление на 10-20 бар.
Для ограничительного средства важно, чтобы оно позволяло свободное сжатие трубчатого участка 2. Другими словами, ограничительное средство 3 не должно препятствовать сжатию трубчатого участка 2, чтобы обеспечить работу изобретенного устройства 1, которое будет подробно описано ниже, фактически наиболее важным для трубчатого участка 2 является способность беспрепятственно принимать сжатое положение.
Поэтому нельзя выполнить ограничительное средство 3 в виде жесткого цилиндра, расположенного с плотной посадкой на внешней поверхности трубчатого участка 2. Когда трубчатый участок 2 сжимается, его поперечное сечение фактически будет изменяться так, что этот участок будет сжиматься в одном направлении и растягиваться в другом, в плоскости, перпендикулярной продольному направлению трубчатого участка 2. Если ограничительное средство 3 выполнить в виде жесткого цилиндра, расположенного с плотной посадкой на внешней поверхности, то такое растяжение будет предотвращено.
Следовательно, ограничительное средство 3 должно быть эластичным, чтобы оно могло сжиматься вместе с трубчатым участком 2, и, таким образом, позволять ему беспрепятственно принимать его сжатое положение.
Понятно, что ограничительное средство 3 может быть обеспечено другим образом. Например, можно включить ограничительное средство 3 в трубчатый участок 2, как показано на Фиг.5. Конкретнее, ограничительное средство 3 в этом варианте представляет собой армирование 13 трубчатого участка 2, причем указанное армирование 13 содержит неэластичные нити 11, интегрированные в стенку 14 трубчатого участка 2, и нити 11 сориентированы так, чтобы противодействовать растяжению трубчатого участка 2 в периферическом направлении.
На Фиг.1 также видно, что устройство 1 содержит средство подачи сжатого воздуха 15, способное создавать давление, преобладающее в корпусе 4. Давление в корпусе 4 воздействует на внешнюю сторону трубчатого участка 2 и на ограничительное средство 3 и может изменяться в соответствии с текущим нормальным давлением в трубопроводе 7. Средство подачи сжатого воздуха 15 таким образом регулирует давление в корпусе 4 и управляется датчиком 16, расположенным в верхней части устройства 1 и контролирующим давление в трубопроводе 7.
Корпус 4 устройства 1 имеет отверстия 17, 18, через которые проходят вход и выход 5, 6 трубчатого участка 2 для соединения устройства 1, и конкретно его трубчатого участка 2, с трубопроводом 7.
Работа устройства 1, показанная на Фиг.1, теперь будет описана со ссылкой на Фиг.2.
Когда разливочный клапан 9 открывают, например для заполнения контейнера 10, давление в трубопроводе падает, и падение давления распространяется по трубопроводу 7. В ответ на падение давления трубчатый участок 2 сжимается, как показано на Фиг.2. Как описано выше, ограничительное средство 3 расположено таким образом, что трубчатый участок 2 может свободно сжиматься. Таким образом, падение давления, вызванное открытием разливочного клапана 9, будет скомпенсировано сжатием трубчатого участка 2, причем трубчатый участок 2 во время сжатия изменяет свой внутренний объем образом, соответствующим перепаду давлений. Это обеспечивает то, что давление в трубопроводе 7 остается практически неизменным, что обеспечивает требуемую точность дозирования продукта через разливочный клапан 9.
Трубчатый участок 2 способен свободно сжиматься, так что в его полностью сжатом состоянии он принимает плоскую форму. Когда трубчатый участок 2 может сжиматься таким образом, не возникает никаких вредных складок, которые могут сократить срок службы трубчатого участка 2.
Когда разливочный клапан 9 закрывают, например, когда контейнер 10 заполнен до требуемого уровня, возникает гидравлический удар. Этот удар по меньшей мере частично поглощается, т.е. гасится трубчатым участком 2, когда он принимает свое исходное несжатое положение и его объем снова увеличивается, как показано на Фиг.1.
Ограничительное средство 3 может быть способно позволять небольшое расширение в радиальном направлении, допуская небольшое растяжение трубчатого участка 2, например, на несколько процентов, в периферическом направлении, как показано на Фиг.3. Это приводит к дополнительному уменьшению волны, вызванной закрытием разливочного клапана 9. Однако обычно это растяжение в периферическом направлении поддерживается очень небольшим для обеспечения желаемого срока службы трубчатого участка 2. Под небольшим растяжением подразумевается растяжение, составляющее менее 5% в периферическом направлении.
На Фиг.6 показан предпочтительный вариант выполнения системы 19 по изобретению для заполнения контейнеров 10. Система 19 содержит устройство по изобретению 1, описанное, в частности, со ссылкой на Фиг.1.
Основными компонентами показанного варианта выполнения системы 19 являются резервуар для продукта 20, трубопровод 7, соединенный с резервуаром 20, устройство 1 по изобретению, последовательно подключенное к трубопроводу 7, и машину 21 для розлива, подключенную к трубопроводу 7 и содержащую три разливочных устройства 8. Процесс розлива на каждом устройстве 8 управляется разливочным клапаном 9, при этом от каждого разливочного клапана 9 проходит разливочная трубка 22.
Понятно, что дополнительные машины 21 для розлива могут быть подключены к трубопроводу 7, а каждое разливочное устройство 8 может содержать более одного разливочного клапана 9.
Жидкий продукт таким образом течет через трубопровод 7 из резервуара 20 через устройство 1 к разливочным устройствам 8.
Для заполнения контейнера 10 разливочную трубку 22 разливочного устройства 8 помещают в контейнер 10, после чего разливочный клапан 9 открывают и продукт выдают в контейнер 10.
Падение давления, которое при этом возникает в системе 19, компенсируется изобретенным устройством 1 путем свободного сжатия его трубчатого участка 2.
Как видно из чертежа, устройство по изобретению 1 установлено под углом к горизонтальной плоскости. Конкретнее, устройство 1 сориентировано так, что его выход 6 расположен ниже его входа 5. Это обеспечивает, что трубчатый участок 2 сжимается таким образом, что способствует вытеканию продукта, как показано на Фиг.7а и 7b.
Конкретнее, трубчатый участок 2 будет сначала сжиматься в соединении с указанным входом 5. Причиной этого является то, что давление в трубчатом участке 2 под действием силы тяжести немного выше на выходе 6, чем на входе 5. Таким образом, трубчатый участок 2 в соединении с указанным входом 5 будет иметь тенденцию к большему сжатию, чем трубчатый участок 2 в соединении с выходом 6.
Так как давление падает, трубчатый участок 2 будет таким образом изначально сжиматься в соединении с входом 5, после чего сжатая часть трубчатого участка 2 будет продвигаться, под постоянным действием силы тяжести, по направлению к выходу 6 в ходе заполнения. Вытекание продукта из устройства по изобретению будет больше поступления продукта к устройству из трубопровода, и таким образом размер сжатой части будет увеличиваться по мере ее продвижения к выходу, как видно на Фиг.7b. Путем наклона устройства способом, описанным выше, обеспечивается то, что продукт постоянно выдавливается из устройства 1 в ходе заполнения, что по понятным причинам облегчает точное заполнение контейнера 10.
В соответствии с настоящим изобретением обеспечены устройство 1 для компенсации перепада давлений в трубопроводе 7, а также система 19, содержащая такое устройство 1.
Устройство 1 содержит сжимаемый трубчатый участок 2, который соединен с трубопроводом 7. Устройство 1 также содержит ограничительное средство 3, служащее для противодействия растяжению трубчатого участка 2 в периферическом направлении и также позволяющее его свободное сжатие.
Так как устройство содержит трубчатый участок 2, соединенный непосредственно с трубопроводом 7, обеспечивается устройство 1, которое чрезвычайно просто очищать и стерилизовать.
Свободная сжимаемость трубчатого участка 2 также обеспечивает, что перепад давлений в трубопроводе 7 может быть эффективно скомпенсирован.
Наконец, способность ограничительных средств 3 противодействовать растяжению трубчатого участка 2 означает, что риск усталости и повреждений, вследствие повторного растяжения трубчатого участка 2, устраняется. Это гарантирует удовлетворительный срок службы изобретенного устройства 1.
Понятно, что настоящее изобретение не ограничено показанными вариантами выполнения.
Возможны различные модификации и изменения, поэтому объем настоящего изобретение определен исключительно прилагаемой формулой изобретения.
Формула изобретения
1. Устройство (1) для компенсации перепада давлений в трубопроводе (7), через который течет жидкость, содержащее сжимаемый трубчатый участок (2), соединенный с указанным трубопроводом (7), отличающееся тем, что содержит ограничительное средство (3), которое является неэластичным в периферическом направлении и противодействует растяжению сжимаемого трубчатого участка (2) в периферическом направлении, и которое является гибким, так что это ограничительное средство способно свободно сжиматься вместе с сжимаемым трубчатым участком (2).
2. Устройство по п.1, отличающееся тем, что ограничительное средство (3) интегрировано в стенку (14) сжимаемого трубчатого участка (2).
3. Устройство по п.2, отличающееся тем, что ограничительное средство (3) содержит армирование (13), включенное в указанную стенку (14).
4. Устройство по п.1, отличающееся тем, что ограничительное средство (3) расположено снаружи сжимаемого трубчатого участка (2).
5. Устройство по любому из пп.1-4, отличающееся тем, что ограничительное средство (3) имеет такой предел прочности, чтобы предотвращать растяжение сжимаемого трубчатого участка (2) в периферическом направлении при давлении выше атмосферного, превышающем его на величину в пределах от 1 до 10 Бар.
6. Устройство по любому из пп.1-4, дополнительно содержащее корпус (4), в котором расположены указанный сжимаемый трубчатый участок (2) и указанное ограничительное средство (3), а также содержащее средство приложения давления (15), преобладающего в корпусе (4), которое немного ниже нормального давления, преобладающего в сжимаемом трубчатом участке (2), при работе устройства.
7. Устройство по п.6, отличающееся тем, что средство приложения давления (15) является средством подачи сжатого воздуха (15).
8. Устройство по любому из пп.1-4, отличающееся тем, что сжимаемый трубчатый участок (2) является гибким и растяжимым.
9. Система (19) для заполнения контейнеров (10) жидким содержимым, содержащая трубопровод (7), ведущий к по меньшей мере одному устройству для розлива (8) с по меньшей мере одним разливочным клапаном (9), отличающаяся тем, что содержит устройство (1) по любому из пп.1-8, которое расположено, по ходу, перед указанным по меньшей мере одним устройством для розлива (8) и соединено с указанным трубопроводом (7) для компенсации перепада давлений в трубопроводе (7).
10. Система по п.9, отличающаяся тем, что сжимаемый трубчатый участок (2) продолжается, по существу, прямолинейно и расположен под углом к горизонтальной плоскости.
11. Система по п.10, отличающаяся тем, что указанный угол составляет от 5 до 90°, предпочтительнее, от 10 до 45°, и наиболее предпочтительно, от 25 до 35°.
РИСУНКИ
|