|
|
(21), (22) Заявка: 2006133247/11, 15.09.2006
(24) Дата начала отсчета срока действия патента:
15.09.2006
(46) Опубликовано: 10.03.2008
(56) Список документов, цитированных в отчете о поиске:
RU 2249535 C1, 10.04.2005. Барабанов Н.В. Конструкция корпусов морских судов. – Л.: СУДОСТРОЕНИЕ,1966, с.16, рис.4.
Адрес для переписки:
196128, Санкт-Петербург, ул. Варшавская, 50, ФГУП ЦМКБ “Алмаз”
|
(72) Автор(ы):
Алешин Михаил Владимирович (RU), Булкин Владимир Аронович (RU), Гаврилов Владимир Григорьевич (RU), Козлов Сергей Владимирович (RU), Рябкин Владимир Семенович (RU), Федонюк Николай Николаевич (RU)
(73) Патентообладатель(и):
Федеральное государственное унитарное предприятие “Центральное морское конструкторское бюро “Алмаз” (RU)
|
(54) НАДСТРОЙКА ИЗ ПОЛИМЕРНОГО КОМПОЗИЦИОННОГО МАТЕРИАЛА МОРСКОГО СУДНА
(57) Реферат:
Изобретение относится к судостроению и касается выполнения надстроек из полимерного композиционного материала морских судов. Надстройка из полимерного композиционного материала морского судна имеет двухъярусный ангар (шахту) с набором и одноярусные бортовые части с набором. Вертикальные стойки первого яруса ангара выполнены фигурными с боковым и верхним выступами, соединенными соответственно с бимсом палубы первого яруса и с вертикальной стойкой второго яруса ангара. При этом стенка второго яруса ангара прорезает палубу первого яруса на высоту бокового выступа, содержит прорези для его прохода и отстоит от стенки первого яруса на ширину верхнего выступа, а закладная часть палубы первого яруса содержит прорези для прохода верхнего выступа. При этом поперечное сечение фигурной стойки выполнено с двухсторонними усиленными поясками, а ее выступов – с односторонними. Изобретение позволяет создавать надежные соединения набора и пластин надстройки и увеличивать полезный объем ангара надстройки. 4 ил.
Изобретение относится к судостроению и касается конструкций надстроек морских судов. Известны надстройки, имеющие постоянное сечение по длине и ширине судна. Такие надстройки, выполняемые из различных материалов, не позволяют разместить объемные помещения, например ангары или шахты (Н.Л.Сиверс «Расчет и конструирование судовых надстроек». Судостроение, Л-д, 1966 г. – рис. 4, стр.16).
Известна также надстройка судна, включающая разновысотные части из нескольких ярусов и имеющая машинную шахту с набором (Н.В.Барабанов «Конструкция корпуса морских судов», Судостроение, Л-д, 1981 г. – рис.302, стр.501 – прототип). Эта конструкция выполнена с непрерывным вертикальным набором, который легко перевязывается с горизонтальным набором. Однако вертикальный набор, расположенный внутри шахты, уменьшает ее полезный объем. При изготовлении надстройки из полимерного композиционного материала (ПКМ) возникают сложности с соединением отдельных конструкций, так как приформовочные угольники не дают равнопрочного соединения.
Цель предлагаемого изобретения – создание надежных соединений набора и пластин надстройки из ПКМ и увеличение полезного объема ангара надстройки.
Указанная цель достигается тем, что вертикальные стойки первого яруса ангара выполнены фигурными с боковым и верхним выступами, соединенными соответственно с бимсом палубы первого яруса и с вертикальной стойкой второго яруса ангара, при этом стенка второго яруса ангара прорезает палубу первого яруса на высоту бокового выступа, содержит прорези для его прохода и отстоит от стенки первого яруса на ширину верхнего выступа, а закладная часть палубы первого яруса содержит прорези для прохода верхнего выступа, причем поперечное сечение фигурной стойки выполнено с двухсторонними усиленными поясками, а ее выступов – с односторонними.
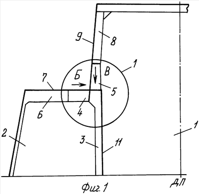
Суть предложенной конструкции корпуса поясняется чертежами:
– на фиг.1 показано поперечное сечение надстройки,
– на фиг.2, 3 и 4 – соответственно узел 1 (с сечением А-А), вид Б и вид В в увеличенном масштабе.
Надстройка из ПКМ содержит двухъярусный ангар 1 и одноярусные бортовые части 2. Вертикальные стойки 3 первого яруса ангара 1 выполнены фигурными с боковым 4 и верхним 5 выступами, которые соединяются соответственно с бимсом 6 палубы первого яруса 7 и с вертикальной стойкой 8 стенки 9 второго яруса ангара 1. Стенка 9 прорезает палубу 7 на высоту бокового выступа 4, содержит прорези 10 для его прохода и отстоит от стенки 11 первого яруса на ширину верхнего выступа 5. Закладная часть 12 палубы 7 также имеет прорези 13 для прохода верхнего выступа 5. Поперечное сечение фигурной стойки 3 имеет двухсторонние усиленные пояски 14, а поперечное сечение выступов 4 и 5 фигурной стойки 3 – односторонние усиленные пояски 14.
В предложенной конструкции наиболее нагруженное место ангара 1 – пересечение бимса 6 и вертикальной стойки ангара не имеет стыков, которые благодаря выступам 4 и 5 фигурной стойки 3 отодвинуты от палубы 7 и стенок 9 и 11. Это позволяет легко выполнить необходимую приформовку, обеспечивающую равнопрочность набора. То, что стенка 9 второго яруса прорезает палубу 7, позволяет связать ее не только с палубой 7 с двух сторон, но и с боковыми выступами 4, а отстояние ее от стенки 11 увеличивает полезный объем ангара 1. Прорези 10 и 13 дают возможность осуществить технологичную сборку набора. Фактически стенка 9 разделяет палубу 7 на две части – основную и закладную 12, что облегчает выполнение прорезей 13 в закладных частях 12 палубы 7. Фигурная стойка 3 должна иметь общий усиленный поясок с обоими выступами 4 и 5, поэтому она в поперечном сечении до выступов выполнена с двухсторонними усиленными поясками 14.
Таким образом, особенности предложенной конструкции надстройки из ПКМ обеспечивают, во-первых, надежное и технологичное соединение палубы, стенок и набора, во-вторых, решают вопрос об увеличении полезного объема ангара, то есть выполняют поставленные цели.
Формула изобретения
Надстройка из полимерного композиционного материала морского судна, включающая двухъярусный ангар (шахту) с набором и одноярусные бортовые части с набором, отличающаяся тем, что вертикальные стойки первого яруса ангара выполнены фигурными с боковым и верхним выступами, соединенными соответственно с бимсом палубы первого яруса и с вертикальной стойкой второго яруса ангара, при этом стенка второго яруса ангара прорезает палубу первого яруса на высоту бокового выступа, содержит прорези для его прохода и отстоит от стенки первого яруса на ширину верхнего выступа, а закладная часть палубы первого яруса содержит прорези для прохода верхнего выступа, причем поперечное сечение фигурной стойки выполнено с двухсторонними усиленными поясками, а ее выступов – с односторонними.
РИСУНКИ
Другие изменения, связанные с зарегистрированными изобретениями
Изменения:
Зарегистрирован переход исключительного права без заключения договора Дата и номер государственной регистрации перехода исключительного права: 11.03.2010/РП0000599 Патентообладатель: Открытое акционерное общество “Центральное морское конструкторское бюро “Алмаз” Прежний патентообладатель: Федеральное государственное унитарное предприятие “Центральное морское конструкторское бюро “Алмаз”
Номер и год публикации бюллетеня: 7-2008
Извещение опубликовано: 27.04.2010 БИ: 12/2010
|
|