|
|
(21), (22) Заявка: 2004126816/11, 06.09.2004
(24) Дата начала отсчета срока действия патента:
06.09.2004
(46) Опубликовано: 10.03.2008
(56) Список документов, цитированных в отчете о поиске:
Советские тракторы – 89. Каталог. – М.: ЦНИИТЭИтракторсельмаш, 1989, с.14-16. КСЕНЕВИЧ И.П. Тракторы. Конструкция. – М.: Машиностроение, 2000, с.290-293. RU 2059123 С1, 27.04.1996. ЕР 0155043 А, 18.09.1985.
Адрес для переписки:
454081, г.Челябинск, ул. Героев Танкограда, 28-п, ООО “УРАЛСПЕЦТЕХНИКА”, директору Е.А.Горелому
|
(72) Автор(ы):
Горелый Евгений Анатольевич (RU)
(73) Патентообладатель(и):
Общество с ограниченной ответственностью “УРАЛСПЕЦТЕХНИКА” (RU)
|
(54) ТРАНСМИССИЯ ГУСЕНИЧНОГО ТРАКТОРА
(57) Реферат:
Изобретение относится к тракторному машиностроению, а именно к гусеничным промышленным тракторам. Сущность изобретения заключается в том, что трансмиссия гусеничного трактора содержит двигатель с закрепленным на нем кожухом сцепления, тормозок, установленный на промежуточном валу последнего и взаимодействующий посредством первого кулисного механизма с педалью сцепления, управление сцеплением, снабженное сервомеханизмом и вторым кулисным механизмом, взаимодействующим с педалью сцепления, карданный вал и коробку передач. Двигатель выполнен мощностью не более 240 кВт. Тормозок выполнен барабанно-колодочного типа, установлен вне кожуха сцепления и снабжен рычагом, входящим в первый кулисный механизм. Техническим результатом является повышение мощности гусеничного трактора. 5 з.п. ф-лы, 5 ил.
Изобретение относится к тракторному машиностроению, а именно к гусеничным промышленным тракторам. Оно позволяет использовать трактор не только в качестве тягача или базовой модели для бульдозера-рыхлителя или трубоукладчика, но также позволяет ставить дополнительное оборудование, такое как сварочный агрегат или бурильная установка.
В связи с тенденцией увеличения производственных функций промышленного трактора постоянно возникает необходимость увеличивать мощность двигателя.
Так, известен гусеничный трактор Т-90П (мощность дизеля около 90 кВт) в агрегате с машинами и орудиями, предназначенный для выполнения дорожно-строительных и землеройных работ (см. Советские тракторы-89. Каталог. М: ЦНИИТЭИтракторсельмаш, 1989, с.71-72).
Недостатком известного трактора является недостаточная мощность дизеля, что не позволяет навешивать дополнительное оборудование, требующее от трактора большей мощности.
Известен гусеничный промышленный трактор с большей мощностью дизеля – около 170 кВт, имеющий трансмиссию с тормозком дискового типа (см. Советские тракторы-89. Каталог. М: ЦНИИТЭИтракторсельмаш, 1989, с.14-16).
Однако и в известном гусеничном тракторе, выбранном в качестве прототипа как наиболее близком по существенным признакам, достигаемому эффекту к заявляемому устройству, мощность двигателя недостаточна, что делает невозможным установку энергоемкого оборудования, например сварочного агрегата, бурильной установки и т.п.
Задачей заявляемого изобретения является расширение функциональных возможностей гусеничного трактора.
Техническим результатом заявляемого устройства является повышение мощности гусеничного трактора.
Указанная задача достигается тем, что в известной трансмиссии гусеничного трактора, содержащей двигатель с закрепленным на нем кожухом сцепления, тормозок, установленный на промежуточном валу последнего и взаимодействующий посредством первого кулисного механизма с педалью сцепления, управление сцеплением, снабженное сервомеханизмом и вторым кулисным механизмом, взаимодействующим с педалью сцепления, карданный вал и коробку передач, согласно изобретению, двигатель выполнен с мощностью не более 240 кВт, тормозок, выполненный барабанно-колодочного типа, установлен вне кожуха сцепления и снабжен рычагом, соединенным с первым кулисным механизмом.
Трансмиссия может использовать автомобильный двигатель ЯМЗ-238.
К кожуху сцепления может быть прикреплена опорная плита, на обратной стороне которой закреплен тормозок, и она снабжена жестко соединенным с ней кронштейном, на котором закреплен сервомеханизм, связанный с управляющим валиком, взаимодействующим с одним концом кулисы второго кулисного механизма, которая другим концом соединена с валом сцепления, установленным в кожухе сцепления.
Тормозок содержит тормозной барабан с установленными внутри него двумя колодками, имеющими шарнирно-закрепленные одни концы и свободные другие концы, взаимодействующие с кулачком, жестко установленным в отверстии рычага, выполненного с возможностью поворота, цилиндрические поверхности колодок снабжены фрикционными накладками для взаимодействия с внутренней цилиндрической поверхностью тормозного барабана, при этом в колодках, соединенных друг с другом возвратными пружинами, выполнены сквозные овальные отверстия для прохождения стоек-ограничителей, жестко закрепленных на опорной плите, причем дно барабана имеет центральное отверстие.
Кулачок может быть выполнен с удлиненной головкой, имеющей с противоположных сторон округления для взаимодействия со свободными концами колодок тормозка, а нижняя часть кулачка выполнена цилиндрической.
На опорной плите со стороны крепления к кожуху сцепления может быть установлен закрытый крышкой подшипник промежуточного вала сцепления, фланец крышки состыкован с фланцем корпуса подшипника, опирающимся на опорную плиту, корпус подшипника через отверстие в опорной плите выходит с ее обратной стороны, и внутри него установлена втулка, фланец которой закреплен на дне тормозного барабана, а втулка посредством шлицевого соединения прикреплена к промежуточному валу сцепления.
Проведенные исследования по патентным и научно-техническим источникам свидетельствуют, что предлагаемая конструкция неизвестна и не следует явным образом из изученного уровня техники, а следовательно, соответствует критериям «новизна» и «изобретательский уровень».
Заявляемая трансмиссия гусеничного трактора может быть изготовлена в условиях машиностроительного предприятия, выпускающего гусеничные тракторы или специализирующегося в данной отрасли, с использованием стандартного отечественного или импортного оборудования, известных технологий и материалов. Она может широко использоваться для мощных гусеничных тракторов, выполняющих землеройные и другие работы.
Таким образом, заявляемая трансмиссия гусеничного трактора соответствует критерию «промышленная применимость».
Предлагаемая совокупность существенных признаков сообщает заявляемому устройству новые свойства, позволяющие решить поставленную задачу.
Установка на гусеничный трактор двигателя мощностью не более 240 кВт, например марки ЯМЗ-238 Ярославского моторного завода, дает увеличение мощности трактора, что позволяет установить дополнительное оборудование: сварочный аппарат, бурильную установку и другое.
Для согласования передачи мощности от двигателя к коробке передач произведена замена дискового тормозка в трансмиссии на тормозок барабанно-колодочного типа, установленный вне кожуха сцепления.
Заявляемое изобретение представлено на чертежах, где
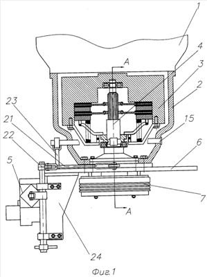
фиг.1 – схема трансмиссии, включающая тормозок и узлы управления сцеплением;
фиг.2 – разрез А-А фиг.1;
фиг.3 – вид сверху фиг.1;
фиг.4 – основной вид рычага;
фиг.5 – основной вид кулачка.
Заявляемая трансмиссия гусеничного трактора содержит двигатель 1 с закрепленным на нем кожухом 2 сцепления 3, тормозок (на черт. не обозначен), установленный на промежуточном валу 4 последнего за пределами кожуха 2 и соединенный с педалью сцепления (на черт. не показана) первым кулисным механизмом (на черт. не обозначен), управление сцеплением (на черт. не обозначено), снабженное сервомеханизмом 5 и вторым кулисным механизмом (на черт. не обозначен), соединенным с педалью сцепления, а также карданный вал (на черт. не показан) и коробку передач (на черт. не показана).
Тормозок смонтирован на опорной плите 6, закрепленной на кожухе 2 посредством болтов и гаек (на черт. не обозначены), и представляет собой конструкцию барабанно-колодочного типа. Он содержит тормозной барабан 7 с установленными внутри него двумя колодками 8, имеющими закрепленные шарнирно одни свои концы (на черт. не обозначены) и свободные другие концы 9, взаимодействующие с кулачком 10, установленным на шпонке (на черт не обозначена) своей средней цилиндрической частью 11 в отверстии рычага 12. Нижняя цилиндрическая часть (на черт не обозначена) кулачка 10 установлена в бронзовой втулке (на черт. не показана), закрепленной в отверстии, выполненном в опорной плите 6, что обеспечивает поворот кулачка 10 на 90° против часовой стрелки. Цилиндрические поверхности колодок 8 снабжены фрикционными накладками 13 для взаимодействия с внутренней цилиндрической поверхностью тормозного барабана 7 при необходимости осуществления торможения промежуточного вала 4 сцепления 3. В колодках 8 выполнено два сквозных овальных отверстия (на черт. не обозначены) для прохождения стоек-ограничителей 14. Размер овальных отверстий рассчитан исходя из длины пути колодок 8 при торможении. Стойки-ограничители 14 жестко закреплены на опорной плите 6: их концы установлены в отверстиях, выполненных в ней, и приварены к ее поверхности. Дно тормозного барабана 7 имеет центральное отверстие (на черт. не обозначено). Кулачок 10 выполнен с удлиненной головкой, имеющей с противоположных сторон округления (на черт. не обозначены), для взаимодействия со свободными концами 9 колодок 8. В кожухе 2 установлен вал 15 сцепления 3, взаимодействующий с дисками (на черт. не обозначены) последнего. На опорной плите 6 со стороны кожуха 2 установлен закрытый крышкой 16 подшипник 17 промежуточного вала 4 сцепления 3. Фланец (на черт. не обозначен) крышки 16 состыкован с фланцем (на черт. не обозначен) корпуса 18 подшипника 17, опирающимся на опорную плиту 6, а сам корпус 18 выходит с ее обратной стороны. В нем закреплена втулка 19, фланец которой (на черт. не обозначен) крепится болтами и гайками ко дну тормозного барабана 7. Втулка 19 посредством шлицевого соединения (на черт. не обозначено) прикреплена к промежуточному валу 4. Колодки 8 удерживаются возвратными пружинами 20, работающими на растяжение, от бесконтрольного размыкания.
Первый кулисный механизм, содержащий рычаг 12 и соединенную с ним тягу 21, взаимодействует с управляющим валиком 22. Второй кулисный механизм содержит вал 15 сцепления 3, установленный в кожухе 2, и соединенную с ним кулису 23. Сервомеханизм 5 смонтирован на кронштейне 24, жестко прикрепленном к опорной плите 6.
Заявляемое устройство используется следующим образом.
Водитель трактора нажимает педаль сцепления. Нажимная деталь управляющего валика 22 нажимает поршень сервомеханизма 5, заставляя кулису 23 совершать поступательное движение и поворачивать вал 15 сцепления 3 до тех пор, пока диски сцепления 3 не разомкнутся и не отсоединят промежуточный вал 4 от двигателя 1. Одновременно управляющий валик 22, поворачиваясь против часовой стрелки, тянет тягу 21 влево. Кулачок 10 также поворачивается против часовой стрелки, и округления его удлиненной головки начинают взаимодействовать со свободными концами 9 колодок 8. Последние разжимаются и их фрикционные накладки 13 входят в соприкосновение с внутренней цилиндрической поверхностью тормозного барабана 7, останавливая его и жестко с ним соединенный промежуточный вал 4. Поскольку через карданный вал с валом 4 связан ведущий вал коробки передач, то тормозится и он.
Таким образом, нажатием одной педали сцепления осуществляются два действия: отсоединение промежуточного вала 4 от двигателя 1 и торможение ведущего вала коробки передач.
Для возвращения в рабочее положение сцепления 3 и коробки передач водитель отпускает педаль сцепления, совершается обратное движение вышеуказанных узлов. Возвратные пружины 20 возвращают колодки 8 в первоначальное положение, когда их свободные концы 9 упираются в кулачок 10.
Преимущества заявляемой трансмиссии гусеничного трактора:
– увеличение мощности трактора;
– повышение эксплуатационного ресурса трактора;
– возможность установки дополнительного оборудования.
Формула изобретения
1. Трансмиссия гусеничного трактора, содержащая двигатель с закрепленным на нем кожухом сцепления, тормозок, установленный на промежуточном валу последнего и взаимодействующий посредством первого кулисного механизма с педалью сцепления, управление сцеплением, снабженное сервомеханизмом и вторым кулисным механизмом, взаимодействующим с педалью сцепления, карданный вал и коробку передач, отличающаяся тем, что двигатель выполнен мощностью не более 240 кВт, тормозок, выполненный барабанно-колодочного типа, установлен вне кожуха сцепления и снабжен рычагом, входящим в первый кулисный механизм.
2. Трансмиссия по п.1, отличающаяся тем, что в качестве двигателя использован автомобильный двигатель ЯМ3-238.
3. Трансмиссия по п.1, отличающаяся тем, что к кожуху сцепления прикреплена опорная плита, на обратной стороне которой закреплен тормозок, и она снабжена жестко соединенным с ней кронштейном, на котором закреплен сервомеханизм, связанный с управляющим валиком, взаимодействующим с одним концом кулисы второго кулисного механизма, которая другим концом соединена с валом сцепления, установленным в кожухе сцепления.
4. Трансмиссия по п.1, отличающаяся тем, что тормозок содержит тормозной барабан с установленными внутри него двумя колодками, имеющими шарнирно закрепленные одни концы и свободные другие концы, взаимодействующие с кулачком, жестко установленным в отверстии рычага, выполненного с возможностью поворота, цилиндрические поверхности колодок снабжены фрикционными накладками для взаимодействия с внутренней цилиндрической поверхностью тормозного барабана, при этом в колодках, соединенных друг с другом возвратными пружинами, выполнены сквозные овальные отверстия для прохождения стоек-ограничителей, жестко закрепленных на опорной плите, причем дно барабана имеет центральное отверстие.
5. Трансмиссия по п.3, отличающаяся тем, что кулачок выполнен с удлиненной головкой, имеющей с противоположных сторон скругления для взаимодействия со свободными концами колодок тормозка, а нижняя часть кулачка выполнена цилиндрической.
6. Трансмиссия по п.1, отличающаяся тем, что на опорной плите со стороны крепления к кожуху сцепления, установлен закрытый крышкой подшипник промежуточного вала сцепления, фланец крышки состыкован с фланцем корпуса подшипника, опирающимся на опорную плиту, корпус подшипника через отверстие в опорной плите выходит с ее обратной стороны и внутри него установлена втулка, фланец которой закреплен на дне тормозного барабана, а втулка посредством шлицевого соединения прикреплена к промежуточному валу сцепления.
РИСУНКИ
|
|