|
|
(21), (22) Заявка: 2006128530/11, 04.08.2006
(24) Дата начала отсчета срока действия патента:
04.08.2006
(46) Опубликовано: 10.03.2008
(56) Список документов, цитированных в отчете о поиске:
RU 2240931 C1, 27.11.2004. RU 2145284 C1, 10.02.2000. GB 1488254 A, 12.10.1977. US 5447332 A1, 05.09.199. US 6270098 B1, 07.08.2001.
Адрес для переписки:
423800, Республика Татарстан, г. Набережные Челны, пр-кт М. Джалиля, 29, ОАО “КАМАЗ”, НТЦ, БПЛиИР, Н.М. Сунагатову
|
(72) Автор(ы):
Якубов Семен Семенович (RU), Буртаков Борис Ефимович (RU), Кабиров Фирдаус Зарипович (RU), Беляев Айдар Раисович (RU), Чагин Владимир Геннадьевич (RU), Мардеев Ильгизар Азатович (RU), Савостин Сергей Геннадьевич (RU), Арсеньев Михаил Владимирович (RU), Рыжиков Евгений Александрович (RU), Конопко Станислав Борисович (RU)
(73) Патентообладатель(и):
Открытое акционерное общество “КАМАЗ” (RU)
|
(54) ГИДРАВЛИЧЕСКАЯ СИСТЕМА СТАБИЛИЗАЦИИ ПОПЕРЕЧНОЙ УСТОЙЧИВОСТИ ТРАНСПОРТНОГО СРЕДСТВА
(57) Реферат:
Изобретение относится к области транспортного машиностроения, а именно к средствам стабилизации поперечной устойчивости транспортных средств. Гидравлическая система стабилизации поперечной устойчивости транспортного средства содержит шарнирно закрепленные концевыми участками на переднем и заднем мосту выполненные в виде П-образных торсионов передний и задний стабилизаторы. Система также содержит две гидравлические стойки, выполненные в виде цилиндра и размещенного внутри него поршня со штоком с образованием верхней и нижней гидравлических полостей, верхний и нижний гидропроводы, связывающие соответствующие полости. Стабилизаторы средней частью соединены с помощью тяги и гидравлической стойки с неподрессоренной частью транспортного средства. Изобретение направлено на создание системы стабилизации поперечной устойчивости простой конструкции, имеющей стабильные характеристики. 4 ил.
Изобретение относится к области транспортного машиностроения, а именно к средствам стабилизации поперечной устойчивости транспортных средств.
Известен стабилизатор, состоящий из стержня П-образной формы, средняя часть которого расположена в опорах кузова, а концевые участки – во втулках с внешней шаровой поверхностью, подвижно расположенных в кронштейнах, жестко закрепленных на рычагах подвески рулевых колес, при этом на концевых участках жестко закреплены конические шестерни, взаимодействующие с зубчатыми секторами, неподвижно установленными на кузове транспортного средства (патент РФ №2240931, МПК7 B60G 21/00, бюл. №33, 27.11.2004).
Данный, так называемый жесткий стабилизатор, имеет ряд недостатков, которые проявляются при движении транспортного средства по поверхности, имеющей разнонаправленные неровности. Толчки от левой стороны будут передаваться на правую сторону и наоборот. При движении по поверхности дороги, когда возникают скрещивающиеся относительные перемещения мостов, передача крутящего момента от стабилизатора поперечной устойчивости на раму автомобиля снижает ее ресурс, а также снижает среднюю скорость автомобиля при возникновении отрыва колес на разных сторонах автомобиля (диагональное вывешивание), при котором автомобиль может просто остановиться.
Известна активная система стабилизации подвески транспортного средства, выбранная в качестве ближайшего аналога, содержащая соединенные гидропроводами два линейно действующих дифференциальных гидроцилиндра, установленных между подвесками колес и стабилизаторами поперечной устойчивости, электрогидравлический регулятор, осуществляющий контроль и коррекцию давления и направления потока жидкости в гидроцилиндрах и получающий необходимую информацию от датчиков угла поворота, скорости движения, поперечного ускорения и степени рысканья, резервуар с жидкостью и гидравлический насос с приводом от двигателя (журнал “Автостроение за рубежом”, №10, с.13-15, 2004 г.).
Данный стабилизатор позволяет избавить автомобиль от продольных и поперечных колебаний без ущерба комфорту и управляемости, но сложная система контроля и обработки информации снижает надежность его работы, значительно удорожает конструкцию.
Решаемая задача: создание стабилизатора поперечной устойчивости простой конструкции, имеющего стабильные характеристики.
Указанная задача решается тем, что гидравлическая система стабилизации поперечной устойчивости транспортного средства содержит шарнирно закрепленные концевыми участками на переднем и заднем мосту выполненные в виде П-образных торсионов передний и задний стабилизаторы, две гидравлические стойки, выполненные в виде цилиндра и размещенного внутри него поршня со штоком с образованием верхней и нижней гидравлических полостей, верхний и нижний гидропроводы, связывающие соответствующие полости, при этом стабилизаторы средней частью соединены с помощью тяги и гидравлической стойки с неподрессоренной частью транспортного средства.
Соединение стабилизаторов средней частью с помощью тяги и гидравлической стойки с неподрессоренной частью транспортного средства, а также то, что при соединении полости одной гидравлической стойки с полостью другой гидравлической стойки осуществляется или переток жидкости, или ее запирание в случае, когда направление движения поршней осуществляется в одну сторону, позволяет добиться высоких характеристик стабилизации поперечной устойчивости при достаточно простом конструктивном исполнении.
Предлагаемая гидравлическая система стабилизации поперечной устойчивости транспортного средства иллюстрируется следующими чертежами:
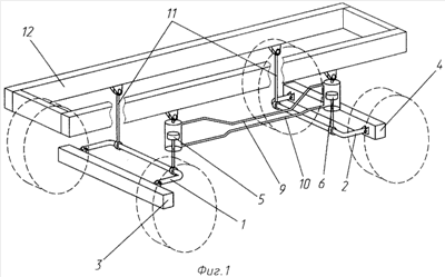
Фиг.1 – гидравлическая система стабилизации поперечной устойчивости транспортного средства, общий вид;
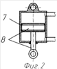
Фиг.2 – гидравлическая стойка гидравлической системы стабилизации поперечной устойчивости транспортного средства;
Фиг.3 – гидравлическая система стабилизации поперечной устойчивости транспортного средства при движении транспортного средства по ровной поверхности;
Фиг.4 – гидравлическая система стабилизации поперечной устойчивости транспортного средства при движении транспортного средства по неровной поверхности.
Предлагаемая гидравлическая система стабилизации поперечной устойчивости транспортного средства содержит передний и задний стабилизаторы 1 и 2, шарнирно закрепленные концевыми участками соответственно на переднем 3 и заднем 4 мосту, две гидравлические стойки 5 и 6. Стабилизаторы 1 и 2 выполнены в виде П-образных торсионов. Гидравлические стойки 5 и 6 выполнены в виде цилиндра 7 и размещенного внутри него поршня 8 со штоком с образованием верхней и нижней гидравлических полостей. Верхняя и нижняя гидравлические полости связаны между собой верхним и нижним гидропроводами, соответственно 9 и 10. Стабилизаторы 1, 2 средней частью соединены с помощью тяг 11 и гидравлических стоек 5, 6 с неподрессоренной частью 12 транспортного средства (рамой).
Работа предлагаемой гидравлической системы стабилизации поперечной устойчивости транспортного средства основана на уменьшении крена автомобиля при движении по извилистой дороге, где преобладают боковые ускорения, а также при большой загрузке одной из сторон автомобиля.
За счет того, что стабилизаторы поперечной устойчивости 1 и 2, установленные на переднем и заднем мостах автомобиля, соединены между собой через гидравлические стойки 5 и 6 и гидропроводы 9 и 10, при движении транспортного средства возникает или переток жидкости из полости одной гидравлической стойки в полость другой, или запирание потока, когда поршни давят на жидкость в одну сторону.
При движении в повороте возникают однонаправленные движения поршней 8 (крен автомобиля в наружную сторону поворота, фиг.3), но поршни не имеют возможности перемещаться, т.к. идет сжатие жидкости в верхних полостях или в нижних полостях гидравлических стоек 5, 6, за счет чего осуществляется снижение крена автомобиля в повороте.
При движении на неровностях возникают разнонаправленные перемещения А (фиг.4), при которых происходит такое же перемещение поршней 8 со стабилизаторами и осуществляется свободный переток жидкости по гидропроводам 9, 10 из полости гидравлической стойки 5 в полость гидравлической стойки 6 и обратно. За счет этого уменьшаются динамические нагрузки на водителя, раму и автомобиль в целом.
Крепление по заявляемой схеме цилиндров 7 гидравлических стоек к раме автомобиля позволяет уменьшить их перемещения при работе, а это, в свою очередь, позволяет выполнить гидропроводы большего сечения, увеличив эффективность работы, снизить неподрессоренные массы, т.к. весь гидропровод крепится к раме, увеличить надежность гидросистемы в целом за счет того, что перемещения гидравлических стоек и гидропроводов небольшие, а все перемещения приходятся на поршни со штоками и стабилизаторы, которые крепятся к мостам автомобиля.
Гидравлическая система стабилизации поперечной устойчивости транспортного средства может быть выполнена на стандартном оборудовании с применением современных материалов и технологий.
Формула изобретения
Гидравлическая система стабилизации поперечной устойчивости транспортного средства содержит шарнирно закрепленные концевыми участками на переднем и заднем мостах выполненные в виде П-образных торсионов передний и задний стабилизаторы, две гидравлические стойки, выполненные в виде цилиндра и размещенного внутри него поршня со штоком с образованием верхней и нижней гидравлических полостей, верхний и нижний гидропроводы, связывающие соответствующие полости, при этом стабилизаторы средней частью соединены с помощью тяги и гидравлической стойки с неподрессоренной частью транспортного средства.
РИСУНКИ
|
|