|
|
(21), (22) Заявка: 2003133187/12, 12.11.2003
(24) Дата начала отсчета срока действия патента:
12.11.2003
(30) Конвенционный приоритет:
13.11.2002 (пп.1-40) JP 2002-329062
(43) Дата публикации заявки: 10.05.2005
(46) Опубликовано: 10.03.2008
(56) Список документов, цитированных в отчете о поиске:
ЕР 1199178 А1, 24.04.2002. WO 0003877 А, 27.01.2000. US 4971527 А, 20.11.1990. US 4602662 А, 29.06.1986. US 5653251 А, 05.08.1997. RU 2170675 С1, 20.07.2001.
Адрес для переписки:
129010, Москва, ул. Б.Спасская, 25, стр.3, ООО “Юридическая фирма Городисский и Партнеры”, пат.пов. С.А.Дорофееву
|
(72) Автор(ы):
СИНАДА Сатоси (JP), МИЯЗАВА Хисаси (JP), ИТИХАСИ Акира (JP)
(73) Патентообладатель(и):
СЕЙКО ЭПСОН КОРПОРЕЙШН (JP)
|
(54) ЧЕРНИЛЬНЫЙ КАРТРИДЖ, РЕГУЛЯТОР ПОТОКА ТЕКУЧЕЙ СРЕДЫ И СПОСОБ РЕГУЛИРОВАНИЯ ПОТОКА ТЕКУЧЕЙ СРЕДЫ
(57) Реферат:
Изобретение относится к чернильному картриджу, предназначенному для подачи чернил под отрицательным давлением к печатающей головке и к способу регулирования потока текучей среды. Чернильный картридж содержит камеру для хранения чернил, канал для подачи чернил и устройство для создания отрицательного давления, которое избирательно перекрывает и открывает сообщение по текучей среде между камерой для хранения чернил и каналом для подачи чернил в результате потребления чернил. Устройство для создания отрицательного давления включает упругий элемент, имеющий первую и вторую поверхности и уплотняющую часть, сообщающуюся часть, обращенную к первой поверхности упругого элемента и сообщающуюся с камерой для хранения чернил, и промежуточную часть, обращенную ко второй поверхности упругого элемента и сообщающуюся с каналом для подачи чернил. Уплотняющая часть имеет сквозное отверстие, канал для прохода чернил, сообщающийся с каналом для подачи чернил и имеющий открываемую часть в том месте, где уплотняющая часть упругого элемента контактирует с открываемой частью и отходит от открываемой части, при этом открываемая часть обращена к сквозному отверстию. Регулятор потока текучей среды содержит упругий элемент, выполненный с возможностью смещения под действием перепада давлений между первой и второй поверхностями, сообщающуюся часть, выполненную с возможностью сообщения с резервуаром для чернил, в котором хранятся чернила, канал для выхода потока чернил, открываемую часть канала для прохода чернил, которая сообщается с каналом для выхода потока чернил, при этом уплотняющая часть упругого элемента выполнена с возможностью смещения для входа в контакт с открываемой частью и отвода от открываемой части, и промежуточную часть, сообщающуюся с каналом для выхода потока чернил. Способ регулирования потока чернил включает операции: выполняют клапанную камеру, которая представляет собой часть чернильного картриджа и имеет крышку и основание, при этом основание имеет как впускное отверстие, так и выпускное отверстие, клапанная камера содержит упругую мембрану, имеющую сквозное отверстие, при этом как впускное, так и выпускное отверстия расположены с первой стороны мембраны, и пространство, образованное между второй стороной мембраны и крышкой, и поджимают мембрану в сторону основания с приложенным усилием так, что контактирующая часть мембраны уплотняет выпускное отверстие и сквозное отверстие от впускного отверстия. При этом, когда давление в пространстве уменьшится до значений ниже заданной величины, возникающий в результате этого перепад давлений на мембране заставляет контактирующую часть мембраны смещаться в сторону от выпускного отверстия в направлении против направления действия приложенной силы, обеспечивая сообщение между выпускным и сквозным отверстиями и впускным отверстием. Чернильный картридж и регулятор потока текучей среды обеспечивают уменьшение сопротивления проточного канала, действующего на чернила в устройстве для создания отрицательного давления без снижения уплотняющей способности, тем самым обеспечивая возможность высокой скорости потребления чернил из чернильного картриджа печатающей головкой. Чернильный картридж изготовлен с высокой производительностью, конструкция проточного канала в котором упрощена. 3 н. и 37 з.п. ф-лы, 22 ил.
Предпосылки создания изобретения
Настоящее изобретение относится к чернильному картриджу, предназначенному для подачи чернил под отрицательным давлением к печатающей головке, которая разбрызгивает чернильные капли в ответ на сигналы печати, и к регулятору потока текучей среды.
Изобретение также относится к способу регулирования потока текучей среды из чернильного картриджа к струйной печатающей головке.
Струйное печатающее устройство, как правило, имеет такую конфигурацию, что струйная печатающая головка, предназначенная для разбрызгивания чернильных капель в ответ на сигналы печати, установлена на каретке, совершающей возвратно-поступательное движение в направлении ширины листа поперек части листа бумаги для записи, и чернила подаются из внешнего резервуара для чернил к печатающей головке. В случае небольшого печатающего устройства контейнер для хранения чернил, такой как резервуар для чернил, выполнен с возможностью снятия его с каретки с целью обеспечения удобства при манипулировании и облегчения замены полностью использованного резервуара для чернил новым резервуаром для чернил, содержащим новый запас чернил (или разных красителей, если резервуар представляет собой резервуар для многоцветной печати).
Чтобы предотвратить утечку чернил из печатающей головки, такой контейнер для хранения чернил, как правило, содержит пористый элемент, пропитанный чернилами, так что капиллярные силы пористого элемента обеспечивают удерживание чернил.
Кроме того, существует тенденция увеличения количества потребляемых чернил со временем, поскольку постоянно ведущиеся разработки усовершенствованных печатающих устройств ведут к увеличению количества сопловых отверстий, чтобы обеспечить соответствие требуемому повышению качества печати и скорости печати.
Для того, чтобы конструкция струйного печатающего устройства отвечала этим усовершенствованиям, предпочтительно увеличить количество чернил, которые могут храниться в контейнере для хранения чернил, но это приводит к увеличению объема пористого элемента. Однако в том случае, когда пористый элемент, который удерживает чернила, обеспечивает приложение капиллярных сил, высота, то есть напор жидкости, пористого элемента ограничена (ограничен), и, следовательно, нижняя часть контейнера для хранения чернил должна быть увеличена для увеличения объема контейнера, что создает проблему, связанную с тем, что размер каретки и, таким образом, полный размер печатающего устройства должен быть увеличен.
Для решения этой проблемы в публикации японского патента Kokai No. Hei. 8-174860, в абзацах 0041-0043 и на фиг.10 показан чернильный картридж, в котором в центре мембраны, деформируемой под действием давления чернил, образовано сквозное отверстие для создания седла клапана в мембране, и клапанный элемент предусмотрен в месте, находящемся напротив седла клапана в мембране.
Также для решения данной проблемы в международной патентной публикации No. РСТ00/03877 описан чернильный картридж, в котором клапанный элемент образован путем литьевого прессования полимерного материала, обладающего упругостью, сквозное отверстие образовано в центре клапанного элемента, задняя поверхность клапанного элемента контактирует с уплотнительным элементом за счет поджима ее пружиной, и клапанный элемент смещается под действием отрицательного давления, действующего на заднюю поверхность клапанного элемента, так что чернила вытекают только через сквозное отверстие в отверстие для подачи чернил.
Однако чернильный картридж, который имеет высокие характеристики при подаче чернил и который может обеспечить подачу большого количества чернил к печатающей головке, необходим для удовлетворения потребности в таких картриджах при использовании их для высокоскоростной печати. Наиболее важным фактором, влияющим на характеристики при подаче чернил к печатающей головке, является сопротивление проходу потока внутри картриджа.
В патенте США No. 4602662 описан клапан с внешним управлением, предназначенный для использования в системах маркировки жидкостью. В этом ссылочном материале указывается, что впускной канал и выпускной канал расположены с одной стороны подвижного элемента, и пружина и внешний источник вакуума расположены с другой стороны подвижного элемента. В данном патенте также указано, что пружина не используется для закрытия клапана, а предназначена только для предотвращения сифонирования, и внешний источник вакуума служит для удерживания клапана в закрытом состоянии.
В патенте США No. 4971527 описан регулирующий клапан для системы маркировки чернилами. Диафрагма зажата между двумя пружинами и, следовательно, служит для демпфирования пульсаций давления в чернилах, проходящих между впускным каналом и выпускным каналом, расположенными с одной стороны диафрагмы.
В патенте США No. 5653251 описан вакуумный закрывающий клапан. В то время как впускной канал и выпускной канал расположены с одной и той же стороны мембраны клапана, сама эта мембрана может быть выполнена перфорированной, что позволяет жидкости проходить к другой стороне мембраны. Кроме того, мембрана растянута поверх криволинейного выступа, и никакая пружина не используется для регулирования давления “растрескивания” клапана. Более точно, в патенте США No. 5653251 раскрыто клапанное устройство, имеющее клапанный элемент, образованный из упруго деформируемой мембраны, выпуклую часть, с который клапанный элемент может входит в контакт, и канал для потока, образованный в выпуклой части и закрываемый клапанным элементом. В клапанном устройстве отрицательное давление, существующее на стороне выдачи, подается к одной поверхности клапанного элемента для отвода клапанного элемента от канала для потока, чтобы тем самым обеспечить управление подачей и прерыванием потока жидкости. Тем не менее, при открытом состоянии клапана площадь клапанного элемента, на которую действует давление жидкости (площадь, “воспринимающая” давление), чрезвычайно мала, что означает, что различие по площади между передней и задней поверхностями клапанного элемента является большим. Поэтому небольшое изменение давления, вызываемое потреблением чернил печатающей головкой, не может обеспечить поддержания открытого состояния клапана. Когда клапанное устройство переведено в закрытое состояние, площадь, на которую действует давление, будет чрезвычайно большой, так что клапанное устройство возвращается в состояние, при котором клапан открыт. Соответственно существует проблема, связанная с тем, что эта операция повторяется нежелательным образом, что вызывает пульсации при подаче чернил, которые могут отрицательно повлиять на печать.
В чернильном картридже, описанном в международной патентной публикации No. РСТ00/03877, сквозное отверстие, которое образует проточный канал для прохода чернил через мембранный элемент, приводит к созданию гидродинамического сопротивления, и, кроме того, зазор между стенками сквозного отверстия и клапанным элементом, взаимодействующим со сквозным отверстием, также приводит к созданию большого гидродинамического сопротивления. Таким образом, трудно обеспечить подачу большого количества чернил к печатающей головке, что требуется с недавнего времени для обеспечения высокой скорости печати.
В заявке на Европейский патент No. 1199178 описан чернильный картридж, имеющий клапан разности давлений (публикация заявки на патент США No. 2002/0109760 является аналогом). В этой заявке описаны клапаны, в которых зона перфорации в подвижной мембране поджимается пружиной так, чтобы она упиралась в твердый выступ. Для уменьшения гидродинамического сопротивления, обусловленного сквозным отверстием мембранного элемента, можно выполнить сквозное отверстие с большим диаметром, но, поскольку мембранный элемент должен быть образован из эластичного полимерного материала, увеличение размера сквозного отверстия приведет к уменьшению нагрузки на единицу площади, что вызывает уменьшение усилия при перекрытии [потока] и тем самым ухудшение способности клапана обеспечить перекрытие и ухудшение рабочих характеристик картриджа.
Краткое изложение сущности изобретения
Настоящее изобретение было создано для решения указанных проблем.
Задача настоящего изобретения заключается в создании чернильного картриджа, который может обеспечить уменьшение сопротивления проточного канала, действующего на чернила в устройстве для создания отрицательного давления без снижения уплотняющей способности, чтобы тем самым обеспечить возможность высокой скорости потребления чернил из чернильного картриджа печатающей головкой.
Другая задача настоящего изобретения состоит в создании чернильного картриджа, который может быть изготовлен с высокой производительностью.
Еще одна задача настоящего изобретения заключается в разработке регулятора потока текучей среды, предназначенного для печатающей головки, который может обеспечить уменьшение сопротивления проточного канала, действующего на чернила в устройстве для создания отрицательного давления без снижения уплотняющей способности, чтобы тем самым обеспечить возможность высокой скорости потребления чернил из чернильного картриджа печатающей головкой.
Еще одна задача настоящего изобретения состоит в разработке чернильного картриджа, в котором конструкция проточного канала упрощена.
В соответствии с настоящим изобретением создан чернильный картридж, который содержит: камеру для хранения чернил, канал для подачи чернил и устройство для создания отрицательного давления, которое избирательно перекрывает и открывает сообщение по текучей среде между камерой для хранения чернил и каналом для подачи чернил в результате потребления чернил. Устройство для создания отрицательного давления включает упругий элемент, имеющий первую и вторую поверхности и уплотняющую часть, при этом уплотняющая часть имеет сквозное отверстие, канал для прохода чернил, сообщающийся с каналом для подачи чернил и имеющий открываемую часть в том месте, где уплотняющая часть упругого элемента входит в контакт с открываемой частью и отходит от открываемой части, при этом открываемая часть обращена к сквозному отверстию; сообщающуюся часть, обращенную к первой поверхности упругого элемента и сообщающуюся с камерой для хранения чернил, и промежуточную часть, обращенную ко второй поверхности упругого элемента и сообщающуюся с каналом для подачи чернил.
В соответствии с настоящим изобретением создан регулятор потока текучей среды, предназначенный для печатающей головки, который включает: упругий элемент, имеющий первую и вторую поверхности и уплотняющую часть и выполненный с возможностью смещения под действием перепада давлений между первой и второй поверхностями, при этом перекрывающая часть имеет сквозное отверстие; сообщающуюся часть, обращенную к первой поверхности упругого элемента и выполненную с возможностью сообщения с резервуаром для чернил, в котором хранятся чернила; канал для выхода потока чернил; открываемую часть канала для прохода чернил, которая сообщается с каналом для выхода потока чернил, при этом перекрывающая часть упругого элемента выполнена с возможностью смещения для входа в контакт с открываемой частью и отвода от открываемой части; и промежуточную часть, обращенную ко второй поверхности упругого элемента и сообщающуюся с каналом для выхода потока чернил.
В соответствии с настоящим изобретением создан способ регулирования потока чернил из чернильного картриджа, имеющего канал для подачи чернил к струйной печатающей головке. Способ включает следующие операции: выполняют клапанную камеру, которая представляет собой часть чернильного картриджа и имеет крышку и основание, при этом основание имеет как впускное отверстие, так и выпускное отверстие, клапанная камера содержит упругую мембрану, имеющую сквозное отверстие, при этом как впускное отверстие, так и выпускное отверстие расположены с первой стороны упругой мембраны, и пространство, образованное между второй стороной упругой мембраны и крышкой; и поджимают упругую мембрану в сторону основания с приложенным усилием так, что контактирующая часть упругой мембраны уплотняет выпускное отверстие и сквозное отверстие от впускного отверстия. Когда давление в указанном пространстве уменьшится до значений ниже заданной величины, возникающий в результате этого перепад давлений на упругой мембране заставляет контактирующую часть упругой мембраны смещаться в сторону от выпускного отверстия в направлении против направления действия приложенной силы, тем самым обеспечивается сообщение между выпускным и сквозным отверстиями и впускным отверстием.
В соответствии с настоящим изобретением создано устройство для создания отрицательного давления, которое расположено между частью хранения чернил и каналом для подачи чернил и имеет поверхность стенки, имеющую два сквозных отверстия, а именно первое и второе сквозные отверстия, для прохода чернил, и клапанный элемент, контактирующий со сквозным отверстием и отводимый от сквозного отверстия за счет давления, действующего на него на стороне канала для подачи чернил. Клапанный элемент имеет третье сквозное отверстие. Чернила, проходящие через первое сквозное отверстие, подаются через второе и третье сквозные отверстия к каналу для подачи чернил.
Настоящее описание относится к изобретению, содержащемуся в заявке на патент Японии No. 2002-329062 (поданной 13 ноября 2002), которая специально полностью включена в данную заявку путем ссылки.
Краткое описание чертежей
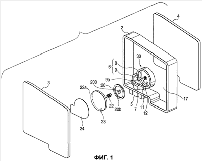
На фиг.1 изображен перспективный вид с пространственным разделением элементов, показывающий чернильный картридж в соответствии с вариантом осуществления настоящего изобретения, если смотреть со стороны камеры для хранения чернил.
На фиг.2А изображен перспективный вид, показывающий чернильный картридж на фиг.1, если смотреть на него со стороны другой поверхности, и на фиг.2В изображен перспективный вид, показывающий другой вариант осуществления части для хранения клапанного элемента.
На фиг.3 изображено сечение чернильного картриджа, показывающее его конструкцию в сечении вблизи устройства для создания отрицательного давления.
На фиг.4А и 4В изображены увеличенные сечения, соответственно показывающие устройство для создания отрицательного давления, содержащееся в чернильном картридже, при закрытом состоянии клапана и открытом состоянии клапана, и на фиг.4С изображено сечение, показывающее проточный канал для прохода чернил из устройства для создания отрицательного давления к каналу для подачи чернил.
На фиг.5А и 5В изображен поток чернил в чернильном картридже.
На фиг.6А и 6В изображены виды, показывающие различные варианты осуществления клапанного элемента.
На фиг.7 изображен другой вариант осуществления, в котором элемент, в котором образована зона, в которую вставлено устройство для создания отрицательного давления, образован в виде отдельного элемента.
На фиг.8 изображен вид, показывающий компоновку чернильного картриджа в соответствии с еще одним вариантом осуществления настоящего изобретения и, в частности, показывающий конструкцию открываемой стороны основного корпуса контейнера.
На фиг.9 изображен вид, показывающий компоновку чернильного картриджа, в частности показывающий конструкцию стороны его передней поверхности.
На фиг.10 изображен вид спереди, показывающий открываемую сторону основного корпуса контейнера.
На фиг.11 изображен вид спереди, показывающий сторону нижней части основного корпуса контейнера.
На фиг.12 изображено сечение, показывающее зону основного корпуса контейнера, в которой размещено устройство для создания отрицательного давления.
На фиг.13 изображено сечение, показывающее часть основного корпуса контейнера, предназначенную для обеспечения прохода потока из части, в которой размещено устройство для создания отрицательного давления, к каналу для подачи чернил.
На фиг.14 изображено увеличенное сечение, показывающее часть, в которой размещено устройство для создания отрицательного давления.
На фиг.15 изображен перспективный вид с пространственным разделением элементов, показывающий компоновку чернильного картриджа в соответствии с еще одним вариантом осуществления настоящего изобретения и, в частности, показывающий открываемую сторону основного корпуса контейнера.
На фиг.16 изображено сечение, показывающее часть основного корпуса контейнера, в которой размещено устройство для создания отрицательного давления.
На фиг.17 изображено увеличенное сечение, показывающее часть, в которой размещено устройство для создания отрицательного давления, в чернильном картридже согласно еще одному варианту осуществления настоящего изобретения.
На фиг.18А и 18В изображены виды, соответственно показывающие конфигурацию траектории потока в устройстве для создания отрицательного давления, содержащемся в чернильном картридже согласно настоящему изобретению, при закрытом состоянии клапана и открытом состоянии клапана.
На фиг.19А и 19В изображены другие варианты осуществления конфигурации траектории потока в устройстве для создания отрицательного давления, содержащемся в чернильном картридже согласно настоящему изобретению.
На фиг.20А и 20В изображен еще один вариант осуществления конфигурации траектории потока в устройстве для создания отрицательного давления, содержащемся в чернильном картридже согласно настоящему изобретению.
На фиг.21 изображено сечение, показывающее еще один вариант осуществления устройства для создания отрицательного давления.
На фиг.22 изображено сечение, показывающее вариант осуществления регулятора потока текучей среды, предназначенного для печатающей головки, в котором использованы принципы настоящего изобретения.
Описание предпочтительного варианта осуществления
Далее детали настоящего изобретения будут рассмотрены со ссылкой на проиллюстрированные варианты осуществления.
На фиг.1 и фиг.2А изображены перспективные виды с пространственным разделением элементов, показывающие компоновку чернильного картриджа в соответствии с вариантом осуществления настоящего изобретения, при этом конструктивные элементы изображены соответственно спереди и сзади. На фиг.3 изображен вид, показывающий конструкцию чернильного картриджа в сечении. Чернильный картридж частично образован корпусным элементом 2, имеющим отверстия 1 на обеих его сторонах, и закрывающими элементами 3 и 4, уплотняющими соответствующие отверстия 1. Чернильный картридж выполнен с каналом 5 для подачи чернил на стороне его переднего конца в направлении вставки, например на нижней поверхности в данном варианте осуществления. Канал для подачи чернил в соответствии с настоящим изобретением включает элемент или открываемую часть, к которой может быть подсоединен или в которую может быть вставлен соединительный элемент, такой как полая игла или трубка, предназначенный для создания разъемного соединения между чернильным картриджем и печатающей головкой, предусмотренной на каретке.
Элемент 6, который образует проточный канал для подачи чернил и который представляет собой часть устройства 30 для создания отрицательного давления, образован за одно целое с корпусным элементом 2 вблизи части корпусного элемента 2, обращенной к каналу 5 для подачи чернил так, что часть элемента 6, образующего проточный канал для подачи чернил, которая расположена со стороны поверхности одного отверстия корпусного элемента 2, образует открываемую часть 7. Открываемая часть 7 расположена и выполнена так, что она сообщается по текучей среде с каналом 5 для подачи чернил.
Элемент 6, образующий проточный канал для подачи чернил, по существу разделен на часть 8 для размещения клапанного элемента, предназначенную для размещения по существу круглого (дискообразного) клапанного элемента (называемого также упругим элементом) 20, и часть 9 для прохода потока, предназначенную для обеспечения сообщения по текучей среде с частью 5 для подачи чернил. Выступающая часть 11, имеющая первое сквозное отверстие 10, служащее в качестве канала для выпуска потока чернил, образована в центре части 8 для размещения клапанного элемента, и второе сквозное отверстие 12, служащее в качестве канала для впуска потока чернил, образовано в месте, находящемся на некотором расстоянии от выступающей части 11. Часть 9 для прохода потока образована с третьим сквозным отверстием 13, служащим в качестве канала для впуска потока чернил, предназначенного для сообщения с зоной передней поверхности клапанного элемента 20.
Как показано на фиг.4А-С, первое сквозное отверстие 10 образовано с по существу цилиндрической частью S с прямолинейной образующей со стороны упругого элемента и с воронкообразной частью R, которая конусообразно расширяется в направлении наружу вдоль сквозного отверстия 10 в направлении потока чернил, когда чернила проходят в сторону канала 5 для подачи чернил. Эта воронкообразная часть R является продолжением части S с прямолинейной образующей и расположена за этой частью S по ходу потока. То есть сторона выхода потока из сквозного отверстия 10 конусообразно расширяется в направлении наружу. Эта конструкция обеспечивает надежное плотное уплотнение посредством части S с прямолинейной образующей и снижение сопротивления проходу потока текучей среды во всем первом сквозном отверстии 10 посредством воронкообразной части R.
Выемка 15 образована в поверхности 14 стенки 6а, ограничивающей элемент 6, образующий проточный канал для подачи чернил так, чтобы обеспечить соединение первого сквозного отверстия 10 выступающей части 11 с третьим сквозным отверстием 13 части 9 для прохода потока. Соединяющий канал (далее обозначенный ссылочным номером 15′) образован путем уплотнения выемки 15 закрывающей пленкой 16.
В элементе 6, образующем проточный канал для подачи чернил и имеющем такую конструкцию, упруго деформируемый клапанный элемент 20 установлен посредством рамки 21 для регулирования положения, как показано на фиг.4. Клапанный элемент 20 выполнен с толстой частью 20а вдоль его окружной периферии, и толстая часть 20а имеет плоскую поверхность, обращенную к выступающей части 11. Пружина 22, предназначенная для регулирования перепада давлений, установлена в заданное положение с помощью выступающей части 20b, образованной в центре клапанного элемента 20, и контактирует с задней поверхностью клапанного элемента 20. Кроме того, удерживающий элемент 23 уплотняет наружную сторону элемента 6, образующего проточный канал для подачи чернил, с обеспечением водонепроницаемости и изоляции от зоны хранения чернил при одновременном обеспечении возможности сообщения между частью 9 для прохода потока и задней поверхностью клапанного элемента 20. В этой связи в показанной конструкции прилегание клапанного элемента 20 к выступающей части 11 может быть улучшено, если сопрягаемые части данных элементов будут выполнены плоскими, поскольку это облегчает точное выставление и позволяет избежать необходимости принятия во внимание кривизны или неровностей на соприкасающихся поверхностях. Клапанный элемент 20 выполнен со сквозным отверстием 200, проходящим через выступающую часть 20b. Сквозное отверстие 200 расположено в пределах зоны прилегания (зоны уплотнения) между клапанным элементом 20 и выступающей частью 11 и проходит соосно сквозному отверстию 10 и сообщается с ним.
С этой целью для обеспечения возможности такого сообщения между частью 9 для прохода потока и задней поверхностью клапанного элемента 20, по меньшей мере, одна из выемок 9а и 23а и, возможно, обе выемки 9а и 23а выполнены в зоне элемента 6, образующего проточный канал для подачи чернил, и удерживающего элемента 23 так, чтобы эти выемки были обращены к части 9 для прохода потока.
Клапанный элемент 20 предпочтительно изготовлен из полимерного материала, такого как эластомер, который может быть подвергнут литьевому прессованию и который обладает упругими свойствами. Клапанный элемент 20 выполнен с выступающей частью 20b, предназначенной для приема пружины, в зоне, обращенной к выступающей части 11, то есть в центральной части клапанного элемента.
Пленка 24 присоединена или прикреплена к разделительной стенке 6b, которая представляет собой часть элемента 6, образующего проточный канал для подачи чернил, так, что пленка 24 покрывает поверхность удерживающего элемента 23 и уплотняет часть 8 для размещения клапана и часть 9 для прохода потока, тем самым обеспечивая надежное уплотнение и изоляцию от зоны хранения чернил.
В варианте осуществления, описанном выше, второе сквозное отверстие 12 выполнено по существу с такими же размерами, как и первое сквозное отверстие 10. Однако настоящее изобретение не ограничено таким образом, и, как показано на фиг.2В, второе сквозное отверстие 12 может быть заменено окном 12′, выполненным посредством удаления большей части поверхности 6а стенки, при этом за окном 12′ остается достаточно материала, чтобы образовать часть, которая не будет деформироваться под действием прижимающего усилия пружины 22, поджимающей клапанный элемент 20, и которая обеспечивает возможность образования выемки 15, служащей в качестве соединительного канала. Тем самым данная конструкция позволяет достичь таких же эффектов, какие достигаются с помощью конструкции, описанной выше.
Когда чернильный картридж по данному варианту осуществления установлен в печатающем устройстве, и давление текучей среды на стороне канала 5 для подачи чернил, то есть в зоне, находящейся дальше всего по ходу потока, в которой чернила выпускаются из чернильного картриджа, снижается за счет потребления чернил печатающей головкой или т.п., давление жидкости в части 9 для прохода потока, в части 15′ проточного канала, которая образована с помощью выемки 15 и пленки 16, и в закрытом пространстве (называемом также камерой управления давлением) 27 за клапанным элементом 20, сообщающемся с частью 9 посредством проточного канала, образованного выемкой 23а, также снижается, так что сниженное давление будет действовать на поверхность, которая также поджата за счет поджимающего усилия пружины 22. Закрытое пространство 27 сообщается по текучей среде с каналом 5 для подачи чернил посредством канала, образованного выемкой 23а, и части 9 для прохода потока. Закрытое пространство 27 также сообщается по текучей среде с каналом 5 для подачи чернил посредством сквозного отверстия 200, сквозного отверстия 10, проточного канала 15′ и проточного канала 9. Однако в том случае, если отрицательное давление текучей среды в канале 5 для подачи чернил не достигнет заранее заданной величины, клапанный элемент 20 будет поддерживать состояние уплотнения первого сквозного отверстия 10 и сквозного отверстия 200, при котором [поток из сквозного отверстия 12 в эти отверстия] перекрыт, поскольку на клапанный элемент 20 действует поджимающее усилие пружины 22.
На фиг.4С изображено частичное сечение предназначенной для прохода потока части 9 устройства 30 для создания отрицательного давления. Когда отрицательное давление уменьшается таким образом, что соответственно создаваемое усилие станет меньше усилия, прилагаемого со стороны пружины 22, и собственной жесткости клапанного элемента 20, отрицательное давление, существующее в канале 5 для подачи чернил, будет воздействовать на камеру 27 управления давлением, образованную в клапанном элементе 20, которая сообщается с каналом для подачи чернил посредством выемки 23а или 9а (фиг.4С) и сквозного отверстия 200 и т.д. Соответственно перепад давлений приводит к созданию усилия, действующего на клапанный элемент 20, которое достаточно для смещения клапанного элемента 20 в направлении против направления действия поджимающего усилия пружины 22, и тем самым клапанный элемент 20 отделяется от выступающей части 11 (фиг.4В), что позволяет чернилам, находящимся в камере 17 для хранения чернил, проходить в соединительный канал 15′ через второе сквозное отверстие 12 (это показано стрелкой А на фиг.5А) и первое сквозное отверстие 10 выступающей части 11. Чернила, проходящие в соединительный канал 15′, проходят через третье сквозное отверстие 13 (это показано стрелкой В на фиг.5А) и часть 9 для прохода потока в канал 5 для подачи чернил (это показано стрелкой С на фиг.5В). Одновременно обеспечивается возможность прохода чернил, находящихся в камере 17 для хранения чернил, в камеру 27 управления давлением через сквозное отверстие 12 и сквозное отверстие 200. Чернила, проходящие в камеру 27, проходят через выемки 23а, 9а и часть 9 для прохода потока в канал 5 для подачи чернил.
Когда заранее заданное количество чернил пройдет в канал 5 для подачи чернил таким образом для увеличения давления у задней поверхности клапанного элемента 20, изменение перепада давлений на клапанном элементе 20 вызывает вхождение клапанного элемента 20 в упругий контакт с выступающей частью 11 под действием поджимающей силы пружины 22 и, таким образом, уплотнение сквозного отверстия 10 и сквозного отверстия 200 (фиг.4А).
Затем эта операция повторяется для подачи чернил в печатающую головку при поддержании давления на стороне канала для подачи чернил на уровне заранее заданного отрицательного давления.
Следует отметить, что регулирование потока чернил происходит автоматически под действием потребления чернил из канала для подачи чернил. Это позволяет избежать необходимости наличия специальной внешней системы управления, которая обеспечивает периодическое открытие и закрытие клапана для регулирования потока чернил из контейнера для чернил к каналу для подачи чернил, и, таким образом, позволяет упростить и усовершенствовать конструкцию чернильного картриджа.
Как показано на фиг.6А, уплотняющая сторона клапанного элемента в соответствии с настоящим изобретением выполнена в виде плоской поверхности. В альтернативном варианте, как показано на фиг.6В, может быть образована выступающая часть 28 со сквозным отверстием 200, проходящим через нее.
В варианте осуществления, описанном выше, клапанный элемент и корпусной элемент выполнены в виде отдельных элементов. Тем не менее они могут быть выполнены в виде цельного элемента посредством совместного литьевого прессования соответствующих пригодных материалов.
В варианте осуществления, описанном выше, стенка, ограничивающая зону, в которой смонтировано устройство для создания отрицательного давления, выполнена так, что она образует одно целое с элементом, ограничивающим зону хранения чернил. В альтернативном варианте, как показано на фиг.7, элемент, ограничивающий зону, в которой смонтировано устройство для создания отрицательного давления, может быть выполнен в виде отдельного элемента 31, который вставлен с той стороны отверстия 5а канала 5 для подачи чернил, которая расположена выше по ходу потока.
Далее будет рассмотрен другой вариант осуществления настоящего изобретения.
На фиг.8-11 показана конструкция чернильного картриджа, изображенная на видах спереди и сзади, при этом элемент для закрытия отверстия удален. На фиг.12 и 13 показаны детали устройства для создания отрицательного давления, которое изображено в сечении. На фиг.14 изображены детали устройства для создания отрицательного давления, которое показано в увеличенном сечении. Как показано на фиг.8, внутреннее пространство основного корпуса 50 контейнера, образующее зону хранения чернил, разделено в вертикальном направлении стенкой 52, проходящей по существу в горизонтальном направлении и, более точно, проходящей так, что сторона стенки 52, с которой расположен канал 51 для подачи чернил, расположена немного ниже. Клапанный элемент 54, уплотняющий элемент 55 и пружина 53 находятся в канале 51 для подачи чернил, так что в состоянии, когда чернильный картридж не закреплен на основном корпусе печатающего устройства, клапанный элемент 54 удерживается в упругом контакте с уплотняющим элементом 55 посредством пружины 53 для обеспечения уплотнения канала 51 для подачи чернил.
Нижняя зона, находящаяся ниже стенки 52, выполнена с первой камерой 56 для хранения чернил, и верхняя зона, находящаяся выше стенки 52, ограничена рамкой 59, нижнюю поверхность которой образует стенка 52 и которая отделена от стенки 57 основного корпуса 50 контейнера зазором, предпочтительно постоянным, для образования канала 58 для сообщения с атмосферой. Внутренняя зона рамки 59 дополнительно разделена вертикальной стенкой 60, в нижней части которой образовано отверстие 60а для сообщения, так что одна из зон, образованных при разделении (то есть правая зона на чертеже), служит в качестве второй камеры 61 для хранения чернил, и другая зона служит в качестве третьей камеры 62 для хранения чернил.
Всасывающий проточный канал 63 выполнен в зоне, находящейся напротив первой камеры 56 для хранения чернил так, чтобы обеспечить соединение между второй камерой 61 для хранения чернил и нижней поверхностью 50а основного корпуса 50 контейнера. Всасывающий проточный канал 63 образован путем выполнения выемки 64 (фиг.9) на передней поверхности основного корпуса 50 контейнера и уплотнения этой выемки 64 воздухонепроницаемой пленкой 104, которая будет описана ниже более подробно.
В третьей камере 62 для хранения чернил элемент 67, образующий проточный канал для подачи чернил, образован путем выполнения кольцевой каркасной стенки 65 заподлицо с рамкой 59 и образования плоской поверхности 66, разделяющей пространство внутри кольцевой каркасной стенки на переднюю и заднюю стороны. Вертикальная стенка 68 размещена между нижней частью каркасной стенки 65 и стенкой 52 для образования четвертой камеры 69 для хранения чернил. В нижней части стенки 68 выполнена выемка 68а, предназначенная для обеспечения сообщения.
Между четвертой камерой 69 для хранения чернил и рамкой 59 выполнена перегородка 70 для образования проточного канала 71 для прохода чернил. Верхняя часть проточного канала 71 для прохода чернил сообщается со стороной передней поверхности основного корпуса 50 контейнера посредством сквозного отверстия 72, которое при необходимости может служить в качестве фильтровальной камеры.
Сквозное отверстие 72 ограничено стенкой 73, являющейся непрерывным продолжением стенки 70, так что сквозное отверстие 72 сообщается с верхним концом проточного канала 71 для прохода чернил посредством выемки 73а. Сквозное отверстие 72 посредством выемки 74, предпочтительно выполненной с формой слезинки и образованной со стороны передней поверхности, и посредством соединительного канала 73b также сообщается с пространством внутри каркасной стенки 65.
Как показано на фиг.9, нижняя часть элемента 67, образующего проточный канал для подачи чернил, соединена с каналом 51 для подачи чернил посредством проточного канала, образованного выемкой 86, выполненной на поверхности основного корпуса 50 контейнера, и воздухонепроницаемой пленкой 104, уплотняющей эту выемку 86. Элемент 67, образующий проточный канал для подачи чернил, имеет плоскую поверхность 66 и кольцевую стенку 80, которые расположены со стороны передней поверхности основного корпуса 50 контейнера и со стороны, противоположной по отношению к зоне хранения чернил, чтобы тем самым образовать часть 81 для размещения клапанного элемента. Приблизительно в центре плоской поверхности 66 образована выступающая часть 83, имеющая сквозное отверстие 82. Выступающая часть 83 служит в качестве перекрывающей части и расположена в зоне, находящейся напротив сквозного отверстия 200 упругого клапанного элемента 84. Соединительный канал 85 также выполнен в плоской поверхности 66, при этом он расположен на некотором расстоянии от выступающей части 83 и сообщается с передней поверхностью клапанного элемента 84.
Сквозное отверстие 82 аналогично тому, как это показано на фиг.4А, образовано с по существу цилиндрической частью S с прямолинейной образующей, расположенной со стороны упругого элемента, и с воронкообразной частью R, которая постепенно расширяется в направлении потока чернил в сторону канала 5 для подачи чернил и которая является продолжением части S с прямолинейной образующей и расположена за этой частью S по ходу потока (то есть сторона выхода потока из сквозного отверстия 82 конусообразно расширяется в направлении наружу), тем самым обеспечивается надежное уплотнение посредством части S с прямолинейной образующей, при этом сопротивление проходу потока во всем сквозном отверстии 82 уменьшается за счет наличия воронкообразной части R.
Вблизи нижнего конца стенки 80 образован паз 87, который соединен с выемкой 86, проходящей вниз в сторону канала 51 для подачи чернил. Глубину этого паза 87 выбирают так, чтобы паз 87 сообщался только со стороной задней поверхности клапанного элемента 84, когда клапанный элемент 84 установлен на место. Стенка 88 образована со стороны задней поверхности напротив сквозного отверстия 82, то есть в верхней зоне хранения чернил, и эта стенка, которая проходит в сторону верхнего конца выемки 86, удаляясь от соединительного канала 85, также отделяет некоторую часть от окружающей зоны, так что эта часть будет соединена посредством сквозного отверстия 89, расположенного у нижнего конца стенки 88, с зоной верхнего конца выемки 86. Передняя поверхность основного корпуса 50 контейнера выполнена с узкой канавкой 90, которая имеет извилистую форму, чтобы максимально возможно увеличить сопротивление проходу потока, с широкой канавкой 91 вокруг узкой канавки 90 и с прямоугольной выемкой 92, расположенной в зоне, находящейся напротив второй камеры 61 для хранения чернил. Каркасная часть 93 образована в прямоугольной выемке 92 в месте, находящемся немного ниже открытого края выемки 92, и ребра 94 образованы внутри каркасной части 93 так, чтобы они были отделены друг от друга. Не восприимчивая к чернилам, воздухопроницаемая пленка 95 натянута поверх каркасной части 93 и приклеена к ней для образования камеры для сообщения с атмосферой.
Как видно на фиг.10 и 11, в нижней поверхности выемки 92 образовано сквозное отверстие 96, предназначенное для сообщения с небольшой зоной 98, которая отделена стенкой 97, образованной во внутреннем пространстве второй камеры 61 для хранения чернил. Другой конец зоны 98 посредством сквозного отверстия 99, выполненного в зоне 98, канавки 108, образованной на передней поверхности основного корпуса 50 контейнера, и сквозного отверстия 99а сообщается с камерой 101 для размещения клапана, в которой находится клапан 100 для сообщения с атмосферой, который открыт, когда чернильный картридж установлен на печатающем устройстве. Зона выемки 92, расположенная со стороны воздухопроницаемой пленки 95, сообщается с одним концом 90а узкой канавки 90.
Часть 81 основного корпуса 50 контейнера, предназначенная для размещения клапана, выполнена аналогично части в вышеупомянутом варианте осуществления, рассмотренном в связи с фиг.1. Как показано на фиг.9, клапанный элемент 84 и пружина 102 установлены аналогичным образом, удерживающий элемент 103 установлен таким же образом, и пленка 104 прикреплена для того, чтобы закрыть переднюю поверхность основного корпуса 50 контейнера аналогичным образом. Удерживающий элемент 103 выполнен с канавкой 105, сообщающейся с пазом 87, и с проточными каналами 106 и 107, сообщающимися с задней поверхностью клапанного элемента 84.
Следовательно, выемки 74, 86 и 105 вместе с пленкой 104 образуют проточный канал для прохода чернил, и узкие канавки 90 и 91 и выемки 92 и 108 вместе с пленкой образуют капилляры и канал для сообщения с атмосферой.
Со стороны открытой части основного корпуса 50 контейнера открытые стороны камер 61, 62 и 69 для хранения чернил, расположенных в верхней части, и открытая сторона элемента 67, образующего проточный канал для подачи чернил, герметично закрывают пленкой 110 для отделения этих зон от камеры 56 для хранения чернил, находящейся в нижней части, и от канала 58 для сообщения с атмосферой. После этого закрывающий элемент 111 герметично прикрепляют к основному корпусу 50 контейнера для завершения образования камеры 56 для хранения чернил, находящейся в нижней части.
Кроме того, как показано на фиг.8 и 9, ссылочный номер 120 на чертежах обозначает деталь для идентификации, которая используется для предотвращения неправильной установки чернильного картриджа, и ссылочный номер 121 обозначает запоминающее устройство, в котором хранится информация о чернилах и т.д. и которое установлено в выемке 122 основного корпуса 50 контейнера.
Когда чернильный картридж, имеющий указанную конструкцию, устанавливают на игле для подачи чернил, сообщающейся с печатающей головкой, игла для подачи чернил обеспечивает смещение клапанного элемента 54 назад в направлении против направления действия поджимающего усилия, действующего со стороны пружины 53, чтобы тем самым открыть канал 51 для подачи чернил. В этом состоянии, при снижении давления в канале 51 для подачи чернил в результате потребления чернил печатающей головкой при выполнении печати и т.д., уменьшенное давление будет действовать в проточном канале, образованном посредством выемки 86 и пленки 104, и на заднюю поверхность клапанного элемента 84 через паз 87, то есть на ту поверхность клапанного элемента 84, на которую действует прижимающая сила пружины 102. Если давление в канале 51 для подачи чернил не снижается до величины ниже заранее заданной величины, достаточной для смещения клапанного элемента 84, клапанный элемент 84 остается поджатым к выступающей части 83 с обеспечением упругого контакта с ней за счет поджимающей силы, действующей со стороны пружины 102, чтобы тем самым удерживать сквозное отверстие 82 в закрытом положении. Следовательно, чернила не проходят из камеры для хранения чернил в канал 51 для подачи чернил.
Когда давление в канале 51 для подачи чернил (то есть в проточном канале элемента или открываемой части, к которой присоединен или в которую вставлен соединительный элемент, такой как полая игла или трубка, предназначенный для создания разъемного соединения между чернильным картриджем и печатающей головкой, предусмотренной на каретке) уменьшается до заранее заданной величины вследствие продолжающегося потребления чернил печатающей головкой, давление, действующее на заднюю поверхность клапанного элемента 84 посредством проточного канала, как описано выше, становится достаточным для того, чтобы обеспечить преодоление усилия, действующего со стороны пружины 102, и поэтому клапанный элемент 84 отходит от выступающей части 83. Таким образом, чернила проходят из соединительных каналов 85 в зону между клапанным элементом 84 и плоской поверхностью 66, так что чернила будут проходить из сквозного отверстия 82 выступающей части 83 по каналу, образованному с помощью выемки (стенки) 88 и пленки 110, через сквозное отверстие 89, по проточному каналу, образованному между выемкой 86 и пленкой 104, и по каналу 51 для подачи чернил в печатающую головку печатающего устройства. Одновременно чернила, проходящие в зону между клапанным элементом 84 и плоской поверхностью 66, также будут выходить из сквозного отверстия 200 клапанного элемента 84 по каналу 106, который образован с помощью выемки 105 и пленки 104, через паз 87, по каналу, образованному с помощью выемки 86 и пленки 104, и по каналу 51 для подачи чернил в печатающую головку печатающего устройства. То есть чернила проходят с обеих сторон клапанного элемента 84 в канал 51 для подачи чернил.
Когда давление на заднюю поверхность клапанного элемента 84 увеличится в результате прохода заранее заданного количества чернил в зону, расположенную со стороны задней поверхности клапанного элемента 84, клапанный элемент 84 снова поджимается при контактировании с выступающей частью 83 за счет поджимающего усилия пружины 102, чтобы уплотнить сквозное отверстие 82 и сквозное отверстие 200 от зоны между клапанным элементом 84 и плоской поверхностью 66, чтобы тем самым перекрыть проточный канал. Соответственно существует возможность поддержания такого отрицательного давления, действующего на жидкость в канале 51 для подачи чернил, которое будет достаточным для предотвращения утечки чернил из печатающей головки, при этом одновременно обеспечивается возможность подачи чернил к печатающей головке.
По мере расходования чернил чернила, находящиеся в четвертой камере 69 для хранения чернил, будут проходить по проточному каналу 71 и через сквозное отверстие 72 в зону, находящуюся со стороны передней поверхности клапанного элемента 84. Кроме того, поскольку только первая камера 56 для хранения чернил сообщается с атмосферой, чернила, находящиеся в третьей камере 62 для хранения чернил, будут проходить в четвертую камеру 69 для хранения чернил через выемку 68а по мере потребления чернил, содержащихся в четвертой камере 69 для хранения чернил, и чернила, находящиеся во второй камере 61 для хранения чернил, будут проходить в третью камеру 62 для хранения чернил через выемку 60а по мере потребления чернил, находящихся в третьей камере 62 для хранения чернил. Чернила, находящиеся в первой камере 56 для хранения чернил, будут проходить во вторую камеру 61 для хранения чернил по всасывающему проточному каналу 63 по мере потребления чернил, находящихся во второй камере 61 для хранения чернил. Следовательно, камеры для хранения чернил, расположенные “выше” всех остальных камер по ходу потока, последовательно опорожняются раньше, так что сначала потребляются чернила, находящиеся в первой камере 56 для хранения чернил, затем потребляются чернила, находящиеся во второй камере 61 для хранения чернил, и так далее.
На фиг.15 показан еще одни вариант осуществления, в котором вместимость чернильного картриджа с чернилами увеличена. Основной корпус 50′ контейнера по данному варианту осуществления имеет такую же конструкцию, как и основной корпус 50 контейнера по описанному выше варианту осуществления, за исключением того, что ширина W основного корпуса 50′ контейнера увеличена.
Поскольку вследствие данного изменения высота разделительной стенки 65 элемента 67, образующего проточный канал для подачи чернил, отличается от высоты рамки 59′, третья пленка 130 используется для уплотнения открытой части разделительной стенки 65 элемента 67, образующего проточный канал для подачи чернил, как показано на фиг.16.
В варианте осуществления, показанном на фиг.8-14, размеры передней поверхности выступающей части 83 элемента 67, образующего проточный канал для подачи чернил, в несколько раз больше диаметра сквозного отверстия 82. Как показано на фиг.16 и 17, и сквозное отверстие 82′, и выступающую часть 83′ можно выполнить с конической формой, если смотреть в сечении, для уменьшения сопротивления проходу потока за счет увеличения диаметра сквозного отверстия 82′, а также для увеличения зоны прохода потока между клапанным элементом 84 и стенкой 83′ вблизи сквозного отверстия 82′, чтобы тем самым дополнительно уменьшить сопротивление проходу потока.
Кроме того, как показано на фиг.17, поверхность клапанного элемента 84, то есть перекрывающая сторона клапанного элемента 84, может быть выполнена в виде плоской поверхности аналогично варианту осуществления, показанному на фиг.6А.
Далее работа устройства для создания отрицательного давления, предусмотренного в чернильном картридже, описанном выше со ссылкой на фиг.8-14, будет дополнительно рассмотрена со ссылкой на фиг.18А и 18В, которые представляют собой схематичные изображения, показывающие дополнительно упрощенную конструкцию в соответствии с настоящим изобретением. Фиг.18А и 18В представляют собой схематичные изображения, соответственно показывающие закрытое состояние клапана и открытое состояние клапана при упрощенной конструкции устройства для создания отрицательного давления. Для ясности при разъяснении и для обеспечения соответствия конструкции устройства для создания отрицательного давления используются такие же ссылочные номера, какие были использованы для варианта осуществления, показанного на фиг.8-14.
При закрытом состоянии клапана, показанном на фиг.18А, клапанный элемент 84 закрывает сквозное отверстие 82 под действием поджимающего усилия, приложенного к нему пружиной 102, и, таким образом, перекрывается поток чернил, поступающих из камеры 62 для хранения чернил к каналу для подачи чернил. В этом состоянии по мере потребления чернил печатающей головкой давление на стороне канала для подачи чернил соответственно снижается, так что уменьшенное давление будет действовать на клапанный элемент 84 посредством соединительного канала 87 и проточного канала 88.
В этом варианте осуществления задняя поверхность клапанного элемента 84, сообщающаяся с соединительным каналом 87, обращена к камере 109, которая расположена между клапанным элементом 84 и соединительным каналом 87 и которая открыта для сообщения по текучей среде с внешней зоной посредством соединительного канала 87. Камера 109 также сообщается с проточным каналом 88 посредством сквозных отверстий 82 и 200. То есть камера 109 служит в качестве камеры управления давлением, предназначенной для передачи изменения давления, которое происходит в канале для подачи чернил, к задней поверхности клапанного элемента 84.
Соответственно на заднюю поверхность клапанного элемента 84 будет действовать сниженное давление, существующее на стороне канала для подачи чернил. Поэтому вследствие перепада давлений между частями на передней и задней поверхностях клапанного элемента 84, на которые действует давление, возникает сила, действующая в направлении сжатия пружины 102. Когда давление на стороне канала для подачи чернил снижается до величины ниже величины давления, создаваемого пружиной 102, клапанный элемент 84 отделяется от выступающей части 83, как показано на фиг.18В, что приводит к открытию отверстий 82 и 200, в результате чего чернила, находящиеся в камере 62 для хранения чернил, проходят из соединительного канала 85 по проточному каналу 88 и проточному каналу 89 в печатающую головку. То есть чернила, находящиеся в камере 62 для хранения чернил, проходят с обеих сторон клапанного элемента 84 в печатающую головку.
Следовательно, любое изменение давления на стороне канала для подачи чернил будет обязательно воздействовать на заднюю поверхность клапанного элемента 84 посредством чернил, что обеспечивает предотвращение прекращения подачи чернил. Большое количество чернил может быть подано к печатающей головке.
В вышеуказанном варианте осуществления задняя поверхность клапанного элемента 84 выполнена таким образом, чтобы она была обращена к закрытому пространству 109 и отделяла закрытое пространство 109, которое сообщается с внешней зоной посредством соединительного канала 87, тем самым только чернила, проходящие через отверстие 200 в закрытое пространство 109, смогут проходить по каналу 87 в канал для подачи чернил. Однако изобретение не ограничено данным вариантом осуществления. Например, как показано на фиг.19А или 19В, проточный канал 88, предназначенный для обеспечения сообщения по текучей среде между отверстием 82 и каналом для подачи чернил, может быть соединен с одним концом закрытого пространства 109 за клапанным элементом 84, так что зона со стороны задней поверхности клапанного элемента 84 служит также в качестве проточного канала для прохода чернил, проходящих через отверстие 82. Кроме того, вертикальное расположение клапанного элемента 84, показанное на фиг.19А, способствует гарантированию того, что любые пузырьки, проходящие через отверстие 85, будут всплывать вверх вдоль клапанного элемента к верхней части камеры и не будут всасываться в отверстия 82 и 200.
За счет образования канала 86′ для выхода потока чернил, который сообщается с камерой 109 управления давлением, расположенной за клапанным элементом 84, и который проходит перпендикулярно поверхности клапанного элемента, как показано на фиг.19В, можно использовать чернильный картридж с клапанным элементом 84, расположенным горизонтально.
В описанном выше варианте осуществления закрытое пространство 109, находящееся со стороны задней поверхности клапанного элемента 84, сообщается с каналом для подачи чернил посредством канала 87. Однако изобретение не ограничено данным вариантом осуществления. Например, как показано на фиг.20А и 20В, канал 87 может быть исключен, так что закрытое пространство 109 сообщается с каналом для подачи чернил только посредством отверстия 200. Эта модификация может обеспечить упрощение конфигурации проточного канала в элементе 67, образующем проточный канал для подачи чернил.
Кроме того, при рассмотрении, например, варианта осуществления, показанного на фиг.4, в качестве примера видно, что пружина 22 для регулирования перепада давлений расположена со стороны задней поверхности клапанного элемента 20 и поджимает клапанный элемент 20 так, что клапанный элемент 20 входит в упругий контакт с выступающей частью 11. Однако настоящее изобретение не следует ограничивать данным вариантом осуществления. Например, как показано на фиг.21, клапанный элемент 20 может быть изготовлен из упругого материала, такого как резина, и выступающая часть 11 может быть выполнена соответственно выступающей в направлении стороны клапанного элемента 20 за плоскость Р, которая образована самим недеформированным телом клапанного элемента 20 при отсутствии выступающей части. В этом случае клапанный элемент 20 может удерживаться в упругом контакте с выступающей частью 11 за счет упругости, присущей самому клапанному элементу 20. Таким образом, можно обойтись без поджимающего элемента, такого как пружина 22.
В альтернативном варианте клапанный элемент 20 может быть поджат к выступающей части 11 за счет сочетания деформирования его самого при контакте с выступающей частью 11 и наличия расположенной соответствующим образом поджимающей пружины.
Несмотря на то, что настоящее изобретение было описано со ссылкой на чернильный картридж, который может быть прикреплен к печатающей головке с возможностью отсоединения, настоящее изобретение может применяться для резервуара для чернил (чернильному картриджу) такого типа, при котором печатающая головка жестко прикреплена к элементу для хранения чернил, такому как резервуар для чернил. В этом случае канал для подачи чернил, рассмотренный выше, включает граничную зону, в которой элемент для хранения чернил присоединен к печатающей головке, то есть канал для подачи чернил представляет собой канал для ввода потока чернил или часть печатающей головки, предназначенную для ввода чернил.
На фиг.22 показан вариант осуществления регулятора потока текучей среды или устройства для подачи жидкости, в котором, несомненно, используется принцип работы клапанного элемента, описанного выше, для подачи чернил к печатающей головке при поддержании отрицательного давления в канале 86, из которого чернила проходят к каналу 147 для ввода потока чернил, предусмотренному в печатающей головке. В данном варианте осуществления зона, расположенная непосредственно перед клапанным элементом 84 по ходу потока (то есть зона, соответствующая камере 62 для хранения чернил по фиг.18А и 18В), исключена, и вместо этого предусмотрен соединительный элемент, такой как полая игла 140, показанная в данном варианте осуществления, для создания клапанного устройства 141. Клапанное устройство 141 выполнено с возможностью присоединения его к внешнему устройству и с возможностью отсоединения его от внешнего устройства, такого как резервуар для чернил или контейнер 142 для чернил, в котором хранятся чернила, посредством соединительного элемента.
В нижней части контейнера 142 для чернил образован канал 143 для выхода потока чернил, который может быть соединен с полой иглой 140 с обеспечением непроницаемости по отношению к жидкости. В случае нового, неиспользованного контейнера 142 для чернил уплотняющая пленка (непоказанная), которую можно проткнуть полой иглой 140, уплотняет канал 143 для выхода потока чернил, чтобы предотвратить утечку чернил. Кроме того, ссылочный номер 144 на чертеже обозначает кольцевое уплотнение, приспособленное для ввода в упругий контакт с наружной окружной периферией полой иглы 140. Ссылочный номер 145 обозначает отверстие, предназначенное для обеспечения сообщения с атмосферой.
Части данного изобретения, необходимые для обеспечения функционирования клапанного элемента 84 так, как рассмотрено выше, могут быть выполнены в виде независимого устройства, то есть клапанного устройства 141. В этой конструкции печатающая головка 146 прикреплена к нижней части клапанного устройства 141, и канал 147 печатающей головки 146, предназначенный для ввода потока чернил, соединен с предназначенным для выхода потока чернил каналом (проточным каналом, обозначенным ссылочным номером 86) клапанного устройства 141. Контейнер 142 для чернил может быть установлен путем вставки контейнера 142 для чернил в направлении, обозначенном стрелкой А, для обеспечения подачи чернил в печатающую головку 146, и может быть заменен путем смещения и отвода контейнера 142 для чернил в противоположном направлении.
Кроме того, функционирование и эффект от клапанного устройства 141 в данном варианте осуществления такие же, как в других вариантах осуществления, и, следовательно, клапанное устройство 141 при объединении его с контейнером 142 для чернил функционирует таким же образом, как чернильный картридж, описанный выше.
Несмотря на то, что контейнер 142 для чернил соединен непосредственно с соединительным элементом (полой иглой 140) в варианте осуществления, упомянутом выше, такой же эффект может быть достигнут при присоединении соединительного элемента посредством трубки к чернильному картриджу, установленному в основном корпусе печатающего устройства.
Таким образом, можно привести следующие признаки и преимущества вариантов осуществления в соответствии с настоящим изобретением:
(1) В соответствии с настоящим изобретением предложен чернильный картридж, содержащий: камеру для хранения чернил, в которой хранятся чернила; канал для подачи чернил, сообщающийся с камерой для хранения чернил; и устройство для создания отрицательного давления, которое расположено между камерой для хранения чернил и каналом для подачи чернил и которое регулирует подачу чернил из камеры для хранения чернил в канал для подачи чернил. Устройство для создания отрицательного давления включает первый канал для прохода чернил, сообщающийся с каналом для подачи чернил; уплотняющую часть, образованную с открываемой частью, сообщающейся с первым каналом для прохода чернил; упругий элемент, имеющий сквозное отверстие, местоположение которого соответствует местоположению уплотняющей части и которое может контактировать с уплотняющей частью и отходить от нее; сообщающуюся часть, предусмотренную со стороны первой поверхности упругого элемента и сообщающуюся с камерой для хранения чернил; и промежуточную часть, предусмотренную со стороны второй поверхности упругого элемента и сообщающуюся с каналом для подачи чернил.
В соответствии с данной конструкцией, в том случае, когда упругий элемент отходит от уплотняющей части под действием отрицательного давления, существующего в канале для выхода потока чернил, и открываемая часть уплотняющей части, и сквозное отверстие упругого элемента функционируют в качестве проточного канала для прохода чернил для подачи чернил в канал для выхода потока чернил при уменьшенном сопротивлении проходу потока. Следовательно, существует возможность создания чернильного картриджа, который может быть приспособлен для обеспечения потребления большого количества чернил в печатающей головке и который пригоден для высокоскоростной печати.
(2) В чернильном картридже согласно (1) упругий элемент отходит от уплотняющей части под действием снижения давления на стороне канала для подачи чернил, в результате чего обеспечивается возможность подачи чернил через открываемую часть или через сквозное отверстие в канал для подачи чернил.
В соответствии с данной конструкцией, в том случае, когда упругий элемент отходит от уплотняющей части под действием отрицательного давления, существующего в канале для выхода потока чернил, и открываемая часть уплотняющей части, и сквозное отверстие упругого элемента функционируют в качестве проточного канала для прохода чернил для подачи чернил в канал для выхода потока чернил при уменьшенном сопротивлении проходу потока. Следовательно, существует возможность создания чернильного картриджа, который может быть приспособлен для обеспечения потребления большого количества чернил в печатающей головке и который пригоден для высокоскоростной печати.
(3) В чернильном картридже согласно (1) упругий элемент выполнен с выступом, и в выступе выполнено сквозное отверстие.
В соответствии с данной конструкцией может быть обеспечено наличие большого пространства вокруг выступа, в результате чего снижается сопротивление проходу потока, имеющее место при проходе потока жидкости.
(4) В чернильном картридже согласно (1) устройство для создания отрицательного давления дополнительно включает второй канал для прохода чернил, посредством которого промежуточная часть сообщается с каналом для подачи чернил.
В соответствии с данной конструкцией поток чернил, проходящий в канал для подачи чернил, может быть образован с помощью первого канала для прохода чернил и второго канала для прохода чернил, и поэтому большое количество чернил может быть плавно подано в канал для подачи чернил.
(5) В чернильном картридже согласно (1) промежуточная часть сообщается с каналом для подачи чернил посредством сквозного отверстия, открываемой части и первого канала для прохода чернил.
В соответствии с данной конструкцией регулирование упругого элемента может быть осуществлено с помощью простой конструкции, при этом увеличение сопротивления проходу потока, имеющее место при проходе потока чернил, может подавляться открываемой частью.
(6) В чернильном картридже согласно (1) устройство для создания отрицательного давления дополнительно включает разделительную стенку, которая расположена со стороны упругого элемента, находящейся выше по ходу потока, и которая ограничивает камеру между упругим элементом и разделительной стенкой, при этом разделительная стенка имеет выступающую часть, к которой упруго прижимается упругий элемент, и в выступающей части образована открываемая часть.
В соответствии с данной конструкцией, в том состоянии, когда подача чернил обеспечивается за счет отделения упругого элемента от открываемой части, может быть гарантировано наличие максимально возможного пространства вокруг выступающей части, в результате чего уменьшается динамическая потеря давления, связанная с потоком чернил. То есть, выступающая часть может быть образована из того же материала, что и основной корпус контейнера, величина (высота) выступа выступающей части может быть задана произвольным образом, и может быть увеличена степень свободы при проектировании формы выступающей части и формы сквозного отверстия.
(7) В чернильном картридже согласно (6) устройство для создания отрицательного давления дополнительно включает поджимающий элемент, который расположен напротив выступающей части и который поджимает упругий элемент к выступающей части.
В соответствии с данной конструкцией упругий элемент может надежно контактировать с выступающей частью независимо от положения упругого элемента. Следовательно, уплотняющая способность может сохраняться независимо от перемещения каретки, вибрационных нагрузок, действующих с внешней стороны, и т.д. Кроме того, контактное усилие (уплотняющее усилие), с которым упругий элемент контактирует с выступающей частью, может быть легко отрегулировано до уровня оптимального значения, то есть значения, которое позволяет предотвратить отход упругого элемента под действием перемещения каретки и которое позволяет поддерживать соответствующее отрицательное давление для подачи чернил, путем регулирования поджимающего усилия (упругой силы) поджимающего элемента. В частности, в том случае, когда в качестве поджимающего элемента используется цилиндрическая винтовая пружина, регулировка может быть выполнена легко и точно.
(8) В чернильном картридже согласно (6) упругий элемент поджимается к выступающей части за счет упругой деформации упругого элемента.
В соответствии с данной конструкцией упругий элемент может надежно контактировать с выступающей частью независимо от положения упругого элемента, при этом количество деталей устройства не увеличивается, и уплотняющая способность может сохраняться независимо от перемещения каретки, вибрационных нагрузок, действующих с внешней стороны, и т.д.
(9) В чернильном картридже согласно (6) открываемая часть выступающей части расположена так, что она по существу обращена к центру упругого элемента.
В соответствии с данной конструкцией центральная зона упругого элемента деформируется симметрично относительно центра при сохранении по существу плоской формы. Поэтому открываемая часть может быть надежно уплотнена для повышения перекрывающей способности.
(10) В чернильном картридже согласно (1) промежуточная часть расположена так, что давление, создаваемое на расположенной ниже по ходу потока стороне упругого элемента в результате потребления чернил, воздействует по существу на всю площадь второй поверхности упругого элемента.
В соответствии с данной конструкцией ввод упругого элемента в контакт с уплотняющей частью и отвод упругого элемента от уплотняющей части можно регулировать за счет того, что изменение давления в канале для подачи чернил воспринимается большой площадью, и, следовательно, открытие канала для прохода чернил может быть осуществлено только при изменении давления, необходимом для подачи чернил.
(11) В чернильном картридже согласно (1) первый канал для прохода чернил соединен посредством промежуточной части с каналом для подачи чернил.
В соответствии с данной конструкцией чернила, находящиеся в промежуточной части, также могут быть поданы в канал для подачи чернил, и поэтому даже в том случае, если внутри промежуточной части имеется воздушный пузырек, этот воздушный пузырек может быть легко выпущен из промежуточной части.
(12) В чернильном картридже согласно (1) первый канал для прохода чернил, соединяющий канал для подачи чернил с открываемой частью, разветвляется в промежуточной зоне для образования ответвления, и ответвление соединено с промежуточной частью, которая обеспечивает приложение давления по существу ко всей площади второй поверхности упругого элемента.
В соответствии с данной конструкцией чернила могут быть поданы путем использования множества проточных каналов без усложнения конструкции проточного канала вблизи канала для подачи чернил.
(13) В чернильном картридже согласно (1) первая и вторая поверхности упругого элемента контактируют с чернилами по существу на одинаковой площади.
В соответствии с данной конструкцией перепад давлений может быть быстро создан между стороной первой поверхности упругого элемента и стороной его второй поверхности, чтобы тем самым надежно обеспечить смещение упругого элемента.
(14) В чернильном картридже согласно (1) открываемая часть включает цилиндрическую часть, расположенную со стороны упругого элемента, и расширенную часть, расширяющуюся наружу в продольном направлении расширенной части в направлении потока чернил в сторону канала для подачи чернил.
В соответствии с данной конструкцией упругий элемент контактирует с зоной цилиндрической части, чтобы гарантировать надежное уплотнение, и расширенная часть обеспечивает увеличение открытой зоны открываемой части, чтобы уменьшить сопротивление проходу потока.
(15) В чернильном картридже согласно (1), по меньшей мере, зона контакта упругого элемента, которая контактирует с уплотняющей частью, выполнена в виде плоской поверхности.
В соответствии с данной конструкцией уплотняющая часть и упругий элемент могут надежно контактировать друг с другом. Кроме того, можно легко точно выставить уплотняющую часть относительно упругого элемента.
(16) В чернильном картридже согласно (1) устройство для создания отрицательного давления дополнительно включает поджимающий элемент, который поджимает сквозное отверстие упругого элемента так, чтобы оно входило в контакт с уплотняющей частью.
В соответствии с данной конструкцией упругий элемент может надежно контактировать с уплотняющей частью независимо от положения упругого элемента. Следовательно, уплотняющая способность может сохраняться независимо от перемещения каретки, вибрационных нагрузок, действующих с внешней стороны, и т.д. Кроме того, контактное усилие, с которым упругий элемент входит в контакт с уплотняющей частью, может быть легко отрегулировано до уровня оптимального значения, то есть значения, которое позволяет предотвратить отход упругого элемента под действием перемещения каретки и которое позволяет поддерживать соответствующее отрицательное давление для подачи чернил, путем регулирования поджимающего усилия (упругой силы) поджимающего элемента. В частности, в том случае, когда в качестве поджимающего элемента используется цилиндрическая винтовая пружина, регулировка может быть выполнена легко и точно.
(17) В чернильном картридже согласно (1) первый канал для прохода чернил образован с помощью выемки, выполненной в элементе, образующем проточный канал для подачи чернил, и пленки, герметично закрывающей выемку.
(18) В чернильном картридже согласно (17) открываемая часть образована сквозным отверстием, выполненным в элементе, образующем проточный канал для подачи чернил.
В соответствии с данными конструкциями (17) и (18) канал для прохода чернил и/или открываемая часть могут быть образованы с помощью простой конструкции.
(19) В чернильном картридже согласно (1) конструкция чернильного картриджа дополнительно содержит корпусной элемент, имеющий канал для подачи чернил, и закрывающий элемент, герметично уплотняющий открытую поверхность корпусного элемента, и зона, в которой смонтировано устройство для создания отрицательного давления, образована за одно целое с корпусным элементом или отдельно от корпусного элемента.
В соответствии с данной конструкцией, в том случае, когда зона установки образует одно целое с корпусным элементом, изготовление представляет собой простой процесс. В другом случае, когда зона установки выполняется отдельно от корпусного элемента, можно реализовать усложненную конструкцию, поскольку зона установки и корпусной элемент могут быть изготовлены отдельно и затем собраны вместе.
(20) В чернильном картридже согласно (1) камера для хранения чернил разделена на верхнюю камеру для хранения чернил, изолированную от атмосферы, и нижнюю камеру для хранения чернил, открытую в атмосферу, при этом верхняя камера для хранения чернил сообщается с нижней камерой для хранения чернил посредством проточного канала, и устройство для создания отрицательного давления расположено в проточном канале, соединяющем верхнюю камеру для хранения чернил с каналом для подачи чернил.
В соответствии с данной конструкцией изменение давления, воздействующее на упругий элемент в устройстве для создания отрицательного давления, может быть ограничено, при этом принимается во внимание только изменение давления, вызванное изменением количества чернил в нижней камере для хранения чернил. Следовательно, отсутствует необходимость в регулировании контактного усилия, с которым упругий элемент входит в контакт с уплотняющей частью, до уровня чрезмерно большой величины, и существует возможность создания чернильного картриджа, в котором остающееся количество чернил может быть уменьшено без регулирования контактного усилия до уровня чрезмерно большой величины.
(21) В чернильном картридже согласно (1) открываемая часть выполнена в виде сквозного отверстия, образованного в выступающей части, на дальнем конце которой имеется участок с плоской поверхностью.
В соответствии с данной конструкцией может быть обеспечен надежный контакт с упругим элементом.
(22) В чернильном картридже согласно (21) выступающая часть является конической в сечении.
(23) В чернильном картридже согласно (22) открываемая часть включает расширенную часть, расширяющуюся наружу в продольном направлении расширенной части в направлении потока чернил в сторону канала для подачи чернил.
В соответствии с данными конструкциями (22) и (23) существует возможность уменьшения сопротивления проходу потока во время прохода чернил.
(24) В чернильном картридже согласно (1) сквозное отверстие выполнено в центре упругого элемента.
В соответствии с данной конструкцией упругий элемент деформируется симметрично относительно центра, и поэтому может быть обеспечен надежный контакт с уплотняющей частью.
(25) В чернильном картридже согласно (1) упругому элементу придана форма диска.
В соответствии с данной конструкцией может быть обеспечена равномерная деформация упругого элемента, и может быть обеспечен надежный контакт с уплотняющей частью, а также надежное деформирование при изменении давления.
(26) В соответствии с настоящим изобретением также создан регулятор потока чернил, содержащий: упругий элемент, имеющий первую и вторую поверхности и сквозное отверстие и выполненный с возможностью смещения под действием перепада давлений между первой и второй поверхностями; уплотняющую часть, имеющую открываемую часть, которая может входить в контакт со сквозным отверстием и отходить от сквозного отверстия и которая сообщается с каналом для выхода потока чернил; сообщающуюся часть, предусмотренную со стороны первой поверхности упругого элемента и выполненную с возможностью сообщения с резервуаром для чернил, в котором хранятся чернила; и промежуточную часть, предусмотренную со стороны второй поверхности упругого элемента и сообщающуюся с каналом для выхода потока чернил.
В соответствии с данной конструкцией, в том случае, когда упругий элемент отходит от уплотняющей части под действием отрицательного давления, существующего в канале для выхода потока чернил, и открываемая часть уплотняющей части, и сквозное отверстие упругого элемента функционируют в качестве проточного канала для прохода чернил для подачи чернил в канал для выхода потока чернил при уменьшенном сопротивлении проходу потока. Следовательно, существует возможность создания регулятора потока чернил, который может быть приспособлен для обеспечения потребления большого количества чернил в печатающей головке и который пригоден для высокоскоростной печати.
(27) В регуляторе потока текучей среды согласно (26) разделительная стенка расположена со стороны упругого элемента, находящейся выше по ходу потока, для образования камеры между упругим элементом и разделительной стенкой, при этом разделительная стенка имеет выступающую часть, к которой упруго прижимается упругий элемент, и открываемая часть образована в выступающей части.
В соответствии с данной конструкцией, в том случае, когда подача чернил обеспечивается за счет отделения упругого элемента от открываемой части, может быть гарантировано наличие максимально возможного пространства вокруг выступающей части, в результате чего уменьшается динамическая потеря давления, связанная с потоком чернил. То есть выступающая часть может быть образована из того же материала, что и основной корпус контейнера, величина (высота) выступа выступающей части может быть задана произвольным образом, и может быть увеличена степень свободы при проектировании формы выступающей части и формы сквозного отверстия.
(28) В регуляторе потока текучей среды согласно (27) поджимающий элемент расположен напротив выступающей части и поджимает упругий элемент к выступающей части.
В соответствии с данной конструкцией упругий элемент может быть надежно введен в контакт с выступающей частью независимо от положения упругого элемента. Следовательно, уплотняющая способность может сохраняться независимо от перемещения каретки, вибрационных нагрузок, действующих с внешней стороны, и т.д. Кроме того, контактное усилие (уплотняющее усилие), с которым упругий элемент входит в контакт с выступающей частью, может быть легко отрегулировано до уровня оптимального значения, то есть значения, которое позволяет предотвратить отход упругого элемента под действием перемещения каретки и которое позволяет поддерживать соответствующее отрицательное давление для подачи чернил путем регулирования поджимающего усилия (упругой силы) поджимающего элемента. В частности, в том случае, когда в качестве поджимающего элемента используется цилиндрическая винтовая пружина, регулировка может быть выполнена легко и точно.
(29) В регуляторе потока текучей среды согласно (27) упругий элемент поджимается к выступающей части за счет упругой деформации упругого элемента.
В соответствии с данной конструкцией упругий элемент может надежно контактировать с выступающей частью независимо от положения упругого элемента, при этом количество деталей устройства не увеличивается, и уплотняющая способность может сохраняться независимо от перемещения каретки, вибрационных нагрузок, действующих с внешней стороны, и т.д.
(30) В регуляторе потока текучей среды согласно (27) открываемая часть выступающей части расположена так, что она по существу обращена к центру упругого элемента.
В соответствии с данной конструкцией центральная зона упругого элемента деформируется симметрично относительно центра при сохранении по существу плоской формы. Поэтому открываемая часть может быть надежно уплотнена для повышения уплотняющей способности.
Несмотря на то, что настоящее изобретение было описано и проиллюстрировано подробно, следует четко понимать, что данное описание приведено только в качестве иллюстрации и примера, и его не следует воспринимать в качестве ограничения, при этом сущность и объем настоящего изобретения определяются только формулой изобретения.
Формула изобретения
1. Чернильный картридж, содержащий камеру для хранения чернил, канал для подачи чернил и устройство для создания отрицательного давления, которое избирательно перекрывает и открывает сообщение по текучей среде между камерой для хранения чернил и каналом для подачи чернил в результате потребления чернил, при этом устройство для создания отрицательного давления включает упругий элемент, имеющий первую и вторую поверхности и уплотняющую часть, при этом уплотняющая часть имеет сквозное отверстие, канал для прохода чернил, сообщающийся с каналом для подачи чернил и имеющий открываемую часть в том месте, где уплотняющая часть упругого элемента контактирует с открываемой частью и отходит от открываемой части, при этом открываемая часть обращена к сквозному отверстию, сообщающуюся часть, обращенную к первой поверхности упругого элемента и сообщающуюся с камерой для хранения чернил, и промежуточную часть, обращенную ко второй поверхности упругого элемента и сообщающуюся с каналом для подачи чернил.
2. Чернильный картридж по п.1, в котором при отходе уплотняющей части упругого элемента от открываемой части чернила, находящиеся в сообщающейся части, проходят через открываемую часть в канал для подачи чернил и также проходят через сквозное отверстие в канал для подачи чернил.
3. Чернильный картридж по п.1, в котором уплотняющая часть упругого элемента выполнена в виде выступа, выступающего от первой поверхности.
4. Чернильный картридж по п.1, в котором промежуточная часть выполнена с возможностью сообщения с каналом для подачи чернил посредством канала для прохода чернил, отличного от того канала для прохода чернил, который имеет открываемую часть.
5. Чернильный картридж по п.1, в котором промежуточная часть выполнена с возможностью сообщения с каналом для подачи чернил посредством сквозного отверстия и открываемой части.
6. Чернильный картридж по п.1, в котором устройство для создания отрицательного давления дополнительно включает разделительную стенку, которая расположена со стороны упругого элемента, находящейся выше по ходу потока, и ограничивает камеру между упругим элементом и разделительной стенкой, при этом разделительная стенка имеет выступающую часть, к которой прижимается уплотняющая часть упругого элемента, и в выступающей части образована открываемая часть канала для прохода чернил.
7. Чернильный картридж по п.6, в котором устройство для создания отрицательного давления дополнительно включает поджимающий элемент, который расположен напротив выступающей части и поджимает упругий элемент к выступающей части.
8. Чернильный картридж по п.6, в котором упругий элемент поджимается к выступающей части за счет упругой деформации упругого элемента.
9. Чернильный картридж по п.6, в котором открываемая часть выступающей части обращена по существу к центру упругого элемента.
10. Чернильный картридж по п.1, в котором промежуточная часть включает камеру, которая обращена ко второй поверхности упругого элемента, при этом камера расположена так, что потребление чернил приводит к изменению давления, приложенного к расположенной ниже по ходу потока стороне упругого элемента, и изменение давления воздействует по существу на всю площадь второй поверхности упругого элемента.
11. Чернильный картридж по п.1, в котором чернила, находящиеся в камере для хранения чернил, проходят по проточному каналу, соединяющему камеру для хранения чернил с первой поверхностью упругого элемента, через открываемую часть канала для прохода чернил, по проточному каналу, соединенному с открываемой частью канала для прохода чернил, через промежуточную часть, обращенную ко второй поверхности упругого элемента, и по проточному каналу, соединяющему промежуточную часть с каналом для подачи чернил, в данном порядке, в канал для подачи чернил.
12. Чернильный картридж по п.6, в котором проточный канал канала для прохода чернил имеет первую часть, которая обеспечивает сообщение открываемой части выступающей части с каналом для подачи чернил, и проточный канал разветвляется в промежуточном положении для образования ответвления, при этом промежуточная часть включает закрытое пространство, давление в котором действует по существу на всю площадь второй поверхности упругого элемента, и ответвление сообщается по текучей среде с закрытым пространством.
13. Чернильный картридж по п.1, в котором первая и вторая поверхности упругого элемента имеют по существу одинаковую площадь контакта с чернилами.
14. Чернильный картридж по п.1, в котором открываемая часть проточного канала для прохода чернил включает цилиндрическую часть, расположенную со стороны упругого элемента, и расширенную часть, расширяющуюся наружу в продольном направлении расширенной части в направлении потока чернил в сторону канала для подачи чернил.
15. Чернильный картридж по п.1, в котором, по меньшей мере, уплотняющая часть упругого элемента, которая контактирует с открываемой частью, выполнена в виде плоской поверхности.
16. Чернильный картридж по п.1, в котором устройство для создания отрицательного давления дополнительно включает поджимающий элемент, который поджимает уплотняющую часть упругого элемента так, чтобы она входила в контакт с открываемой частью.
17. Чернильный картридж по п.1, в котором канал для прохода чернил образован, по меньшей мере, частично с помощью выемки, выполненной в элементе, образующем проточный канал для подачи чернил, и пленки, герметично закрывающей выемку.
18. Чернильный картридж по п.17, в котором открываемая часть образована сквозным отверстием, выполненным в элементе, образующем проточный канал для подачи чернил.
19. Чернильный картридж по п.1, дополнительно содержащий корпусной элемент, имеющий канал для подачи чернил, и закрывающий элемент, герметично уплотняющий открытую поверхность корпусного элемента, и зона, в которой смонтировано устройство для создания отрицательного давления, образована за одно целое с корпусным элементом или отдельно от корпусного элемента.
20. Чернильный картридж по п.1, в котором камера для хранения чернил разделена на верхнюю камеру для хранения чернил, изолированную от атмосферы, и нижнюю камеру для хранения чернил, открытую в атмосферу, при этом верхняя камера для хранения чернил сообщается с нижней камерой для хранения чернил посредством проточного канала, и устройство для создания отрицательного давления расположено в проточном канале, соединяющем верхнюю камеру для хранения чернил с каналом для подачи чернил.
21. Чернильный картридж по п.1, в котором открываемая часть выполнена в виде сквозного отверстия, образованного в выступающей части, на дальнем конце которой имеется участок с плоской поверхностью.
22. Чернильный картридж по п.21, в котором выступающая часть является конической в сечении.
23. Чернильный картридж по п.22, в котором открываемая часть включает расширенную часть, расширяющуюся наружу в продольном направлении расширенной части в направлении потока чернил в сторону канала для подачи чернил.
24. Чернильный картридж по п.1, в котором сквозное отверстие выполнено в центре упругого элемента.
25. Чернильный картридж по п.1, в котором упругий элемент имеет форму диска.
26. Чернильный картридж по п.1, в котором сообщающаяся часть включает камеру, которая обращена к первой поверхности упругого элемента, при этом камера расположена так, что давление чернил, хранящихся в камере для хранения чернил, будет приложено к, по существу, всей площади первой поверхности упругого элемента.
27. Регулятор потока текучей среды, предназначенный для печатающей головки, содержащий упругий элемент, имеющий первую и вторую поверхности и уплотняющую часть и выполненный с возможностью смещения под действием перепада давлений между первой и второй поверхностями, при этом уплотняющая часть имеет сквозное отверстие, сообщающуюся часть, обращенную к первой поверхности упругого элемента и выполненную с возможностью сообщения с резервуаром для чернил, в котором хранятся чернила, канал для выхода потока чернил, открываемую часть канала для прохода чернил, которая сообщается с каналом для выхода потока чернил, при этом уплотняющая часть упругого элемента выполнена с возможностью смещения для входа в контакт с открываемой частью и отвода от открываемой части, и промежуточную часть, обращенную ко второй поверхности упругого элемента и сообщающуюся с каналом для выхода потока чернил.
28. Регулятор потока текучей среды по п.27, в котором при отходе уплотняющей части упругого элемента от открываемой части чернила, находящиеся в сообщающейся части, проходят через открываемую часть в канал для выхода потока чернил, а также через сквозное отверстие в канал для выхода потока чернил.
29. Регулятор потока текучей среды по п.27, в котором уплотняющая часть упругого элемента выполнена в виде выступа, выступающего от первой поверхности.
30. Регулятор потока текучей среды по п.27, в котором промежуточная часть сообщается с каналом для выхода потока чернил посредством канала для прохода чернил, отличного от канала для прохода чернил, который имеет открываемую часть.
31. Регулятор потока текучей среды по п.27, в котором промежуточная часть сообщается с каналом для выхода потока чернил посредством сквозного отверстия и открываемой части.
32. Регулятор потока текучей среды по п.27, в котором разделительная перегородка расположена со стороны упругого элемента, находящейся выше по ходу потока, для образования камеры между упругим элементом и разделительной стенкой, при этом разделительная стенка имеет выступающую часть, к которой прижимается уплотняющая часть упругого элемента, и открываемая часть канала для прохода чернил, сообщающаяся с каналом для выхода потока чернил, образована в выступающей части.
33. Регулятор потока текучей среды по п.32, в котором поджимающий элемент расположен напротив выступающей части и поджимает упругий элемент к выступающей части.
34. Регулятор потока текучей среды по п.32, в котором упругий элемент поджимается к выступающей части за счет упругой деформации упругого элемента.
35. Регулятор потока текучей среды по п.32, в котором открываемая часть выступающей части обращена по существу к центру упругого элемента.
36. Регулятор потока текучей среды по п.27, в котором сообщающаяся часть включает камеру, которая обращена к первой поверхности упругого элемента, при этом камера расположена так, что давление чернил, хранящихся в резервуаре для чернил, будет приложено к по существу всей площади первой поверхности упругого элемента.
37. Способ регулирования потока чернил из чернильного картриджа, имеющего канал для подачи чернил, к струйной печатающей головке, включающий следующие операции: выполняют клапанную камеру, которая представляет собой часть чернильного картриджа и имеет крышку и основание, при этом основание имеет как впускное отверстие, так и выпускное отверстие, клапанная камера содержит упругую мембрану, имеющую сквозное отверстие, при этом как впускное отверстие, так и выпускное отверстие расположены с первой стороны упругой мембраны, и пространство, образованное между второй стороной упругой мембраны и крышкой, и поджимают упругую мембрану в сторону основания с приложенным усилием так, что контактирующая часть упругой мембраны уплотняет выпускное отверстие и сквозное отверстие от впускного отверстия, при этом, когда давление в пространстве уменьшится до значений ниже заданной величины, возникающий в результате этого перепад давлений на упругой мембране заставляет контактирующую часть упругой мембраны смещаться в сторону от выпускного отверстия в направлении против направления действия приложенной силы, обеспечивая сообщение между выпускным и сквозным отверстиями и впускным отверстием.
38. Способ по п.37, дополнительно включающий операцию обеспечения давления в пространстве, равного давлению в канале для подачи чернил.
39. Способ по п.37, в котором операцию обеспечения осуществляют за счет выполнения канала для прохода текучей среды между пространством и каналом для подачи чернил.
40. Способ по п.37, дополнительно включающий следующую операцию: обеспечивают возможность прохода чернил из впускного отверстия через выпускное отверстие в канал для подачи чернил, а также через сквозное отверстие и пространство в канал для подачи чернил до тех пор, пока давление в пространстве не увеличится до заданного значения.
РИСУНКИ
|
|