|
|
(21), (22) Заявка: 2006114292/12, 26.04.2006
(24) Дата начала отсчета срока действия патента:
26.04.2006
(46) Опубликовано: 10.03.2008
(56) Список документов, цитированных в отчете о поиске:
US 4072072 А, 07.02.1978. SU 566542 А, 16.01.1978. US 5048767 А, 17.09.1991. JP 11210381 А, 03.08.1999. SU 1752563 A1, 07.08.1992. SU 514727 A, 03.06.1976.
Адрес для переписки:
150023, г.Ярославль, Московский пр., 88, ЯГТУ
|
(72) Автор(ы):
Вещев Александр Александрович (RU), Плотников Роман Сергеевич (RU), Гончаров Григорий Михайлович (RU)
(73) Патентообладатель(и):
Ярославский государственный технический университет (RU)
|
(54) УСТРОЙСТВО ДЛЯ РАЗРЕЗАНИЯ ПОКРЫШКИ
(57) Реферат:
Изобретение относится к оборудованию для разрезания автомобильных покрышек и их частей, например каркасно-брекерно-протекторного браслета покрышки, изготовленного из слоистого материала, содержащего несколько слоев резины, армированных текстильным и металлическим кордом. Устройство для разрезания покрышки с металлокордом включает металлическое колесо с выемкой и металлическое лезвие с острием. Острие металлического лезвия выполнено с поверхностью, близкой к поверхности псевдосферы. Толщина металлического лезвия больше ширины выемки в металлическом колесе. Изобретение обеспечивает разрезание каркасно-брекерно-протекторного браслета покрышки независимо от количества армированных слоев и соотношений размеров филаментов металлического и текстильного корда с габаритными размерами устройства. 1 ил.
Заявляемое изобретение относится к машиностроению, а именно к оборудованию, применяемому для разрезания автомобильных покрышек и их частей, например каркасно-брекерно-протекторного браслета покрышки, изготовленного из слоистого материала, включающего несколько слоев резины, армированных текстильным и металлическим кордом.
Аналогом заявляемого изобретения является устройство для разрезания покрышки, выполненное в виде металлического колеса с выемкой и дискового металлического лезвия, толщина которого меньше ширины выемки в металлическом колесе (см. патент USA №4072072, МПК7 В23В 3/04, 1978). Существенные признаки аналога “металлическое колесо с выемкой, металлическое лезвие” совпадают с существенными признаками заявляемого изобретения.
Недостатком аналога является невозможность эффективного разрезания армированных частей покрышки, в частности боковин и каркасно-брекерно-протекторного браслета, поскольку для полного разрезания необходим ввод вращающегося дискового лезвия внутрь щели опорного колеса, а при этом, как правило, происходит вовлечение отдельных элементов армирующего каркаса и филаментов металлического (текстильного) корда в зазор между стенкой выемки в колесе и поверхностью дискового лезвия, что приводит к заклиниванию металлического дискового лезвия и делает невозможным дальнейшее резание, в результате чего процесс резания остается незавершенным.
Прототипом заявляемого изобретения является устройство для разрезания, выполненное в виде металлического колеса с выемкой и дискового металлического лезвия, толщина которого равна ширине выемки в металлическом колесе (см. а.с. СССР №514727, МПК7 В29Н 3/06, 1976). Существенные признаки прототипа “металлическое колесо с выемкой, металлическое лезвие” совпадают с существенными признаками заявляемого изобретения.
Недостатком прототипа также является невозможность эффективного разрезания боковин и каркасно-брекерно-протекторного браслета покрышки из-за заклинивания металлического лезвия в выемке металлического колеса.
Задачей, на решение которой направлено заявляемое изобретение, является обеспечение возможности разрезания каркасно-брекерно-протекторного браслета независимо от количества армированных слоев и соотношений размеров филаментов металлического и текстильного корда с габаритными размерами устройства. Другим техническим результатом, достигаемым заявляемым изобретением, является возможность полного рассечения каркасно-брекерно-протекторного браслета при последовательной подаче разрезаемого материала.
Для достижения указанного технического результата в устройстве для разрезания покрышки, выполненном в виде металлического колеса (ролика) с выемкой и металлического лезвия, острие металлического лезвия выполнено с поверхностью, близкой к поверхности псевдосферы, а лезвие выполнено с толщиной, большей ширины выемки в металлическом колесе (ролике).
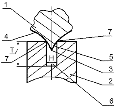
На чертеже представлено сечение рабочей части устройства, лезвие и опорный ролик максимально сдвинуты (до контакта поверхностей, образующих режущую кромку лезвия, с входными кромками выемки в металлическом колесе).
Устройство для разрезания каркасно-брекерно-протекторного браслета покрышки включает металлическое лезвие (нож) 1, установленное с возможностью вращения на валу (вал не показан), при этом часть поверхности лезвия (поверхность, образующая режущую кромку) близка к поверхности псевдосферы, и металлический ролик (колесо) 2, установленный с возможностью вращения на валу (вал не показан) и подачи (подвода до полного контакта и отвода) к дисковому лезвию. Режущая кромка 3 образована поверхностями 4 и 5 лезвия, являющимися частью поверхности псевдосферы, выемка 6 в ролике выполнена с шириной Н, меньшей толщины металлического лезвия. Глубина выемки Т выполнена достаточной для обеспечения контакта поверхностей 4 и 5, образующих режущую кромку, с входными кромками 7 выемки (при максимальном подводе ролика к дисковому ножу).
Способ разрезания покрышки, используемый в заявляемом устройстве, заключается в следующем: между вращающимся с помощью привода металлическим лезвием и роликом, установленным с возможностью вращения и перемещения в направлении дискового лезвия, постепенно подается каркасно-брекерно-протекторный браслет вплоть до полного разрезания. При этом подача разрезаемого материала осуществляется при контакте ролика и лезвия за счет зажима материала между находящейся вне выемок частью поверхности псевдосферы и входными частями выемки.
Выполнение режущего лезвия с поверхностью близкой к поверхности псевдосферы обеспечивает в процессе резания фиксацию неразрезанных элементов армированного каркасно-брекерно-протекторного браслета за счет зажима разрезаемого материала поверхностями, образующими режущую кромку, и входными частями выемки. В результате филаменты металлического корда и другие фрагменты брокера, фиксируясь в зонах прижима, не попадают в зону разрезания и не заклинивают режущее лезвие. Поверхность лезвия, близкая к поверхности псевдосферы, обеспечивает более эффективный зажим разрезаемого материала по сравнению, например, с коническими поверхностями дискового лезвия, за счет ее постоянной отрицательной кривизны. В противном случае может не обеспечиваться эффективность зажима и подачи разрезаемого материала, что может привести к неравномерности подачи (проскальзывание) материала в зоне реза. Соблюдение указанных выше условий обеспечивает возможность разрезания сложного резинотехнического композита, имеющего гетерогенную структуру и филаментарные армирующие, в том числе металлические, компоненты.
Формула изобретения
Устройство для разрезания покрышки с металлокордом, включающее металлическое колесо с выемкой и металлическое лезвие с острием, при этом толщина металлического лезвия больше ширины выемки в металлическом колесе, отличающееся тем, что острие металлического лезвия выполнено с поверхностью, близкой к поверхности псевдосферы.
РИСУНКИ
|
|