|
|
(21), (22) Заявка: 2006120023/12, 07.06.2006
(24) Дата начала отсчета срока действия патента:
07.06.2006
(46) Опубликовано: 10.03.2008
(56) Список документов, цитированных в отчете о поиске:
US 4072072 А, 02.07.1978. SU 638480 А, 25.12.1978. SU 1412809 A1, 30.07.1988. RU 2044649 C1, 27.09.1995. US 4338839 A, 13.07.1982.
Адрес для переписки:
150023, г.Ярославль, Московский пр-кт, 88, ЯГТУ
|
(72) Автор(ы):
Плотников Роман Сергеевич (RU), Вещев Александр Александрович (RU), Гончаров Григорий Михайлович (RU)
(73) Патентообладатель(и):
Ярославский государственный технический университет (RU)
|
(54) СПОСОБ РАЗРЕЗАНИЯ КОМПОЗИЦИОННЫХ ИЗДЕЛИЙ КОЛЬЦЕВОЙ ФОРМЫ
(57) Реферат:
Изобретение относится к переработке полимерных композиционных изделий кольцевой формы, например резинотехнических изделий, изношенных и бракованных армированных шин и их частей. В способе разрезания изделия кольцевой формы с помощью дискового ножа и опорного ролика разрезаемое изделие подается в зону резания. Разрезание осуществляют путем надевания кольцевого изделия под углом на нож таким образом, чтобы край изделия непосредственно контактировал с зоной реза. Затем осуществляют разрезание изделия под углом к его центральной плоскости по спирали до полного разрезания всего изделия с образованием спиралевидной ленты, длина и ширина которой зависят от угла подвода кольцевого изделия к ножу. Изобретение обеспечивает разрезание каркасно-брекерно-протекторного браслета покрышки на ленты необходимого размера. 1 ил.
Заявляемое изобретение относится к переработке полимерных композиционных изделий кольцевой формы, например резинотехнических изделий, изношенных и бракованных армированных шин и их частей (каркасно-брекерно-протекторный браслет и др.).
Аналогом заявляемого изобретения является способ разрезания покрышки с помощью дискового ножа и опорного ролика, при котором разрезаемый материал подается в зону реза, а рез осуществляется экваториально каркасно-брекерно-протекторному браслету покрышки по оси его вращения (см. а.с. SU №870181, МПК7 В 29 Н 17/30, 1981). Существенные признаки аналога “разрезание с помощью дискового ножа и опорного ролика, при котором разрезаемый материал подается в зону реза” совпадают с существенными признаками заявляемого изобретения.
Недостатками аналога является невозможность разрезания каркасно-брекерно-протекторного браслета покрышки и других изделий кольцевой формы на непрерывную ленту, а также необходимость повторных подач каркасно-брекерно-протекторного браслета для разрезания его на ленты, пригодные для последующей переработки известными методами, в результате чего способ является сложным и низкопроизводительным.
Прототипом заявляемого изобретения является способ продольной резки каркасно-брекерно-протекторного браслета покрышки с помощью дискового ножа и опорного ролика с кольцевой выемкой, при котором разрезаемый материал подается в зону реза продольно экваториальному направлению покрышки по плоскости, ортогональной осям вращения дискового ножа и опорного ролика (см. патент USA №4072072, МПК B 23 B 3/04, 1978). Существенные признаки прототипа “разрезание с помощью дискового ножа и опорного ролика с кольцевой выемкой, при котором разрезаемый материал подается в зону реза”, совпадают с существенными признаками заявляемого изобретения.
Недостатком прототипа также является невозможность разрезания каркасно-брекерно-протекторного браслета покрышки на одну непрерывную ленту и необходимость периодической перезарядки устройства для полного разрезания каркасно-брекерно-протекторного браслета покрышки на ленты необходимого размера, то есть сложность и низкая производительность способа.
Задачей, на решение которой направлено заявляемое изобретение, является обеспечение возможности разрезания каркасно-брекерно-протекторного браслета покрышки на одну ленту, в результате чего исключается необходимость перезарядки в устройстве для разрезания, повышается производительность и существенно упрощается способ разрезания каркасно-брекерно-протекторного браслета покрышки.
Для достижения указанного технического результата в способе разрезания каркасно-брекерно-протекторного браслета с помощью дискового ножа и опорного ролика, при котором разрезаемое изделие подается в зону резания, разрезание осуществляют путем надевания кольцевого изделия под углом на нож таким образом, чтобы край изделия непосредственно контактировал с зоной реза, и осуществляют разрезание изделия под углом к его центральной плоскости по спирали до полного разрезания всего изделия с образованием спиралевидной ленты, длина и ширина которой зависят от угла подвода кольцевого изделия к ножу.
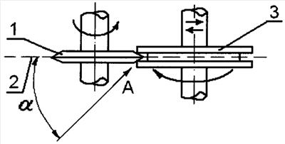
На чертеже представлена схема устройства для разрезания изделия кольцевой формы и обозначено направление разрезания.
Способ разрезания осуществляется следующим образом: изделие кольцевой формы (на фиг. не показано), в частности каркасно-брекерно-протекторный браслет покрышки (поверхности которого являются топологическими поверхностями к поверхности тора), подводится и надевается по направлению А внутренней частью на нож 1 под углом к плоскости 2, ортогональной к осям вращения ножа и опорного ролика 3. Разрезание и подача изделия осуществляется за счет контакта ножа и ролика, при этом нож имеет привод, а ролик установлен с возможностью вращения. Подвод разрезаемого изделия и его надевание на нож осуществляются вручную в рабочем положении ножа и ролика (то есть, когда нож и ролик контактируют между собой). После того как кольцевое изделие будет под углом надето на нож таким образом, чтобы край изделия непосредственно контактировал с зоной реза (с зоной контакта между роликом и ножом), включается привод ножа и происходят подача изделия в зону реза и его разрезание. Поскольку разрезание осуществляется под углом к центральной плоскости кольцевого изделия (то есть к плоскости, ортогональной оси вращения изделия), разрезание изделия идет по спирали до полного разрезания всего изделия. В результате образуется спиралевидная лента, длина и ширина которой зависят от угла подвода изделия к ножу. При больших углах получается более широкая и менее длинная спиралевидная лента, при меньших углах ширина ее меньше, а длина больше. Выполнение режущего лезвия ножа с толщиной, большей ширины выемки в ролике, обеспечивает в процессе резания вращение ролика (в результате его контакта с ножом) и фиксацию неразрезанных элементов армированного каркасно-брекерно-протекторного браслета за счет зажима разрезаемого материала между поверхностями, образующими режущую кромку, и входными (внешними) частями выемки в ролике. В результате обеспечивается подача и удержание разрезаемого материала в зоне реза.
Осуществление разрезания каркасно-брекерно-протекторного браслета покрышки по спирали с помощью контактирующих между собой ножа и ролика обеспечивает полный разрез всего каркасно-брекерно-протекторного браслета за один его подвод. В результате значительно упрощается процесс резания и повышается его производительность. Кроме того, существенно упрощается процесс разрезания изделия на ленты с заданными габаритами по ширине и длине, поскольку изменение размеров ленты обеспечивается только за счет изменения угла подвода разрезаемого изделия к зоне реза. Каркасно-брекерно-протекторный браслет покрышки разрезается на одну ленту и при этом не требуется разведение ножа и опорного ролика для установки очередного каркасно-брекерно-протекторного браслета покрышки и его подачи в зону реза, а также исключается необходимость первоначального продавливания (прорезания) изделия. Это существенно упрощает способ и повышает его производительность.
Формула изобретения
Способ разрезания изделия кольцевой формы с помощью дискового ножа и опорного ролика, при котором разрезаемое изделие подается в зону резания, отличающийся тем, что разрезание осуществляют путем надевания кольцевого изделия под углом на нож таким образом, чтобы край изделия непосредственно контактировал с зоной реза, и осуществляют разрезание изделия под углом к его центральной плоскости по спирали до полного разрезания всего изделия с образованием спиралевидной ленты, длина и ширина которой зависят от угла подвода кольцевого изделия к ножу.
РИСУНКИ
|
|