|
| На основании пункта 3 статьи 13 Патентного закона Российской Федерации от 23 сентября 1992 г. № 3517-I патентообладатель обязуется передать исключительное право на изобретение (уступить патент) на условиях, соответствующих установившейся практике, лицу, первому изъявившему такое желание и уведомившему об этом патентообладателя и федеральный орган исполнительной власти по интеллектуальной собственности, – гражданину РФ или российскому юридическому лицу. |
|
(21), (22) Заявка: 2006128698/02, 07.08.2006
(24) Дата начала отсчета срока действия патента:
07.08.2006
(46) Опубликовано: 10.03.2008
(56) Список документов, цитированных в отчете о поиске:
WO 2006/041353 A1, 20.04.2006. SU 512868 A, 17.05.1976. SU 593838 A, 25.01.1978. SU 1342629 A1, 07.10.1987. RU 2071873 C1, 20.01.1997.
Адрес для переписки:
129366, Москва, до востребования, Н.А.Корюкиной
|
(72) Автор(ы):
Корюкина Нина Алексеевна (RU)
(73) Патентообладатель(и):
Корюкина Нина Алексеевна (RU)
|
(54) СБОРНАЯ ФРЕЗА
(57) Реферат:
Изобретение относится к области металлообработки, к сборному режущему инструменту с механическим креплением режущих пластин. Фреза содержит корпус и режущие пластины, установленные в гнездах корпуса, каждое гнездо имеет нижнюю стенку с рифлениями и резьбовым отверстием и боковую стенку для взаимодействия с рифлениями на нижней опорной поверхности и боковой опорной поверхностью режущей пластины, закрепляемой с помощью расположенного в ее сквозном отверстии и ввернутого в указанное резьбовое отверстие крепежного винта с головкой для взаимодействия с боковой поверхностью сквозного отверстия режущей пластины, ось крепежного винта расположена с эксцентриситетом относительно оси сквозного отверстия, размещенным под углом к рифлениям. Для повышения надежности крепления режущей пластины в гнезде фреза снабжена дополнительными элементами, размещенными по одному в гнездах корпуса и жестко закрепленными в пазах, выполненных на нижних стенках гнезд под углом к рифлениям и расположенных между резьбовым отверстием на нижней стенке гнезда и торцовой поверхностью корпуса с пересечением проекций на нижнюю стенку гнезда рабочих главной и вспомогательной режущих кромок режущей пластины. При этом боковая стенка гнезда расположена на дополнительном элементе, а боковая опорная поверхность режущей пластины – на боковой стенке соответствующего паза, выполненного на ее нижней поверхности. Эксцентриситет между осями крепежного винта и сквозного отверстия в режущей пластине расположен в направлении от торцовой к периферийной поверхности корпуса под углом к рифлениям меньшим, чем угол расположения к ним паза под дополнительный элемент. 3 ил.
Изобретение относится к области металлообработки, в частности к сборному режущему инструменту с механическим креплением режущих пластин.
Известна сборная фреза, содержащая корпус и режущие пластины, установленные в гнездах корпуса, выходящих на его периферийную и торцовую поверхности, каждое гнездо имеет нижнюю стенку с рифлениями и резьбовым отверстием и боковую стенку, предназначенные для взаимодействия с соответствующими рифлениями на нижней опорной поверхности и боковой опорной поверхностью режущей пластины, закрепляемой в гнезде с помощью расположенного в ее сквозном отверстии и ввернутого в указанное резьбовое отверстие на нижней стенке крепежного винта с головкой, предназначенной для взаимодействия с боковой поверхностью упомянутого сквозного отверстия режущей пластины, ось крепежного винта расположена с эксцентриситетом относительно оси сквозного отверстия режущей пластины, размещенным под углом к рифлениям (см. WO 2006/041353, В23С 5/20, 2006).
В известной сборной фрезе центробежные силы, действующие на режущую пластину особенно при высокоскоростной обработке, стремятся сместить ее вдоль рифлений в направлении от боковой опорной стенки к торцовой поверхности корпуса и действуют при этом против усилия, приложенного к режущей пластине от крепежного винта.
Задача изобретения состоит в повышении надежности крепления режущей пластины в гнезде корпуса за счет ее поджима центробежными силами к боковой опорной стенке гнезда.
Поставленная задача решается тем, что сборная фреза, содержащая корпус и режущие пластины, установленные в гнездах корпуса, выходящих на его периферийную и торцовую поверхности, каждое гнездо имеет нижнюю стенку с рифлениями и резьбовым отверстием и боковую стенку, предназначенные для взаимодействия с соответствующими рифлениями на нижней опорной поверхности и боковой опорной поверхностью режущей пластины, закрепляемой в гнезде с помощью расположенного в ее сквозном отверстии и ввернутого в указанное резьбовое отверстие на нижней стенке крепежного винта с головкой, предназначенной для взаимодействия с боковой поверхностью упомянутого сквозного отверстия режущей пластины, ось крепежного винта расположена с эксцентриситетом относительно оси сквозного отверстия режущей пластины, размещенным под углом к рифлениям, в соответствии с изобретением снабжена дополнительными элементами, размещенными по одному в гнездах корпуса и жестко закрепленными в пазах, выполненных на нижних стенках гнезд под углом к рифлениям и расположенных между резьбовым отверстием на нижней стенке гнезда и торцовой поверхностью корпуса с пересечением проекций на нижнюю стенку гнезда рабочих главной и вспомогательной режущих кромок режущей пластины, при этом боковая стенка гнезда расположена на дополнительном элементе, а боковая опорная поверхность режущей пластины – на боковой стенке соответствующего паза, выполненного на нижней поверхности режущей пластины, а эксцентриситет между осями крепежного винта и сквозного отверстия в режущей пластине расположен под углом к рифлениям в направлении от торцовой к периферийной поверхности корпуса меньшим, чем угол расположения к ним паза под дополнительный элемент.
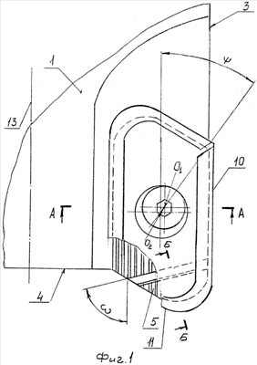
Предложенное изобретение представлено на фиг.1-3, на которых:
на фиг.1 показан вид сверху на гнездо корпуса сборной фрезы;
на фиг.2 показано сечение А-А на фиг.1;
на фиг.3 показано сечение Б-Б на фиг.1.
Сборная фреза, например, концевая содержит корпус 1 и режущие пластины 2, установленные в гнездах корпуса 1, выходящих на его периферийную 3 и торцовую 4 поверхности. Каждое гнездо имеет нижнюю стенку 5 с рифлениями и резьбовым отверстием и боковую стенку 6, предназначенные для взаимодействия с соответствующими рифлениями на нижней опорной поверхности и боковой опорной поверхностью режущей пластины 2. Режущая пластина 2 закрепляется в гнезде с помощью расположенного в ее сквозном отверстии и ввернутого в указанное резьбовое отверстие на нижней стенке крепежного винта 7 с головкой 8, предназначенной для взаимодействия с боковой поверхностью упомянутого сквозного отверстия режущей пластины 2.
Ось крепежного винта (O1, см. фиг.1) расположена с эксцентриситетом относительно оси сквозного отверстия режущей пластины (О2), размещенным под углом к рифлениям в направлении от торцовой 4 к периферийной 3 поверхности корпуса 1.
Сборная фреза снабжена дополнительными элементами 9, размещенными по одному в гнездах корпуса и жестко закрепленными, например, с помощью точечной сварки или пайки, в пазах, выполненных на нижних стенках 5 гнезд под углом к рифлениям и расположенных между резьбовым отверстием на нижней стенке гнезда и торцовой поверхностью корпуса с пересечением проекций на нижнюю стенку гнезда рабочих главной 10 и вспомогательной 11 режущих кромок режущей пластины 2.
При этом боковая стенка 6 гнезда расположена на дополнительном элементе 9, а боковая опорная поверхность режущей пластины 2 – на боковой стенке соответствующего паза 12, выполненного на нижней поверхности режущей пластины. Эксцентриситет O1O2 между осями крепежного винта 7 и сквозного отверстия в режущей пластине 2 расположен под углом к рифлениям меньшим, чем угол расположения к ним паза под дополнительный элемент, т.е. < . При этом центробежные силы, действующие на режущую пластину 2 в направлении от оси 13 фрезы, стремятся сместить ее вдоль рифлений от торцовой поверхности 4 корпуса 1, т.е. в направлении действия силы от крепежного винта 7, и поджимают ее к боковой опорной стенке 6, что способствует повышению надежности крепления режущих пластин в гнездах корпуса.
Формула изобретения
Сборная фреза, содержащая корпус и режущие пластины, установленные в гнездах корпуса, выходящих на его периферийную и торцовую поверхности, каждое гнездо имеет нижнюю стенку с рифлениями и резьбовым отверстием и боковую стенку, предназначенные для взаимодействия с соответствующими рифлениями на нижней опорной поверхности и с боковой опорной поверхностью режущей пластины, закрепляемой в гнезде с помощью расположенного в ее сквозном отверстии и ввернутого в указанное резьбовое отверстие на нижней стенке крепежного винта с головкой, предназначенной для взаимодействия с боковой поверхностью упомянутого сквозного отверстия режущей пластины, ось крепежного винта расположена с эксцентриситетом относительно оси сквозного отверстия режущей пластины, размещенным под углом к рифлениям, отличающаяся тем, что она снабжена дополнительными элементами, размещенными по одному в гнездах корпуса и жестко закрепленными в пазах, выполненных на нижних стенках гнезд под углом к рифлениям и расположенных между резьбовым отверстием на нижней стенке гнезда и торцовой поверхностью корпуса с пересечением проекций на нижнюю стенку гнезда рабочих главной и вспомогательной режущих кромок режущей пластины, при этом боковая стенка гнезда расположена на дополнительном элементе, а боковая опорная поверхность режущей пластины – на боковой стенке соответствующего паза, выполненного на нижней поверхности режущей пластины, а эксцентриситет между осями крепежного винта и сквозного отверстия в режущей пластине расположен в направлении от торцовой к периферийной поверхности корпуса под углом к рифлениям, меньшим угла расположения к ним паза под дополнительный элемент.
РИСУНКИ
|
|