|
|
(21), (22) Заявка: 2005134003/02, 02.04.2004
(24) Дата начала отсчета срока действия патента:
02.04.2004
(30) Конвенционный приоритет:
03.04.2003 US 10/408,043
(43) Дата публикации заявки: 10.05.2006
(46) Опубликовано: 10.03.2008
(56) Список документов, цитированных в отчете о поиске:
US 5934127 А, 10.08.1999. SU 1171147 А, 07.08.1985. SU 1678485 A1, 23.09.1991. RU 94045276 A1, 27.02.1997.
(85) Дата перевода заявки PCT на национальную фазу:
03.11.2005
(86) Заявка PCT:
US 2004/010275 (02.04.2004)
(87) Публикация PCT:
WO 2004/089561 (21.10.2004)
Адрес для переписки:
103735, Москва, ул. Ильинка, 5/2, ООО “Союзпатент”, пат.пов. Л.С.Кишкиной
|
(72) Автор(ы):
ДЖЕНЧ К. Рид (US), ДЖЕКОБЕР Марк А. (US)
(73) Патентообладатель(и):
БОЛ КОРПОРЕЙШН (US)
|
(54) СПОСОБ И УСТРОЙСТВО ДЛЯ ПЕРЕФОРМОВАНИЯ И ПЕРЕПРОФИЛИРОВАНИЯ НИЖНЕЙ ЧАСТИ ЕМКОСТИ
(57) Реферат:
Изобретение относится к области обработки металлов давлением, в частности для производства емкостей. Устройство содержит роликовый блок с парой переформовочных и двумя парами внешних перепрофилировочных роликов. Средства отклонения выполнены с возможностью взаимодействия с переформовочными роликами, которые контактируют с нижней частью емкости. При этом внешние перепрофилировочные ролики зацепляются за внешнюю поверхность нижней части емкости. Внутренний и внешний профили банки создают с помощью пары переформовочных роликов при статичном положении корпуса банки и вращении устройства. Повышается эффективность производства банок и их качество. 4 н. и 27 з.п. ф-лы, 14 ил.
Область техники, к которой относится изобретение
Настоящее изобретение, в общем, касается производства емкостей и, более конкретно, способа и устройства для одновременного переформования и перепрофилирования нижней части металлической емкости с целью улучшения прочностных характеристик.
Предпосылки изобретения
Обычным подходом при производстве емкостей для напитков или других емкостей (таких как банки для пива или другие емкости с выдергиваемым сегментом на крышке, от 12 до 32 унций) является двухкомпонентная технология, включающая формование корпуса, который содержит (обычно цилиндрическую) боковую стенку и низ, все изготавливается из одного куска металла, обычно алюминия, и формование верхней части или крышки, присоединяемой к горлышку корпуса, например, с помощью двойного шва или операции завальцовки. Важно при проектировании и производстве таких контейнеров достигать необходимого баланса между минимизацией требований к материалам (таким как обеспечение сравнительно тонкого слоя металла) и получением емкости, которая будет сохранять свою целостность и/или форму при воздействии сил, возникающих при падении или других происшествиях с емкостями при транспортировке и оперировании с емкостями. Более того, крайне необходимо иметь емкости, которые сохраняют целостность и/или форму даже когда их содержимое находится под давлением из-за того, что содержимое газировано углекислым или каким-либо другим газом или из-за высоких внутренних температур, включая в некоторых случаях температуры пастеризации.
Обычный процесс формования емкости для напитков заключается в том, что тонкий лист металлического сплава подвергается серии операций вытягивания, разглаживания и/или формования. Одним из первых действий, которые проделываются над таким листом металла, является процесс глубокой вытяжки, когда лист вытягивается до формы бесшовной чаши, что делается для устанавливания начальной формы и внутреннего диаметра емкости. Затем чаша проходит через серию разглаживающих колец для того, чтобы истончить внешнюю стенку емкости до выбранной толщины. Во время данных процессов разглаживания, которые выполняются оборудованием, обычно называемым машиной, формирующей корпус тары, диаметр емкости обычно остается постоянным при том, что длина внешней стенки по существу увеличивается и устанавливается вместимость емкости. В нижней части емкости обычно формируется утопленная или вогнутая куполообразная поверхность, которая способна оказывать сопротивление деформации, возникающей из-за внутреннего давления жидкости. Давление, при котором утопленная поверхность деформируется или выворачивается, часто называют «статическим давлением выворачивания купола» емкости. Нижняя часть емкости также имеет кольцеобразный опорный элемент, который соприкасается с опорной поверхностью и поддерживает емкость в вертикальном положении при укладке, использовании емкости пользователем и других подобных операциях.
Как указано выше, очень желательно уменьшать количество исходного материала, необходимого для изготовления подобной емкости. Один успешный метод уменьшения количества исходного материала, известный в настоящее время, заключается в уменьшении диаметра верхней и нижней частей банки и обычно называется «поперечным сужением». Уменьшая диаметр верхней и нижней частей банки, значительно снижается использование материала для «крышки» банки и даже небольшое уменьшение указанного диаметра может вылиться в значительное снижение цены операции производства емкости. Существуют две величины диаметра для емкостей под содовою и пиво, равные 2 2/16 дюйма и 2 4/16 дюйма, которые обычно называются емкостью 202 и емкостью 204 соответственно. В настоящее время известно и существует большое количество других значений диаметров. Многие производители изготавливают емкости 202 и 204 с использованием одинакового оборудования для формирования корпуса и выполняют различные операции для получения верхней закрывающей части или «крышки» банки соответствующего размера.
В частности для кольцеобразного опорного элемента нижней части для получения емкости 204 из емкости 202 выполняется дополнительный этап, известный как перепрофилирование. Кольцеобразный опорный элемент обычно имеет внешнюю и внутреннюю поверхности, первая из которых соединяет внешнюю стенку с кольцеобразным опорным элементом, а вторая – соединяет кольцеобразный опорный элемент с куполообразной поверхностью. Профили данных внешней и внутренней поверхностей формируются при производстве емкости и образуют внешний профиль купола и внутренний профиль купола. Конфигурация нижней части важна для способствования сокращению использованного материала, поскольку для увеличения прочностных характеристик могут использоваться различные геометрические конфигурации. Например, нижняя часть может иметь форму, улучшающую характеристики статического давления выворачивания купола и уменьшающую риск повреждения емкости, которое может произойти из-за падения емкости на твердую поверхность при хранении во время перевозки или при использовании. Данное сопротивление при падении может быть описано как общая высота падения, при которой нижняя часть деформируется так, что емкость не может стоять на гладкой поверхности или укладываться в штабели на другую емкость.
Процесс, известный как «переформование», используется часто. В ходе данного процесса внутреннему куполообразному профилю нижней части емкости придается такая геометрическая форма, которая имеет улучшенные прочностные характеристики. Переформование приводит к усилению прочности емкостей для напитков по отношению к падению и короблению. Внешний профиль купола также часто меняет форму, то есть перепрофилируется с целью улучшения возможности штабелирования емкостей для напитков и улучшениях прочности емкостей. Кроме того, переформование/перепрофилирование призвано управлять «ростом купола» – условием, когда емкость становится выше после прохождения через процесс пастеризации. Как упомянуто выше, для того чтобы иметь завод по производству как банок 202, так и банок 204, нижняя часть банки может перепрофилироваться, то есть внешний профиль купола может подвергаться повторной обработке (уменьшения диаметра) с целью получения емкости 202 для напитков из емкости 204 для напитков.
Обычные предприятия по производству банок, как упомянуто выше, имеют дорогостоящее капитальное оборудование и часто производят сотни миллионов емкостей для напитков за год. Соответственно, выгодно иметь предприятие, способное производить как емкости 202, так и емкости 204 для напитков, чтобы снабжать потребителей обоими типами банок без необходимости отдельного производства для каждого типа банок. Как банки 202, так и банки 204 для напитков могут изготавливаться с помощью одного и того же оборудования для формирования корпусов, что приводит к тому, что предприятие нуждается только в том, чтобы в конце линии производства выбрать: выполнять или не выполнять операцию перепрофилирования для получения купола 202 или 204.
В настоящее время, когда на фабрике хотят совмещать два процесса при производстве банок 202 для напитков с улучшенными свойствами купола, необходимо использовать две машины, расположенные последовательно. Сначала используется машина для переформования, которая формирует соответствующий геометрический внутренний профиль купола, необходимый для обеспечения различных прочностных характеристик купола, как упоминается выше. За операцией переформирования следует операция перепрофилирования, во время которой оборудование для перепрофилирования используется для формирования внешнего профиля купола, который нужен для емкости 202 для напитков.
Как ясно специалисту в данной области, наличие дополнительной машины на фабрике является дополнительным элементом дорогостоящего капитального оборудования, на обслуживание которого требуется значительные ежегодные расходы. Более того, дополнительное оборудование занимает ценную площадь в ограниченном закрытом пространстве производственного предприятия. Кроме того, для обычного переформовочного оборудования, используемого в настоящее время на обычном заводе по производству емкостей, характерны собственные затраты, связанные с износом механизмов и инструмента, который может повлиять на производительность в случае нерегулярного обслуживания. Очень желательно снизить подобное обслуживание, так как осуществление технического обслуживания предусматривает остановку оборудования и также требует персонала для выполнения данного обслуживания и запасных частей, что увеличивает общую стоимость производимых емкостей для напитков.
Один пример попытки решения упомянутой выше проблемы описан в патенте США №5934127, выданный Ihle («патент ‘127») в котором описано устройство для переформования нижней части емкости, использующее устройство вращения емкостей для вращения емкости при переформовании ее нижней части. В отличие от изобретения, описанного в патенте ‘127, в настоящем изобретении не требуется вращать корпус емкости, данный корпус удерживается в статичном положении при одновременном вращении устройства для выполнения переформования/перепрофилирования относительно продольной оси емкости. Данная конфигурация имеет ряд достоинств, включая то, что предлагается независимый блок, не требующий внешних упоров, рычагов или механизмов для приведения в действие инструментов для перепрофилирования или инструментов для переформования. Данный блок приводится в действие перемещением емкости в инструмент или перемещением инструмента в емкость или обоими перемещениями. Данный блок легко монтируется на существующие кромкозагибочные/переформовочные/перепрофилирующие/обжимочные станки, обычные для предприятий, производящих емкости. Удерживание корпуса емкости в статичном положении выгодно, так как транспортировать из станка вращающиеся емкости сравнительно сложно. Более того, инструменты, соответствующие настоящему изобретению, легко установить вместо существующих инструментов для переформования и перепрофилирования емкостей, в то время как устройство, описанное в патенте ‘127, требует покупки и установки абсолютно другого станка.
Соответственно имеется необходимость в устройстве и процессе, которые способны изготавливать металлические емкости, не требующие отдельного станка или отдельного процесса для осуществления переформования и перепрофилирования концевой части емкости. Соответственно будет полезно иметь процесс, который снижает общее количество необходимого обслуживания на производственном предприятии и уменьшает износ механизмов и инструментов.
Краткое описание изобретения
В настоящем изобретении решены указанные выше проблемы и оно имеет другие достоинства, которые полезны и выгодны с точки зрения эффективности затрат для предприятия, производящего емкости. Более конкретно, в данном изобретении предлагается способ и устройство для одновременного переформования и перепрофилирования нижней части емкости.
Согласно одному аспекту, в настоящем изобретения предлагается устройство, включающее в себя устройство переформования емкости, которое имеет роликовый блок, выровненный с противостоящей ему нижней частью емкости, роликовый блок имеет внешний кольцеобразный край и переднюю поверхность. Средства вращения вращают устройство переформования емкости, при этом корпус емкости поддерживается в статичном, не вращающемся состоянии. В одном варианте реализации две пары внешних перепрофилировочных роликов выступают за переднюю поверхность роликового блока в направлении по существу параллельном продольной оси емкости и располагаются близко к внешнему кольцеобразному краю роликового блока. Пара переформовочных роликов выдвинута за переднюю поверхность роликового блока и имеет такие размеры, чтобы взаимодействовать с внутренней поверхностью кольцеобразного опорного элемента. Отклоняющие средства взаимодействуют с парой переформовочных роликов, причем когда нижняя часть емкости давит на кольцеобразный буртик пары переформовочных роликов, переформовочные ролики перемещаются наружу по направлению к внешнему кольцеобразному краю роликового блока, а внутренний профиль банки создается на внутренней поверхности кольцеобразного опорного элемента парой переформовочных роликов и внешний профиль банки создается на внешней поверхности кольцеобразного опорного элемента двумя парами внешних перепрофилировочных роликов.
В одной реализации изобретения при приложении силы к буртикам пары переформовочных роликов каждый из переформовочных роликов выступает наружу, по меньшей мере, на 0,1 дюйма. В зависимости от типа емкости и предпочтительной геометрической формы емкости данное расстояние может находиться в пределах от 0,05 до 0,1 дюйма. Каждый ролик пар выполнен с возможностью взаимодействия с вкладышем, который ориентирован в поперечном направлении относительно продольной оси емкости. Средства отклонения могут включать в себя, по крайней мере, одну пружину, взаимодействующую, по меньшей мере, с одним роликом из пары переформовочных роликов. Переформовочные ролики могут перемещаться, по меньшей мере, в двух разных направлениях, когда к буртику на паре переформовочных роликов прикладывается сила. Устройство переформирования емкости может также иметь блок скользящих контактов, который расположен между роликовым блоком и установочной осью.
Другой аспект настоящего изобретения заключается в том, что предлагается устройство, которое может быть выбрано или для переформования внутренней куполообразной части нижней части емкости с последующим перепрофилированием внешней куполообразной части нижней части емкости или для одновременного выполнения обеих операций. Более конкретно пара переформовочных роликов может по выбору быть удалена и внешние перепрофилировочные ролики могут независимо использоваться для перепрофилирования внешней поверхности кольцеобразного опорного элемента. Таким образом перепрофилированные ролики выполнены с возможностью их выборочного извлечения и замены на внешние опорные ролики, при этом переформовочные ролики вместе с внешними опорными роликами служат для переформования внутренней поверхности кольцеобразного опорного элемента емкости. Средства вращения могут включать в себя ось, связанную с двигателем. Имеются средства, использующиеся для удержания емкости в неподвижном, по существу, стационарном положении, и в одном варианте реализации изобретения они включают оправку, которая вставляется во внутреннюю часть емкости для зацепления внутренней поверхности емкости с целью предотвращения движения. Альтернативно, что понятно специалистам в данной области, могут предлагаться другие типы механизмов, которые смогут удерживать емкость в статичном положении без нанесения вреда (деформации) емкости при проведении операции переформования/перепрофилирования на нижней части емкости.
Согласно другому аспекту изобретения предлагается устройство для переформования нижней части емкости. Устройство содержит оправку, поддерживающую емкость, по существу, в стационарном положении, устройство переформования, средства вращения и средства отклонения. Устройство переформования содержит основной роликовый блок и, по меньшей мере, два перепрофилировочных ролика, выступающих наружу от основного роликового блока в направлении, по существу, параллельном продольной оси емкости и расположенных выровненными относительно нижней части емкости. Средства вращения взаимодействуют с устройством переформования с целью вращения устройства переформования вокруг продольной оси емкости. Средства отклонения взаимосвязаны с переформовочными роликами так, что при приложении давления на кольцеобразный буртик переформовочных роликов, по меньшей мере, один из переформовочных роликов перемещается наружу в направлении кольцеобразного края основного роликового блока для зацепления с внутренней поверхностью кольцеобразной нижней части емкости и получается предпочтительный геометрический профиль нижней части емкости.
В одном варианте реализации настоящего изобретения предпочтительный геометрический профиль внешней поверхности кольцеобразной нижней части емкости формируется перепрофилировочными роликами, а предпочтительный геометрический профиль внутренней поверхности кольцеобразной нижней части емкости формируется переформовочными роликами. Каждый переформовочный ролик может взаимодействовать с вкладышем, который ориентирован в поперечном направлении относительно продольной оси емкости. Средства отклонения могут включать в себя пластинчатую пружину или другой подобный механизм, известный в технике. Роликовый блок также может взаимодействовать с регулируемым блоком скользящих контактов и установочной осью.
Другим аспектом настоящего изобретения является способ одновременного переформования и перепрофилирования, нижней части металлической емкости. Способ включает этапы удерживания емкости, по существу, в стационарном, статичном положении, обеспечения устройства для переформования, вращения устройства для переформования и зацепления кольцеобразного опорного элемента металлической емкости с устройством для переформования, в котором осуществляется, по существу, одновременное переформование внутренней поверхности кольцеобразного опорного элемента и перепрофилирование внешней поверхности кольцеобразного опорного элемента. Вообще, емкость имеет боковые стенки, расположенные вокруг, по существу, продольной оси, и устройство переформования вращается относительно, по существу, продольной оси. Устройство для переформования в одной реализации имеет роликовый блок, имеющий внешний кольцеобразный край и переднюю поверхность, причем передняя поверхность выровнена с противостоящей ей нижней частью емкости. Устройство для переформования также имеет две пары внешних перепрофилировочных роликов, которые выступают наружу по отношению к передней поверхности роликового блока, и пару переформовочных роликов, которые выдвинуты за переднюю поверхность роликового блока и которые имеют буртики таких размеров, чтобы зацепляться за кольцеобразный опорный элемент нижней части емкости. Устройство для переформования дополнительно содержит средства отклонения, которые взаимодействуют с парой переформовочных роликов, причем когда передний край горлышка емкости давит на буртик, по меньшей мере, один из переформовочных роликов перемещаются наружу по направлению к кольцеобразному краю. Внешний опорный элемент зацепляется за устройство для переформования так, что когда внешний опорный элемент зацепляется за буртик переформовочных роликов, по существу одновременно осуществляется переформования внутренней поверхности кольцеобразного опорного элемента и перепрофилирование внешней поверхности кольцеобразного опорного элемента.
В одной реализации изобретения при приложении силы к буртикам переформовочных роликов данные ролики двигаются наружу на примерно 0,1 дюйма, хотя данный размер может, очевидно, быть увеличен или уменьшен в зависимости от геометрического профиля емкости, к которой применяют переформование. В одном варианте реализации этап вращения включает в себя вращения устройства переформования с помощью двигателя. В другой реализации этап удержания включает наличие средств удержания, таких как оправка, которая зацепляется, по крайней мере, за внутреннюю поверхность боковых стенок емкости. В другой реализации устройство переформования также может иметь регулируемую пластину скользящих контактов, расположенную между роликовым блоком и установочной осью. Еще в одном варианте реализации пара переформовочных роликов взаимодействует с вкладышем, который ориентирован в поперечном направлении относительно продольной оси емкости.
Еще один аспект изобретения заключается в том, что предлагается улучшенный геометрический профиль нижней части емкости, что делается для улучшения прочности и оптимизации затрат материалов. Таким образом, в одном варианте реализации настоящего изобретения, предлагается емкость, геометрический профиль которой определяется переформованной областью внутренней поверхности кольцеобразного опорного элемента, имеющей сравнительно «крюкообразную» форму. «Крюк» переформовочного желобка по существу фиксирует купол, предохраняя стенки от разворачивания и управляя увеличением купола, которое может составлять не более примерно 0,03 дюйма. Внешняя поверхность кольцеобразного опорного элемента также может быть перепрофилирована, при этом дополнительно улучшается прочность и оптимизируется расход материала.
Другой аспект настоящего изобретения заключается в том, что предлагается устройство для переформования концевой части емкости, причем операция производится той частью устройства, которая взаимодействует с емкостью, емкость имеет внешнюю стенку, расположенную вокруг продольной оси. Предпочтительно, чтобы устройство содержало оправку, поддерживающую емкость, по существу, в стационарном положении, устройство переформования, средства вращения и средства отклонения. Устройство для переформования содержит роликовый блок и, по меньшей мере, два переформовочных ролика и, по меньшей мере, два перепрофилировочных ролика, которые выступают наружу от основного роликового блока в направлении, по существу параллельном продольной оси емкости и которые выровнены относительно нижней части емкости. Средства вращения взаимодействуют с устройством переформования с целью вращения устройства переформования относительно продольной оси емкости. Средства отклонения взаимодействуют с переформовочными роликами, причем, когда к кольцеобразному буртику переформовочных роликов прикладывается сила, то, по меньшей мере, один из переформовочных роликов двигается наружу по направлению к кольцеобразному краю основного роликового блока для зацепления с внутренней поверхностью кольцеобразной нижней части емкости, при этом получается предпочтительный геометрический профиль низа емкости.
Таким образом, в одной реализации настоящего изобретения предлагается устройство, приспособленное для одновременного переформования и перепрофилирования нижней части емкости, причем емкость имеет внешнюю стенку, расположенную вокруг продольной оси, нижняя часть соединена с боковой стенкой и имеет кольцеобразный опорный элемент с внутренней и внешней поверхностями, устройство содержит:
средства для удерживания емкости;
устройство переформования емкости, содержащее роликовый блок, выровненный с противостоящей ему нижней частью емкости, роликовый блок имеет внешний кольцеобразный край и переднюю поверхность;
средства вращения, предназначенные для вращения устройства переформования;
две пары внешних перепрофилировочных роликов, которые выступают за переднюю поверхность роликового блока и располагаются близко к внешнему кольцеобразному краю;
пару переформовочных роликов, которые выдвинуты за переднюю поверхность роликового блока и которые имеют такие размеры, чтобы взаимодействовать с внутренней поверхностью кольцеобразного опорного элемента емкости; и
средства отклонения, которые взаимодействуют с парой переформовочных роликов, причем, когда нижняя часть емкости давит на кольцеобразный буртик пары переформовочных роликов, переформовочные ролики перемещаются наружу по направлению к внешнему кольцеобразному краю роликового блока, а внутренний профиль банки создается на внутренней поверхности кольцеобразного опорного элемента парой переформовочных роликов и внешний профиль банки создается на внешней поверхности кольцеобразного опорного элемента двумя парами внешних перепрофилировочных роликов.
Другие достоинства и другие варианты реализации настоящего изобретения будут ясны из последующего описания с учетом прилагаемых чертежей, на которых:
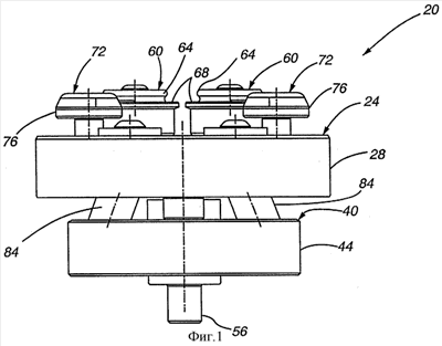
Фигура 1 – вид спереди устройства переформования и перепрофилирования, соответствующего одному варианту реализации настоящего изобретения;
Фигура 2 – вид сверху устройства переформования и перепрофилирования, изображенного на Фигуре 1;
Фигура 3 – вид спереди в изометрии устройства переформования и перепрофилирования с Фигуры 1;
Фигура 4 – поперечный разрез вида спереди устройства переформования и перепрофилирования с Фигуры 2;
Фигура 5 – поперечный разрез В-В устройства переформования и перепрофилирования на Фигуре 2;
Фигура 6 – поперечный разрез С-С устройства переформования и перепрофилирования на Фигуре 2;
Фигура 7 – поперечный разрез D-D устройства переформования и перепрофилирования на Фигуре 2;
Фигура 8 – вид спереди системы переформования и перепрофилирования, соответствующей одному варианту реализации настоящего изобретения и на нем показана емкость, связанная с оправкой с возможностью рассоединения, причем емкость расположена напротив устройства переформования и перепрофилирования;
Фигура 9 – поперечный разрез Е-Е системы переформования и перепрофилирования на Фигуре 8, система показана в момент, предшествующий зацеплению;
Фигура 10 – поперечный разрез системы переформования и перепрофилирования на Фигуре 8, который показывает емкость для напитков, контактирующую с устройством переформования и перепрофилирования;
Фигура 11 – собой вид спереди устройства переформования и перепрофилирования, соответствующего одному варианту реализации настоящего изобретения;
Фигура 12 – поперечный разрез вида спереди нижней куполообразной части емкости, к которой не были применены операции переформования и перепрофилирования;
Фигура 13 – поперечный разрез вида спереди нижней куполообразной части емкости после проведения операции переформования, соответствующей одному варианту реализации настоящего изобретения;
Фигура 14 – поперечный разрез вида спереди нижней куполообразной части емкости после проведения операций переформования и перепрофилирования, соответствующих одному варианту реализации настоящего изобретения.
Подробное описание предпочтительного варианта реализации
В то время как данное изобретение может иметь много вариантов реализации, на чертежах показаны и будут подробно описаны предпочтительные варианты реализации настоящего изобретения. Вместе с тем надо понимать, что настоящее описание надо рассматривать как иллюстрацию принципов данного изобретения и оно не призвано ограничивать широкий класс аспектов изобретения к проиллюстрированным вариантам реализации.
На Фигурах 1-9 представлен один варианте реализации настоящего изобретения, в котором предлагается устройство 20 переформования и перепрофилирования, приспособленное для одновременного переформования и перепрофилирования нижней части емкости для напитков. Как оценят специалисты в данной области, данное изобретение может использоваться для любого типа металлических емкостей и оно не ограничивается емкостями для напитков, такими как банки для пива или безалкогольных напитков.
Более конкретно, на Фигурах 1 и 2 имеются вид спереди и вид сверху соответственно, а на Фигуре 3 содержится вид в изометрии устройства 20 переформования и перепрофилирования, соответствующего настоящему изобретению. Устройство 20 переформования и перепрофилирования обычно имеет роликовый блок 24, который в свою очередь содержит внешний кольцеобразный край 28 роликового блока, переднюю поверхность 32 роликового блока и центральное отверстие 36 роликового блока. Устройство 20 переформования и перепрофилирования также содержит блок 40 скользящих контактов, который имеет внешний кольцеобразный край 44 блока скользящих контактов, переднюю поверхность блока скользящих контактов и центральное отверстие 52 блока скользящих контактов. Каждый роликовый блок 24 и блок 40 скользящих контактов крепятся к установочной оси 56 через центральное отверстие 36 роликового блока и центральное отверстие 52 блока скользящих контактов. На роликовом блоке 24 расположена пара переформовочных роликов 60, имеющих внешний край 64 и кольцеобразный буртик 68. Также на роликовом блоке 24 расположены две пары перепрофилировочных роликов 72, которые имеют внешний край 76. Установочная ось 56 связана с двигателем или другим источником энергии, который придает установочной оси 56 вращательное движение.
На Фигурах 4-7 показаны поперечные разрезы А-А, В-В, С-С и D-D устройства на Фигурах 1-3 соответственно. Как проиллюстрировано на Фигуре 4 переформовочные ролики 60 крепятся к вкладышам 84 переформовочных роликов, которые выступают в блок 40 скользящих контактов. Вкладыши 84 переформовочных роликов выступают в блок 40 скользящих контактов под углом по отношению к воображаемой плоскости, которая расположена перпендикулярно к передней поверхности 32 роликового блока и отцентрирована по отношению к паре переформовочных роликов 60. В одной реализации вкладыши 84 переформовочных роликов являются шариковыми опорами прямолинейного движения. Пружины 86 (Фигура 5) расположены в центральном отверстии 36 роликового блока и взаимодействуют с парой переформовочных роликов 60 для того, чтобы давить на переформовочные ролики 60 по направлению от блока 40 скользящих контактов. Когда к переформовочным роликам 60 прикладывается сила, переформовочные ролики 60 одновременно двигаются по направлению к блоку 40 скользящих контактов и также по направлению к внешнему кольцеобразному краю 28 роликового блока. Каждый переформовочный ролик 60 связан со связующим блоком 88, связующие блоки 88 соединены посредством направляющих штифтов 92, таким образом обеспечивается то, что переформовочные ролики 60 двигаются согласовано. Хотя в предпочтительном варианте реализации оба переформовочных ролика 60 двигаются наружу одновременно, возможно, чтобы в конкретный момент времени двигался только один из переформовочных роликов 60.
Перепрофилировочные ролики 72, как показано на Фигуре 6, содержат подшипниковые элементы 96, которые дают возможность вращаться центральной оси 100 перепрофилировочных роликов. Подшипниковые элементы 96 крепятся к перепрофилировочным роликам 72 с помощью винтов 104, головки которых накладываются на подшипниковые элементы 96 и предотвращают отсоединение подшипниковых элементов 96 от перепрофилировочных роликов 72. Перепрофилировочный ролик 72 в сборе вместе с подшипниковым элементом 96 вставляется в полость в роликовом блоке 24 и крепится с помощью крепежного винта 108 и крепежной шайбы 112, так что крепежная шайба 112 перекрывает подшипниковый элемент и удерживает перепрофилировочный ролик 72 в полости. В одном варианте реализации крепежные шайбы 112 имеют такие размеры, что их внешний край не контактирует с центральной осью 100 перепрофилировочных роликов.
Как упоминалось раньше, износ частей присущ для подобных производств емкостей, характеризующихся большой скоростью и огромным выходом продукции. Перепрофилировочные ролики 72 и связанные с ними подшипниковые элементы 96 могут быть извлечены и заменены сравнительно легко посредством удаления крепежного винта 108 и крепежной шайбы 112 с целью освобождения перепрофилировочного ролика 72 и замены его на запасной ролик. В одной реализации в полости имеется шайба, которая выталкивает перепрофилировочный ролик 72. В одном варианте реализации изобретения, показанном на Фигуре 7, между роликовым блоком 24 и блоком 40 скользящих контактов имеются регулировочные проставки 98. Размер регулировочных проставок 98 может подбираться таким образом, чтобы обеспечивалось необходимое расстояние между роликовым блоком 24 и блоком 40 скользящих контактов.
Далее со ссылками на Фигуры 8-10 будет описана работа устройства 20 переформования и перепрофилирования. На фигуре 8 изображен вид спереди устройства 20 системы переформования и перепрофилирования и емкости 116 для напитков, закрепленной на оправке 120. На Фигуре 9 показан поперечный разрез Е-Е системы с Фигуры 8. Фигура 10 содержит поперечный разрез системы с Фигуры 8, который показывает емкость 116 для напитков контактирующую с устройством 20 переформования и перепрофилирования. В варианте реализации, проиллюстрированном на Фигурах 8-10, емкость 116 для напитков закреплена на оправке 120 в стационарном, неподвижном положении. Оправка 120 и емкость 116 для напитков двигаются по направлению к устройству 20 переформования и перепрофилирования до тех пор, пока емкость для напитков не войдет в контакт с устройством. Нижняя часть емкости для напитков имеет кольцеобразный опорный элемент 124 с внутренней поверхностью 128 и внешней поверхностью 132. Оправка 120 и емкость для напитков 116 выровнены так, чтобы кольцеобразный опорный элемент 124 емкости для напитков контактировал с кольцеобразным буртиком 68 переформовочного ролика. Оправка 120 и емкость для напитков 116 продолжают двигаться по направлению к устройству 20 переформования и перепрофилирования, причем кольцеобразный опорный элемент 124 контактирует с кольцеобразным буртиком 68 переформовочного ролика до тех пор, пока переформовочные ролики 60 полностью не войдут во взаимодействие с внутренней поверхностью 128 кольцеобразного опорного элемента 124, а перепрофилировочные ролики 72 не зацепятся за внешнюю поверхностью 132, как показано на Фигуре 10. Аналогично оправка 120 и емкость 116 для напитков могут быть неподвижны, а устройство 20 для перепрофилирования двигается навстречу емкости 116 для налитков или как устройство 24 для перепрофилирования, так и оправка 120 и емкость 116 для напитков могут двигаться друг навстречу другу.
Как упоминалось выше, прикладывание давления к кольцеобразному буртику 68 переформовочного ролика приводит к тому, что переформовочные ролики 60 одновременно двигаются по направлению к блоку 40 скользящих контактов и по направлению к внешнему кольцеобразному краю 28 роликового блока. В одном варианте реализации, так как емкость 116 для напитков закреплена на оправке 120, оправка 120 выравнивается по отношению к устройству 20 переформования и перепрофилирования и двигается на предварительно заданное расстояние к устройству 20 переформования и перепрофилирования, что приводит к тому, что емкость 116 для напитков сцепляется с устройством 20 переформования и перепрофилирования. Когда емкость 116 для напитков сцепляется с устройством 20 переформования и перепрофилирования, устройство 20 переформования и перепрофилирования начинает вращаться. Давление перепрофилировочных роликов 72 работает с целью перепрофилирования внешней поверхности 132 кольцеобразного опорного элемента 124 и давление переформовочных роликов 60 служит для перепрофилирования внутренней поверхности 128 кольцеобразного опорного элемента 124. Соответственно нижняя часть емкости 116 для напитков одновременно переформовывается и перепрофилируется и ей придается необходимая геометрическая форма.
Далее со ссылками на Фигуру 11 будет описываться другой вариант реализации настоящего изобретения. В данной реализации устройство 150 для переформования имеет компоненты, схожие с описанными ранее для устройства 20 для переформования и перепрофилирования с одним значительным различием. Устройство 150 для переформования содержит опорные ролики 154 для переформования. Опорные ролики 154 для переформования нужны для обеспечения поддержки для внешней поверхности кольцеобразного опорного элемента нижней части емкости для напитков во время выполнения операции переформования. Устройство 150 переформования функционирует аналогично описанному выше устройству 20 для переформования и перепрофилирования, где переформовочные ролики 60 одновременно движутся по направлению к блоку 40 скользящих контактов и по направлению к кольцеобразному краю роликового блока с целью приложить соответствующую силу для переформования внутренней поверхности кольцеобразного края роликового блока емкости для напитков.
Аналогично описанному выше относительно Фигуры 6, опорные ролики 154 для переформования могут быть извлечены из роликового блока 24 после удаления крепежного винта 108 и крепежной шайбы 112 с последующим извлечением опорных роликов 154 для переформования из полости в роликовом блоке 24. Таким образом, один и тот же роликовый блок 24 может использоваться как при переформования, так и при перепрофилировании, а также при проведении только операции переформования: необходимо только заменить перепрофилировочные ролики 72 на переформовочные ролики 154. Такая замена может быть проделана, когда, например, необходимо производить емкости 204 для напитков. Если надо изготовить емкости 202 для налитков, то переформовочные ролики 154 заменяются перепрофилировочными роликами 72. Соответственно для обоих процессов можно использовать одно и то же основное оборудование, что выливается в более эффективные производственные операции. Более того, операции переформования и перепрофилирования или только операция переформования могут выполняться без необходимости в отдельном производственном оборудовании.
На Фигурах 12-14 изображен поперечный разрез нижней куполообразной части емкости 200 для напитков, показывающий различные геометрические формы после проведения операций переформования и перепрофилирования. Более конкретно на Фигуре 12 показана соответствующая известным в настоящее время технологиям нижняя куполообразная часть 204 емкости 200 для напитков, которая имеет кольцеобразный опорный элемент 206, который включает в себя внутреннюю поверхность 208 и внешнюю поверхность 210. Три различных радиуса R1, R2 и R3 кольцеобразного опорного элемента 206 представляют радиус кольцеобразного опорного элемента 206 относительно внутренней поверхности 208 в трех различных вертикальных отметках. На Фигуре 12 показана емкость 200 для напитков до выполнения операций переформования и перепрофилирования.
Фигура 13 иллюстрирует нижнюю куполообразную часть 204 емкости 200 для напитков после проведения операции переформования, соответствующей одному варианту реализации настоящего изобретения. После осуществления данного процесса переформования внутренняя поверхность 208 кольцеобразного опорного элемента 206 содержит часть 212, имеющую сравнительно выраженную «крюкообразную» форму. Кольцеобразный опорный элемент 206 имеет радиус R2, значение которого меньше любого из значений R1 или R3, что определяет данную крюкообразную часть 212. Крюкообразная часть 212 способствует улучшению прочностных характеристик нижней куполообразной части 204 емкости 200 для напитков и будет описана более подробно далее.
Фигура 14 содержит нижнюю куполообразную часть 204 емкости 200 для напитков после проведения операций переформования и перепрофилирования, соответствующих одному варианту реализации настоящего изобретения. Как показано на Фигуре 14, внешняя поверхность 210 кольцеобразного опорного элемента 206 содержит перепрофилированную часть 214, которая еще больше уменьшает радиусы R1 и R2 относительно радиуса R3 и позволяет штабелировать емкость, как емкость типа 202. Комбинация частей 212 и 214 приводит к более выраженной крюкообразной форме, что получается из-за уменьшения радиусов R1 и R2, что дополнительно улучшает прочностные характеристики нижней куполообразной части 204 емкости 200 для напитков.
Данная предпочтительная геометрическая форма, проиллюстрированная на Фигурах 13 и 14, созданная после осуществления над емкостью 200 для напитков операции переформования/перепрофилирования, соответствующих настоящему изобретению, обеспечивает отличные прочностные характеристики емкости 200 для напитков. Отличные прочностные характеристики включают в себя усиленное сопротивление короблению, что происходит благодаря форме, противодействующей короблению, которая получается в результате действия сил, как описано ниже, изменяющих как внутреннюю, так и внешнюю поверхности 208, 210 кольцеобразного опорного элемента 206. Сила, действующая во время выполнения операций переформования и перепрофилирования, препятствует движению отверстия купола вовне и одновременно приводит к уменьшению радиусов R1, R2 и R3, что усиливает сопротивлению вытягиванию и короблению. Улучшение прочности, получаемое благодаря особенной крюкообразной форме, приводит к получению некоторого фиксирующего свойства, сформированного на внутренней поверхности 208 кольцеобразного опорного элемента.
Далее «крюк» по существу удерживает стенки купола на месте и противостоит вытягиванию, так как радиус R2 крюка меньше, чем радиусы R1 и R3. Придание внутренней поверхности 208 подобной формы приводит к тому, что внутренняя поверхность 208 сопротивляется пластичному раскатыванию или вытягиванию, которое может произойти, когда на емкость 200 действует избыточное давление, данное явление характеризуется увеличением одного или нескольких радиусов R1, R2 и R3. Далее желобок помогает предотвратить разматывание и проистекающее из этого увеличение длины емкости при любом процессе пастеризации. Когда давление действует на нижнюю куполообразную часть 204 изнутри емкости 200, то оно толкает куполообразную часть 216 по направлению к нижней части емкости 200 для напитков. Геометрическая форма куполообразной части 216 такова, что давление, прикладываемое к внутренней поверхности 208, направляется к низу емкости 200 к внешней поверхности 210. Когда возникает такое давление, то благодаря форме кольцеобразного опорного элемента 206 маловероятно, чтобы увеличились радиусы R1, R2 и R3, таким образом, уменьшается вероятность вытягивания или коробления.
Далее для ясности приводится список компонент и связанных с ними номеров на чертежах.
| Номер |
Компонента |
| 20 |
устройство переформования и перепрофилирования |
| 24 |
роликовый блок |
| 28 |
кольцеобразный край роликового блока |
| 32 |
передняя поверхность роликового блока |
| 36 |
центральное отверстие роликового блока |
| 40 |
блок скользящих контактов |
| 44 |
внешний кольцеобразный край блока скользящих контактов |
| 48 |
передняя поверхность блока скользящих контактов |
| 52 |
центральное отверстие блока скользящих контактов |
| 56 |
установочная ось |
| 60 |
переформовочные ролики |
| 64 |
внешний край переформовочных роликов |
| 68 |
кольцеобразный буртик переформовочных роликов |
| 72 |
перепрофилировочные ролики |
| 76 |
внешний край перепрофилировочных роликов |
| 84 |
вкладыш переформовочного ролика |
| 86 |
пружина |
| 88 |
связующий блок |
| 92 |
направляющие штифты |
| 96 |
подшипниковые элементы |
| 98 |
регулировочные проставки |
| 100 |
центральная ось перепрофилировочного ролика |
| 104 |
винт |
| 108 |
крепежный винт |
| 112 |
крепежная шайба |
| 116 |
емкость для налитков |
| 120 |
оправка |
| 124 |
кольцеобразный опорный элемент |
| 128 |
внутренняя поверхность |
| 132 |
внешняя поверхность |
| 150 |
устройство для переформования |
| 154 |
опорный ролик для переформования |
| 200 |
емкость для налитков |
| 204 |
нижний куполообразный профиль |
| 206 |
кольцеобразный опорный элемент |
| 208 |
внутренняя поверхность |
| 210 |
внешняя поверхность |
| 212 |
крюкообразная область |
| 214 |
перепрофилированная часть |
| 216 |
куполообразная часть |
Содержащееся выше описание настоящего изобретения надо рассматривать как иллюстрацию и описательную часть. Более того, описание не направлено на то, чтобы ограничивать изобретение формой, описанной выше. Следовательно, вариации и модификации описанного выше и полученные с использованием навыков и знаний существующих решений находятся в рамках настоящего изобретения. Варианты реализации, описанные здесь, направлены на то, чтобы объяснить наилучшие способы реализации изобретения, и дают возможность специалистам в данной области использовать данное изобретение в указанном или других вариантах реализации или различных модификациях, требуемых конкретными приложениями. Пункты формулы изобретения предназначены для того, чтобы истолковать все возможные реализации в рамках, допускаемых существующим уровнем техники.
Формула изобретения
1. Устройство для одновременного переформования и перепрофилирования нижней части емкости, имеющей внешнюю стенку, расположенную вокруг продольной оси, нижняя часть которой соединена с боковой стенкой и имеет кольцеобразный опорный элемент с внутренней и внешней поверхностями, содержащее средства для удерживания емкости, узел переформования емкости, отличающееся тем, что оно снабжено средствами отклонения и средствами вращения узла переформования, узел переформования выполнен в виде выровненного с противостоящей ему нижней частью емкости, роликового блока с внешним кольцеобразным краем и передней поверхностью, и содержит две пары внешних перепрофилировочных роликов, выступающих за переднюю поверхность роликового блока и расположенных близко к внешнему кольцеобразному краю, выдвинутых за переднюю поверхность роликового блока пару переформовочных роликов, имеющих кольцеобразные буртики, размеры которых выбраны из условия обеспечения взаимодействия с внутренней поверхностью кольцеобразного опорного элемента емкости, средства отклонения выполнены с возможностью взаимодействия с парой переформовочных роликов для обеспечения их перемещения наружу по направлению к внешнему кольцеобразному краю роликового блока при давлении нижней части емкости на кольцеобразный буртик переформовочных роликов, при этом пара переформовочных роликов служит для создания на внутренней поверхности кольцеобразного опорного элемента внутреннего профиля емкости, а две пары внешних перепрофилировочных роликов – для создания на внешней поверхности кольцеобразного опорного элемента внешнего профиля емкости.
2. Устройство по п.1, отличающееся тем, что каждый ролик из пары переформовочных роликов выполнен с возможностью выступания наружу примерно на 0,1 дюйма при приложении силы к его кольцеобразному буртику.
3. Устройство по п.1, отличающееся тем, что каждый ролик из пары переформовочных роликов имеет вкладыш, ориентированный в поперечном направлении относительно продольной оси емкости, и выполнен с возможностью взаимодействия с ним.
4. Устройство по п.1, отличающееся тем, что средства для удерживания емкости выполнены в виде оправки, размеры которой подобраны, исходя из обеспечения ее зацепления за внутреннюю поверхность боковых стенок емкости.
5. Устройство по п.1, отличающееся тем, что средства отклонения содержат, по крайней мере, одну пружину, имеющую возможность взаимодействия, по меньшей мере, с одним роликом из пары переформовочных роликов.
6. Устройство по п.1, отличающееся тем, что, по меньшей мере, один ролик из пары переформовочных роликов выполнен с возможностью перемещения, по меньшей мере, в двух разных направлениях при приложении силы к его кольцевому буртику.
7. Устройство по п.1, отличающееся тем, узел переформирования емкости дополнительно содержит блок скользящих контактов, расположенный между роликовым блоком и установочной осью.
8. Устройство по п.1, отличающееся тем, что перепрофилировочные ролики выполнены с возможностью их выборочного извлечения и замены на внешние опорные ролики, при этом переформовочные ролики вместе с внешними опорными роликами служат для переформования внутренней поверхности кольцеобразного опорного элемента емкости.
9. Устройство по п.1, отличающееся тем, что средства вращения выполнены в виде оси, соединенной с двигателем.
10. Устройство по п.1, отличающееся тем, что средства удержания емкости выполнены с возможностью поддерживания емкости в не вращающемся, по существу, стационарном, положении.
11. Устройство для переформования нижней части емкости, имеющей внешнюю стенку, расположенную вокруг продольной оси, содержащее средства, поддерживающие емкость, узел переформования, отличающееся тем, что оно снабжено средствами вращения узла переформования для его вращения относительно продольной оси емкости и средствами отклонения, средства, поддерживающие емкость, выполнены с возможностью ее поддержания в стационарном положении в виде оправки, узел переформования выполнен в виде основного роликового блока с кольцеобразным краем и содержит, по меньшей мере, два переформовочных ролика и, по меньшей мере, два перепрофилировочных ролика, выступающих наружу от основного роликового блока, в направлении, по существу параллельном продольной оси емкости, и выровненных относительно нижней части емкости, средства отклонения выполнены с возможностью взаимодействия с парой переформовочных роликов для обеспечения их перемещения наружу по направлению к внешнему кольцеобразному краю основного роликового блока при давлении нижней части емкости на кольцеобразный буртик переформовочных роликов для зацепления за внутреннюю поверхность кольцеобразной нижней части емкости, и получения предпочтительного геометрического профиля нижней части емкости.
12. Устройство по п.11, отличающееся тем, что, по меньшей мере, два перепрофилировочных ролика выполнены с возможностью обеспечения дополнительного формирования геометрического профиля внешней поверхности нижней части емкости.
13. Устройство по п.11, отличающееся тем, что каждый ролик из пары переформовочных роликов имеет вкладыш, ориентированный в поперечном направлении относительно продольной оси емкости, и выполнен с возможностью взаимодействия с ним.
14. Устройство по п.11, отличающееся тем, что средства отклонения выполнены в виде пружины.
15. Устройство по п.11, отличающееся тем, что оно дополнительно содержит блок скользящих контактов, соединенный с основным роликовым блоком и установочной осью.
16. Способ одновременного переформования и перепрофилирования нижней части металлической емкости, имеющей боковые стенки, расположенные вокруг продольной оси, включающий удерживание емкости и осуществление одновременного переформования внутренней поверхности кольцеобразного опорного элемента и перепрофилирования внешней поверхности кольцевого опорного элемента в узле переформования, отличающийся тем, что емкость удерживают в стационарном положении, осуществляют вращение узла переформования относительно, по существу, продольной оси, используют узел переформования, выполненный в виде роликового блока с внешним кольцеобразным краем и передней поверхностью, выровненной с противостоящей ей нижней частью металлической емкости, имеющего, по меньшей мере, одну пару внешних перепрофилировочных роликов, выступающих наружу относительно передней поверхности роликового блока, пару переформовочных роликов, выдвинутых за переднюю поверхность роликового блока и имеющих буртики, размеры которых обеспечивают зацепление за кольцеобразный опорный элемент нижней части емкости, средства отклонения, выполненные с возможностью взаимодействия с парой переформовочных роликов для перемещения последних наружу по направлению к внешнему кольцеобразному краю роликового блока при давлении нижней части емкости на кольцеобразный буртик переформовочных роликов, при этом одновременное переформование внутренней поверхности кольцеобразного опорного элемента до предпочтительной геометрической формы и перепрофилирование внешней поверхности кольцеобразного опорного элемента до предпочтительной геометрической формы осуществляют путем зацепления кольцеобразного опорного элемента металлической емкости с упомянутой парой переформовочных роликов.
17. Способ по п.16, отличающийся тем, что при приложении силы к буртику переформовочные ролики перемещают наружу, по меньшей мере, примерно на 0,1 дюйма.
18. Способ по п.16, отличающийся тем, что узел переформования вращают посредством двигателя.
19. Способ по п.16, отличающийся тем, что емкость удерживают средствами поддержки, обеспечивающими зацепление, по крайней мере, за часть внутренней поверхности боковых стенок емкости.
20. Способ по п.16, отличающийся тем, что используют узел для переформования, дополнительно содержащий регулируемый блок скользящих контактов, расположенный ниже роликового блока.
21. Способ по п.16, отличающийся тем, что используют пару переформовочных роликов, каждый из которых имеет вкладыш, ориентированный в поперечном направлении относительно продольной оси емкости и выполнен с возможностью взаимодействия с упомянутым вкладышем.
22. Способ по п.16, отличающийся тем, что, по меньшей мере, один ролик из пары переформовочных роликов перемещают, по меньшей мере, в двух разных направлениях при приложении к буртику силы, направленной к передней поверхности.
23. Устройство для переформования концевой части емкости, имеющей внешнюю стенку, расположенную вокруг продольной оси, содержащее средства, поддерживающие емкость, узел переформования емкости, отличающееся тем, что оно снабжено средствами вращения узла переформования для его вращения относительно продольной оси емкости и средствами отклонения, средства, поддерживающие емкость, выполнены с возможностью ее поддержания в стационарном положении в виде оправки, узел переформования выполнен в виде основного роликового блока, имеющего, по меньшей мере, два переформовочных ролика и, по меньшей мере, два перепрофилировочных ролика, выступающих наружу от основного роликового блока, в направлении, по существу, параллельном продольной оси емкости, и выровненных относительно нижней части емкости, средства отклонения выполнены с возможностью взаимодействия с парой переформовочных роликов для обеспечения их перемещения наружу по направлению к внешнему кольцеобразному краю роликового блока при давлении нижней части емкости на кольцеобразный буртик переформовочных роликов для зацепления за внутреннюю поверхность кольцеобразной нижней части емкости, и получения предпочтительного геометрического профиля нижней концевой части емкости.
24. Устройство по п.23, отличающееся тем, что каждый ролик из пары переформовочных роликов выполнен с возможностью выступания наружу примерно на 0,1 дюйма при приложении силы к его кольцеобразному буртику.
25. Устройство по п.23, отличающееся тем, что каждый ролик из пары переформовочных роликов имеет вкладыш, ориентированный в поперечном направлении относительно продольной оси емкости, и выполнен с возможностью взаимодействия с ним.
26. Устройство по п.23, отличающееся тем, что средства отклонения выполнены, по крайней мере, в виде одной пружины, взаимодействующей, по меньшей мере, с одним роликом из пары переформовочных роликов.
27. Устройство по п.23, отличающееся тем, что по меньшей мере, один ролик из пары переформовочных роликов выполнен с возможностью перемещения, по меньшей мере, в двух разных направлениях, при приложении силы к буртику пары переформовочных роликов.
28. Устройство по п.23, отличающееся тем, что устройство переформования емкости дополнительно содержит блок скользящих контактов, связанный с нижней частью роликового блока и установочной осью.
29. Устройство по п.23, отличающееся тем, что перепрофилировочные ролики выполнены с возможностью их выборочного извлечения и замены на внешние опорные ролики для переформования, при этом переформовочные ролики предназначены для переформования только внутренней поверхности кольцеобразного опорного элемента.
30. Устройство по п.23, отличающееся тем, что средства вращения выполнены в виде оси, соединенной с двигателем.
31. Устройство по п.23, отличающееся тем, что, по меньшей мере, два перепрофилировочных ролика выполнены с возможностью зацепления за внешнюю поверхность кольцеобразной нижней части емкости и возможностью одновременного осуществления переформования и перепрофилирования нижней части емкости.
РИСУНКИ
|
|