Патент на изобретение №2318615

Published by on




РОССИЙСКАЯ ФЕДЕРАЦИЯ



ФЕДЕРАЛЬНАЯ СЛУЖБА
ПО ИНТЕЛЛЕКТУАЛЬНОЙ СОБСТВЕННОСТИ,
ПАТЕНТАМ И ТОВАРНЫМ ЗНАКАМ
(19) RU (11) 2318615 (13) C1
(51) МПК

B08B3/02 (2006.01)

(12) ОПИСАНИЕ ИЗОБРЕТЕНИЯ К ПАТЕНТУ

Статус: по данным на 08.11.2010 – действует

(21), (22) Заявка: 2006116824/12, 16.05.2006

(24) Дата начала отсчета срока действия патента:

16.05.2006

(46) Опубликовано: 10.03.2008

(56) Список документов, цитированных в отчете о
поиске:
RU 2004130573 А, 20.03.2006. SU 1597240 A1, 07.10.1990. JP 1207621 A, 03.08.1999.

Адрес для переписки:

445633, Самарская обл., г. Тольятти, Южное ш., 36, ОАО “АВТОВАЗ”, ДИТО, ОЭПП ПТУ, С.Н. Буренкову

(72) Автор(ы):

Каревский Валентин Дмитриевич (RU),
Краснов Константин Васильевич (RU),
Сидоренков Сергей Владимирович (RU)

(73) Патентообладатель(и):

Открытое акционерное общество “АВТОВАЗ” (RU)

(54) СПОСОБ МОЙКИ ИЗДЕЛИЙ И УСТРОЙСТВО ДЛЯ ЕГО ОСУЩЕСТВЛЕНИЯ

(57) Реферат:

Группа изобретений относится к очистке и подготовке поверхностей изделий под покрытия, в частности, к струйной мойке изделий и очистки моющего раствора для его многократного использования. Способ заключается в воздействии на изделия моющим раствором и очистке стекающего с изделий загрязненного моющего раствора, включающей фильтрование и удаление поверхностного слоя с загрязнениями путем сдувания его с поверхности основного объема моющего раствора наклонными струями воздуха к месту слива. При этом поверхностный слой с загрязнениями перед сливом, в конечной фазе сдувания его воздухом, направляют из основного объема моющего раствора в малый объем, где осуществляют его отстаивание, после завершения которого вновь образующиеся поверхностные загрязнения удаляют из малого объема путем передавливания за счет разности уровней моющего раствора из средней, более чистой, части основного объема моющего раствора в нижнюю часть малого объема с расходом, не вызывающим перемешивания сливаемых поверхностных загрязнений малого объема. После окончания слива отстоявшийся поверхностный слой из малого объема направляют в среднюю часть основного объема моющего раствора. Устройство для осуществления способа содержит камеру с размещенными в ней контурами промывки для подачи моющего раствора на изделия, расположенную под камерой ванну для моющего раствора, оснащенную фильтрующими элементами и насосом для подачи раствора в контуры промывки, а также контур сдува поверхностного слоя с загрязнениями с наклонными соплами, подключенный к сети сжатого воздуха и закрепленный на одной из стенок ванны, и сливной лоток. Устройство дополнительно снабжено баком для отстаивания поверхностного слоя с загрязнениями и рециркуляционным насосом, при этом на стенке ванны, противоположной стенке, где установлен контур сдува, закреплен узел сбора поверхностного слоя с загрязнениями, состоящий из наклонных коллекторов, на которых равномерно закреплены воронки, снабженные решетчатыми шайбами, установленные на одинаковом расстоянии относительно уровня моющего раствора в ванне с возможностью регулирования по высоте. Наклонные коллекторы соединены через тройник и запорный вентиль с трубопроводом, подключенным к нижней части бака для отстаивания поверхностного слоя с загрязнениями, которая соединена со средней частью ванны двумя трубопроводами, каждый из которых оснащен запорным и регулируемым вентилями. Рециркуляционный насос расположен на одном из этих трубопроводов между запорным и регулируемым вентилями, его нагнетательный патрубок направлен в сторону ванны, а сливной лоток установлен на одной из стенок бака для отстаивания поверхностного слоя с загрязнениями. Группа изобретений обеспечивает повышение качества очистки моющего раствора и мойки изделий. 2 н.п. ф-лы, 5 ил.

Изобретение относится к очистке и подготовке поверхностей изделий под покрытия, в частности к способам струйной мойки изделий и очистке моющего раствора для его многократного использования.

Известна «Установка для очистки деталей» по авторскому свидетельству СССР №1792753, МПК В08В 3/02, 1993, которая содержит камеру для деталей с размещенными в ней коллекторами подачи моющей жидкости, систему сбора отработанной жидкости с лотками, отводящий трубопровод, соединяющий систему сбора отработанной жидкости с коллекторами подачи жидкости, а также снабжена узлом очистки рабочей жидкости, выполненным в виде вмонтированных в отводящий трубопровод перепускного клапана, запорной арматуры, насоса, фильтра и отводного канала, при этом перепускной клапан соединен с отводным каналом, лотки смонтированы в центральной и периферийной частях дна камер и связаны между собой.

Недостатком установки является сложность конструкции, недостаточная степень очистки жидкости, вызванная тем, что очистка ее производится только с помощью фильтра.

Известна «Установка для мойки изделий по авторскому свидетельству СССР №1496841, В08В 3/02, 1978, которая содержит рабочую камеру, расположенную под ней ванну для слива отработанного моющего раствора, бак для регенерации моющего раствора с расположенными в его нижней и средней частях сливными трубопроводами, рециркуляционный насос, сообщенный всасывающим трубопроводом с ванной и напорным трубопроводом – с баком, связанный с расположенным в нижней части бака сливным трубопроводом отстойник со сливным отверстием, гидроциклон, выходной конец трубопровода для вывода тяжелых фракций которого расположен над отстойником, а входной трубопровод связан с ванной через напорный патрубок рециркуляционного насоса, циркуляционный насос, всасывающий патрубок которого сообщен с ванной, а напорный – с рабочей камерой.

Недостатком установки является то, что в бак для регенерации моющего раствора направляется из ванны весь отработанный раствор, поэтому емкость бака должна быть соизмерима с емкостью ванны, что для агрегатов для обработки, например, кузовов автомобилей, ванны которых имеют большие габариты (до 100 м3), является нецелесообразным из-за необходимости иметь большие производственные площади и мощные рециркуляционные насосы, что ведет к повышенному расходу электроэнергии.

Наиболее близким по технической сущности к предлагаемому изобретению является «Способ мойки изделий и устройство для его осуществления» по заявке №2004130573, В08В 3/02, В08В 3/10, с решением о выдаче патента от 17.01.2006 г., дата публикации – 20.03.2006 г. Известный способ заключается в воздействии на изделия струями моющего раствора, предварительной очистке стекающего с изделия загрязненного моющего раствора, включающей фильтрование и удаление поверхностного слоя с загрязнениями путем сдувания его с поверхности основного объема моющего раствора наклонными струями воздуха к месту слива. Предварительную очистку ведут методом каскадного перелива с неоднократным изменением направления потока моющего раствора вверх и вниз с одновременной его магнитной обработкой. Известное устройство для мойки изделий содержит камеру с размещенными в ней контурами промывки для подачи моющего раствора на изделия, расположенную под камерой ванну для моющего раствора, оснащенную фильтрующими элементами и насосом для подачи жидкости в контуры промывки. Ванна снабжена магнитными перегородками, размещенными в ней на разной высоте по ходу движения моющего раствора, сливным лотком, установленным на одной из ее стенок и расположенным на противоположной стенке ванны контуром сдува с соплами.

Недостатком способа является то, что для крупногабаритных агрегатов, имеющих большие поверхности загрязненного раствора в ваннах, при сливе его в канализацию, попадает наряду с загрязненным большое количество и чистого моющего раствора.

Недостатком устройства является то, что в нем для сбора поверхностных загрязнений применен лоток, неподвижно закрепленный на одной из стенок ванны. Применение такого лотка нецелесообразно для ванн с большой поверхностью раствора из-за трудности регулировки положения его по высоте относительно уровня раствора, что ведет к непроизводительному расходу моющего раствора.

Технической задачей, решаемой данным изобретением, является повышение качества очистки моющего раствора, уменьшение его потерь, следовательно, его экономии и повышение качества мойки изделий.

Поставленная техническая задача достигается тем, что в способе мойки изделий, заключающемся в воздействии на изделия моющим раствором, очистке стекающего с изделий загрязненного моющего раствора, включающей фильтрование и удаление поверхностного слоя с загрязнениями путем сдувания его с поверхности основного объема моющего раствора наклонными струями воздуха к месту слива, поверхностный слой с загрязнениями перед сливом, в конечной фазе сдувания его воздухом, направляют из основного объема моющего раствора в малый объем, где осуществляют его отстаивание. После завершения отстаивания вновь образующиеся поверхностные загрязнения удаляют из малого объема путем передавливания за счет разности уровней моющего раствора из средней, более чистой, части основного объема моющего раствора в нижнюю часть малого объема с расходом, не вызывающим перемешивания сливаемых поверхностных загрязнений малого объема. После окончания слива отстоявшийся поверхностный слой из малого объема направляют в среднюю часть основного объема моющего раствора.

В устройство для мойки изделий, содержащее камеру с размещенными в ней контурами промывки для подачи моющего раствора на изделия, расположенную под камерой ванну для моющего раствора, оснащенную фильтрующими элементами и насосом для подачи моющего раствора в контуры промывки, а также контур сдува поверхностного слоя с загрязнениями с наклонными соплами, подключенный к сети сжатого воздуха и закрепленный на одной из стенок ванны, и сливной лоток, дополнительно введены бак для отстаивания поверхностного слоя с загрязнениями и рециркуляционный насос. При этом на стенке ванны, противоположной стенке, где установлен контур сдува, закреплен узел сбора поверхностного слоя с загрязнениями, состоящий из наклонных коллекторов, на которых равномерно закреплены воронки, снабженные решетчатыми шайбами, установленные на одинаковом расстоянии относительно уровня моющего раствора в ванне с возможностью регулирования по высоте. Наклонные коллекторы соединены через тройник и запорный вентиль с трубопроводом, подключенным к нижней части бака для отстаивания поверхностного слоя с загрязнениями. Нижняя часть бака соединена со средней частью ванны двумя трубопроводами, каждый из которых оснащен запорным и регулируемым вентилями, причем рециркуляционный насос расположен на одном из этих трубопроводов между запорным и регулируемым вентилями, его нагнетательный патрубок направлен в сторону ванны, а сливной лоток установлен на одной из стенок бака для отстаивания поверхностного слоя с загрязнениями.

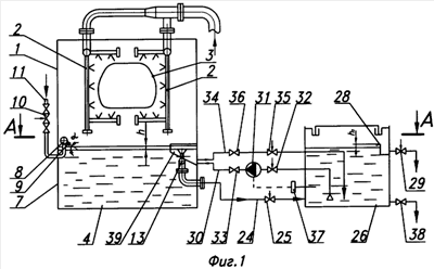
На фиг.1 показано устройство для мойки изделий, поперечное сечение, на фиг.2 – разрез А-А на фиг.1; на фиг.3 – узел сбора загрязнений; на фиг.4 – разрез Б-Б на фиг.3; на фиг.5 – вид В на фиг.4.

Устройство для мойки изделий содержит камеру 1 (фиг.1) с размещенными в ней контурами 2 промывки для подачи моющего раствора на изделия 3, расположенную под камерой 1 ванну 4 для основного объема моющего раствора, оснащенную фильтрующими перегородками 5 (фиг.2), установленными в зоне всасывания насоса 6, подающего раствор на контуры 2 промывки. На стенке 7 ванны 4 установлен контур сдува 8 с соплами 9, направленными под углом к поверхности раствора, подключенный через автоматический узел 10 подачи воздуха к магистрали 11 сжатого воздуха. На противоположной стенке 12 ванны 4 установлен узел 13 сбора поверхностного слоя с загрязнениями (фиг.3), состоящий из ряда воронок 14 (фиг.4), снабженных решетчатыми шайбами 15, позволяющих равномерно сливать поверхностный слой с загрязнениями. Воронки 14 закреплены на одинаковом расстоянии относительно уровня моющего раствора в ванне 4 с возможностью регулирования по высоте с помощью, например, сгонов 16, 17, 18 с контргайками 19, резьбовых штуцеров 20, равномерно расположенных на наклонных коллекторах 21, 22, соединенных через тройник 23 и трубопровод 24 с запорным вентилем 25 с дополнительным баком 26 для отстаивания поверхностного слоя с загрязнениями. При этом объем бака 26 выполнен меньше объема ванны 4. Коллекторы 21, 22 закреплены на стенке 12 с помощью, например, кронштейнов 27. Дополнительный бак 26 имеет на одной из стенок сливной лоток 28, связанный через запорный вентиль 29 со сливом, например с канализацией. Кроме того, нижняя часть бака 26 соединена со средней частью ванны 4 первым трубопроводом 30, оснащенным рециркуляционным насосом 31, расположенным между запорным 32 и регулируемым 33 вентилями, при этом нагнетательный патрубок насоса 31 направлен в сторону ванны 4, а также вторым трубопроводом 34, оснащенным аналогично вентилями: запорным 35 и регулируемым 36. Бак 26 имеет регулятор уровня 37, сблокированный с рециркуляционным насосом 31, а также спускной вентиль 38. При выполнении ванны 4 крупногабаритной она может иметь ребра жесткости 39.

Устройство для мойки изделий работает следующим образом.

Насос 6 подает в контур 2 промывки моющий раствор для промывки изделий 3. Забор моющего раствора осуществляется через фильтрующие перегородки 5 ванны 4 для основного объема моющего раствора, расположенной под камерой 1. Стекающий с изделия загрязненный моющий раствор поступает опять в ванну 4. Удаление поверхностных загрязнений, например масла или других легких фракций, производят во время остановки устройства и после отстаивания основного моющего раствора в ванне 4, когда легкие загрязнения всплывут на его поверхность или во время работы устройства, если легкие загрязнения находятся на поверхности раствора. Вентили 25, 32, 35 и 38 должны быть закрыты. Воронки 14 узла 13 сбора поверхностного слоя с загрязнениями предварительно установлены на расстояние «h» от поверхности основного моющего раствора ванны 4 с помощью, например, сгонов 16, 17, 18, ввертываемых в резьбовые штуцеры 20 коллекторов 21, 22 и фиксируемых контргайками 19. Величина «h» подобрана таким образом, чтобы при переливе поверхностного слоя с загрязнениями в дополнительный бак 26 максимальный уровень раствора в последнем был ниже края лотка 28 на величину h1=20÷40 мм. После всплытия легких фракций загрязнений на поверхность основного моющего раствора включают автоматический узел 10 подачи сжатого воздуха к контуру сдува 8, оснащенного соплами 9, направленными под углом =5°÷15(к поверхности моющего раствора. Одновременно с этим открывают запорный вентиль 25 на трубопроводе 24, который связывает узел 13 сбора поверхностного слоя с загрязнениями с дополнительным баком 26. Сжатый воздух, выходя из сопел 9, сгоняет поверхностный слой с загрязнениями, например, из масла или других легких фракций к воронкам 14, откуда он через коллекторы 21, 22, тройник 23, трубопровод 24 с вентилем 25 поступает в дополнительный бак 26. После этого вентиль 25 закрывают, отключают узел 10 подачи сжатого воздуха и в дополнительном баке 26 начинается процесс отстаивания, а устройство для мойки может продолжать работу по промывке изделий.

После завершения процесса отстаивания, что наблюдается визуально или определяется опытным путем в процессе работы, открывают вентили 29 и 35, 36 трубопровода 34, соединяющего среднюю часть ванны 4 с наиболее чистым моющим раствором и нижнюю часть бака 26, и за счет разности уровней основного моющего раствора в ванне 4 и поверхностного слоя с загрязнениями в баке 26 передавливают моющий раствор из ванны 4 в бак 26, при этом уровень в баке 26 поднимается и вновь образовавшиеся при отстаивании загрязнения переливаются в лоток 28 и далее через вентиль 29 сливаются. При этом вентиль 36 настроен таким образом, чтобы расход моющего раствора, пропускаемый им из ванны 4, не вызывал перемешивания сливаемых из бака 26 загрязнений. Окончание слива загрязнений определяется визуально или опытным путем, после чего вентили 29 и 35 закрывают.

Затем открывают вентили 32, 33 на трубопроводе 30, который соединяет нижнюю часть бака 26 со средней, наиболее чистой, частью ванны 4, включают рециркуляционный насос 31 и перекачивают отстоявшийся поверхностный слой из бака 26 в среднюю часть ванны 4. При достижении минимального уровня раствора в баке 26 срабатывает реле уровня 37 и рециркуляционный насос 31 выключается.

При выполнении вентилей 25, 29, 32, 35 с электроприводом и установке системы управления очистка моющего раствора от загрязнений может производиться в автоматическом режиме.

Изобретение позволяет значительно улучшить качество очистки и, следовательно, увеличить срок использования моющего раствора, уменьшить его потери, повысить качество мойки изделий, при необходимости регенерировать и повторно использовать выведенные из раствора масла и другие легкие загрязнения. Перелив поверхностного слоя с загрязнениями моющего раствора в конечной фазе сдувания воздухом из ванны в бак для отстаивания позволяет значительно сократить потери моющего раствора, повысить качество его очистки, что особенно важно для обработки агрегатов, например кузовов автомобилей, ванны для моющего раствора которых имеют поверхность до 80 м2, а загрязненный слой имеет относительно небольшой размер по высоте.

Слив поверхностных загрязнений после отстаивания в канализацию или на переработку путем передавливания раствора из средней, более чистой, части ванны в нижнюю часть бака за счет разности уровней растворов в них и с расходом, не вызывающим перемешивание сливаемых загрязнений в баке, позволяет производить данную операцию без энергетических затрат и повысить качество очистки моющего раствора. Направление очищенного раствора из бака в среднюю часть ванны позволяет повысить качество промывки изделий, т.к. именно из средней части ванны производится забор моющего раствора насосом, нагнетающим его в контуры промывки изделий.

Применение узла сбора поверхностного слоя с загрязнениями, состоящего из ряда воронок, снабженных решетчатыми шайбами, закрепленных на одинаковом расстоянии относительно уровня моющего раствора в ванне с возможностью регулирования по высоте с помощью, например, сгонов с контргайками и равномерно расположенных на наклонных коллекторах, соединенных через тройник и запорный вентиль с трубопроводом, подключенным к нижней части бака для отстаивания, позволяет наиболее эффективно собирать и направлять поверхностный слой с загрязнениями в бак для отстаивания за счет более точной установки воронок по высоте относительно поверхности моющего раствора, возможности быстрой перенастройки положения воронок относительно этого уровня, что особенно важно для ванн с большой поверхностью раствора или имеющих перегородки.

Соединение нижней части бака двумя трубопроводами со средней частью ванны, оснащенными каждый запорным и регулируемым вентилями, расположение рециркуляционного насоса на одном из этих трубопроводов между вентилями и нагнетательный патрубок насоса, направленный в сторону ванны, позволяет реализовать способ мойки с очисткой моющего раствора от поверхностных загрязнений.

Формула изобретения

1. Способ мойки изделий, заключающийся в воздействии на изделия моющим раствором, очистке стекающего с изделий загрязненного моющего раствора, включающей фильтрование и удаление поверхностного слоя с загрязнениями путем сдувания его с поверхности основного объема моющего раствора наклонными струями воздуха к месту слива, отличающийся тем, что поверхностный слой с загрязнениями перед сливом в конечной фазе сдувания его воздухом направляют из основного объема моющего раствора в малый объем, где осуществляют его отстаивание, после завершения которого вновь образующиеся поверхностные загрязнения удаляют из малого объема путем передавливания за счет разности уровней моющего раствора из средней, более чистой, части основного объема моющего раствора в нижнюю часть малого объема с расходом, не вызывающим перемешивания сливаемых поверхностных загрязнений малого объема, а после окончания слива отстоявшийся поверхностный слой из малого объема направляют в среднюю часть основного объема моющего раствора.

2. Устройство для мойки изделий, содержащее камеру с размещенными в ней контурами промывки для подачи моющего раствора на изделия, расположенную под камерой ванну для моющего раствора, оснащенную фильтрующими элементами и насосом для подачи раствора в контуры промывки, а также контур сдува поверхностного слоя с загрязнениями с наклонными соплами, подключенный к сети сжатого воздуха и закрепленный на одной из стенок ванны, и сливной лоток, отличающееся тем, что в него дополнительно введены бак для отстаивания поверхностного слоя с загрязнениями и рециркуляционный насос, при этом на стенке ванны, противоположной стенке, где установлен контур сдува, закреплен узел сбора поверхностного слоя с загрязнениями, состоящий из наклонных коллекторов, на которых равномерно закреплены воронки, снабженные решетчатыми шайбами, установленные на одинаковом расстоянии относительно уровня моющего раствора в ванне с возможностью регулирования по высоте, при этом наклонные коллекторы соединены через тройник и запорный вентиль с трубопроводом, подключенным к нижней части бака для отстаивания поверхностного слоя с загрязнениями, которая соединена со средней частью ванны двумя трубопроводами, каждый из которых оснащен запорным и регулируемым вентилями, причем рециркуляционный насос расположен на одном из этих трубопроводов между запорным и регулируемым вентилями, его нагнетательный патрубок направлен в сторону ванны, а сливной лоток установлен на одной из стенок бака для отстаивания поверхностного слоя с загрязнениями.

РИСУНКИ

Categories: BD_2318000-2318999