Патент на изобретение №2318613

Published by on




РОССИЙСКАЯ ФЕДЕРАЦИЯ



ФЕДЕРАЛЬНАЯ СЛУЖБА
ПО ИНТЕЛЛЕКТУАЛЬНОЙ СОБСТВЕННОСТИ,
ПАТЕНТАМ И ТОВАРНЫМ ЗНАКАМ
(19) RU (11) 2318613 (13) C1
(51) МПК

B08B3/02 (2006.01)

(12) ОПИСАНИЕ ИЗОБРЕТЕНИЯ К ПАТЕНТУ

Статус: по данным на 08.11.2010 – прекратил действие, но может быть восстановлен

(21), (22) Заявка: 2006115149/12, 02.05.2006

(24) Дата начала отсчета срока действия патента:

02.05.2006

(46) Опубликовано: 10.03.2008

(56) Список документов, цитированных в отчете о
поиске:
RU 2265490 С1, 10.12.2005. SU 856594 А, 23.08.1981. US 4277290 А, 07.07.1981.

Адрес для переписки:

460795, г.Оренбург, ул. Челюскинцев, 18, ОГАУ

(72) Автор(ы):

Филатов Михаил Иванович (RU),
Подлевских Александр Павлович (RU)

(73) Патентообладатель(и):

ФГОУ ВПО “Оренбургский государственный аграрный университет” (RU)

(54) ДВУХУРОВНЕВАЯ МОЕЧНАЯ МАШИНА

(57) Реферат:

Изобретение относится к машиностроению и может быть использовано для обеспечения сбережения теплоты при неравномерном ее получении или расходовании, в частности при мойке деталей и узлов машин. Изобретение обеспечивает повышение эффективности использования теплоты моющего средства, повышение производительности и надежности моющей машины. Машина содержит сварную емкость с крышкой, стенки с тепловой изоляцией, стол-сортовик, поднимающийся и опускающийся телескопической стрелой на необходимую высоту, форсунки, расположенные в крышке, моечную ванну, душевую камеру, диафрагму, состоящую из лепестков, трубопровод и кольцевые пазы. При этом полость между сварной емкостью и стенками с тепловой изоляцией заполнена веществом, аккумулирующим тепло, а стол-сортовик выполнен из полых кольцевых дисков, заполненных изменяющим свое агрегатное состояние теплоаккумулирующим составом. 2 ил.

Изобретение относится к машиностроению и может быть использовано для обеспечения сбережения теплоты при неравномерном ее получении или расходовании, в частности при мойке деталей и узлов машин.

Известно устройство для очистки изделий, содержащее ванну, в нижней части которой установлен трубопровод, кольцевые пазы. [1] (аналог).

Однако это устройство не обеспечивает эффективного использования теплоты моющего средства, моющее средство не проходит через загрузку, если обрабатываемый материал насыпан в свал, наблюдается простой машины при сушке.

Известна двухуровневая моечная машина с дефектоскопом, содержащая сварную емкость с крышкой, стенки с тепловой изоляцией, стол-сортовик, поднимающийся и опускающийся телескопической стрелой, форсунки, расположенные в крышке, моечную ванну, душевую камеру, диафрагму, состоящую из лепестков. [2] (прототип).

К недостаткам вышеперечисленных моечных машин можно отнести то, что неэффективно используется теплота, передаваемая от моющего средства к очищаемым деталям, узлам и конструктивным элементам моечных машин. Наблюдается простой машины при остывании и сушке деталей.

Задачей изобретения является повышение эффективности использования теплоты моющего средства, повышение производительности и надежности моющей машины, использование различных моющих средств при мойке без слива моющего средства из ванны.

Поставленная задача решается так, что двухуровневая моечная машина, содержащая сварную емкость с крышкой, стенки с тепловой изоляцией, стол-сортовик, поднимающийся и опускающийся телескопической стрелой на необходимую высоту, форсунки, расположенные в крышке, моечную ванну, душевую камеру, диафрагму, состоящую из лепестков, трубопровод, кольцевые пазы, отличающаяся тем, что полость между сварной емкостью и стенками с тепловой изоляцией заполнена веществом, аккумулирующим тепло, кроме того, стол-сортовик выполнен из полых кольцевых дисков, заполненных изменяющим свое агрегатное состояние теплоаккумулирующим составом.

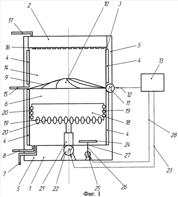
На фиг.1 – разрез двухуровневой моечной машины; на фиг.2 – вид сверху.

Двухуровневая моечная машина состоит: из основания 1, крышки 2, сварной емкости 3 с полой емкостью 4, содержащей вещество, аккумулирующее тепло, теплоизоляционной оболочки 5, моечной ванны 6, которая внизу соединена с трубопроводом для слива отработанного моющего средства 7 и с трубопроводом для подачи чистого моющего средства 8, диафрагмы 9, которая выполнена из отдельных лепестков 10, которые получают привод от двигателя 11, соединенного кабелем 12 с блоком управления 13. Над диафрагмой 9 расположена душевая камера 14, с трубой для слива жидкости 15, с распылителями 16, расположенными на внутренней стороне крышки 2, к которым подается жидкость через трубопровод 17. Внутри моечной машины находится стол-сортовик 18, состоящий из кольцевых дисков 19, заполненных изменяющим свое агрегатное состояние теплоаккумулирующим составом и кольцевых пазов 20. Стол-сортовик 18 установлен на телескопической стреле 21, которая получает привод от двигателя 22, соединенного с блоком управления 13 кабелем 23. На дне моечной ванны 6 установлен активатор роторного типа 24, который приводится во вращение двигателем 25, через вал 26. Между дном ванны 6 и валом 26 находится уплотнитель 27. Двигатель 25 соединен с блоком управления 13 кабелем 28.

Двухуровневая моечная машина работает так.

На стол-сортовик 18 укладываются загрязненные детали. Закрывают крышку 2. Включают в работу машину. На первой стадии происходит очистка деталей паром, поступающим в душевую камеру через распылители 16, при этом происходит аккумулирование тепла в кольцевых дисках 19, заполненных изменяющим свое агрегатное состояние теплоаккумулирующим составом. На второй стадии стол-сортовик 18 с деталями погружаются в моечную ванну 6, с моющим средством, которое поступает через трубопровод 7. Ванна с моющим средством приводится в турбулентное движение активатором роторного типа 23, моющее средство проходит через кольцевые пазы 20 и омывает детали. При этом моечная ванна 6 отделена от душевой камеры 14 диафрагмой 9, что позволяет сократить потери тепла и предотвратить смешивание моющих средств, используемых в камере и ванной. Слив отработанной моющей жидкости из душевой камеры 14 происходит через трубопровод 15.

Повышение эффективности использования теплоты моющего средства, повышение производительности и надежности моющей машины происходит за счет того, что теплота, полученная от моющего средства веществом, аккумулирующим тепло, и полыми кольцевыми дисками, заполненными изменяющим свое агрегатное состояние теплоаккумулирующим составом, используется для нагрева следующей партии деталей и узлов, при этом часть теплоты передается моющему средству из душевой камеры в моечную ванну через стол-сортовик.

Источники информации

1. А.с. СССР №1627287, кл. В08В 3/04, 15.02.91. Бюл. №6.

2. Патент РФ №2265490, кл. В08В 3/02, 10.12.05. Бюл. №34.

Формула изобретения

Двухуровневая моечная машина, содержащая сварную емкость с крышкой, стенки с тепловой изоляцией, стол-сортовик, поднимающийся и опускающийся телескопической стрелой на необходимую высоту, форсунки, расположенные в крышке, моечную ванну, душевую камеру, диафрагму, состоящую из лепестков, трубопровод, кольцевые пазы, отличающаяся тем, что полость между сварной емкостью и стенками с тепловой изоляцией заполнена веществом, аккумулирующим тепло, кроме того, стол-сортовик выполнен из полых кольцевых дисков, заполненных изменяющим свое агрегатное состояние теплоаккумулирующим составом.

РИСУНКИ


MM4A – Досрочное прекращение действия патента СССР или патента Российской Федерации на изобретение из-за неуплаты в установленный срок пошлины за поддержание патента в силе

Дата прекращения действия патента: 03.05.2008

Извещение опубликовано: 10.11.2009 БИ: 31/2009


Categories: BD_2318000-2318999