|
|
(21), (22) Заявка: 2006119617/12, 05.06.2006
(24) Дата начала отсчета срока действия патента:
05.06.2006
(46) Опубликовано: 10.03.2008
(56) Список документов, цитированных в отчете о поиске:
RU 2228224 С2, 10.05.2004. RU 2228800 С2, 20.05.2004. RU 2196541 C1, 20.01.2003. RU 2174051 C1, 27.09.2001. GB 2155554 A, 25.09.1985. GB 2147483 А, 15.05.1985. FR 2529103 А2, 30.12.1983. DE 343810 A, 18.10.1984.
Адрес для переписки:
346428, Ростовская обл., г. Новочеркасск, ул. им. Ф. Энгельса, 42, кв.9, О.Н. Моисееву
|
(72) Автор(ы):
Моисеев Олег Николаевич (RU)
(73) Патентообладатель(и):
Моисеев Олег Николаевич (RU)
|
(54) УСТРОЙСТВО ОБРАЗУЮЩЕЕ И РАССЕИВАЮЩЕЕ АЭРОЗОЛЬ
(57) Реферат:
Изобретение относится к сельскому хозяйству, ветеринарной медицине и санитарии, конкретно к устройствам, преобразующим нужного состава раствор в частицы аэродинамической системы при обработках животных и помещений аэрозолями. Сущность изобретения заключается в том, что в устройстве коническая шестерня электродвигателя установлена с возможностью приведения во вращение основного вала с коническими шестернями, находящимися в постоянном зацеплении с такими же шестернями верхнего и нижнего валов с эксцентриками. Эксцентрик верхнего вала снабжен несколькими одноразмерными кулачками, взаимодействующими с подпружиненным штоком поршня со скошенной головкой для выдавливания в смеситель из цилиндра через нижнее отверстие сжатого воздуха. Нижний эксцентрик имеет один кулачок, взаимодействующий с подпружиненным штоком поршня со скошенной головкой для выдавливания через верхнее отверстие из цилиндра раствор в смеситель. Основной вал вверху завершен скобой. Техническим результатом изобретения является широкое применение при обработках животных в небольших помещениях фермерских и индивидуальных хозяйств. 1 ил.
Предлагаемое изобретение относится к сельскому хозяйству, ветеринарной медицине и санитарии, конкретно к устройствам, преобразующим лечебный, дезинфицирующий или другого назначения раствор в частицы аэродинамической системы закрытого помещения при обработках животных и помещений.
По патенту РФ №2255815, М. кл. В06В 9/04, 2005 г. известно устройство, имеющее электродвигатель с верхним малооборотистым и нижним высокооборотистым валом, несущим крыльчатку-ветродуйку, обеспечивающую рассеивание растворов из двух емкостей по горизонту ступенчато или касательно-ступенчато, что обеспечивается шарнирным соединением емкостей с устройством.
Цель изобретения – создание устройства, превращающего нужного состава раствор в частицы, рассеиваемые по кругу воздуха помещения вращающимся вокруг своей оси устройством.
Поставленная цель достигается тем, в устройстве, образующем и рассеивающем аэрозоль, содержащем электродвигатель, коническая шестерня электродвигателя установлена с возможностью приведения во вращение основного вала с коническими шестернями, находящимися в постоянном зацеплении с такими же шестернями верхнего и нижнего валов с эксцентриками, причем эксцентрик верхнего вала снабжен несколькими одноразмерными кулачками, взаимодействующими с подпружиненным штоком поршня со скошенной головкой для выдавливания в смеситель из цилиндра через нижнее отверстие сжатого воздуха, нижний эксцентрик имеет один кулачок, взаимодействующий с подпружиненным штоком поршня со скошенной головкой для выдавливания через верхнее отверстие из цилиндра раствор в смеситель, а основной вал вверху завершен скобой.
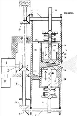
Устройство схематично изображено на чертеже. Оно имеет редукторного типа электродвигатель 1 с валом 2, несущим коническую шестерню 3, находящуюся в постоянном зацеплении с такой же шестерней 4 основного вала 5. Внизу он снабжен конической шестерней 6, находящейся в постоянном зацеплении с такой же шестерней 7 вала 8 с эксцентриком, снабженным одним кулачком 9, вверху – конической шестерней 10, постоянно зацепленной с такой же шестерней 11 вала 12, несущих эксцентрик с несколькими, но не менее двух, одноразмерными кулачками 13, взаимодействующими с подпружиненным штоком 14 поршня 15 со скошенной головкой, перемещающегося обратно-поступательно в цилиндре 16, имеющем боковое 17 и нижнее 18 отверстия. Нижний кулачок 9 взаимодействует с подпружиненным штоком 19 поршни 20 нижнего цилиндра 21, имеющего боковое 22 и верхнее 23 отверстия.
Позицией 24 обозначен смеситель, 25 – емкость для раствора с горловиной 26, 27 – пульт управления, 28 – скоба.
Работа устройства. Скобой 28 устройство прикрепляют к потолку помещения так, чтобы предотвращалось ee смещение, через горловину 26 емкость 25 наполняют раствором нужного состава, пульту 27 задают программу работы, например время включения и время выключения.
В заданное время пульт 27 включает в работу редукторного типа электродвигатель 1. Вращение его вала 2 через конические шестерни 3 и 4 передается на основной вал 5. Его коническая шестерня 6 начинает вращать такую же шестерню 7 и вал 6. Кулачок 9 его эксцентрика нажимает на подпружиненный шток 19 и смещает вверх поршень 20 скошенной головкой. В это время находящийся в цилиндре 21 раствор выжимается через отверстие 23 в смеситель 24. При вращении вала 8 кулачок 9 постепенно ослабляет давление, подпружиненный шток 19 с поршнем 20 смещаются вниз и при размещении скошенной головки ниже отверстия 22 в цилиндр 21, через отверстие 22 из емкости 25 устремляется раствор, зашедший сюда через отверстие 23 воздух выжимается обратно. При нажиме кулачка 9 шток 19 и поршень 20 начинают подниматься вверх и отверстие 22 перекрывается, поршень 20 выжимает раствор через отверстие 23 в смеситель 24.
Вращающаяся шестерня 10 вала 6 приводит во вращение такую же шестерню 11 вала 12 с эксцентриком. Его очередной кулачок 13 нажимает на подпружиненный шток 14 и смещает поршень 15 вниз. Он выжимает под давлением воздух из цилиндра 16 через нижнее отверстие 18 в смеситель 24, где превращает поступающий сюда из цилиндра 21 раствор в мелкие частицы.
При смещении кулачка 13 шток 14 и поршень 15 под действием пружины поднимаются вверх. В это время часть раствора через отверстие 17 засасывается в цилиндр 16, увлажняя его стенки. При размещении головки поршня 15 выше отверстия 17 воздух мгновенно заполняет полость цилиндра 16.
При вращении вала 12 кулачок 13 начинает оказывать давление на подпружиненный шток 14, смещая его и поршень 15 вниз. Сжатый воздух из цилиндра 16 через отверстие 18 поступает в смеситель 24.
Ввиду того, что скоба 26 закреплена, все устройство начинает вращаться вокруг своей вертикальной оси и рассеивать частицы аэрозоля по кругу воздуха помещения.
Техническим результатом изобретения является широкое применение при обработке животных в небольших помещениях фермерских и индивидуальных хозяйств, а также в ветеринарии и медицине.
Формула изобретения
Устройство, образующее и рассеивающее аэрозоль, содержащее электродвигатель, отличающееся тем, что коническая шестерня электродвигателя установлена с возможностью приведения во вращение основного вала с коническими шестернями, находящимися в постоянном зацеплении с такими же шестернями верхнего и нижнего валов с эксцентриками, причем эксцентрик верхнего вала снабжен несколькими одноразмерными кулачками, взаимодействующими с подпружиненным штоком поршня со скошенной головкой для выдавливания в смеситель из цилиндра через нижнее отверстие сжатого воздуха, нижний эксцентрик имеет один кулачок, взаимодействующий с подпружиненным штоком поршня со скошенной головкой для выдавливания через верхнее отверстие из цилиндра раствора в смеситель, а основной вал вверху завершен скобой.
РИСУНКИ
|
|