|
|
(21), (22) Заявка: 2003110921/03, 18.04.2001
(24) Дата начала отсчета срока действия патента:
18.04.2001
(30) Конвенционный приоритет:
12.09.2000 (пп.1-3) US 09/659,368
(43) Дата публикации заявки: 10.12.2004
(46) Опубликовано: 10.03.2008
(15) Информация о коррекции:
Версия коррекции № 1 (W1 C2)
(48) Коррекция опубликована:
20.10.2008 Бюл. № 29/2008
(56) Список документов, цитированных в отчете о поиске:
US 5673861 А, 07.10.1997. SU 937012 А, 23.06.1982. RU 2089293 C1, 10.09.1997. RU 2087195 C1, 20.08.1997. GB 1332422 А, 03.10.1973. GB 218777 А, 08.04.1987. DE 2353371 А, 07.11.1974. DE 2631478 А1, 19.01.1978.
(85) Дата перевода заявки PCT на национальную фазу:
14.04.2003
(86) Заявка PCT:
US 01/12589 (18.04.2001)
(87) Публикация PCT:
WO 02/22270 (21.03.2002)
Адрес для переписки:
127055, Москва, а/я 11, пат.пов. Н.К.Попеленскому, рег. № 31
|
(72) Автор(ы):
ХЕКСТ Билл Р. (US)
(73) Патентообладатель(и):
Позитив Импэкт Уэйст Солушенс, Инк. (US)
|
(54) УСТРОЙСТВО ДЛЯ ПЕРЕРАБОТКИ МЕДИЦИНСКИХ ОТХОДОВ
(57) Реферат:
Изобретение относится к области обработки и захоронения медицинских отходов. Устройство содержит первый вращающийся режущий узел, имеющий первые вращающиеся зубья, и первый неподвижный режущий узел, имеющий первые неподвижные зубья, причем первые вращающиеся зубья установлены между первыми неподвижными зубьями с радиальным зазором между ними с возможностью их совместного действия и ввода медицинских отходов, каждый вращающийся зуб имеет заостренную режущую поверхность, наклоненную к центру в направлении вращения и по отношению к неподвижным режущим зубьям. Режущая поверхность установлена в плоскости вращения зуба под углом к траектории его вращения с возможностью захватывания медицинских отходов и приложения вдавливающего усилия к материалу отходов между зубьями при вхождении и движении каждого вращающегося зуба в радиальном зазоре между вращающимся зубом и углублением между каждой парой смежных неподвижных зубьев, расположенных напротив соответствующего вращающегося зуба. Изобретение повышает степень измельчения медицинских отходов. 7 з.п. ф-лы, 8 ил.
Область техники, к которой относится изобретение
Настоящая заявка относится к области обработки и захоронения медицинских отходов. В частности, настоящая заявка касается нового и усовершенствованного устройства для переработки медицинских отходов до состояния, при котором медицинские отходы становятся нераспознаваемыми, в результате воздействия стерилизатора, а также перемалывания, измельчения и разрезания отходов.
Уровень техники
Больницы и другие учреждения вынуждены избавляться от медицинских отходов, которые, в значительной мере, состоят из инфицированных материалов, включая шприцы, иглы шприцов, перевязочные материалы, металлические предметы, даже больничные халаты, простыни и одеяла. Из-за различного характера предметов, попадающих в медицинские отходы для утилизации, устройство должно позволять измельчать все отходы настолько, чтобы сделать медицинские отходы, пригодными для захоронения или утилизации иным способом в виде неинфицированных остатков медицинских отходов. В патенте США №5,673,861 делается попытка решения указанной задачи, однако в описанное в нем устройство имеет серьезные недостатки, заключающиеся, в частности, в заедании и заклинивании вращающихся зубьев волокнистыми материалами, попадающими между зубьями. Настоящая заявка относится к новому и усовершенствованному устройству для переработки медицинских отходов, которое содержит усовершенствования по сравнению с устройством в соответствии с патентом США №5,673,861.
Сущность изобретения
В настоящем изобретении предлагается новое усовершенствованное устройство для переработки (преобразования) неуплотненных медицинских отходов в остатки медицинских отходов с размером, при котором медицинские отходы становятся нераспознаваемыми для захоронения на свалке или иным подобным образом. В соответствии с ниже раскрытыми признаками настоящего изобретения достигается возможность измельчения и размалывания отходов медицинских материалов с различной физической структурой до размеров, при которых эти материалы становятся нераспознаваемыми с минимизацией остановок, вызванных заклиниванием вращающихся зубьев волокнами материала.
Отходы режутся, измельчаются и перемалываются вращающимися зубьями на вращающемся валу, которые действуют совместно с неподвижными зубьями в корпусе. Один или более из вращающихся зубьев имеют специальную конструкцию и расположение, благодаря которым они могут двигаться наклоненными под углом к неподвижному зубу и в одной плоскости с ним, приобретая повышенную способность резать, измельчать и перемалывать отходы между вращающимися и неподвижным зубьями. Во время описанного процесса отходы одновременно переворачиваются и дезинфицируются, смешиваясь и реагируя с стерилизатором (патентованным средством).
Для решения задач настоящего изобретения предлагается устройство для переработки неуплотненных медицинских отходов в стерилизованные безопасные остатки отходов, содержащее первый вращающийся режущий узел, имеющий первые вращающиеся зубья, и первый неподвижный режущий узел, имеющий первые неподвижные зубья, причем первые вращающиеся зубья установлены между первыми неподвижными (невращающимися) зубьями с радиальным зазором между ними с возможностью их совместного действия и ввода медицинских отходов. Каждый вращающийся зуб имеет в основном заостренную режущую поверхность, которая лежит в плоскости его вращения с расположением наклоненным под углом к траектории его вращения и наклонена внутрь к центру в направлении вращения и по отношению к неподвижным режущим зубьям с возможностью захватывания медицинских отходов и приложения сильного вдавливающего усилия к материалу отходов между зубьями при вхождении и движении каждого вращающегося зуба в радиальном зазоре между вращающимся зубом и углублением между каждой парой смежных неподвижных зубьев, расположенных напротив каждого вращающегося зуба.
Предпочтительная величина упомянутого угла наклона составляет от приблизительно 10° до приблизительно 45°.
В предпочтительном варианте выполнения изобретения вращающийся режущий узел содержит вытянутый вдоль вала ряд выровненных друг относительно друга зубьев. Вращающийся режущий узел может иметь несколько рядов вращающихся зубьев, установленных через интервалы по окружности продольного вала и входящих между расположенными напротив зубьями, установленными также по окружности и через интервалы.
Предпочтительно, чтобы устройство содержало втулку, установленную на упомянутом валу, шнек, сформированный на упомянутой втулке с возможностью проталкивания медицинских отходов в продольном направлении при захвате упомянутыми вращающимися зубьями медицинских отходов с приложением давления к режущим зубьям и оказания перемалывающего, режущего и измельчающего воздействия на медицинские отходы.
В предпочтительном варианте выполнения устройство содержит второй вращающийся режущий узел и второй неподвижный режущий узел, выполненные в основном наподобие упомянутых первого вращающегося режущего узла и первого неподвижного узла, но имеющие меньшие зазоры между зубьями вдоль своей длины по сравнению с зазорами между первыми вращающимися и неподвижными зубьями, причем вторые вращающийся режущий узел и неподвижный режущий узел установлены с возможностью приема прошедших предварительное перемалывание отходов с дополнительным снижением размеров частиц отходов. Зазор между зубьями первых вращающихся и неподвижных зубьев составляет от 12,7 мм до приблизительно 19,1 мм, а зазор между зубьями вторых вращающихся и неподвижных зубьев находится в интервале от приблизительно 19,1 мм до приблизительно 6,4 мм.
Устройство может также содержать вытянутый в радиальном направлении опорный элемент, прикрепленный к упомянутой выше втулке, причем один из вращающихся режущих узлов прикреплен к опорному элементу с возможностью снятия.
Перечень фигур чертежей и иных материалов
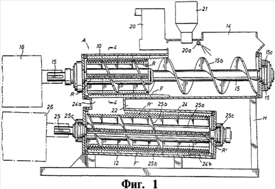
На Фиг.1 изображено сбоку, частично в виде сечения, двухступенчатое устройство в соответствии с настоящим изобретением.
На Фиг.2 представлен вид с торца устройства, показанного на Фиг.1, изображающий шнек, который может быть использован для выталкивания переработанных отходов из устройства.
На Фиг.3 в увеличенном виде изображена часть устройства, представленного на Фиг.1, более подробно показывающая взаимное расположение зубьев в верхней камере предварительного измельчения устройства.
На Фиг.4 представлен вид сечения по линии 4-4 на Фиг.3, показывающий детали верхней камеры предварительного измельчения усовершенствованного устройства.
На Фиг.5 представлен в увеличенном виде фрагмент Фиг.4, показывающий один из вращающихся зубьев во взаимодействии с одним из неподвижных зубьев в устройстве.
На Фиг.6 представлено сечение главной измельчительной камеры, в которую поступают отходы из расположенной сверху камеры предварительного измельчения для окончательной переработки отходов.
На Фиг.7 представлен вид сечения по линии 7-7 на Фиг.6, который показывает взаимодействующие зубья в главном измельчительном устройстве, показанном на Фиг.6; и
На Фиг.8 представлен в увеличенном виде фрагмент Фиг.7, показывающий взаимодействие вращающегося и неподвижного зубьев устройства в главной измельчительной камере.
Сведения, подтверждающие возможность осуществления изобретения
На чертежах буква А относится в целом к устройству в соответствии с настоящим изобретением, которое содержит камеру или корпус (верхний) 10 предварительного измельчения вместе со смежной с ним главной измельчительной камерой или корпусом 12. Корпус 10 имеет входное отверстие 14, в которое может быть загружены неуплотненные медицинские отходы любого происхождения. Сквозь корпус 10 проходит продольный вал 15, который соединен с приводным устройством 16, например электромотором мощностью 60 л.с., приспособленным для продолжительного режима работы. На разрезе по линии 4-4 (Фиг.4) показано, что вал 15 имеет втулку 15а, которая зафиксирована на валу 15 посредством шпонки 15е через шпоночные пазы 15f и 15g. Втулка 15а расположена с левого конца вала 15, как это показано на Фиг.1 и 3. Таким образом, втулка 15а укреплена на левом конце вала 15, и может вращаться вместе с ним, благодаря шпонке 15е, вставленной в шпоночные пазы 15f и 15g. Шнек 15b приварен ко втулке 15а и может вращаться совместно с валом 15, осуществляя подачу неуплотненных медицинских отходов в корпус справа налево, как показано для корпуса 10 на Фиг.1. К корпусу 10 на его левом конце прикреплены один или несколько неподвижных перемалывающих зубьев F, расположенных по окружности, как хорошо видно на Фиг.4. Неподвижные зубья F взаимодействуют с одним или более вращающимися зубьями R, как будет более подробно пояснено ниже. Вал 15 по обоим концам установлен в соответствующих подшипниках 15с, что должно быть понятно специалисту.
В корпус 10 через форсунку 20а подается профильтрованная вода от источника профильтрованной воды. Кроме этого, от источника 21 в корпус 10 подводится дезинфицирующий реагент, который либо распыляется, либо под действием силы тяжести подается через загрузочный люк 21 для соприкосновения с материалом отходов, которые вводятся в корпус 10 через входное отверстие 14. Медицинские отходы продавливаются между неподвижными зубьями F и вращающимися зубьями R посредством шнека 15b, в результате чего после перемалывания, измельчения и/или разрезки в корпусе 10, отходы становятся мельче. Этот процесс будет пояснен более подробно. Отходы из корпуса 10 через промежуточное отверстие 22 выводятся в нижний корпус 24 главного измельчительного устройства, в котором также имеется вал 25, проходящий сквозь корпус 24, приводимый в движение другим приводным устройством 26, например электромотором мощностью 60 л.с. В предпочтительном варианте выполнения направление движения отходов в корпусе 24, таким образом, противоположно, или обратно направлению движения в корпусе 10, как это показано на Фиг.1. На валу 25 с использованием обычных шпонки и шпоночного паза, например шпонки 26 и шпоночных пазов 26а и 26b, закреплена втулка 25а (Фиг.7). К втулке 25а приварен, либо прикреплен другим способом шнек 25b, для обеспечения продавливания отходов в продольном направлении к взаимодействующим неподвижным зубьям F’, прикрепленным к корпусу 12, и вращающимся зубьям R’, закрепленным на втулке 25а. В предпочтительном варианте выполнения перерабатываемые отходы выводятся из нижнего правого конца корпуса 24 через соответствующее выпускное отверстие 24b (показано пунктирными линиями) в нижней части корпуса 24. Кроме того, в предпочтительном варианте выполнения корпус 24 наклонен вниз в направлении выпускного отверстия 24b для облегчения вывода из него перерабатываемых отходов. Вал 25с обоих концов закреплен в обычных подшипниках 25с. Кроме того, в качестве конструктивной основы устройства А, а в предпочтительном варианте выполнения и для ограждения его, используется подходящая рама Н или внешний кожух (не показан).
Обратимся теперь к Фиг.2, на которой показан разгрузочный шнек 32, имеющий обычную лопасть 32а шнека, расположенную в цилиндре 32b, в результате чего шнек 32 приспособлен для приема переработанных отходов, выводимых из выпускного отверстия 24а к нижнему концу 32с шнека 32, а указанные отходы перемещаются или поднимаются вверх к разгрузочному отверстию 32d для транспортировки отходов в любое подходящее место для окончательной доставки на свалку. В альтернативном варианте шнек 32 может быть расположен справа, как показано пунктирными линиями 32f.
На Фиг.4-6 показан усовершенствованный вариант в увеличенном масштабе. Как показано на Фиг.4, несколько опорных элементов в виде брусьев 30 (в предпочтительном варианте выполнения используется четыре бруса) размещены по окружности втулки 15а вала на равных расстояниях, и прикреплены к ней путем приваривания или другим способом крепления внутренних концов 31 к втулке 15а. Как хорошо видно на Фиг.3, в предпочтительном варианте выполнения брусья 30 установлены продольными рядами, и на Фиг.3 в каждом ряду показано по четыре бруса 30, причем торцевые грани 30а смежных брусьев упираются друг в друга. Также, как показано на Фиг.3, в предпочтительном варианте выполнения на каждом опорном элементе имеется ряд вращающихся зубьев R, причем число зубьев R соответствует числу неподвижных зубьев F в корпусе 10, которые в предпочтительном варианте выполнения также образуют узел, содержащий брусья 40, торцы 40а которых упираются друг в друга между брусьями 40. Зубья R и F входят друг в друга с радиальным зазором или интервалом между вращающимися зубьями R и неподвижными зубьями F, достаточным для того, чтобы в этот зазор или интервал вдавливался материал отходов для измельчения, перемалывания и/или разрезания материала отходов, например ткани или подобного этому, в мелкие частицы или куски для уплотнения при утилизации, как уже отмечалось выше.
Как показано на Фиг.3 и 5, каждый зуб R имеет приблизительно V-образную форму 50, причем заостренный конец (режущая поверхность) 50х каждого зуба R входит, но с небольшим радиальным зазором, в приблизительно V-образную канавку или углубление между смежными неподвижными зубьями F, как будет показано далее. Аналогично, каждый заостренный конец 52 каждого зуба F входит, но с небольшим радиальным зазором заданной величины, в канавку или углубление между смежными вращающимися зубьями R.
Каждый зуб R, являющийся в предпочтительном варианте выполнения одним из шести зубьев, расположенных вместе в ряд, как показано на Фиг.3, имеет разъемное крепление к одному из брусьев 30, осуществляемое несколькими болтами (винтами) 55 с резьбой 55а, головка которых 55b имеет диаметр больший, чем стержень болта 55. Длина каждой планки 55с (Фиг.3), на которой сделаны зубья 50, равна длине каждого бруса 30, причем каждая планка 55с, имеющая в предпочтительном варианте выполнения шесть зубьев 50, по отдельности закреплена болтами 55, которые ввинчены в брус 30 по имеющейся в каждом брусе 30 резьбе 30b (Фиг.5). Каждый болт 55 проходит сквозь просверленное отверстие 55d, имеющее расширение 55е для головки 55b болта увеличенного размера.
В настоящем изобретении в отличие от патента США №5,673,861, где каждый ряд зубьев R образует вращающийся режущий узел, расположенный параллельно неподвижным зубьям F, эти зубья установлены наклоненными под углом, как показано на Фиг.5, обеспечивающим наклон их заостренной режущей поверхности 50х к центру в направлении вращения (показано стрелкой) и по отношению к неподвижным зубьям F. За счет указанного наклона заостренной режущей поверхности 50х в направлении вращения и в сторону к центру вращения между зубьями R и неподвижными зубьями F образуется зазор, увеличивающийся в направлении вращения, и при вращении зубьев R относительно неподвижных зубьев F на неподвижном режущем узле они захватывают и вдавливают материал отходов между зубьями F и R, оказывая измельчающее, режущее и размалывающее воздействие, в результате чего физическая структура материалов отходов, например ткани одеял, простыней, одежды и др., находящихся в медицинских отходах, разрушается с образованием мелких остатков или частиц медицинских отходов при минимальном числе остановок. Подобный результат достигается при отсутствии, либо при минимуме, остановок, вызванных заеданием, либо заклиниванием вращающихся зубьев R волокнами материала между зубьями R и F, что являлось недостатком известного устройства.
Помимо этого, как отмечалось, в предпочтительном варианте выполнения каждая половина секции шнека 15b, приваренного к втулке 15а, имеет тот же продольный размер, что и один из брусьев 30, как показано на Фиг.3. Шнек 15b вместе с подвижными зубьями R при взаимодействии с неподвижными зубьями проталкивает материал отходов вперед в корпусе 10 между зубьями R и F.
Радиальный интервал или зазор между вращающимися зубьями R и неподвижными зубьями F, как показано на Фиг.5, может быть одним и тем же по всей длине зубьев на Фиг.3, либо может изменяться справа налево для усиления измельчающего воздействия на отходы по мере их прохождения налево, как показано на Фиг.3, при первичном измельчении, размалывании и разрезании в камере или корпусе 10 предварительного измельчения, как будет описано ниже. Кроме того, в предпочтительном варианте выполнения, зазор между зубьями 50 и 52 (Фиг.5) в корпусе 24 уменьшается вследствие того, что каждая секция зубьев R располагается ближе к противолежащей секции зубьев F, по мере продвижения отходов слева направо в корпусе 24, как более подробно описано ниже.
Кроме того, может изменяться величина косого угла , под которым установлен каждый зуб R, составляя в предварительном варианте выполнения от приблизительно 10° до приблизительно 45° между траекторией 50y движения зуба и его заостренной нижней поверхностью 50х, причем задняя кромка 50а каждого зуба 50 входит в радиальный зазор между двумя смежными зубьями 52а, как показано на Фиг.5.
Такое движение каждого зуба R по круговой траектории (Фиг.5) при перемещении каждого зуба R между двумя смежными зубьями F оказывает сильное разрубающее, растягивающее и разрывающее (разрезающее) воздействие на отходы, которое существенно усиливает измельчение особенно отходов из целлюлозных материалов.
Каждая секция зубьев F, имеющая в предпочтительном варианте выполнения шесть зубьев 52 на каждом брусе 40 между торцами 40а, прикреплена к корпусу 10 болтами (винтами) 60, ввинченными своей резьбой 60а в резьбы 52d. Между корпусом и зубьями F установлено уплотнительное кольцо 63. Каждая вращающаяся секция и секция неподвижных зубьев могут быть при желании сняты с корпуса 10 для замены. Для снятия зуба R с бруса 30 вывинчивается болт 55, а для снятия зуба F с корпуса 10 вывинчивается болт 60.
На Фиг.6-8 в увеличенном масштабе показаны части главного корпуса 24, но обозначения деталей корпуса 24 и его части, в основном, те же самые, что и на Фиг.1. Когда материал отходов перемалывается, измельчается и разрезается зубьями R, вращающимися относительно зубьев F, материал отходов подается шнеком 15b к отверстию 24а в левом конце корпуса 10, а затем в главный корпус 24, поступая в него с левого конца и двигаясь навстречу или в противоток, по сравнению с Фиг.1 через корпус 24 к разгрузочному отверстию 24b. За исключением такого противоположного направления движения отходов, зубья R и F и шнек 25b такие же и имеют те же буквенные и цифровые обозначения, что и на Фиг.1 и 5-5.
В предпочтительном варианте выполнения зубья R выполнены из сплава, обладающего твердостью по Роквеллу 58-62 единицы, с поверхностью из карбида вольфрама или иного твердого материала на наружной поверхности зубьев.
В главном корпусе 24 в предпочтительном варианте выполнения, как специально показано на Фиг.6-8, узел приема предварительно перемолотых отходов от первых вращающихся и неподвижных зубьев на Фиг.1 имеет уменьшающиеся зазоры между зубьями вдоль длины вала 25 для дальнейшего уменьшения размера частиц отходов. Например, в предпочтительном варианте выполнения зазор между зубьями у первых вращающихся и неподвижных зубьев в корпусе 10 находится в интервале от приблизительно 0,50 дюйма (12,7 мм) до 0,75 дюйма (19,1 мм), причем больший зазор величиной 0,75 дюйма (19,1 мм) находится с правого конца зубьев F и R, а меньший зазор величиной 0,50 дюйма (12,7 мм) находится в левой части зубьев F и R. Зазор между вторыми вращающимися и неподвижными зубьями R’ и F’ в корпусе 24 в предпочтительном варианте выполнения находится в интервале о, приблизительно 0,75 дюйма (19,1 мм) до приблизительно 0,25 дюйма (6,4 мм), причем больший зазор величиной 0,75 дюйма (19,1 мм) находится на конце левой части зубьев R’ и F’, a меньший зазор величиной 0,25 дюйма (6,4 мм) находится с правой части зубьев F’ и R’.
Должно быть понятно, что зазор между неподвижными зубьями F и вращающимися зубьями R может иметь промежуточное значение между указанными величинами, и, аналогично, зазор между неподвижными зубьями F’ и вращающимися зубьями R’ также может находиться между указанными значениями.
Измельченные остатки отходов в корпусе 24, в конце концов, передаются шнеком, либо транспортируются каким-либо иным способом к месту уплотнения или устройству (не показано) для утилизации или захоронения.
Приведенные раскрытие и описание изобретения носят иллюстративный характер, и в детали описанного устройства и его конструкции, а также в порядок его работы могут быть внесены различные изменения без отступления от существа изобретения.
Формула изобретения
1. Устройство для переработки медицинских отходов, содержащее первый вращающийся режущий узел, имеющий первые вращающиеся зубья, и первый неподвижный режущий узел, имеющий первые неподвижные зубья, причем первые вращающиеся зубья установлены между первыми неподвижными зубьями с радиальным зазором между ними с возможностью их совместного действия и ввода медицинских отходов, каждый вращающийся зуб имеет заостренную режущую поверхность, наклоненную к центру в направлении вращения и по отношению к неподвижным режущим зубьям, отличающееся тем, что режущая поверхность установлена в плоскости вращения зуба под углом к траектории его вращения с возможностью захватывания медицинских отходов и приложения вдавливающего усилия к материалу отходов между зубьями при вхождении и движении каждого вращающегося зуба в радиальном зазоре между вращающимся зубом и углублением между каждой парой смежных неподвижных зубьев, расположенных напротив соответствующего вращающегося зуба.
2. Устройство по п.1, отличающееся тем, что упомянутый вращающийся режущий узел содержит вытянутый вдоль упомянутого вала ряд выровненных друг относительно друга зубьев.
3. Устройство по п.2, отличающееся тем, что упомянутый вращающийся режущий узел имеет несколько рядов вращающихся зубьев, установленных через интервалы по окружности продольного вала и входящих между расположенными напротив зубьями, установленными также по окружности и через интервалы.
4. Устройство по п.1, отличающееся тем, что оно содержит втулку, установленную на упомянутом валу, шнек, сформированный на упомянутой втулке с возможностью проталкивания медицинских отходов в продольном направлении при захвате упомянутыми вращающимися зубьями медицинских отходов с приложением давления к режущим зубьям и оказания перемалывающего, режущего и измельчающего воздействия на медицинские отходы.
5. Устройство по п.1, отличающееся тем, что оно содержит второй вращающийся режущий узел и второй неподвижный режущий узел, выполненные в основном наподобие упомянутых первого вращающегося режущего узла и первого неподвижного узла, но имеющие меньшие зазоры между зубьями вдоль своей длины по сравнению с зазорами между первыми вращающимися и неподвижными зубьями, причем вторые вращающийся режущий узел и неподвижный режущий узел установлены с возможностью приема прошедших предварительное перемалывание отходов с дополнительным снижением размеров частиц отходов.
6. Устройство по п.5, отличающееся тем, что зазор между зубьями первых вращающихся и неподвижных зубьев составляет от 12,7 мм до приблизительно 19,1 мм, а зазор между зубьями вторых вращающихся и неподвижных зубьев находится в интервале от приблизительно 19,1 мм до приблизительно 6,4 мм.
7. Устройство по п.1, отличающееся тем, что оно содержит втулку, установленную на упомянутом валу с возможностью совместного с ним вращения, вытянутый в радиальном направлении опорный элемент, прикрепленный к упомянутой втулке, причем один из упомянутых вращающихся режущих узлов прикреплен к упомянутому опорному элементу с возможностью снятия.
8. Устройство по п.1, отличающееся тем, что упомянутый косой угол наклона относительно круговой траектории движения вращающихся зубьев составляет от приблизительно 10° до приблизительно 45°.
РИСУНКИ
TH4A – Переиздание описания изобретения к патенту Российской Федерации
Причина переиздания: Коррекция текста формулы изобретения
Извещение опубликовано: 20.10.2008 БИ: 29/2008
|
|