|
|
(21), (22) Заявка: 2006135685/03, 09.10.2006
(24) Дата начала отсчета срока действия патента:
09.10.2006
(46) Опубликовано: 10.03.2008
(56) Список документов, цитированных в отчете о поиске:
КЛУШАНЦЕВ Б.В. и др., Дробилки, М., Машиностроение, 1990, с.50. RU 2144468 C1, 20.01.2000. SU 982787 A1, 23.12.1988. SU 260386 A1, 01.01.1970. SU 159099 A1, 01.01.1963. SU 2160162 C2, 10.12.2000. GB 2274608 A1, 03.08.1984. ЦЕЛИКОВА А.И. Машины и агрегаты металлургических заводов. T.1. – М.: Металлургия, 1987, с.73.
Адрес для переписки:
654007, Кемеровская обл., г. Новокузнецк, ул. Кирова, 42, СибГИУ, патентный отдел, Н.В. Галаниной
|
(72) Автор(ы):
Никитин Александр Григорьевич (RU), Бойко Дмитрий Юрьевич (RU), Векессер Александр Юрьевич (RU)
(73) Патентообладатель(и):
Государственное образовательное учреждение высшего профессионального образования СИБИРСКИЙ ГОСУДАРСТВЕННЫЙ ИНДУСТРИАЛЬНЫЙ УНИВЕРСИТЕТ (RU)
|
(54) ЩЕКОВАЯ ДРОБИЛКА
(57) Реферат:
Изобретение относится к дробилкам и может быть использовано для измельчения материалов. Щековая дробилка включает в себя корпус, неподвижную и подвижную щеки, эксцентриковый кривошипный привод, передающий движение подвижной щеке, распорную плиту, замыкающий механизм, состоящий из пружины и тяги, шарнирно сочлененной с подвижной щекой, и механизм выборки зазора в сочленении подвижной щеки с тягой, содержащий подвижную и неподвижную полуопоры, охватывающие палец тяги, и упругий пневматический тороид, изготовленный из эластичного материала, охватывающий полуопоры, при этом упругий пневматический тороид расположен между ограничительными ребрами, выполненными заодно с полуопорами, причем размеры ограничительного ребра и тороида связаны соотношениями h>d, где h – высота ограничительного ребра; d – диаметр образующей окружности тороида, и b=d, где b – расстояние между ограничительными ребрами. Технический результат заключается в повышении надежности конструкции. 2 ил.
Изобретение относится к щековым дробилкам и может быть использовано для измельчения материалов.
Известна щековая дробилка, состоящая из корпуса, подвижной и неподвижной щек и эксцентрикового кривошипного привода, при этом подвижная щека совершает качательное движение, центром которого является центр оси подвеса щеки (см. Машины и агрегаты металлургических заводов. T.1. /Под ред. А.И.Целикова. М.: Металлургия, 1987, с.73, рис.III.3а).
Недостатком известного решения является малый ход сжатия в верхней части камеры дробления, что приводит к ненадежному захвату и дроблению материала и, следовательно, к снижению производительности дробилки.
Наиболее близким из известных технических решений к заявляемому является щековая дробилка, включающая корпус, в котором крепится эксцентриковый кривошипный вал с приводом, шарнирно соединенный с шатуном, выполненным заодно с подвижной щекой. Нижняя часть подвижной щеки упирается в распорную плиту, которая другим концом упирается в регулировочное устройство, закрепленное на корпусе. Прижатие подвижной щеки к распорной плите осуществляется замыкающим механизмом, состоящим из тяги, шарнирно прикрепленной к подвижной щеке, и цилиндрической пружины, которая обеспечивает постоянное прижатие пальца тяги к обойме подвижной щеки в направлении действия пружины. К корпусу также крепится неподвижная щека (см. Клушанцев Б.В., Косарев А.И., Муйземнек Ю.А. Дробилки. – М.: Машиностроение, 1990, с.50, рис.2.17).
Недостатком известной дробилки является низкая надежность конструкции из-за наличия зазора в шарнирном сочленении подвижная щека – тяга, в котором из-за сложного движения подвижной щеки не обеспечивается постоянный контакт элементов в перпендикулярном тяге направлении движения подвижной щеки, что вызывает значительный износ контактирующих подвижных относительно друг друга элементов.
Известно устройство для выборки зазоров, представляющее собой упругий элемент, выполненный в виде пневматического тороида (см. патент РФ №2144468, кл. В30В 1/26, заявл. 18.02.1998), которое обеспечивает контакт подвижных относительно друг друга элементов шарнира во всех направлениях. Однако из-за малой собственной круговой частоты колебаний, которая зависит от жесткости упругого элемента, при разгоне и торможении в механической системе с таким устройством может возникнуть явление резонанса, что приводит к резкому увеличению динамических нагрузок, действующих на элементы механической системы, и снижению ее долговечности.
Задачей изобретения является повышение надежности щековой дробилки.
Сущность изобретения заключается в том, что в известной щековой дробилке, содержащей корпус, неподвижную и подвижную щеки, эксцентриковый кривошипный привод, передающий движение подвижной щеке, распорную плиту, замыкающий механизм, состоящий из пружины и тяги, шарнирно сочлененной с подвижной щекой, и механизм выборки зазора в сочленении подвижной щеки с тягой, содержащий подвижную и неподвижную полуопоры, охватывающие палец тяги, и упругий пневматический тороид, изготовленный из эластичного материала, охватывающий полуопоры, при этом упругий пневматический тороид расположен между ограничительными ребрами, выполненными заодно с полуопорами, причем размеры ограничительного ребра и тороида связаны соотношениями h>d, где h – высота ограничительного ребра; d – диаметр образующей окружности тороида и b=d, где b – расстояние между ограничительными ребрами.
Отличие предлагаемого устройства от известного состоит в том, что в механизме выборки зазора упругий пневматический тороид, изготовленный из эластичного материала, расположен между ограничительными ребрами, выполненными заодно с полуопорами, причем размеры ограничительного ребра и тороида связаны соотношениями h>d, где h – высота ограничительного ребра; d – диаметр образующей окружности тороида и b=d, где b – расстояние между ограничительными ребрами.
Конструкция механизма выборки зазора, содержащего упругий элемент, выполненный в виде пневматического тороида, расположенного между ограничительными ребрами, имеет жесткость СТО=3,64p0Dп, где р0 – величина избыточного давления внутри тороида; Dп – наружный диаметр полуопор, большую, при прочих равных условиях, чем жесткость упругого пневматического тороида с неограниченной тангенциальной деформацией СТ=2,46p0Dп (см. приложение). Следовательно, собственная круговая частота у тороида с ограниченной деформацией также больше, что препятствует возникновению явления резонанса при разгоне и торможении дробилки, то есть на переходных режимах. Жесткость упругого элемента, выполненного в виде пневматического тороида, можно регулировать за счет изменения значения величины избыточного давления внутри тороида, используя любую известную систему пневморегулировки (см., например, А.С. №1113605, кл. F16F 9/50, заявл. 03.02.81).
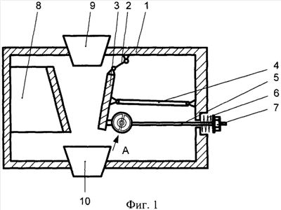
На фиг.1 изображена щековая дробилка; на фиг.2 – вид А на фиг.1.
Дробилка состоит из корпуса 1, в котором крепится эксцентриковый кривошипный вал 2, шарнирно соединенный с шатуном 3, выполненным заодно с подвижной щекой. К шатуну 3 в нижней его части крепится распорная плита 4, другим концом упирающаяся в корпус 1. Замыкающее устройство состоит из тяги 5 и пружины 6, натяжение которой регулируется гайкой 7. К корпусу 1 также крепится неподвижная щека 8. В верхней части корпуса 1 имеется загрузочное окно 9, а в нижней – разгрузочное окно 10.
Для выборки зазора в сочленении подвижной щеки 3 с тягой 5, состоящего из неподвижной полуопоры 11, выполненной заодно с подвижной щекой 3, подвижной полуопоры 12 и пальца 13, жестко соединенного с тягой 5, предусмотрен механизм, представляющий собой упругий пневматический тороид 14, изготовленный из эластичного материала, например резины, охватывающий полуопоры 11 и 12, и постоянно поджимающий подвижную полуопору 12 к пальцу 13. На полуопорах 11 и 12 выполнены ограничительные ребра 15, расстояние между которыми равно диаметру образующей окружности тороида в недеформированном состоянии.
Дробилка работает следующим образом. При вращении эксцентрикового кривошипного вала 2 движение от него передается подвижной щеке 3. Зазор в сочленении подвижной щеки 3 с тягой 5, состоящем из полуопор 11 и 12, а также пальца 13, постоянно выбирается за счет действия упругого элемента 14 на подвижную полуопору 12. Дробимый материал поступает через загрузочное окно 7 в камеру дробления, образованную подвижной и неподвижной щеками 4 и 6. Готовый продукт удаляется через разгрузочное окно 8.
Таким образом, использование предлагаемого устройства препятствует возникновению явления резонанса при разгоне и торможении дробилки и повышает ее долговечность.
Формула изобретения
Щековая дробилка, содержащая корпус, неподвижную и подвижную щеки, эксцентриковый привод, передающий движение подвижной щеке, распорную плиту, замыкающий механизм, состоящий из пружины и тяги, шарнирно сочлененной с подвижной щекой, и механизм выборки зазора в сочленении подвижной щеки с тягой, содержащий подвижную и неподвижную полуопоры, охватывающие палец тяги, и упругий пневматический тороид, охватывающий полуопоры, отличающаяся тем, что упругий пневматический тороид расположен между ограничительными ребрами, выполненными заодно с полуопорами, причем размеры ограничительного ребра и тороида связаны соотношениями h>d, где h – высота ограничительного ребра; d – диаметр образующей окружности тороида, и b=d, где b – расстояние между ограничительными ребрами.
РИСУНКИ
MM4A – Досрочное прекращение действия патента СССР или патента Российской Федерации на изобретение из-за неуплаты в установленный срок пошлины за поддержание патента в силе
Дата прекращения действия патента: 10.10.2008
Извещение опубликовано: 27.05.2010 БИ: 15/2010
|
|