|
|
(21), (22) Заявка: 2005107001/04, 24.07.2003
(24) Дата начала отсчета срока действия патента:
24.07.2003
(30) Конвенционный приоритет:
15.08.2002 (пп.1-24) US 10/219,653
(43) Дата публикации заявки: 10.08.2005
(46) Опубликовано: 10.03.2008
(56) Список документов, цитированных в отчете о поиске:
US 5714097 А, 03.02.1998. RU 2061539 C1, 10.06.1996. US 5714097 A, 03.02.1998. RU 2061539 C1, 10.06.1996.
(85) Дата перевода заявки PCT на национальную фазу:
15.03.2005
(86) Заявка PCT:
US 03/23132 (24.07.2003)
(87) Публикация PCT:
WO 2004/016342 (26.02.2004)
Адрес для переписки:
129010, Москва, ул. Б.Спасская, 25, стр.3, ООО “Юридическая фирма Городисский и Партнеры”, пат.пов. С.А.Дорофееву
|
(72) Автор(ы):
СМИТ Лоренс А. Мл. (US), ГЕЛБЕЙН Абрахам П. (US), АДАМС Джон Р. (US)
(73) Патентообладатель(и):
КАТАЛИТИК ДИСТИЛЛЕЙШН ТЕКНОЛОДЖИЗ (US)
|
(54) КОНТАКТНЫЕ СТРУКТУРЫ
(57) Реферат:
Изобретение относится к реакционным контактным структурам, используемым в реакторах алкилирования парафинов в качестве внутренней статической насадки системы, такой как диспергирующее устройство. Система для смешивания содержит вертикальный реактор для осуществления каталитических реакций перемешивания и расположенное в реакционной зоне диспергирующее устройство. Диспергирующее устройство выполнено в виде сетки, сплетенной с многожильным элементом, или вытянутого или раскатанного металла, переплетенного вместе с многожильным элементом, причем многожильную нить выбирают из инертных полимеров, каталитических полимеров, каталитических металлов или их смесей. Проволочная сетка обеспечивает структурную целостность системы, а также, по меньшей мере, 50 об.% открытого пространства в реакторах, необходимого, для перемещения паров и жидкостей через систему. Диспергирующее устройство может иметь форму листов, пучков или пакетов или размещаться внутри рамки. Настоящее изобретение позволяет более эффективно осуществлять алкилирование парафинов за счет высокой степени контакта между жидким катализатором и реагентами в виде текучих сред без механического перемешивания, тем самым устраняя наличие уплотнения приводов и уменьшая стоимость продукта. 3 н. и 21 з.п. ф-лы, 3 ил.
Настоящее изобретение относится к реакционным контактным структурам, предназначенным для использования в качестве внутренней насадки для реакторов, которые способствуют статическому перемешиванию реакционных компонентов.
Основная задача большинства способов алкилирования заключается в приведении изоалканов (или ароматических соединений) и легких олефинов в тесный контакт с кислотным катализатором для получения продукта алкилирования. В нефтеперерабатывающей промышленности катализируемое кислотным катализатором алкилирование алифатических углеводородов с помощью олефиновых углеводородов является хорошо известным способом. Алкилирование представляет собой взаимодействие парафина, как правило, изопарафинов, с олефином, в присутствии сильной кислоты, которое дает парафины, например, у которых более высокие октановые числа, чем у исходных материалов, и которые кипят в диапазоне температур кипения бензинов. При нефтепереработке это взаимодействие, как правило, представляет собой реакцию взаимодействия C3-C6 олефина с изобутаном.
При операциях алкилирования в нефтепереработке катализаторы на основе фтористоводородной или серной кислоты при низкотемпературных условиях используются наиболее широко. Низкотемпературные или холодные кислотные способы являются наиболее предпочтительными, поскольку при этом побочные реакции сводятся к минимуму. В традиционном способе взаимодействие осуществляется в реакторе, где углеводородные реагенты диспергируются в сплошной кислотной фазе.
Хотя этот способ не является благоприятным для окружающей среды и является опасным при работе, никакие другие способы не являются настолько же эффективными, и во всем мире он продолжает оставаться основным способом алкилирования для повышения октанового числа. Принимая во внимание тот факт, что холодный кислотный способ будет продолжать оставаться основным способом, делаются многочисленные предложения относительно усовершенствования и усиления взаимодействия и, до некоторой степени, уменьшения нежелательных эффектов.
В патенте США №5220095 описано использование полярного контактного материала в виде частиц и фторированной серной кислоты для алкилирования.
В патентах США №№5420093 и 5444175 описано объединение контактного материала и катализатора путем импрегнирования минеральной или органической насадки в виде частиц серной кислотой.
Различные статические системы описаны для приведения в контакт реагентов жидкость/жидкость, например, в патентах США №№3496996; 3839487; 2091917 и 2472578. Однако наиболее широко используемый способ перемешивания катализатора и реагентов представляет собой использование различных систем ножей, лопастей, крыльчаток и тому подобного, которые энергично взбалтывают и смешивают компоненты друг с другом, как, например, описано в патентах США №№3759318; 4075258 и 5785933.
Настоящее изобретение представляет собой значительный шаг вперед в технологии, относящейся к алкилированию, в частности к алкилированию парафинов при переработке нефти путем создания как эффективного способа для алкилирования, новых олефиновых исходных материалов, так и устройства для получения высокой степени контакта между жидким катализатором и реагентами в виде текучих сред без механического перемешивания, тем самым устраняя уплотнения приводов, уменьшая стоимость и усовершенствуя отделение продукта кислоты.
В одном варианте настоящее изобретение представляет собой систему смешивания для алкилирования парафинов, содержащую вертикальный реактор для осуществления каталитических реакций и расположенное в нем диспергирующее устройство, причем диспергирующее устройство содержит, по меньшей мере, 50 об.% открытого пространства, при этом диспергирующее устройство содержит проволоку в виде сетки, сплетенную с многожильным элементом, или вытянутый или раскатанный металл, переплетенный вместе с многожильным элементом, причем многожильную нить выбирают из инертных полимеров, каталитических полимеров, каталитических металлов или их смесей. Открытое пространство может составлять примерно 97 об.%.
Диспергирующее устройство может содержать сплетенную сетку из проволоки и полимерную сетку, сплетенные вместе проволоку в виде сетки и стекловолокно, сетку их сплетенных вместе проволоки и многожильного элемента, включающего тефлон, стальную шерсть, полипропилен, поливилиденфторид, полиэфир или их сочетание.
Диспергирующее устройство расположено в виде множества размещенных вертикально поперечных матов внутри и поперек вертикального реактора.
Проволочная сетка обеспечивает структурную целостность системы, а также открытое пространство, необходимое в реакторах для перемещения паров и жидкостей через систему. Диспергирующее устройство может состоять из листов, пучков или пакетов из переплетенных вместе проволоки и многожильного компонента. Диспергирующее устройство может содержать листы, пучки или пакеты из сплетенных вместе проволоки и многожильного элемента или их сочетания, многожильный каталитический материал из сульфонированной виниловой смолы, Ni, Pt, Со, Мо, Ag или их смесей.
Диспергирующее устройство может содержать структуру, которая имеет жесткую рамку, изготовленную из двух по существу вертикальных двойных решеток, расположенных на расстоянии друг от друга и удерживаемых в жестком состоянии посредством множества по существу горизонтальных жестких элементов и множества по существу горизонтальных трубок из проволочной сетки, прикрепленных к решеткам для формирования множества проходов для текучих сред между трубками, причем трубки являются пустыми или содержат каталитические или некаталитические материалы или структуру, или структуру, содержащую множество листов проволочной сетки, сформированной в виде изгибов V-образной формы, имеющих плоские участки между V-образными выступами, причем множество листов имеет по существу однородный размер, и они имеют выступы, ориентированные в одном направлении и по существу совмещенные друг с другом, при этом листы разделены множеством жестких элементов, ориентированных по нормали к V-образным выступам и находящихся на них.
В другом варианте настоящее изобретение представляет собой систему смешивания в совмещенном нисходящем потоке для алкилирования, содержащую вертикальный реактор для осуществления каталитических реакций и расположенное в нем диспергирующее устройство, содержащее, по меньшей мере, один частично жидкий реагент, катализатор и реакционные условия для поддержания частично жидкого реагента при температуре кипения, при этом диспергирующее устройство содержит проволоку в виде сетки, сплетенную с многожильным элементом, или раскатанный металл, переплетенный вместе с многожильным элементом, причем многожильную нить выбирают из инертных полимеров, каталитических полимеров, каталитических металлов или их смесей.
Предпочтительно в системе смешивания в совмещенном нисходящем потоке для алкилирования присутствуют, по меньшей мере, две фазы.
Еще в одном варианте настоящее изобретение представляет собой диспергирующее устройство системы смешивания для алкилирования, содержащее проволоку в виде сетки, сплетенную с многожильным элементом, или раскатанный металл, переплетенный вместе с многожильным элементом, причем многожильную нить выбирают из инертных полимеров, каталитических полимеров, каталитических металлов или их смесей.
Реакционная зона может включать колонну в целом или ее часть. Настоящие диспергирующие устройства достигают радиального диспергирования текучей среды или сжиженных материалов в реакторе.
На фиг.1 изображен схематический вид устройства, в котором способ алкилирования может осуществляться с использованием настоящей статической внутренней системы смешивания для алкилирования парафинов.
На фиг.2 изображен схематический вид объединения настоящей внутренней статической системы перемешивания в реакционной зоне в реакторе с нисходящим потоком.
На фиг.3 изображен увеличенный вид (приблизительно на 200%) секции переплетенных вместе проволоки и многожильного материала.
Предпочтительно диспергирующее устройство содержит обычное устройство для коалесценции жидкость-жидкость типа, который работает для коалесценции испаренных жидкостей. Они обычно известны как “устранители тумана” или “туманоуловители”, однако в настоящем изобретении такое устройство функционирует для диспергирования материалов текучих сред в реакторе для улучшения контакта. Пригодное для использования диспергирующее устройство содержит сетку, такую как сетка из переплетенных вместе проволоки и стекловолокна. Например, было обнаружено, что сплетенная с помощью 90 иголок трубчатая сетка из проволоки и многожильного стекловолокна, такая как производится Arnistco Separation Products, Inc. of Alvin, Texas, может эффективно использоваться, однако будет понятно, что различные другие материалы, такие как переплетенные вместе проволока и многожильный тефлон (Dupont TM), стальная шерсть, полипропилен, PVDF, полиэстер или различные другие плетеные материалы также могут эффективно использоваться в устройстве. Могут использоваться различные насадки типа проволочных сит, где сита являются скорее ткаными, чем плетеными. Другие приемлемые диспергирующие устройства включают перфорированные листы и вытянутые или раскатанные металлы, структуры с каналами, открытыми для поперечного протекания, которые ткутся совместно со стекловолокном, или другие материалы, такие как полимеры, сплетенные вместе с проволочной сеткой, вытянутыми или перфорированными листами. Могут использоваться различные насадки типа проволочных сит, где сита являются скорее ткаными, чем плетеными.
В одном из аспектов настоящего изобретения новые статические структуры для перемешивания содержат каталитический многожильный элемент. Каталитический многожильный материал может представлять собой полимеры, такие как сульфонированная виниловая смола (например, Amberlyst), и каталитические металлы, такие как Ni, Pt, Co, Mo, Ag. Могут присутствовать до 100 или более многожильных нитей, переплетенных вместе со связанной проволокой или вытянутым или раскатанным металлом. Нити из каталитических металлов, как правило, имеют более высокую плотность вязки из-за их более высокой плотности. Многожильные нити из каталитических металлов отличаются от плетеной проволоки тонкостью их нитей, которые имеют большое значение для каталитических аспектов этих структур.
Диспергирующее устройство содержит, по меньшей мере, от 50 об.% открытого пространства примерно до 97 об.% открытого пространства. Диспергирующие устройства размещаются в реакционной зоне в реакторе. Так, например, многожильный компонент и структурный элемент, например плетеная проволока, должны составлять примерно от 3 об.% примерно до 50 об.% от диспергирующего устройства в целом, при этом остаток представляет собой открытое пространство.
Пригодные для использования диспергирующие устройства представляют собой структурированные насадки для каталитической дистилляции, которые предназначены для удержания частиц катализаторов, или структурированные насадки для дистилляции, состоящие из каталитически активного материала, такие как те, которые описаны в патенте США №5730843, который включен сюда во всей его полноте посредством ссылки и в котором описаны структуры, которые имеют жесткую рамку, изготовленную из двух по существу вертикальных двойных решеток, отделенных друг от друга некоторым расстоянием и удерживаемых в виде жесткой структуры с помощью множества по существу горизонтальных жестких элементов и множества по существу горизонтальных трубок из проволочной сетки, прикрепленных к решеткам, для формирования множества проходов для текучих сред между трубками. Эти трубки являются пустыми или содержат каталитические или некаталитические материалы, и структурированные насадки, которые являются каталитически инертными, которые, как правило, конструируются из гнутого металла, изогнутого под различными углами, проволочной сетки, которая является извитой, или решеток, которые пакетируются в горизонтальном положении, одна поверх другой, как описано в патенте США №6000685, который включается сюда во всей его полноте посредством ссылки и в котором описаны контактные структуры, содержащие множество листов из проволочной сетки, сформированных в виде V-образных изгибов, имеющих плоские участки между изгибами, множество листов имеет по существу одинаковый размер, имеет выступы, ориентированные в одном направлении и по существу совмещенные друг с другом, при этом листы отделяются друг от друга с помощью множества жестких элементов, ориентированных по нормали к V-образным выступам и находящихся на них.
Другие пригодные для использования диспергирующие устройства включают (А) беспорядочно расположенные или набросанные дистилляционные насадки, которые представляют собой каталитически инертные набросанные насадки, содержащие более высокую долю свободного объема и поддерживающие относительно высокую площадь поверхности, такие как седла Берля (керамика), кольца Рашига (керамика), кольца Рашига (сталь), кольца Палла (металл), кольца Палла (пластик, например полипропилен) и тому подобное, и каталитически активные беспорядочные насадки, которые содержат, по меньшей мере, один каталитически активный ингредиент, такой как Ag, Rh, Pd, Ni, Cr, Cu, Zn, Pt, Tu, Ru, Co, Ti, Au, Mo, V и Fe, а также импрегнированные компоненты, такие как комплексы металл-хелат, кислоты, такие как фосфорную кислоту, или связанные неорганические порошкообразные материалы с каталитической активностью; (В) монолиты, которые являются каталитически инертными или активными, которые представляют собой структуры, содержащие множество не связанных друг с другом вертикальных каналов и могут конструироваться из различных материалов, таких как пластик, керамика или металлы, в которых каналы являются, как правило, квадратными; однако могут использоваться и другие геометрии, они используются сами по себе или с покрытием из каталитических материалов.
Настоящая внутренняя статическая система смешивания является пригодной для использования в способе алкилирования изопарафина олефином или предшественником олефина, включающем приведение в контакт системы, в виде текучей среды, содержащей кислотный катализатор, изоалкан и олефин, в совмещенном потоке, предпочтительно в нисходящем потоке, в контакте с реакционной зоной, с настоящей системой, в условиях температуры и давления, соответствующих взаимодействию изопарафина и олефина, с получением продукта алкилята. Предпочтительно в реакционной зоне система в виде текучей среды содержит жидкость и поддерживается вблизи ее температуры кипения. Предшественник олефина представляет собой олигомер одного или нескольких третичных олефинов, такой как димер, тример и тому подобное, изобутена или материал, который соответствует олигомеру.
Взаимодействие олигомера третичных олефинов с изоалканами осуществляется на молекулярной основе, скорее с третичными олефинами, составляющими олигомер, чем с олигомерами. Продукт алкилята соответствует взаимодействию третичного олефина и изоалканов.
Для целей иллюстрации, а не ограничения способа, предполагается, что при ожидаемом взаимодействии между олигомером и изоалканом, олигомер крекируется на его олефиновые компоненты, которые взаимодействуют с изоалканом на молекулярной основе:
1) диизобутен + 2 изобутан 2 изооктан (2,2,4-триметилпентан),
2) триизобутен + 3 изобутан 3 изооктан (2,2,4-триметилпентан).
Обычная точка зрения заключается в том, что продукт (1) должен представлять собой C12 алкан, а продукт (2) должен представлять собой С16 алкан; в то время как продукт реакции (1) и (2) является одним и тем же и отличается от продукта обычной реакции холодного кислотного алкилирования:
3) 2 бутен-2 + 2 изобутан 2 изооктан,
4) 3 бутен-2 + 3 изобутан 3 изооктан.
Хотя кислотные алкилирования являются исключительно экзотермическими и требуют существенного охлаждения для поддержания температуры реакции в оптимальном диапазоне, для предотвращения побочных реакций настоящее взаимодействие олигомеров с изоалканом для получения алкилята, при тех же значениях выхода, требуют меньшего охлаждения, делая способ менее дорогим, при таком же выходе полезного продукта.
Один из конкретных способов получения олигомера представляет собой тот, который осуществляется при каталитической дистилляции, например, установки, ранее используемые для получения МТВЕ, могут быть легко перепрофилированы для производства олигомера путем всего лишь изменения исходных материалов, вводимых в реактор, поскольку один и тот же катализатор используется в обеих реакциях.
Предпочтительно олигомер содержит C8-C16 олефины, соответствующие олигомеру, полученному из С3-С5 олефина. В предпочтительном варианте осуществления олигомер имеет от 8 до 16 атомов углерода и соответствует олигомеру, который получают из олигомеров С4-С5 олефинов, или являются их олигомерами.
Самое широкое использование алкилирования парафинов предназначено для получения С8 компонента бензина. Исходный материал для этого способа обычно представляет собой нормальный бутен и третичный бутан, содержащиеся в “холодной кислотной” реакции, обычно с серной кислотой или HF. Нормальный бутен (например, бутен-2) представляет собой компонент легкой нафты вместе с нормальным бутаном, изобутаном и третичным бутеном. Отделение нормального бутена от изобутена может со сложностью осуществляться путем фракционирования из-за их близких температур кипения. Предпочтительный способ для разделения этих изомеров олефинов или изомеров их С5 аналогов заключается во взаимодействии более реакционноспособного третичного олефина с получением более тяжелого продукта, который легко отделяется от нормальных олефинов путем фракционирования.
По этой причине третичный олефин взаимодействует с низшим спиртом, таким как метанол или этанол, с формированием простых эфиров, таких как простой метил-трет-бутиловый эфир (МТВЕ), простой этил-трет-бутиловый эфир (ЕТВЕ), простой трет-амил-метиловый эфир (TAME), которые используются в качестве веществ для повышения октанового числа бензина, но отделяются в виде другой фазы из-за опасности для здоровья.
Олигомеризация третичного олефина также является предпочтительной реакцией, когда осуществляется в потоке нафты, с отделением нормальных олефинов, легко достигающимся путем фракционирования от более тяжелых (с более высокой температурой кипения) олигомеров (в основном димеров и гримеров). Олигомеры могут использоваться в качестве компонентов бензина, но в бензине имеются пределы количества материала олефинов, желаемые или допустимые, и, для использования в бензине, часто необходимо гидрировать олигомеры. Наиболее желательный компонент для смешивания с бензином представляет собой C8 компонент, например изооктан (2,2,4-триметилпентан).
Олигомер может крекироваться обратно до исходных третичных олефинов и использоваться в холодной реакции. Однако обнаружено, что не является необходимым крекирование олигомера, который может составлять исходный материал олефина для холодной кислотной реакции с алканом или может вводиться вместе с моноолефинами. Как отмечено выше, результат представляет собой такой же продукт, как и моноолефин сам по себе с дополнительным выигрышем от менее экзотермической реакции в целом, требующей меньшего охлаждения, а следовательно, меньших расходов на электрическую энергию для алкилирования.
Процесс олигомеризации производит теплоту реакции, которая не требует той величины удаления тепла, которая необходима в холодном кислотном способе. Фактически, когда олигомеризация происходит в реакции типа каталитической дистилляции, тепло реакции удаляется посредством пара из кипятильника, который в данном типе реакции представляет собой моноолефины и алканы с более низкими температурами кипения, которые отделяются от олигомера. Таким образом, даже если существует тепло, производимое при олигомеризации, оно не вносит вклад в стоимость производства бензина, поскольку оно используется при фракционировании, и стоимость работы установки для алкилирования уменьшается посредством использования олигомера для замены некоторого количества обычного олефина с короткой цепью или всего его.
В предпочтительном варианте осуществления способа алкилирования поток легкой нафты, содержащий нормальные и третичные олефины, вступает в контакт с кислотным катализатором на основе смолы в условиях олигомеризации для преимущественного взаимодействия части третичных олефинов самих с собой, с получением олигомеров, при этом олигомеры вводятся в зону алкилирования вместе с изоалканом в присутствии кислотного катализатора алкилирования для получения продукта алкилирования, содержащего алкилят третичного олефина и изоалкана.
Олигомеризация может осуществляться в парциальной жидкой фазе в присутствии кислотного катализатора на основе катионной смолы, либо в реакции прямоточного типа, либо в реакции каталитической дистилляции, где имеется как паровая, так и жидкая фаза, и одновременное взаимодействие/фракционирование. Предпочтительно исходные материалы представляют собой фракции C4-C5, C4 или C5 фракции легкой нафты. Третичные олефины могут содержать изобутен и изоамилены и являются более реакционноспособными, чем изомеры нормальных олефинов, и олигомеризуются преимущественно. Основные продукты олигомеров представляют собой димеры и тримеры. Изоалканы предпочтительно включают изобутан, изопентан или их смеси.
Когда используется прямоточный реактор, такой как описан в патентах США №№4313016; 4540839; 5003124 и 6335473, весь выходящий поток, содержащий олигомер, нормальные олефины и изоалканы, может вводиться в реакцию кислотного алкилирования. Нормальные алканы при условиях алкилирования являются инертными. При условиях алкилирования изоалкан взаимодействует с нормальным олефином с получением продукта алкилята и с формированием продукта алкилята с помощью индивидуальных олефинов, составляющих олигомеры. Положительный результат настоящего способа заключается в том, что олигомеры диссоциируют или каким-либо способом делают составляющие их олефины доступными для взаимодействия с изоалканами. Таким образом, взаимодействие будет давать:
1) олигомер изобутена + изобутан изооктан;
2) олигомер изобутена + изопентан разветвленные С9 алканы;
3) олигомер изоамилена + изобутан разветвленные С9 алканы;
4) олигомер изоамилена + изопентан разветвленные С10 алканы.
При этом можно ожидать, что реакция 1) должна давать, по меньшей мере, или главным образом, C12 алканы, реакция 2) должна давать, по меньшей мере, или главным образом, C13 алканы, реакция 3) должна давать, по меньшей мере, или главным образом, C14 алканы и реакция 4) должна давать, по меньшей мере, или главным образом, C15 алканы.
Когда реакция каталитической дистилляции, такая как описана в патентах США №№4242530 или 4375576, используется для олигомеризации, олигомер отделяется от нормальных олефинов и алканов с более низкими температурами кипения в реакционном продукте, с помощью совмещенного фракционирования. Потоки, нормальные олефины и алканы (головные фракции) и олигомеры (донные фракции), могут объединяться или индивидуально вводиться в алкилирование, или могут использоваться индивидуально, при этом, по меньшей мере, один олигомер вводится для алкилирования.
Настоящее изобретение представляет собой систему и способ смешивания для алкилирования парафинов для производства и выделения продукта алкилята с использованием серной кислоты в качестве катализатора. Такое же или подобное устройство может использоваться также и вместе с другими кислотами или смесями кислот.
Способ предпочтительно осуществляется в реакторе с нисходящим потоком, набитый контактными внутренними устройствами или материалом насадки (который может быть инертным или каталитическим), через который проходит в совмещенном потоке многофазная смесь серной кислоты, углеводородного растворителя и реагентов при температуре кипения системы. Система содержит углеводородную фазу и фазу эмульсии кислота/углеводород. Значительное количество серной кислоты удерживается на насадке. Реакция, как предполагается, имеет место между нисходящей углеводородной фазой и серной кислотой, диспергированной на насадке. Олефин непрерывно растворяется в кислотной фазе, и продукт алкилята непрерывно экстрагируется в углеводородную фазу. Установление давления и композиций углеводородов контролирует температуру кипения. Реактор предпочтительно работает с непрерывным выходом пара, но также может работать с непрерывным выходом жидкости. Предпочтительно в верхней части реактора давление является более высоким, чем в нижней. Установление скоростей потоков и степени испарения контролирует перепад давления внутри реактора. Предпочтительной является инжекция олефинов во множестве входных устройств. Тип насадки также влияет на перепад давления из-за удерживания кислотной фазы. Смесь продуктов до фракционирования представляет собой предпочтительный циркулирующий растворитель. Эмульсия кислоты быстро отделяется от углеводородной жидкости и обычно рециклируется, всего лишь через несколько минут пребывания в сепараторе донной фазы. Поскольку продукты по существу быстро извлекаются из кислотной фазы (эмульсии), промоторы реакции и/или эмульсии, используемые в обычных процессах алкилирования с использованием серной кислоты, могут добавляться без обычных проблем с разрушением эмульсии. Способ может быть описан как способ с непрерывным поступлением углеводородов, в противоположность непрерывному поступлению кислоты.
Исходные материалы углеводородов, подвергающихся алкилированию, подаются в реакционную зону в сплошной углеводородной фазе, содержащей эффективные количества олефиновых и изопарафиновых исходных материалов, которые являются достаточными для формирования продукта алкилята. Молярное отношение олефин : изопарафин в исходных материалах, поступающих в реактор, в целом должно находиться в пределах примерно от 1:1,5 примерно до 1:30, а предпочтительно составляет примерно от 1:5 примерно до 1:15. Могут также использоваться более низкие отношения олефин : изопарафин.
Компонент олефинов предпочтительно должен содержать от 2 до 16 атомов углерода, а компонент изопарафинов предпочтительно должен содержать от 4 до 12 атомов углерода. Репрезентативные примеры пригодных для использования изопарафинов включают изобутан, изопентан, 3-метилгексан, 2-метилгексан, 2,3-диметилбутан и 2,4-диметилгексан. Репрезентативные примеры пригодных для использования олефинов включают бутен-2, изобутилен, бутен-1, пропилен, пентены, этилен, гексен, октен и гептены, только с целью перечисления некоторых из них, и, как описано выше, они могут представлять собой олигомеры этих олефинов.
В жидкофазном способе в системе используются катализаторы на основе фтористоводородной или серной кислоты при условиях относительно низкой температуры. Например, реакция алкилирования с использованием серной кислоты является особенно чувствительной к температуре, при этом низкие температуры являются предпочтительными с точки зрения сведения к минимуму побочной реакции полимеризации олефинов. Технология переработки нефти делает алкилирование более предпочтительным, чем полимеризация, поскольку могут быть произведены более высокие количества продуктов с более высоким октановым числом на одно и то же количество доступных олефинов с короткой цепью. Крепость кислоты в этих жидкостных способах алкилирования с кислотным катализом предпочтительно поддерживается при 88-94 вес.%, используя непрерывное добавление свежей кислоты и непрерывное удаление отработанной кислоты. Другие кислоты, такие как твердая фосфорная кислота, могут быть использованы путем удерживания катализаторов в материале насадки или на нем.
Предпочтительно способ должен включать относительные количества кислоты и исходных углеводородных материалов, поступающих в верхнюю часть реактора, при объемном отношении, находящемся в пределах примерно от 0,01:1 примерно до 2:1, и более предпочтительно при отношении, находящемся в пределах примерно от 0,05:1 примерно до 0,5:1. В наиболее предпочтительном варианте осуществления отношение кислоты к углеводородам должно находиться в пределах примерно от 0,1:1 примерно до 0,3:1.
В дополнение к этому диспергирование кислоты в реакционной зоне должно осуществляться при поддержании емкости реактора при температуре, находящейся в пределах примерно от 0°F примерно до 200°F, а более предпочтительно примерно от 35°F примерно до 130°F. Подобным же образом давление в емкости реактора должно поддерживаться на уровне, находящемся в пределах примерно от 0,5 атм примерно до 60 атм, а более предпочтительно примерно от 0,5 атм примерно до 20 атм. Наиболее предпочтительно температура в реакторе должна поддерживаться в пределах примерно от 40°F примерно до 110°F и давление в реакторе должно поддерживаться в пределах примерно от 0,5 атм примерно до 5 атм.
Как правило, конкретные условия работы, используемые в способе, будут зависеть в некоторой степени от конкретной реакции алкилирования, которая осуществляется. Условия процесса, такие как температура, давление и объемная скорость, а также молярное отношение реагентов, будут влиять на характеристики полученного продукта алкилята и могут устанавливаться в соответствии с параметрами, известными специалистам в данной области. Преимущество работы при температуре кипения настоящей реакционной системы заключается в том, что существует некоторое испарение, которое помогает диссипации тепла реакции и делает температуру поступающих материалов более близкой к температуре материалов, покидающих реактор, как при изотермической реакции.
После завершения реакции алкилирования реакционная смесь транспортируется в соответствующую разделительную емкость, где углеводородная фаза, содержащая продукт алкилята и любые непрореагировавшие реагенты, отделяется от кислоты. Поскольку типичная плотность углеводородной фазы находится в пределах примерно от 0,6 г/см3 примерно до 0,8 г/см3 и поскольку значения плотности кислоты, как правило, попадают в диапазон примерно от 0,9 г/см3 примерно до 2,0 г/см3, две эти фазы легко разделяются посредством обычных гравитационных отстойников. Пригодные для использования гравитационные сепараторы представляют собой деканторы. Гидроциклоны, которые разделяют по разнице плотностей, также являются пригодными для использования.
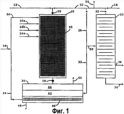
Один из вариантов осуществления алкилирования изображен на фиг.1, которая представляет собой упрощенный схематический вид устройства и потока способа. Такие элементы как клапаны, ребойлеры, насосы и тому подобное, отсутствуют.
Реактор 10 содержит сетку 40 диспергирующего устройства. Исходные материалы для реактора содержат олефин, подаваемый через линию 12, такой как н-бутен, и изопарафин (например, изобутан), подаваемый через линию 14 и через линию 52. Предпочтительно часть олефина вводится вдоль реактора посредством линий 16а, 16b и 16с. Катализатор на основе жидкой кислоты, такой как H2SO4, подается через линию 56, и пополняемая кислота может подаваться через линию 38. Углеводородные реагенты подаются в реактор, который предпочтительно представляет собой в основном цилиндрическую колонну, через линию 58 и через соответствующие диспергирующие средства (не показано) в диспергирующую сетку 40, например сетку из сплетенной проволоки и стекловолокна.
Углеводородные реагенты и нереагирующие углеводороды (например, нормальный бутан) вступают в тесный контакт с кислотным катализатором, по мере того как осуществляется алкилирование. Реакция является экзотермической. Давление, а также количество реагентов устанавливаются для поддержания компонентов системы при температуре кипения, но частично, в жидкой фазе, когда компоненты системы переходят в нисходящем потоке через реактор в смешанную паровую/жидкую фазу и выходят через линию 18 в декантор 30. В деканторе компоненты системы разделяются на кислотную фазу 46, содержащую катализатор, углеводородную фазу 42, содержащую алкилят, непрореагировавший олефин и непрореагировавший изопарафин, и нереагирующие углеводороды, и паровую фазу 44, которая может содержать некоторое количество каждого из компонентов и любые более легкие углеводородные компоненты, которые удаляются из системы через линию 50 для дальнейших манипуляций соответствующим образом.
Большая часть кислотной фазы рециклируется через линии 24 и 56 в реактор. Пополняемая кислота может добавляться через линию 38, а накопившаяся отработанная кислота удаляется через линию 48.
Углеводородная жидкая фаза удаляется через линию 22, при этом часть ее рециклируется в верхнюю часть реактора через линию 28. Остаток углеводородной фазы вводится в дистилляционную колонну 20 через линию 26, где она фракционируется. Нормальный бутан, если он присутствует в исходных материалах, может удаляться через линию 36, и продукт алкилята удаляется через линию 34. Головные фракции 32 представляют собой, прежде всего, непрореагировавший изоалкан, который рециклируется через линию 52 в верхнюю часть реактора 10.
На фиг.2 изображена схематическая упрощенная иллюстрация способа размещения диспергирующего устройства (сегментов I40a-k) внутри реактора 110. Каждый сегмент диспергирующего устройства (например, 140а, 140f, 140g) размещается горизонтально по ширине реактора (предпочтительно, заполняя всю его ширину) вдоль всей длины или ее части, будучи меньшей, чем весь реактор, в форме множества листов диспергирующего устройства. Серная кислота подается в реактор через линию 158, и смешанный поток олефина и изопарафина подается через линию 116 (или множество входных устройств, как описано выше). Продукт, содержащий алкилят, непрореагировавший олефин, непрореагировавший изопарафин и отработанную кислоту (все содержимое реактора), выходит из реактора через линию 118 для обработки, как описано ранее.
Предпочтительно диспергирующее устройство 200, изображенное на фиг.3, содержит проволоку 205, сплетенную вместе с многожильным материалом 210.
Экспериментальная установка для алкилирования изопарафина + олефина
Для следующих далее примеров лабораторный реактор, имеющий 15 футов в высоту и 1,5 дюйма в диаметре, набивается изменяющимися количествами и типами материала насадки. Содержание H2SO4 составляет примерно 1 литр, в зависимости от удерживания используемой насадки. Уравнительный резервуар составляет примерно 3 литра, и через него проходит вся кислота плюс жидкий углеводород из нижней части, чтобы циркулировать в виде двухфазной смеси, с помощью единственного насоса. Исходные материалы вводятся в верхнюю часть реактора, чтобы они стекали вниз вместе с рециклируемой смесью. Пары производятся с помощью тепла реакции, плюс тепло окружающей среды помогает и способствует перемещению жидкостей вниз через насадку, создавая большую турбулентность и перемешивание. Большая часть паров конденсируется после выхода из реактора. Несконденсировавшиеся пары и жидкий продукт углеводородов проходят через устройство, предотвращающее унос кислоты, затем через регулятор обратного давления в деизобутанизатор. Измерители потока массы используются для потоков исходных материалов, а доплеровский измеритель измеряет скорость циркуляции. Жидкие продукты из деизобутанизатора взвешиваются. Однако скорость уходящего потока оценивается как разница между измеренной скоростью потока массы исходных материалов и взвешенными выходящими жидкими продуктами. ГХ анализирует все углеводородные продукты, включая уходящие. Титрование используется для анализа отработанной кислоты.
Работа
В следующих далее примерах экспериментальная установка осуществляет циркуляцию углеводородов, и кислота стекает вниз при температуре кипения присутствующих углеводородов. Значения давления и температуры регистрируются с помощью электроники. Температура и давление на выходе реактора используются для вычисления количества iC4 в рециклируемых углеводородах, используя вычисление iC4/алкилята в испаряющейся смеси.
Регулятор обратного давления, который пропускает как жидкий, так и парообразный продукт в башню деизобутанизатора, поддерживает давление. Может использоваться небольшое количество N2, прежде всего для предотвращения поступления кислоты обратно во входную линию. Однако слишком большое количество N2 может вызвать понижение качества продукта из-за разбавления реакционноспособного изопарафина в паровой фазе.
Циркуляционный насос в экспериментальной установке осуществляет циркуляцию как слоя эмульсии кислоты, так и слоя жидкого углеводорода. Альтернативно эти две фазы могут прокачиваться по-отдельности.
Запас кислоты поддерживается посредством ежеминутного отвода всего рециклируемого материала через измерительную трубку с использованием трехходового клапана. Захваченный материал оседает через несколько секунд, формируя два слоя. Объемный процент слоя кислоты и слоя углеводородов используется затем в сочетании с данными доплеровского измерителя для оценки объемных скоростей циркуляции обеих фаз.
DP (перепад давлений, более высокое давление в верхней части или на входе в реактор) поддерживается в пределах между 0 и 3 фунт/кв.дюйм с помощью манипулирования скоростями циркуляции и балансом тепла вокруг установки. Разные насадки обычно требуют для доведения до тех же значений DP различных скоростей потока паров и жидкости. Большую часть времени тепло из внешней среды преобладает, и тепло реакции обеспечивает адекватную нагрузку (главным образом, iC4) паровой фазы.
Из-за ограничений охлаждения примерно 1-3 фунт/час дополнительных жидких iC4 может вводиться вместе с исходными материалами для обеспечения некоторого регулирующего охлаждения. Этот избыток iC4 является относительно малым и не оказывает значительного влияния на отношение iC4/олефин, поскольку скорости циркулирования углеводородов, как правило, имеют порядок 100-200 фунтов в час. Это представляет собой скорость потока и композицию циркулирующих углеводородов, которые преобладают в определении отношений iC4 по сравнению с чем-либо еще.
Типичные рабочие условия для алкилирования С4 в примерах
| Исходный материал олефинов |
C4’s |
| Поступление олефина, фунт/час |
0,25-0,50 |
| Выход алкилята, фунт/час |
0,50-1,2 |
| Темп. Rxn на выходе °F |
50-60 |
| Давление Rxn на выходе, фунт/кв.дюйм |
6-16 |
| DP, фунт/кв.дюйм |
0,5-3,0 |
| Скорости рециклирования: |
|
| Кислотная фаза, л/мин |
0,3-1 |
| фаза НС, л/мин |
1-3 |
| мас.% iC4 в рециклированных НС |
75-45 |
| мас.% H2SO4 в отработанной кислоте |
83-89 |
| мас.% H2O в отработанной кислоте |
2-4 |
| Добавление свежей кислоты, фунт/галлон алкилята |
0,3-0,5 |
| Тип насадки |
1 или 2 (смотри примечание ниже) |
| Высота насадки, фут |
10-15 |
| Плотность насадки фунт/фунт3 |
5-14 |
Примечания:
1. Насадка типа 1 представляет собой проволоку 304 из нержавеющей стали диаметром 0,011 дюйма, сплетенную вместе с многожильной стекловолоконной нитью через одну петлю плотностью 400 денье.
2. Насадка типа 2 представляет собой проволоку из сплава 20 диаметром 0,011 дюйма, сплетенную вместе с многожильной полипропиленовой пряжей через одну петлю плотностью 800 денье.
Пример 1
С4 олефины из нефтеперерабатывающего завода используются в качестве исходных материалов.
| Для лабораторной установки: |
|
|
| |
Низкое содержание iB |
38% iB в олефинах в целом |
| метан |
0,02 |
0,00 |
| этан |
0,00 |
0,00 |
| этен |
0,00 |
0,00 |
| пропан |
0,77 |
0,41 |
| пропен |
0,14 |
0,16 |
| пропин |
0,02 |
0,00 |
| пропадиен |
0,01 |
0,02 |
| изо-бутан |
23,91 |
47,50 |
| изо-бутен |
0,90 |
15,90 |
| 1-бутен |
20,02 |
10,49 |
| 1,3-бутадиен |
0,02 |
0,19 |
| н-бутан |
22,63 |
10,79 |
| трет-2-бутен |
18,05 |
7,93 |
| 2,2-dm (димер) пропан |
0,09 |
0,00 |
| 1-бутин |
0,00 |
0,01 |
| м-циклопропан |
0,03 |
0,03 |
| втор-2-бутен |
12,09 |
5,43 |
| 1,2-бутадиен |
0,00 |
0,01 |
| 3М-1-бутен |
0,26 |
0,04 |
| изо-пентан |
0,98 |
0,02 |
| 1-пентен |
0,06 |
0,82 |
| 2М-1-бутен |
0,01 |
0,01 |
| н-пентан |
0,01 |
0,03 |
| трет-2-пентен |
0,00 |
0,08 |
| втор-2-пентен |
0,00 |
0,00 |
| трет-3-пентадиен |
0,00 |
0,08 |
| втор-1,3-пентадиен |
0,00 |
0,00 |
| Неизвестные |
0,01 |
0,08 |
| |
100,0 |
100,0 |
Сравнение алкилята, полученного на нефтеперерабатывающем заводе, с результатами лабораторной установки, с использованием похожих исходных материалов с низким содержанием iB C4
| |
Завод А |
Завод В |
Лабораторная |
Лабораторная |
| |
|
|
установка 1 |
установка 2 |
| iC5 |
6,27 |
2,70 |
2,51 |
2,78 |
| 2,3-dmb (димер-бутан) |
4,05 |
2,84 |
2,80 |
3,02 |
| С6 |
1,63 |
1,19 |
1,00 |
1,15 |
| 2,2,3-tmb |
0,20 |
0,17 |
0,18 |
0,19 |
| (тример-бутан) |
|
|
|
|
| С7 |
7,17 |
5,55 |
4,35 |
4,35 |
| ТМ (тример) С8 |
53,88 |
61,76 |
66,84 |
66,93 |
| DM (димер) С8 |
12,27 |
12,47 |
12,69 |
12,44 |
| ТМ С9 |
5,04 |
4,22 |
2,89 |
2,74 |
| DM C9 |
0,57 |
1,01 |
0,29 |
0,18 |
| ТМ С10 |
1,14 |
0,91 |
0,70 |
0,64 |
| UNK (неизвестн.) |
0,51 |
0,54 |
0,29 |
0,29 |
| C10 |
|
|
|
|
| ТМ С11 |
0,99 |
0,77 |
0,69 |
0,71 |
| UNK С11 |
1,09 |
0,02 |
0,00 |
0,00 |
| C12 |
4,37 |
1,71 |
4,72 |
4,60 |
| C13 |
0,00 |
1,58 |
0,00 |
0,00 |
| C14 |
0,03 |
1,57 |
0,05 |
0,00 |
| C15 |
0,00 |
0,13 |
0,00 |
0,00 |
| HV’S |
0,05 |
0,04 |
0,00 |
0,00 |
| UNK |
0,74 |
0,83 |
0,00 |
0,00 |
| Сумма |
100,00 |
100,00 |
100,00 |
100,00 |
| Средний MW |
113,4 |
116,0 |
114,9 |
114,6 |
| Бромное число |
<1 |
<1 |
<1 |
<1 |
| Общее содержание серы, м.д. |
<10 |
<10 |
<10 |
<10 |
| Общий % ТМ |
61,05 |
67,66 |
71,12 |
71,01 |
| ТМ C8/DM С8 |
4,39 |
4,95 |
5,27 |
5,38 |
| (отношение) |
|
|
|
|
| ТМ C9/DM С9 |
8,85 |
4,19 |
10,08 |
15,57 |
| (отношение) |
|
|
|
|
| Анализ типичного уходящего потока, мас.%: |
|
|
|
| |
|
|
| |
|
|
|
|
| водород |
|
|
0,000 |
|
| азот |
|
|
0,124 |
|
| нитроген |
|
|
3,877 |
|
| метан |
|
|
0,019 |
|
| моноокись углерода |
|
0,000 |
|
| двуокись углерода |
|
0,000 |
|
| этан |
|
|
0,000 |
|
| этен |
|
|
0,000 |
|
| этин |
|
|
0,000 |
|
| пропан |
|
|
1,066 |
|
| пропен |
|
|
0,000 |
|
| пропадиен |
|
|
0,000 |
|
| изо-бутан |
|
|
81,233 |
|
| изо-бутен |
|
|
0,021 |
|
| 1-бутен |
|
|
0,000 |
|
| 1,3-бутадиен |
|
|
0,031 |
|
| н-бутан |
|
|
3,398 |
|
| трет-2-бутен |
|
|
0,000 |
|
| мциклопропан |
|
|
0,000 |
|
| втор-2-бутен |
|
|
0,000 |
|
| изо-пентан |
|
|
0,968 |
|
| 1-пентен |
|
|
0,000 |
|
| н-пентан |
|
|
0,000 |
|
| С5+ |
|
|
0,391 |
|
Пример 2
Влияние изобутилена (iB) на качество алкилята
| |
|
|
Лабораторная установка 1 |
| |
100% iB |
38% iB |
Низкое содержание iB |
| iC5 |
3,66 |
3,97 |
2,78 |
| 2,3-dmb |
3,60 |
3,56 |
3,02 |
| С6 |
1,42 |
0,52 |
1,15 |
| 2,2,3-tmb |
0,40 |
0,23 |
0,19 |
| С7 |
5,27 |
5,08 |
4,35 |
| ТМ С8 |
50,79 |
56,95 |
66,93 |
| DM C8 |
11,77 |
12,64 |
12,44 |
| ТМ С9 |
6,07 |
4,22 |
2,74 |
| DM C9 |
0,58 |
0,45 |
0,18 |
| ТМ С10 |
2,06 |
1,33 |
0,64 |
| UNK С10 |
1,14 |
0,67 |
0,29 |
| ТМ С11 |
2,54 |
1,28 |
0,71 |
| UNK С11 |
1,00 |
0,00 |
0,00 |
| С12 |
8,30 |
8,99 |
4,60 |
| С13 |
0,07 |
0,00 |
0,00 |
| С14 |
0,28 |
0,14 |
0,00 |
| С15 |
0,12 |
0,00 |
0,00 |
| HV’S (тяжелые фракции) |
0,38 |
0,00 |
0,00 |
| UNK |
0,54 |
0,00 |
0,00 |
| Сумма |
100.00 |
100.00 |
100.00 |
| Средний MW |
119,1 |
117,3 |
114,9 |
| Бромное число |
<1 |
<1 |
<1 |
| Общее содержание серы, м.д. |
<10 |
<10 |
<10 |
| Общий % ТМ |
61,46 |
63,77 |
71,12 |
| ТМ C8/DM С8 |
4,31 |
4,51 |
5,27 |
| ТМ C9/DM С9 |
10,51 |
9,34 |
10,08 |
Пример 3
Алкилирование пропилена + iC4
| Точка отбора образца |
Продукт |
| пропан |
0,01 |
| изо-бутан |
9,25 |
| н-бутан |
0,32 |
| изо-пентан |
0,97 |
| н-пентан |
0,00 |
| 2,3-dm бутан |
2,07 |
| 2М-пентан |
0,30 |
| 3М-пентан |
0,14 |
| н-гексан |
0,00 |
| 2,4-dm пентан |
15,59 |
| 2,2,3-tm бутан |
0,04 |
| 3,3-dm пентан |
0,01 |
| циклогексан |
0,00 |
| 2М-гексан |
0,34 |
| 2,3-dm пентан |
48,97 |
| 1,1-dm циклопентан |
0,00 |
| 3М-гексан |
0,35 |
| 2,2,4-tm пентан |
3,42 |
| н-гептан |
0,00 |
| 2, 5-dm гексан |
0,37 |
| 2,4-dm гексан |
0,56 |
| 2,3,4-tm пентан |
1,52 |
| 2,3,3-tm пентан |
1,21 |
| 2,3-dm гексан |
0,64 |
| 2,2,5-tm гексан |
0,68 |
| 2,3,4-tm гексан |
0,13 |
| 2,2-dm гептан |
0,01 |
| 2,4-dm гептан |
0,03 |
| 2,6-dm гептан |
0,03 |
| 2,2,4-tm-гептан |
1,83 |
| 3,3,5-tm-гептан |
1,70 |
| 2,3,6-tm-гептан |
1,16 |
| 2,3,5-tm-гептан |
0,16 |
| tm-гептан |
1,00 |
| 2,2,6-триметилоктан |
2,32 |
| С8 |
0,20 |
| С9 |
0,20 |
| C10 |
0,98 |
| С11 |
1,62 |
| С12 |
1,73 |
| С13 |
0,09 |
| С14 |
0,05 |
| С15 |
0,01 |
| Неизвестные |
0,01 |
| Тяжелые фракции |
0,00 |
| |
100,00 |
Пример 4
Продукт алкилирования изобутана + пентена-1, мас.%:
| С5 |
5,03 |
| 2,3-dmb |
0,74 |
| С6 |
0,35 |
| DM C7 |
1,14 |
| С7 |
0,17 |
| ТМ С8 |
22,26 |
| DM C8 |
3,70 |
| ТМ С9 |
52,40 |
| DM C9 |
6,72 |
| ТМ С10 |
1,51 |
| UNK С10 |
0,56 |
| ТМ С11 |
0,16 |
| UNK С11 |
0,38 |
| С12 |
3,68 |
| С13 |
0,33 |
| С14 |
0,11 |
| С15 |
0,08 |
| HV’S |
0,03 |
| UNK |
0,63 |
| |
100,00 |
| Средний MW |
123,2 |
| Ожидаемый MW |
128 |
| Исходный материал олефина, |
0,25 |
| #/час |
|
| Продукт алкилята, #/час |
0,47 |
Пример 5
Продукт олигомеризации из исходных материалов С4 с 38% iB в олефинах в целом. (Этот продукт, в свою очередь, используется в качестве исходных материалов олефинов для лабораторной установки алкилирования).
| изо-бутан |
48,8 |
| изо-бутен + 1-бутен |
1,6 |
| н-бутан |
11,2 |
| трет-2-бутен |
14,3 |
| втор-2-бутен |
6,5 |
| изо-пентан |
1,0 |
| трет-2-пентен |
0,1 |
| Неизвестные |
1,5 |
| 2,4,4-tm-1-пентен |
4,7 |
| 2,4,4-tm-2-пентен |
1,3 |
| другие С8 |
3,4 |
| Сгруппированные С12 |
4,4 |
| Сгруппированные С16 |
1,2 |
| |
100,00 |
Влияние олигомеризации на продукты алкилирования при использовании исходных материалов С4 с iB=38% от олефинов
| |
до |
после |
| iC5 |
3,97 |
2,39 |
| 2,3-dmb |
3,56 |
2,87 |
| С6 |
0,52 |
1,17 |
| 2,2,3-tmb |
0,23 |
0,20 |
| С7 |
5,08 |
4,95 |
| ТМ С8 |
56,95 |
58,34 |
| DM C8 |
12,64 |
12,80 |
| ТМ С9 |
4,22 |
4,15 |
| DM C9 |
0,45 |
0,35 |
| ТМ С10 |
1,33 |
1,29 |
| UNK С10 |
0,67 |
0,57 |
| ТМ С11 |
1,28 |
1,41 |
| UNK С11 |
0,00 |
0,00 |
| С12 |
8,99 |
9,41 |
| С13 |
0,00 |
0,00 |
| С14 |
0,14 |
0,11 |
| С15 |
0,00 |
0,00 |
| HV’S |
0,00 |
0,00 |
| UNK |
0,00 |
0,00 |
| сумма |
100.00 |
100.00 |
| Средний MW |
117,3 |
118,3 |
| Бромное число |
<1 |
<1 |
| Общее содержание серы, м.д. |
<10 |
<10 |
| Общий % ТМ |
63,77 |
65,19 |
| ТМ C8/DM С8 |
4,51 |
4,56 |
| ТМ C9/DM С9 |
9,34 |
11,75 |
| Рабочие условия: |
|
|
| Поступление олефинов, фунт/час |
0,25 |
0,25 |
| Выход алкилята, фунт/час |
0,53 |
0,53 |
| Темп. Rxn на выходе |
52,0 |
52,2 |
| Давление Rxn на выходе, фунт/кв.дюйм |
12,2 |
11,8 |
| DP, фунт/кв.дюйм |
<1 |
<1 |
| Скорости рециклирования: |
|
|
| Кислотная фаза, л/мин |
1,0 |
1,0 |
| Фаза НС, л/мин |
2,6 |
2,6 |
| % |
69 |
67 |
| iC4 в рециклируемых НС |
2 |
2 |
| Тип насадки |
|
|
| Высота насадки, фут |
15 |
15 |
| Плотность насадки фунт/фунт3 |
7 |
7 |
Пример 6
Качество алкилята из изобутена + изобутана или олигомеров iB + iC4.
| |
IB |
DIB |
ТТВ+ |
| IC5 |
3,66 |
3,97 |
3,41 |
| 2,3-dmb |
3,60 |
3,70 |
3,18 |
| С6 |
1,42 |
1,36 |
1,53 |
| 2,2,3-tmb |
0,40 |
0,38 |
0,27 |
| С7 |
5,27 |
4,96 |
6,39 |
| ТМ С8 |
50,79 |
47,93 |
38,35 |
| DM C8 |
11,77 |
8,92 |
12,91 |
| TM C9 |
6,07 |
6,60 |
10,31 |
| DM C9 |
0,58 |
0,81 |
1,10 |
| TM C10 |
2,06 |
3,09 |
3,29 |
| UNK C10 |
1,14 |
1,18 |
1,35 |
| TM C11 |
2,54 |
2,53 |
2,72 |
| UNK C11 |
1,00 |
1,79 |
0,00 |
| C12 |
8,30 |
10,51 |
14,97 |
| C13 |
0,07 |
0,31 |
0,07 |
| C14 |
0,28 |
1,47 |
0,14 |
| C15 |
0,12 |
0,29 |
0,00 |
| HV’S |
0,38 |
0,19 |
0.00 |
| UNK |
0,54 |
0,01 |
0,00 |
| сумма |
100.00 |
100.00 |
100.00 |
| Средний MW |
119,1 |
122,1 |
122,9 |
| Бромное число |
<1 |
<1 |
<1 |
| Общее содержание серы м.д. |
<10 |
<10 |
<10 |
| Общий %ТМ |
61,46 |
60,15 |
54,67 |
| TM C8/DM C8 |
4,31 |
5,37 |
2,97 |
| TM C9/DM C9 |
10,51 |
8,15 |
9,37 |
| Рабочие условия: |
|
|
|
| |
IB |
DIB |
TIB+ |
| Поступление олефинов, фунт/час |
0,25 |
0,40 |
0,25 |
| Выход алкилята, фунт/час |
0,49 |
0,78 |
0,48 |
| Темп. Rxn на выходе |
52 |
51,6 |
51,7 |
| Давление Rxn на выходе, фунт/кв.дюйм |
13 |
13,5 |
5,7 |
| DP, фунт/кв.дюйм |
2,5 |
1,1 |
<1 |
| Скорости рециклирования: |
|
|
|
| Кислотная фаза, л/мин |
0,8 |
0,5 |
1,0 |
| Фаза НС, л/мин |
1,8 |
1,4 |
3,0 |
| % iC4 в рециклируемых НС |
73 |
76 |
45 |
| Тип насадки |
1 |
1 |
2 |
| Высота насадки, фут |
10 |
10 |
15 |
| Плотность насадки, фунт/фунт3 |
6 |
6 |
7 |
Пример 7
Сравнение ожидаемых и реальных значений MW продукта и потребляемых молей iC4 для различных олефинов (например, в теории, 1 моль С6 олефина должен взаимодействовать с 1 моль iC4 с образованием С10 алкилята; MW 142).
Результаты указывают на деполимеризацию, генерирующую большее количество олефинов с более низкими и более высокими MW, которые сочетаются с дополнительными iC4.
| |
Потребление молей iC4 на моль исходных материалов олефинов |
Средний MW продукта |
| Олефин |
Ожидаемый |
Реальный |
Ожидаемый |
Реальный |
| гексен-1 |
1,0 |
1,2 |
142 |
129 |
| октен-1 |
1,0 |
1,4 |
170 |
135 |
| диизобутилен |
1,0 |
1,8 |
170 |
122 |
| триизобутилен+ |
1,0 |
2,6 |
226 |
123 |
Пример 8
Продукт алкилирования изобутана + пентена-1, мас.%
| IC5 |
5,03 |
| 2,3-dmb |
0,74 |
| С6 |
0,35 |
| DM C7 |
1,14 |
| |
38 |
| С7 |
0,17 |
| ТМ С8 |
22,26 |
| DM C8 |
3,70 |
| ТМ С9 |
52,40 |
| DM C9 |
6,72 |
| ТМ С10 |
1,51 |
| UNK С10 |
0,56 |
| ТМ С11 |
0,16 |
| UNK С11 |
0,38 |
| С12 |
3,68 |
| С13 |
0,33 |
| С14 |
0,11 |
| С15 |
0,08 |
| HV’S |
0,03 |
| UNK |
0,63 |
| |
100,00 |
| Средний MW |
123,2 |
| Ожидаемый MW |
128 |
| Поступление олефинов, #/час |
0,25 |
| Продукт алкилята, #/час |
0,47 |
Формула изобретения
1. Система смешивания для алкилирования парафинов, содержащая вертикальный реактор для осуществления каталитических реакций и расположенное в нем диспергирующее устройство, причем диспергирующее устройство содержит, по меньшей мере, 50 об.% открытого пространства, при этом диспергирующее устройство содержит проволоку в виде сетки, сплетенную с многожильным элементом, или вытянутый или раскатанный металл, переплетенный вместе с многожильным элементом, причем многожильную нить выбирают из инертных полимеров, каталитических полимеров, каталитических металлов или их смесей.
2. Система по п.1, отличающаяся тем, что открытое пространство составляет примерно до 97 об.%.
3. Система по п.1, отличающаяся тем, что диспергирующее устройство содержит сплетенную сетку из проволоки и полимерную сетку.
4. Система по п.1, отличающаяся тем, что диспергирующее устройство содержит сплетенные вместе проволоку в виде сетки и стекловолокно.
5. Система по п.1, отличающаяся тем, что диспергирующее устройство содержит сетку сплетенных вместе проволоки и многожильного компонента, включающего тефлон, стальную шерсть, полипропилен, поливилиденфторид, полиэфир или их сочетание.
6. Система по п.1, отличающаяся тем, что диспергирующее устройство расположено в виде множества размещенных вертикально поперечных матов внутри и поперек вертикального реактора.
7. Система по п.1, отличающаяся тем, что проволочная сетка обеспечивает как структурную целостность системы, так и открытое пространство.
8. Система по п.1, отличающаяся тем, что диспергирующее устройство содержит листы, пучки или пакеты из сплетенных вместе проволоки и многожильного компонента или их сочетания.
9. Система по п.1, отличающаяся тем, что диспергирующее устройство содержит многожильный каталитический материал из сульфонированной виниловой смолы, Ni, Pt, Co, Mo, Ag или их смесей.
10. Система по п.1, отличающаяся тем, что диспергирующее устройство содержит структуру, которая имеет жесткую рамку, изготовленную из двух по существу вертикальных двойных решеток, расположенных на расстоянии друг от друга и удерживаемых в жестком состоянии посредством множества по существу горизонтальных жестких элементов и множества по существу горизонтальных трубок из проволочной сетки, прикрепленных к решеткам для формирования множества проходов для текучих сред между трубками, причем трубки являются пустыми или содержат каталитические или некаталитические материалы.
11. Система по п.1, отличающаяся тем, что диспергирующее устройство содержит структуру, содержащую множество листов проволочной сетки, сформированной в виде изгибов V-образной формы, имеющих плоские участки между V-образными выступами, причем множество листов имеет по существу однородный размер и они имеют выступы, ориентированные в одном направлении и по существу совмещенные друг с другом, при этом листы разделены множеством жестких элементов, ориентированных по нормали к V-образным выступам и находящихся на них.
12. Система смешивания в совмещенном нисходящем потоке для алкилирования, содержащая вертикальный реактор для осуществления каталитических реакций и расположенное в нем диспергирующее устройство, содержащее, по меньшей мере, один частично жидкий реагент, катализатор и реакционные условия для поддержания частично жидкого реагента при температуре кипения, при этом диспергирующее устройство содержит проволоку в виде сетки, сплетенную с многожильным элементом, или раскатанный металл, переплетенный вместе с многожильным элементом, причем многожильную нить выбирают из инертных полимеров, каталитических полимеров, каталитических металлов или их смесей.
13. Система по п.12, отличающаяся тем, что диспергирующее устройство содержит сплетенные вместе сетку из проволоки и полимерную сетку.
14. Система по п.12, отличающаяся тем, что диспергирующее устройство содержит сплетенные вместе проволоку в виде сетки и стекловолокно.
15. Система по п.12, отличающаяся тем, что диспергирующее устройство содержит сетку из сплетенных вместе проволоки и многожильного компонента, включающего тефлон, стальную шерсть, полипропилен, поливилиденфторид, полиэфир или их сочетание.
16. Система по п.12, отличающаяся тем, что диспергирующее устройство расположено в виде множества расположенных вертикально поперечных матов, внутри и поперек вертикального реактора.
17. Система по п.12, отличающаяся тем, что проволочная сетка обеспечивает как структурную целостность системы, так и открытое пространство.
18. Система по п.12, отличающаяся тем, что диспергирующее устройство содержит листы, пучки или пакеты из сплетенных вместе проволоки и многожильного компонента или их сочетания.
19. Система по п.12, отличающаяся тем, что диспергирующее устройство содержит многожильный каталитический материал из сульфонированной виниловой смолы, Ni, Pt, Co, Mo, Ag или их смесей.
20. Система по п.12, отличающаяся тем, что в ней присутствуют, по меньшей мере, две фазы.
21. Диспергирующее устройство системы смешивания для алкилирования, содержащее проволоку в виде сетки, сплетенную с многожильным элементом, или раскатанный металл, переплетенный вместе с многожильным элементом, причем многожильную нить выбирают из инертных полимеров, каталитических полимеров, каталитических металлов или их смесей.
22. Диспергирующее устройство по п.21, отличающееся тем, что содержит многожильный каталитический материал из сульфонированной виниловой смолы, Ni, Pt, Со, Мо, Ag или их смесей.
23. Диспергирующее устройство по п.21, отличающееся тем, что содержит, по меньшей мере, 50 об.% открытого пространства.
24. Диспергирующее устройство по п.21, отличающееся тем, что содержит примерно до 97 об.% открытого пространства.
РИСУНКИ
|
|