|
|
(21), (22) Заявка: 2006116139/15, 10.05.2006
(24) Дата начала отсчета срока действия патента:
10.05.2006
(46) Опубликовано: 10.03.2008
(56) Список документов, цитированных в отчете о поиске:
US 5725834 А, 10.03.1998. SU 1836286 A3, 23.08.1993. RU 2174437 C1, 10.10.2001. EP 0849130 A1, 24.06.1998. JP 08057291 A, 05.03.1996. US 5763821 А, 09.06.1998.
Адрес для переписки:
392680, г.Тамбов, Моршанское ш., 19, ОАО “Корпорация “Росхимзащита”
|
(72) Автор(ы):
Симаненков Станислав Ильич (RU), Копытов Юрий Федорович (RU), Булаев Николай Анатольевич (RU), Попов Василий Александрович (RU), Скворцов Алексей Федорович (RU)
(73) Патентообладатель(и):
Открытое акционерное общество “Корпорация “Росхимзащита” (ОАО “Корпорация “Росхимзащита”) (RU)
|
(54) ГЕНЕРАТОР КИСЛОРОДА
(57) Реферат:
Изобретение относится к химическим генераторам кислорода, обеспечивающим жизнедеятельность человека в аварийных и штатных ситуациях в авиации и на космических станциях. Генератор кислорода включает корпус, брикет твердого источника кислорода, пусковое устройство, фильтр и патрубок для выхода кислорода. Брикет выполнен на основе перхлората лития и размещен в непосредственном контакте со стенкой корпуса. Патрубок выхода кислорода размещен на торце со стороны инициирующей части брикета. Упрощается конструкция генератора кислорода, а также повышается удельный выход кислорода на единицу массы и объема генератора. 1 ил.
Изобретение относится к химическим генераторам кислорода, обеспечивающим жизнедеятельность человека в аварийных и штатных ситуациях в авиации и на космических станциях.
Известны генераторы кислорода (патент США №3,443,907 НКИ 23-281, 1969; патент США №3,702,305 НКИ 252-187, 1972; заявка РСТ №02/098512 МПК СО1В 13/02 2002; патент США №5,725,834 МПК А62В 7/08, 1998).
Указанные генераторы кислорода могут иметь различное назначение, но чаще они используются в авиации как аварийное средство подачи кислорода на больших высотах. Необходимо отметить, что они достаточно надежны в работе и продуцируют достаточно чистый кислород в течение 15-25 мин. Для авиации данные генераторы кислорода достаточно эффективны, однако при разработке генераторов кислорода для космических станций приходится учитывать две специфические особенности:
1) при доставке на космические станции генераторы должны выдерживать значительные вибрационные и ударные нагрузки;
2) удельный выход кислорода на единицу массы и объема генератора должен быть максимально большим, так как стоимость доставки единицы массы и объема космического груза все еще достаточно высока (1000-3300 долларов/кг).
Наиболее близким по технической сущности и достигаемому результату к заявляемому изобретению является генератор кислорода (патент США №5,725,834, МПК А62В 7/08, 1998). Генератор кислорода включает корпус, пусковое устройство, брикет на основе хлората натрия, систему крепления брикета в корпусе генератора, систему управления газовым потоком, теплоизоляцию брикета, фильтр, предохранительный клапан и выходной патрубок. Инициирующая часть брикета и патрубок для вывода кислорода расположены на разных торцах (концах) корпуса генератора. При включении пускового устройства в работу происходит инициирование работы брикета. Газовый поток проходит через систему направляющих теплоизоляционный слой, фильтр и поступает потребителю. Для авиации, где чаще всего используется данный генератор кислорода, он достаточно эффективен. Однако выходы кислорода с единицы массы и объема для этого генератора не достаточно высоки и составляют соответственно 140 нл/кг и 70 нл/дм3.
Причины этого в следующем.
1. Используемый в генераторе брикет выполнен на основе хлората натрия. Такой брикет достаточно плотный, но хрупкий, поэтому требует «мягкой», но сложной системы укладки для того, чтобы он смог выдерживать требуемые вибрационные и ударные нагрузки. Такая укладка занимает значительный объем в корпусе генератора.
2. Патрубок выхода кислорода размещен на торце, противоположном инициирующей части брикета. Поэтому направление выхода продуцируемого брикетом кислорода совпадает с направлением его разложения. При этом горячий кислород разогревает поверхность неработающей части брикета и постепенно увеличивает поверхность работающей зоны брикета. Вследствие этого возможно самоускорение процесса разложения брикета, то есть «тепловой взрыв». Чтобы не допустить этого, конструкция генератора должна предусматривать значительное расстояние между стенкой корпуса и брикетом (не менее 6 мм). Тем не менее, поскольку полностью избежать этого не удается, брикет делают послойным (четыре слоя усложненной конфигурации). В результате использования сильно усложненного по составу брикета и дополнительной его теплоизоляции удается добиться равномерности разложения брикета во времени. Однако все это вместе увеличивает объем генератора и значительно снижает выходы кислорода с единицы массы и объема генератора.
Задачей изобретения является создание генератора кислорода, обеспечивающего достаточно высокие выходы кислорода на единицу массы и объема генератора.
Задача решается изобретением, согласно которому генератор кислорода, включающий корпус, брикет твердого источника кислорода, пусковое устройство, фильтр и патрубок для выхода кислорода, отличается тем, что брикет выполнен на основе перхлората лития и размещен в непосредственном контакте со стенкой корпуса, а патрубок выхода кислорода размещен на торце со стороны инициирующей части брикета. Таким образом, направление выхода кислорода в генераторе выполнено противоположно направлению разложения брикета.
Такое выполнение генератора позволяет ему повысить удельный выход кислорода с единицы массы и объема.
Существенными признаками, отличающими данное изобретение, являются следующие:
1. Генератор кислорода содержит брикет твердого источника кислорода, выполненный на основе перхлората лития. Брикет на основе перхлората лития более прочный, чем брикет на основе хлората натрия, поэтому не требует сложной и объемной системы укладки в корпусе генератора. Кроме того, удельные выходы кислорода брикетов на основе перхлората лития более высокие, чем у брикетов на основе хлората натрия.
2. Патрубок выхода кислорода размещен на торце со стороны инициирующей части брикета. Таким образом, конструкция генератора выполнена таким образом, что направление выхода кислорода в генераторе происходит противоположно направлению разложения брикета. При такой конструкции генератора брикет плотно размещается в его корпусе, находится в непосредственном контакте со стенкой корпуса и фактически занимает весь его свободный объем.
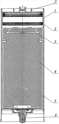
Сущность изобретения поясняется чертежом.
Генератор кислорода содержит корпус 1, фильтр 2, инициирующую часть брикета 3 (спираль) с подачей тока по проводам 5, брикет твердого источника кислорода 4, состоящий из двух частей: пусковой и основной (на чертеже не показано), пусковой элемент генератора 6 и патрубок для выхода кислорода 7. Брикет твердого источника кислорода 4 фактически полностью занимает весь свободный объем корпуса 1 генератора и плотно закреплен в нем.
Генератор кислорода работает следующим образом.
Брикет твердого источника кислорода 4 включается в работу инициирующей частью 3 (электронагревом спирали). Электрический ток на спираль подается по медным проводам 5, расположенным вдоль брикета 4, от пускового элемента 6. В начале запускается в работу пусковая часть брикета, затем разложение передается его основной части. Разложение брикета направлено сверху вниз от спирали. Патрубок выхода кислорода размещен на торце со стороны инициирующей части брикета. Таким образом, направление выхода кислорода выполнено от зоны разложения брикета вверх, то есть противоположно направлению разложения брикета. Горячий кислород проходит через отработанную часть брикета. Разложение брикета происходит устойчиво и равномерно, без теплового самоускорения. Продуцируемый брикетом твердого источника 4 кислород поступает на фильтр 2 и на выход потребителю через патрубок 7. Стенка корпуса выполнена достаточно тонкой. Такая стенка под давлением газа и температуры прогибается вовне, обеспечивая беспрепятственный выход газа.
Благодаря такой конструкции генератора брикет включает только два состава (пусковой и основной) вместо четырех и сложной конфигурации их расположения в самом брикете. Разложение брикета в течение всего времени его работы (15-25 мин) идет с постоянной скоростью. Брикет на основе перхлората лития обладает лучшей прессуемостью и более прочен, чем брикет на основе хлората натрия. Более плотная упаковка брикета в корпусе генератора позволяет ему выдерживать практически любые механические нагрузки. Выход кислорода на единицу массы генератора составляет 283 нл/кг (вместо 140 нл/кг), то есть в два раза больше. Выход кислорода на единицу объема генератора составляет 377 нл/дм3 (вместо 70 нл/дм3), то есть в пять раз больше, чем для генератора по патенту США №5,725,834.
В работе генератора предложенной конструкции выявился еще один дополнительный эффект. Фильтр такого генератора работает в полную нагрузку только в пусковой период работы брикета. По мере продвижения работающего слоя продукта роль фильтра берет на себя образующийся зернистый остаток продуктов разложения брикета. Причем обеспечивается очистка кислорода как в отношении аэрозолей, так и в отношении вредных газовых включений (хлора, двуокиси хлора и окиси углерода).
Формула изобретения
Генератор кислорода, включающий корпус, брикет твердого источника кислорода, пусковое устройство, фильтр и патрубок для выхода кислорода, отличающийся тем, что брикет выполнен на основе перхлората лития и размещен в непосредственном контакте со стенкой корпуса, а патрубок выхода кислорода размещен на торце со стороны инициирующей части брикета.
РИСУНКИ
|
|