|
|
(21), (22) Заявка: 2006107843/15, 13.03.2006
(24) Дата начала отсчета срока действия патента:
13.03.2006
(43) Дата публикации заявки: 20.09.2007
(46) Опубликовано: 10.03.2008
(56) Список документов, цитированных в отчете о поиске:
SU 1301476 A1, 07.04.1987. SU 398398 A, 21.11.1974. SU 625935 A, 21.08.1978. SU 280462 A, 08.12.1970. US 4088716 A, 09.05.1978.
Адрес для переписки:
665709, Иркутская обл., г. Братск, ул. Макаренко, 40, ГОУВПО “БрГУ”, патентный отдел, С.В. Кварацхелия
|
(72) Автор(ы):
Ефремов Игорь Михайлович (RU), Лобанов Дмитрий Викторович (RU), Савонь Василий Михайлович (RU), Янин Виталий Сергеевич (RU)
(73) Патентообладатель(и):
Государственное образовательное учреждение высшего профессионального образования “Братский государственный университет” (RU)
|
(54) РОТОРНО-ВИБРАЦИОННЫЙ СМЕСИТЕЛЬ С КОЛЬЦЕВЫМ МАГНИТОСТРИКЦИОННЫМ ПРЕОБРАЗОВАТЕЛЕМ
(57) Реферат:
Изобретение относится к смесителям периодического действия и может быть использовано в промышленности строительных материалов, в строительстве и других областях строительной индустрии для производства полидисперсных материалов. Смеситель содержит камеру смешивания, ротор с приводом вращения, выполненный с лопастями, вибратор, выполненный в виде излучающей высокочастотные колебания трубы с диском и жестко закрепленный в середине камеры смешивания. Вибратор имеет кольцевой магнитострикционный пакет, соединенный с внутренней стороной трубы методом горячей посадки. Под действием магнитных сил подводимого переменного электрического тока кольцевой сердечник изменяет свою длину окружности и диаметр излучающей трубы, тем самым, возбуждая высокочастотные колебания частиц в горизонтальном направлении. В смесителе имеется возможность регулировать интенсивность вибрации посредством изменения частоты переменного тока, подаваемого на обмотку кольцевого магнитострикционного преобразователя. Технический результат состоит в повышении производительности смесителя, снижении энергоемкости процесса смешивания, снижении вибрационного воздействия на подшипниковые узлы. 2 з.п. ф-лы, 2 ил.
Изобретение относится к смесителям периодического действия и может быть использовано в промышленности строительных материалов, в строительстве и других областях строительной индустрии для производства полидисперсных материалов.
Известен смеситель принудительного перемешивания, содержащий установленный в цилиндрической чаше ротор с лопастями, соединенный с размещенным в стакане приводом его вращения в виде зубчатой передачи, ведущая шестерня которой закреплена на вертикальном валу посредством подшипников эксцентрично, а ведомая выполнена с внутренним зацеплением, вертикальный вал снабжен дебалансом в виде маховика с кольцевой канавкой и размещенными в ней шарами (Королев К.М. Производство бетонной смеси и раствора. М.: Высшая школа, 1973, с.156-161, рис.107.).
Известен так же растворосмеситель СВ-79, содержащий установленный в цилиндрической чаше ротор с лопастями, соединенный с приводом его вращения (Королев К.М. Производство бетонной смеси и раствора. М.: Высшая школа, 1973, с.156-161, рис.107.).
К недостаткам известных смесителей относятся невысокая производительность, большая энергоемкость процесса, низкая надежность несущих элементов деталей привода ротора, нестабильность процесса.
Наиболее близким к предлагаемому является роторный смеситель периодического действия, содержащий камеру смешивания, ротор с приводом вращения, выполненный с лопастями, установленными под углом 45° к его радиусу, и вибратор с кинематическим возбуждением колебаний, консольно установленный по оси камеры смешивания, коаксиально лопастям ротора, причем вибратор выполнен в виде полого цилиндра с ребрами по наружной поверхности и установлен на коленчатом валу с помощью сферических подшипников (патент SU №1301476 А1, 17.04.1985, В01F 11/00).
К недостаткам известной конструкции относятся невысокая производительность, значительные энергозатраты на вращение ротора и дополнительные энергозатраты на вращение вибратора, а так же очень высокий процент износа подшипниковых узлов.
Технической задачей, решаемой изобретением, является повышение производительности смесителя, снижение энергоемкости процесса смешивания, снижение вибрационного воздействия, так же других факторов, влияющих на износ подшипниковых узлов.
Технический результат достигается тем, что роторно-вибрационный смеситель с кольцевым магнитострикционным преобразователем содержит камеру смешивания, ротор с приводом вращения, выполненный с лопастями, вибратор, выполненный в виде излучающей трубы с диском и жестко закрепленный в середине камеры смешивания. Вибратор имеет кольцевой магнитострикционный пакет, соединенный с внутренней стороной трубы методом горячей посадки и состоящий из набора колец с отверстиями, штампованных из листового материала, образующих кольцевой сердечник магнитострикционного пакета. Кольцевой сердечник магнитострикционного пакета имеет отверстия, расположенные по окружности колец, в которые продеваются провода, в результате чего образуется тороидальная обмотка. Под действием магнитных сил подводимого переменного электрического тока кольцевой сердечник изменяет свою длину окружности и диаметр излучающей трубы, которая излучает высокочастотные колебания, тем самым, возбуждая колебания частиц в горизонтальном направлении. В смесителе имеется возможность регулировать интенсивность вибрации посредством изменения частоты переменного тока, подаваемого на обмотку кольцевого магнитострикционного преобразователя.
Сравнение с прототипом показывает, что в вибрационном механизме предлагаемого смесителя отсутствует вибрационная нагрузка на подшипниковые узлы привода вращения ротора, полностью исключено попадание частиц приготавливаемой смеси внутрь вибратора. Заявляемая конструкция смесителя обеспечивает более равномерную проработку смеси вибратором во всем пространстве рабочей камеры смесителя, однородное разрушение структуры материала, создание эффекта виброкипения, более интенсивную турбулизацию и циркуляцию материала в корпусе смесителя и в целом большую производительность и меньший расход энергии на процесс смешивания.
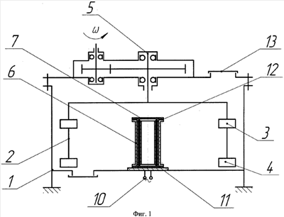
Сущность изобретения поясняется чертежами: на фиг.1 представлена схема роторно-вибрационного смесителя с кольцевым магнитострикционным преобразователем; на фиг.2 – кольцевой магнитострикционный преобразователь в разрезе.
Смеситель содержит камеру 1 смешивания, ротор 2, выполненный с лопастями 3,4. Ротор 2 имеет привод 5 вращения. В центре камеры смешивания 1 установлен вибратор, выполненный в виде излучающей трубы 6, которая излучает высокочастотные колебания, с диском 7. Вибратор имеет кольцевой магнитострикционный пакет 8, соединенный с внутренней стороной трубы методом горячей посадки и состоящий из набора колец с отверстиями 9, штампованных из листового материала, образующих кольцевой сердечник магнитострикционного пакета, в которые продеты провода клемм 10 переменного электрического тока, образующих тороидальную обмотку. Для предотвращения излучения трубы 6 к нерабочей поверхности пакета 8, а так же для исключения попадания частиц рабочей смеси внутрь вибратора в нижней части вибратора установлен резиновый отражатель 11, а в верхней – резиновая прокладка 12. В смесителе имеются так же окна 13 и 14 загрузки и выгрузки материалов соответственно.
Роторно-вибрационный смеситель с кольцевым магнитострикционным преобразователем работает следующим образом: привод 5 вращает ротор 2 и лопасти 3, 4, тем самым, перемешивая приготавливаемую смесь. Излучающая труба 6 при помощи магнитострикционного пакета 8, состоящего из набора колец с отверстиями 9, которые под действием магнитных сил подводимого через вывод проводов 10 переменного электрического тока изменяют свою длину окружности и диаметр трубы, излучает высокочастотные колебания, тем самым, возбуждая колебания частиц смеси в горизонтальном направлении. В целом конструкция смесителя позволяет интенсифицировать процесс смешивания при одновременном снижении потерь энергии на вращение ротора 2, вследствие снижения сил сопротивления перемещению лопастей 3 и 4, повышении подвижности и турбулизации смеси во всем объеме камеры смесителя 1.
Конструкция смесителя позволяет повысить производительность и снизить затраты энергии на процесс смешивания особенно жестких бетонных смесей, объясняющиеся тем, что при колебательном движении вибратора с амплитудным значением ускорения вибрации 180…250 м/с2 происходит более однородное тиксотропное разрушение структуры материала во всем пространстве камеры смешивания, проявляющееся в уменьшении вязкости в 50…60 раз и более по сравнению с вязкостью известного неразрушенного материала. В связи с этим уменьшается сопротивление перемещению лопастей и потребляемая мощность привода вращения ротора. Вместе с тем достигается эффект виброкипения смеси под действием колебательного движения диска вибратора, большая турбулизация и более интенсивная циркуляция частиц смеси, в результате чего сокращается время смешивания, повышается производительность смесителя.
Формула изобретения
1. Роторно-вибрационный смеситель, содержащий камеру смешивания, ротор с приводом вращения, выполненный с лопастями, вибратор, отличающийся тем, что вибратор выполнен в виде излучающей высокочастотные колебания трубы с диском и жестко закреплен в середине камеры смешивания.
2. Смеситель по п.1, отличающийся тем, что вибратор имеет кольцевой магнитострикционный пакет, с помощью которого излучающая труба возбуждает высокочастотные колебания частиц в горизонтальном направлении.
3. Смеситель по п.1, отличающийся тем, что имеется возможность регулировать интенсивность вибрации посредством изменения частоты переменного тока, подаваемого на обмотку кольцевого магнитострикционного преобразователя.
РИСУНКИ
MM4A – Досрочное прекращение действия патента СССР или патента Российской Федерации на изобретение из-за неуплаты в установленный срок пошлины за поддержание патента в силе
Дата прекращения действия патента: 14.03.2008
Извещение опубликовано: 20.08.2009 БИ: 23/2009
|
|