|
|
(21), (22) Заявка: 2006115895/15, 10.05.2006
(24) Дата начала отсчета срока действия патента:
10.05.2006
(46) Опубликовано: 10.03.2008
(56) Список документов, цитированных в отчете о поиске:
RU 2258557 C1, 20.08.2005. Пористые проницаемые материалы Справ. изд. Под ред. Белова С.В. – М.: Металлургия, 1987, с.273-284. RU 2050941 С1, 27.12.1995. RU 2003124205 А, 10.02.2005.
Адрес для переписки:
142300, Московская обл., г. Чехов-4, ул. Гагарина, 35, кв.20, Панчехе Г.Ю.
|
(72) Автор(ы):
Панчеха Григорий Юрьевич (RU)
(73) Патентообладатель(и):
Панчеха Григорий Юрьевич (RU)
|
(54) ОЧИСТИТЕЛЬ-УВЛАЖНИТЕЛЬ ГАЗА
(57) Реферат:
Изобретение относится к фильтрам мокрой очистки газов от пыли, капель, аэрозоля. Очиститель-увлажнитель газа содержит корпус с входным и выходными отверстиями, ванну для жидкости, вентилятор. В корпусе установлены фильтроэлементы из пористых проницаемых материалов. Некоторые или все фильтроэлементы содержат в перемычках крупных пор открытые мелкие поры или капилляры для смачивания жидкостью. Фильтроэлементы расположены блоками, в каждом из которых не менее одного фильтроэлемента. Каждый блок отделен друг от друга перегородками из малопроницаемого для газа материала с каналами для прохода газа. Каналы выполнены в разных перегородках так, что образуют зигзагообразный лабиринт для прохода газа. Фильтроэлементы и перегородки частично погружены в жидкость ванны. Технический результат: упрощение конструкции, повышение эффективности очистки газа. 6 з.п.ф-лы, 1 ил.
Изобретение относится к фильтрам мокрой очистки газов от пыли, капель, аэрозоля.
Известен фильтр, по которому через фильтроэлемент, выполненный в виде перфорированного каркаса, обтянутого фильтрующим материалом, установленного внутри корпуса, подают загрязненный газ, который частично задерживается фильтроэлементом (см. а.с. СССР №1329802, МКИ B01D, 45/08, оп. 1987 г.).
Недостатком фильтра является низкая эффективность очистки газа. Отсутствие увлажнения газа.
Известен очиститель-увлажнитель газа, содержащий корпус с входным и выходным отверстиями, ванну с жидкостью, вентилятор, связанный с входным отверстием корпуса, установленные в корпусе фильтроэлементы из пористых проницаемых материалов (см. патент России №2258557 C1 B01D 47/18, 20.08.2005 г.).
Данный фильтр обладает более высокой эффективностью очистки газа, т.к. фильтроэлементы могут очищаться в ванне при вращении. Отсутствие удлиненного пути прохода потока через поры фильтроэлемента снижает эффективность очистки.
Задачи изобретения – упрощение конструкции, повышение эффективности очистки, расширение функциональных способностей.
Поставленная задача решается тем, что в очистителе-увлажнителе газа, содержащем корпус с входным и выходными отверстиями, ванну для жидкости, привод, вентилятор, связанный с входным отверстием корпуса, фильтроэлементы из пористых проницаемых изделий, которые содержат группу открытых “крупных” пор для фильтрации газа, установленные в корпусе, отличающийся тем, что, некоторые или все фильтроэлементы выполнены с бипористой структурой и содержат дополнительно группу открытых “мелких” пор или капилляров в перемычках пор для заполнения жидкостью за счет капиллярного эффекта и частично погружены в жидкость ванны, кроме того:
– фильтроэлементы с бипористой структурой выполнены из высокопористого изделия на основе дублирования структуры открытоячеистого полиуретана, например керамического или металлического,
– размер пор фильтроэлементов уменьшают в направлении от входного к выходному отверстиям корпуса,
– фильтроэлемент или фильтроэлементы с бипористой структурой расположены со стороны выходного отверстия корпуса,
– фильтроэлементы с группой “крупных” пор и фильтроэлементы с бипористой структурой расположены с чередованием в осевом направлении,
– фильтроэлементы с группой “крупных” пор выполнены с эластичными свойствами, например, из открытоячеистого пенополиуретана или пенорезины,
– некоторые или все фильтроэлементы выполнены с бипористой структурой и содержат дополнительно группу открытых “мелких” пор или капилляров в перемычках пор для смачивания жидкостью, причем фильтроэлементы расположены блоками, в каждом из которых минимум один фильтроэлемент, каждый блок отделен друг от друга перегородками из малопроницаемого для газа изделия или материала с каналами для прохода газа, которые выполнены в разных перегородках так, что образуют зигзагообразный лабиринт для прохода газа, а фильтроэлементы и перегородки частично погружены в жидкость ванны,
– часть блоков содержит фильтроэлементы только с группами “крупных” пор, а фильтроэлемент или фильтроэлементы с бипористой структурой расположены в блоке со стороны выходного отверстия корпуса,
– фильтроэлементы только с группой “крупных” пор и фильтроэлементы с бипористой структурой расположены с чередованием в каждом блоке в осевом направлении,
– перегородки выполнены из проницаемого для жидкости изделия с “мелкими” порами или капиллярам для заполнения жидкостью, например целлюлозы, или ткани, или войлока,
– фильтроэлементы с бипористой структурой выполнены из целлюлозы, или ткани, или войлока.
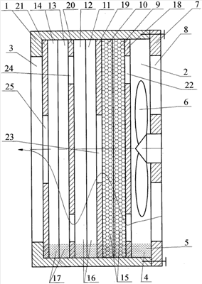
На чертеже показана схема очистителя-увлажнителя газа.
Очиститель-увлажнитель газа содержит корпус 1 с входным 2 и выходными 3 отверстиями, ванну 4 с жидкостью 5 (может быть совмещена с корпусом 1 в виде его нижней придонной части). Вентилятор 6 установлен в крышке 7 с отверстиями 8 для прохода газа (или в корпусе 1 при другой конструкции корпуса) и связан с входным 2 отверстием корпуса 1. Фильтроэлементы (Ф) 9…14 выполнены из пористых проницаемых изделий, которые содержат открытые крупные поры (ОКП) для фильтрации газа и установлены в корпусе 1. Некоторые Ф, например, Ф 14 (или все Ф) содержат в перемычках крупных пор открытые мелкие поры или капилляры (ОМПиК) в перемычках пор для смачивания жидкостью за счет капиллярного эффекта и частично погружены в жидкость 4 ванны 5. Ф 9…14 расположены блоками (Б) 15…17, в каждом из которых не менее одного Ф, а каждый Б 15…17 отделен друг от друга перегородками (П) 18…21 из малопроницаемого для газа материала с каналами (К) 22…25, которые в разных П 15…18 выполнены так, что образуют зигзагообразный лабиринт для прохода газа. П 15…18 погружены в жидкость 5 ванны 4.
Ф могут быть выполнены из высокопористого материала на основе дублирования структуры открытоячеистого полиуретана (ВПЯМ) (ВПЯМ, см. Пористые проницаемые материалы. Справочник. Под ред. Белова С. В. – М.: Металлургия, 1987, 383 с.), например, керамического или металлического. Ф 9…14 могут быть выполнены из целлюлозы, или из ткани хлопчатобумажной, или из войлока из целлюлозных волокон. Ф 14 с ОМПиК могут располагать со стороны выходного 3 отверстия корпуса 1. Ф только с ОКП и Ф с ОКП и ОМПиК могут располагаться с чередованием в осевом направлении, например Ф 9, 11, 13 только с ОКП, а Ф 10, 12, 14 с ОМПиК. Ф с ОКП могут быть выполнены из эластичного материала, например из открытоячеистого пенополиуретана или пенорезины. П15…18 могут быть выполнены из проницаемого для жидкости материала с ОМПиК для заполнения жидкостью, например из целлюлозы, или ткани, или войлока.
Работа устройства.
Вентилятор 6 гонит газ к Ф 9. Газ проходит через поры Ф 9…14, очищается от твердых частиц и волокон. Так как некоторые или все из Ф 9…14 выполнены с ОМПиК, жидкость по микропорам (капиллярный эффект) поднимается вверх и в стороны заполняет поры и увлажняет всю поверхность многочисленных перемычек м перегородок. Это способствует эффективному захвату пылевых частиц и волокон, т.к. последние прилипают к влажной поверхности перемычек Ф 9…14. Одновременно происходит увлажнение газа, прошедшего через Ф 9…14.
Выполнение Ф с ОКП из ВПЯМ, например, керамического или металлического, обеспечивает низкое сопротивление потоку при малых размерах, т.к. пористость таких изделий – 95…98%, перемычки пор составляют 2…5% от объема.
Выполнение блоков 15, 16 с Ф только с ОКП, а блока 17 с Ф 14 с ОМПиК, расположенного со стороны выходного 3 отверстия корпуса 1, позволяет уловить частицы и волокна, которые не задержались сухими Ф. Расположение Ф с ОКП и Ф с ОМПиК с чередованием в каждом блоке 15, 16, 17 в осевом направлении позволяет обеспечить частичное смачивание Ф с ОКП, которые, не обладая ОМПиК, не могут быть заполненными жидкостью за счет капиллярного эффекта. Частичное смачивание Ф с ОКП обеспечивает лучший захват пылевых частиц ими и повышение эффективности очистки газа.
Выполнение Ф с ОКП с эластичными свойствами, например, из открытоячеистого пенополиуретана или пенорезины обеспечивает низкое сопротивление потоку и удобство при регенерации (легко вымывается грязь путем многократного сжатия – разжатая в воде, при этом восстанавливается исходная форма Ф).
Выполнение П 18, 19, 20, 21 из проницаемого для жидкости изделия с ОМПиК для заполнения жидкостью, например, из целлюлозы – бумаги или картона, или ткани, или войлока обеспечивает смачивание и увлажнение поверхности П 18, 19, 20, 21, а через них смачивание поверхности Ф 9…14, что улучшает захват пылевых частиц ими и повышение эффективности очистки газа.
Выполнение Ф из целлюлозы (бумага, картон), или из ткани, или из войлока из волокон целлюлозы, которая обладает микропористой структурой, позволяет сделать Ф дешевым и одноразовыми и не регенерировать после использования, а заменять на новые. ОКП структуру формируют путем формования, прессования, вида ткани. Могут использоваться и другие материалы, например керамические, пластмассовые, синтетические, которые обладают микропористой структурой и обеспечивают подъем и удержание жидкости в Ф за счет капиллярного эффекта.
Выполнение П 18, 19, 20, 21 с каналами 22…25 для прохода газа, так что образуется зигзагообразный лабиринт для прохода газа, обеспечивает сложный путь загрязненного потока газа, при этом увеличивается путь через Ф и в местах поворота потока действуют инерционные силы на частицы пыли, которые отбрасывают их в застойные зоны Ф, увеличивая при этом фильтрационную способность и грязеемкость Ф.
Увлажненная большая поверхность перемычек Ф обеспечивает улавливание не только пыли и волокон, но и запахов и аэрозолей, которые легко растворяются в пленке жидкости на их поверхности. Конструкция очистителя-увлажнителя газа очень проста, бесшумна, кроме шума вентилятора, который может быть малошумным и тихоходным. Регенерация очень проста и сводится к промывке или замене Ф и смене жидкости 5 в ванне 4 корпуса 1. Следует отметить, что очиститель-увлажнитель газа может работать и без вентилятора, т.к. обладает чрезвычайно низким сопротивление потоку газа за счет применения ВПЯМ, при этом используются естественные конвекционные потоки. Он может быть установлен в проеме форточки, окна и использовать потоки воздуха, которые возникают от разности давлений, температуры, плотности, ветра.
Данный очиститель-увлажнитель газа может быть использован для очистки воздуха производственных, бытовых помещений от пыли, запахов, аэрозолей и обеспечения его увлажнения.
Формула изобретения
1. Очиститель-увлажнитель газа, содержащий корпус с входным и выходными отверстиями, ванну для жидкости, вентилятор, связанный с входным отверстием корпуса, установленные в корпусе фильтроэлементы из пористых проницаемых материалов, которые содержат открытые крупные поры для фильтрации газа, отличающийся тем, что некоторые или все фильтроэлементы содержат в перемычках крупных пор открытые мелкие поры или капилляры для смачивания жидкостью, причем фильтроэлементы расположены блоками, в каждом из которых не менее одного фильтроэлемента, каждый блок отделен друг от друга перегородками из малопроницаемого для газа материала с каналами для прохода газа, которые выполнены в разных перегородках так, что образуют зигзагообразный лабиринт для прохода газа, а фильтроэлементы и перегородки частично погружены в жидкость ванны.
2. Очиститель-увлажнитель газа по п.1, отличающийся тем, что фильтроэлементы выполнены из высокопористого материала, керамического или металлического, на основе дублирования структуры открытоячеистого полиуретана.
3. Очиститель-увлажнитель газа по п.1, отличающийся тем, что фильтроэлементы с крупными и мелкими порами или капиллярами выполнены из целлюлозы, или ткани хлопчатобумажной, или войлока из целлюлозных волокон.
4. Очиститель-увлажнитель газа по п.1, отличающийся тем, что часть блоков содержит фильтроэлементы с крупными порами, а фильтроэлемент или фильтроэлементы с крупными и мелкими порами или капиллярами расположены в блоке со стороны выходного отверстия корпуса.
5. Очиститель-увлажнитель газа по п.1, отличающийся тем, что фильтроэлементы с крупными порами и фильтроэлементы с крупными и мелкими порами или капиллярами расположены с чередованием в каждом блоке в осевом направлении.
6. Очиститель-увлажнитель газа по п.1, отличающийся тем, что фильтроэлементы крупными порами выполнены в виде эластичного материала, например, из открытоячеистого пенополиуретана или пенорезины.
7. Очиститель-увлажнитель газа по п.1, отличающийся тем, что перегородки выполнены из проницаемого для жидкости материала с мелкими порами или капиллярами для заполнения жидкостью, например, целлюлозы, или ткани, или войлока.
РИСУНКИ
|
|