|
| На основании пункта 3 статьи 13 Патентного закона Российской Федерации от 23 сентября 1992 г. № 3517-I патентообладатель обязуется передать исключительное право на изобретение (уступить патент) на условиях, соответствующих установившейся практике, лицу, первому изъявившему такое желание и уведомившему об этом патентообладателя и федеральный орган исполнительной власти по интеллектуальной собственности, – гражданину РФ или российскому юридическому лицу. |
|
(21), (22) Заявка: 2006116536/15, 16.05.2006
(24) Дата начала отсчета срока действия патента:
16.05.2006
(46) Опубликовано: 10.03.2008
(56) Список документов, цитированных в отчете о поиске:
РУСАНОВ А.А. Справочник по пыле- и золоулавливанию. – М.: Энергоатомиздат, 1983, с.53. SU 1699530 A1, 23.12.1991. SU 1487947 A1, 23.06.1989. GB 731544 A, 08.06.1955. CA 2267050 A, 30.09.1999.
Адрес для переписки:
123458, Москва, ул. Твардовского, 11, кв.92, О.С. Кочетову
|
(72) Автор(ы):
Кочетов Олег Савельевич (RU), Кочетова Мария Олеговна (RU), Львов Геннадий Васильевич (RU), Кочетов Сергей Савельевич (RU), Кочетов Сергей Сергеевич (RU)
(73) Патентообладатель(и):
Кочетов Олег Савельевич (RU)
|
(54) ПЫЛЕОСАДИТЕЛЬ ИНЕРЦИОННЫЙ
(57) Реферат:
Изобретение относится к технике сухого пылеулавливания и может применяться в химической, текстильной, пищевой, легкой и других отраслях промышленности для очистки запыленных газов. Пылеосадитель содержит вертикальный корпус, расположенный внутри него пакет преградительных элементов, ввод запыленного газового потока, бункер для сбора пыли и выходной патрубок очищенного газа. Пакет преградительных элементов выполнен в виде, по крайней мере, двух чередующихся между собой отбойных элементов в виде пластин, причем один из них закреплен в верхней части корпуса и выполнен в сечении в виде клина с вершиной, обращенной в сторону бункера, а другой – закреплен на распорных стержнях, связанных с бункером, и выполнен в виде вертикальной пластины в сечении в виде клина с вершиной, обращенной в сторону, противоположную бункеру, причем на вершине под острым углом к вертикальной пластине симметрично относительно вертикальной оси прикреплены косынки, расположенные слева и справа от вершины. Технический результат: повышение эффективности и надежности процесса пылеулавливания, а также снижение металлоемкости и виброакустической активности аппарата в целом. 1 ил.
Изобретение относится к технике сухого пылеулавливания и может применяться в химической, текстильной, пищевой, легкой и других отраслях промышленности для очистки запыленных газов.
Наиболее близким техническим решением к заявляемому объекту является инерционный пылеотделитель (Русанов А.А. Справочник по пыле- и золоулавливанию. М.: – Энергия. – 1985 г., стр.53, рис.2.1 -прототип), содержащий вертикальный корпус, расположенный внутри него пакет преградительных элементов, ввод запыленного газового потока, бункер для сбора пыли и выходной патрубок очищенного газа.
Недостатком прототипа является сравнительно невысокая эффективность процесса пылеулавливания за счет отсутствия отбойного элемента, препятствующего попаданию мелких фракций пыли в выход очищенного газа.
Технический результат – повышение эффективности и надежности процесса пылеулавливания.
Это достигается тем, что в пылеосадителе инерционном, содержащим вертикальный корпус, расположенный внутри него пакет преградительных элементов, ввод запыленного газового потока, бункер для сбора пыли и выходной патрубок очищенного газа, пакет преградительных элементов выполнен в виде, по крайней мере, двух чередующихся между собой отбойных элементов в виде пластин, причем один из них закреплен в верхней части корпуса и выполнен в сечении в виде клина, с вершиной, обращенной в сторону бункера, а другой – закреплен на распорных стержнях, связанных с бункером и выполнен в виде вертикальной пластины в сечении в виде клина, с вершиной, обращенной в сторону, противоположную бункерному устройству, причем на вершине под острым углом к вертикальной пластине симметрично относительно вертикальной оси прикреплены косынки, расположенные слева и справа от вершины.
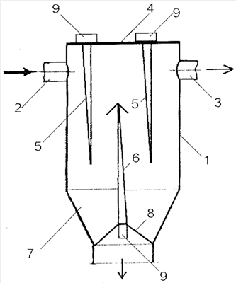
На чертеже изображен общий вид инерционного пылеосадителя.
Пылеосадитель инерционный содержит вертикальный корпус 1 с крышкой 4, расположенный внутри него пакет преградительных элементов, ввод 2 запыленного газового потока, бункер 7 для сбора пыли и выходной патрубок 3 очищенного газа. Пакет преградительных элементов выполнен в виде, по крайней мере, двух чередующихся между собой отбойных элементов в виде пластин 5 и 6, причем один из них закреплен в верхней части корпуса и выполнен в сечении в виде клина, с вершиной, обращенной в сторону бункера 7, а другой – закреплен на распорных стержнях 8, связанных с бункером 7 и выполнен в виде вертикальной пластины в сечении в виде клина, с вершиной, обращенной в сторону, противоположную бункеру, причем на вершине под острым углом к вертикальной пластине симметрично относительно вертикальной оси прикреплены косынки (на чертеже не показано), расположенные слева и справа от вершины. Для очистки корпуса от пыли в местах крепления отбойных элементов установлены вибраторы 9.
Пылеосадитель инерционный работает следующим образом.
Запыленный газовый поток поступает в корпус 1 через ввод 2 запыленного газового потока. При этом за счет инерционных сил частицы пыли устремляются в бункер 7 для сбора пыли, а через выходной патрубок 3 поступает очищенный газ. Преградительные элементы, закрепленные в верхней части корпуса 1, служит дополнительной преградой для попадания мелких фракций пыли в выходной патрубок 3. Для очистки корпуса от пыли в местах крепления отбойных элементов установлены вибраторы 9.
Формула изобретения
Пылеосадитель инерционный, содержащий вертикальный корпус, расположенный внутри него пакет преградительных элементов, ввод запыленного газового потока, бункер для сбора пыли и выходной патрубок очищенного газа, отличающийся тем, что пакет преградительных элементов выполнен в виде, по крайней мере, двух чередующихся между собой отбойных элементов в виде пластин, причем один из них закреплен в верхней части корпуса и выполнен в сечении в виде клина с вершиной, обращенной в сторону бункера, а другой закреплен на распорных стержнях, связанных с бункером, и выполнен в виде вертикальной пластины в сечении в виде клина с вершиной, обращенной в сторону, противоположную бункеру, причем на вершине под острым углом к вертикальной пластине симметрично относительно вертикальной оси прикреплены косынки, расположенные слева и справа от вершины.
РИСУНКИ
|
|