|
|
(21), (22) Заявка: 2004132708/15, 26.03.2003
(24) Дата начала отсчета срока действия патента:
26.03.2003
(30) Конвенционный приоритет:
28.03.2002 US 10/115,813
(43) Дата публикации заявки: 10.07.2005
(46) Опубликовано: 10.03.2008
(56) Список документов, цитированных в отчете о поиске:
RU 2185219 C1, 20.07.2002. RU 98109344 A, 27.02.2000. RU 2160475 C1, 10.12.2000. US 5410121 A, 25.04.1995. US 5534659 A, 09.07.1996. US 4909164 A, 20.03.1990.
(85) Дата перевода заявки PCT на национальную фазу:
28.10.2004
(86) Заявка PCT:
ES 03/00142 (26.03.2003)
(87) Публикация PCT:
WO 03/082408 (09.10.2003)
Адрес для переписки:
191002, Санкт-Петербург, а/я 5, ООО “Ляпунов и партнеры”, пат.пов. А.С.Пантелееву, рег.№ 1003
|
(72) Автор(ы):
РЕМИ Роджер (US)
(73) Патентообладатель(и):
Аэроспейс Консалтинг Корпорейшн Спейн, С.Л. (ES)
|
(54) ПЕРЕДВИЖНАЯ УСТАНОВКА ДЛЯ ОБЕЗВРЕЖИВАНИЯ ВЫСОКОТОКСИЧНЫХ БИОХИМИЧЕСКИХ ОТХОДОВ САМОРЕГУЛИРУЮЩЕЙСЯ ПЛАЗМОЙ И СООТВЕТСТВУЮЩИЙ СПОСОБ
(57) Реферат:
Изобретение относится к способу и установке, которые предназначены для обезвреживания и уничтожения различного рода высокотоксичных отходов, в частности таких, которые хранятся в контейнерах. Установка выполнена в виде отдельного передвижного блока с камерой для проведения основной обработки, размеры которой позволяют помещать в нее контейнер с подлежащими уничтожению отходами, выполненная с возможностью создания потока ВЧ-плазмы при температуре в пределах 8000-14000К и изменения направления этой плазмы таким образом, чтобы она полностью охватывала контейнер с обеспечением его полной диссоциации. Указанная камера выполнена с возможностью индивидуального сбора и отбора различных материалов по их видам, получаемым в ходе диссоциации, и их транспортировки с помощью плазменного потока, генерируемого аргоном или другими газами, которые поступают в камеру на ее дальнем конце, где находится газоотделитель. Кроме того, эта камера, предназначенная для проведения основной обработки, имеет встроенные антенны, испускающие ВЧ-излучение для создания и поддержания ядра плазмы, и связана со следующими узлами: роботизированным блоком для загрузки контейнеров с отходами в основную камеру, блоком ВЧ-генератора, блоком охлаждения основной камеры с соответствующими периферийными устройствами, блоком регулирования и контроля всего процесса, силовым генератором с периферийными устройствами для регулирования его функций и базой данных с информацией о продуктах и их совместимости. Изобретение позволяет уничтожить высокотоксичные отходы за один прием и в единственной камере. 2 н. и 15 з.п. ф-лы, 22 ил.
Изобретение относится к способу и установке, предназначенным для обезвреживания и уничтожения различного рода высокотоксичных отходов, в частности таких, которые хранятся в контейнерах, например в металлических бочках вместимостью 55-65 галлонов (208-246 литров), или в любых других металлических контейнерах.
В настоящее время разработано множество способов и установок для уничтожения разнообразных токсичных отходов. Так, например, созданы установки для уничтожения отходов посредством пиролиза, согласно которым отходы подвергают воздействию очень высоких температур, в результате чего они превращаются в безвредные соединения или газы. Однако во многих случаях указанные установки по прежнему представляют крайнюю опасность для окружающей среды (исходя из действующих стандартов), причем степень этой опасности зависит от эффективности происходящего в них процесса. Поэтому функционирование используемого оборудования, устройств или перерабатывающих установок регламентируется строгими требованиями нормативных актов. При других системах и способах уничтожения токсичные отходы подвергают воздействию плазменной дуги (ее называют также резистивной плазмой), либо воздействию высокочастотной плазмы, которая носит еще название “индукционной плазмы”. Однако в первом упомянутом случае наблюдаются некоторые существенные недостатки наподобие эрозии электродов, что требует проведения ремонта, а также вызывает проблемы контроля ядра плазмы в отношении ее формы, температуры и однородности. Технология плазменной дуги применяется, главным образом, в так называемых литейных процессах, для которых требуется наличие довольно мощной и постоянно действующей инфраструктуры. Во втором случае, когда речь идет о технологии индукционной плазмы, указанные методы пока еще не удается использовать для единовременной обработки большого объема отходов. Кроме того, эта технология также требует наличия большой инфраструктуры. Таким образом, на настоящий момент не существует способов, позволяющих за один прием проводить нейтрализацию отходов в объеме 55-65 галлонной бочки (208-246 литров), причем осуществлять это с достаточной безопасностью в замкнутой системе без загрязнения окружающей среды.
Был проведен ряд исследований, посвященных связанной ВЧ-плазме. Это явление связанной ВЧ-плазмы хорошо известно, оно изучалось, начиная с 1947 года, применительно к самым разным отраслям – получению расплавленных масс, созданию двигателей, металлургии, нанесению и снятию покрытий, керамическому производству, – а позднее – и к высокотемпературному уничтожению отходов. ВЧ-излучение использовали либо для индуцирования плазмы, либо, в ряде случаев, для ее ограничения (эффект двойного электрического слоя, ДЭС), либо и для того, и для другого.
Основываясь на известных технологиях, изобретатель провел исследование связанной ВЧ-плазмы при высоких температурах, пользуясь имитационными моделями нескольких нелинейных физических явлений. Моделирование плазмы потребовало двухжидкостного представления с попутным решением уравнений Максвелла.
По завершении этих исследований изобретатель успешно провел предварительную проверку данной концепции на уровне лабораторных испытаний для определения: а) осуществимости; б) базовых параметров предложенной установки, которые помимо прочего включают в себя: объем и расход плазмообразующего газа, характеристики самого ядра плазмы (поток, форма и регулирование), различные охлаждающие жидкости, необходимые для реализации способов, требуемую мощность; в) другого периферийного оборудования; г) разнообразных материалов, применяемых при изготовлении различных компонентов установки, упоминаемых ниже.
Цель изобретения заключается в создании способа уничтожения высокотоксичных отходов, помещенных в бочку вместимостью 55 – 65 галлонов (приблизительно 200-250 литров), с использованием высокотемпературной связанной ВЧ-плазмы всего за один прием и в единственной камере, выполненной, например, в виде передвижного устройства. Помимо сложности решаемой проблемы, следует отметить, что такие стальные контейнеры в виде бочки или канистры обычно используются военными и гражданскими лицами, которые перемещают эти бочки, затаривают их и хранят в них опасное содержимое. Те стальные контейнеры в виде бочки или канистры, которые не были подвергнуты обработке в расчете на очень длительное хранение, постепенно становятся ломкими. В результате плохого состояния бочек транспортировка их содержимого становится чрезвычайно опасной. В качестве примера можно назвать несколько таких опасных веществ: полихлорированные дибензодитоксины/дибензофураны (ПХДД/ПХДФ), полихлорированные бифенилы (ПХБ) и другие, например, боевые газы типа нейротоксических, а также другие биохимические военные вещества. По этой причине на транспортировку таких бочек надо иметь специальное разрешение. Получение такого разрешения связано с огромными трудностями и расходами. На это могут уйти целые годы. На сегодняшний день не существует каких-либо способов и установок, обеспечивающих быстрое и безопасное уничтожение указанных бочек, требующих для своего хранения возведения больших и дорогих сооружений, что само по себе представляет собой серьезную проблему. В этой связи при создании изобретения была поставлена задача разрешить указанную сложную проблему, обусловленную значительным объемом токсичных и/или опасных материалов, которые хранятся в различных регионах многих стран. Следует также рассмотреть и другие факторы, усугубляющие эту проблему, – такие, как характер отходов, возраст хранилищ, место их расположения и степень их сохранности. Все это существенно затрудняет какие-либо действия, предпринимаемые в отношении подобных бочек, тем более что их учетные инвентаризационные данные зачастую бывают крайне неточными, в частности, в отношении их содержимого. Поэтому достаточную безопасность обращения с подобными бочками можно обеспечить, лишь разработав передвижное и полностью автоматизированное устройство, обеспечивающее возможность транспортировки этих бочек, их маркировки, инвентаризации (до обработки) и уничтожения.
Для решения вышеупомянутых проблем изобретатель в ходе длительных исследований и опытно-конструкторских работ создал новый способ, который основан на связанной ВЧ-плазме, находящейся при высокой температуре и регулируемой с использованием магнитогидродинамических (МГД) методов, и направлен на полное уничтожение хранящихся таким образом токсичных и/или опасных отходов с измельчением их до неразложимых составляющих, которые можно полностью разделить и собрать в замкнутой системе, в единственной рабочей камере.
Также изобретатель создал установку для реализации указанного способа использования связанной ВЧ-плазмы при высокой температуре применительно ко всему объему бочек без необходимости при этом перемещать их содержимое, манипулировать им или подвергать его предварительной обработке. Кроме того, во время такой процедуры обезвреживания отходов не требуется сплющивать или разрезать бочку, как это делают при использовании некоторых других известных систем. Один из аспектов изобретения касается способа улавливания и разделения химических элементов на молекулярном уровне благодаря применению такой высокотемпературной диссоциации отходов, при которой исключалась бы всякая возможность их рекомбинации.
Другой объект изобретения – установка, выполненная с возможностью передвижения до проведения операции уничтожения бочки/канистры с тем чтобы устранить трудности, связанные с транспортировкой токсичных и/или опасных отходов от места их хранения к специальной зоне для уничтожения, как это требуется в настоящее время. Такая установка реализует предложенный способ, заключающийся в полном уничтожении токсичных и/или опасных отходов путем диссоциации на молекулярном уровне, и может перевозиться на самолете, железнодорожной платформе, грузовике или другом транспортном средстве к месту, где хранятся подлежащие уничтожению токсичные и/или опасные отходы. Следует также отметить, что благодаря уничтожению уложенных в такие бочки отходов можно рассчитывать на существенное снижение соответствующих затрат, поскольку в этом случае устраняется ранее практически неразрешимая проблема транспортировки, сопряженная с опасностью для окружающей среды.
При создании настоящего изобретения его автор изучил также некоторые вопросы, освещавшиеся в ходе более ранних исследовательских и опытно-конструкторских работ, в том числе:
1. Время пребывания молекул уничтожаемого материала внутри ядра плазмы. Оно очень сильно влияет на обеспечение полной диссоциации токсичных компонентов (до концентрации 1 часть на миллиард) и на предотвращение рекомбинации в процессе обезвреживания.
2. Структуру потока токсичного материала. Необходимо следить за тем, чтобы после открытия и разборки бочки токсичный материал проходил через плазменный вихрь, а не снаружи него; поэтому следует обеспечить возможность регулирования потока токсичных или опасных материалов в процессе диссоциации внутри ядра плазмы.
3. Влияние времени пребывания. Так называемое “время пребывания” – это время, в течение которого подлежащий диссоциации материал находится под воздействием плазмы. Термический процесс плазменной обработки должен быть достаточно длительным для того, чтобы обеспечить испарение/диссоциацию контейнера в виде бочки или канистры и ее содержимого. Кроме того, температура ядра плазмы должна достигать температуры не менее 10000°К. В этой связи возникает проблема размещения канистры определенной геометрической формы внутри вихря ядра плазмы.
4. Эффективность плазмы и возможности ее регулирования. Для поддержания температуры в ядре плазмы на достаточно высоком уровне (выше 10000К) очень важно свести к минимуму потери плазмы, а также добиться максимальной эффективности термоэлектрического преобразования и максимальной эффективности разложения молекул, то есть максимального времени пребывания.
5. Проблемы выбора материалов. Что касается характеристик стенок камеры (так называемых внутренних стенок), то в них встраиваются самые разные активные элементы типа антенн с соответствующими охлаждающими устройствами. Поэтому такой материал должен быть прозрачным для распространения ВЧ-колебаний. Он должен быть также достаточно стойким к воздействию неблагоприятной среды, образующейся в ходе реакции диссоциации при высокой температуре (явление химии высокотемпературных процессов). В данной заявке в качестве такого материала предполагается использование оксида бериллия (ВеО), хотя также возможно применение и других материалов.
Установка для реализации предложенного способа должна быть передвижной и обеспечивать обезвреживание бочек вместимостью приблизительно 240-350 литров (55-65 галлонов) или любых других металлических контейнеров в единственной камере (назовем ее “камерой обезвреживания” или “камерой диссоциации”) и за один прием, или один “шаг”, благодаря использованию методики ВЧ-индуцирования плазмы. При этом необходимо добиваться того, чтобы плазма полностью поглощала бочку или подобный контейнер вместе с его содержимым. Кроме того, в установке следует предусмотреть средства для сбора, рециркуляции или нейтрализации любых продуктов вторичной рекомбинации в замкнутой системе, принимая во внимание, что весь процесс обезвреживания должен быть проведен с соблюдением действующих правил техники безопасности. Для проведения указанного процесса обезвреживания предложенная установка требует осуществления различных операций, реализуемых соответствующими элементами или блоками, каждый из которых выполняет определенную функцию и имеет приведенную ниже нумерацию.
Блок 1 – основной блок, представляющий собой камеру обезвреживания.
Блок 2 – блок охлаждения, в функции которого входит, в том числе поддержание температурного градиента ВЧ-антенны и других элементов на уровне ниже 600°С, предпочтительнее на уровне примерно 500°С.
Блок 3 – ВЧ-генератор, обеспечивающий генерацию с определенной частотой и достаточной мощностью для поддержания вихря ядра плазмы.
Блок 4 – роботизированный блок, служащий для распознавания и выбора подлежащей обезвреживанию бочки или контейнера, а также для выполнения иных функций – например, манипулирования, транспортировки и отбора проб.
Блок 5 – силовой генератор, который должен вырабатывать энергию, достаточную для питания всей предложенной системы.
Блок 6 – устройство воздухозабора с регулятором расхода всасываемого воздуха.
Блок 7 – регулятор выхлопа из силового генератора.
Блок 8 – топливный резервуар и блок подачи топлива для силового генератора.
Блок 9 – основной блок регулирования и контроля.
Блок 10 – блок контроля и питания.
Блок 11 – блок подачи примеси для активации плазмы.
Блок 12 – блок подачи плазмообразующего газа.
Блок 13 – резервуар с охладителем для хранения, удержания и подачи охлаждающей жидкости в различные блоки охлаждения.
Блок 14 – резервный силовой генератор.
Блок 15 – блок анализа/камера отбора проб для проведения анализа проб, отбираемых из бочек с подлежащими уничтожению веществами, перед обработкой в герметичной скрепленной камере.
Ниже приведено краткое описание чертежей, более наглядно иллюстрирующих сущность изобретения.
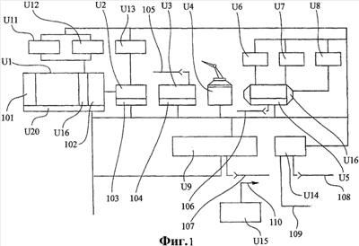
На фиг.1 представлена блок-схема со всеми компонентами установки, образующими в сочетании предложенное изобретение.
Фиг.2 изображает общий внешний вид основной камеры установки.
Фиг.2b изображает поперечный разрез показанной на фиг.1 установки.
Фиг.3 изображает внутреннее пространство установки в продольном разрезе с показом ее различных отсеков.
Фиг.4 изображает общую блок-схему вакуумных линий.
Фиг.5 изображает общую схему, обеспечивающую контроль и регулирование газовых и жидкостных потоков.
Фиг.6 схематически изображает задний отсек.
Фиг.6b изображает поперечное сечение заднего отсека.
Фиг.7 изображает схему основных контуров охлаждения.
Фиг.8 схематически изображает газосборник/газоотделитель.
Фиг.9 в аксонометрии изображает модульную конфигурацию внутренней стенки камеры, встроенную ВЧ-антенну, люк и магнитную направляющую.
Фиг.10 – детализированное поперечное сечение конструкции основной камеры, ее внутренней стенки и внешней структуры.
Фиг.11 и 12 изображает элементы рамной конструкции со средствами ее крепления.
Фиг.13 – типовое поперечное сечение средств теплоизоляции установки и средств защиты на основе клетки Фарадея.
Фиг.14 и 15 в аксонометрии изображают модуль внутренней стенки реактора.
Фиг.16 и 17 схематически изображают элементы инжекторного отсека.
Фиг.18 иллюстрирует концентричную конфигурацию ядра плазмы.
Фиг.19-22 изображают элементы загрузочной двери или люка, где помещены ВЧ-блок, устройство охлаждения и другие механизмы и датчики.
Предложенный способ предназначен, главным образом, для полного уничтожения контейнеров в виде бочек или канистр и их содержимого путем диссоциации. Так, например, бочки, в которых традиционно хранятся подобные отходы, следует обрабатывать с применением описанной ниже процедуры и последовательности действий.
Перед началом обработки производят оценку состояния проб из каждого контейнера в виде бочки или канистры для определения совместимости материала, подлежащего обезвреживанию, с параметрами установки в смысле принятой процедуры и правил техники безопасности.
Производят подготовку каждого контейнера в виде бочки или канистры с использованием металлических кольцевых кронштейнов, охватывающих бочку по торцу. При этом указанные металлические кольцевые кронштейны выполняют следующие функции: а) увеличивают металлическую массу бочки, подлежащей обработке в установке, обеспечивая с помощью магнитной направляющей необходимые условия для удержания и размещения этой бочки в камере обработки и предотвращая соприкосновение бочки с внутренними стенками камеры; б) формируют средства, обеспечивающие синхронизированное и стремительное раскрытие/разрушение кожуха бочки, предпочтительно с помощью взрывного механизма, запускающего серию контролируемых микровзрывов, что позволяет предотвратить малейшую вероятность взрыва бочки внутри камеры обработки, при этом указанные микровзрывы вызывают раскрытие и дезинтеграцию кожуха бочки таким образом, что поток подлежащего диссоциации материала направляется прямо в вихрь ядра плазмы.
В случае необходимости вместо средств магнитной подвески прибегают к помощи комплекта скоб/кронштейнов одноразового использования.
Помещенный в камеру обработки контейнер в виде бочки или канистры подвергают воздействию ВЧ-связанной и МГД-контролируемой плазмы при температуре от 8000 до 14000К в течение непродолжительного времени, которое может, однако, изменяться в пределах от 1 до 6 секунд в зависимости от свойств подлежащих диссоциации отходов.
Для улучшения характеристик плазмы, в частности, ее температурного режима, используют различные активирующие примеси, например лантаниды, Fe или любые другие металлы с подобными свойствами, и/или смесь других плазмообразующих газов, например водород или гелий.
Используют два концентричных ядра плазмы, так называемую первичную и вторичную плазму.
Ядро первичной плазмы обеспечивает равномерный охват бочки, особенно в смысле температуры. Ядро вторичной плазмы охватывает вихрь первичной плазмы, обеспечивая охват целиком всего подлежащего диссоциации материала и его удержание при равномерной температуре в плазменном потоке, направленном к сборнику/отделителю.
Используют работающее на принципе МГД устройство для управления ядрами плазмы в камере обработки следующим образом: а) формируют первичный и вторичный плазменные вихри; б) регулируют время пребывания для обеспечения нужной длительности воздействия при максимальной температуре на подлежащие диссоциации молекулы.
С помощью специальных датчиков производят в реальном масштабе времени сбор информации о диссоциированных элементах с целью контроля процесса диссоциации. Эти устройства также играют роль в обеспечении безопасности установки.
Указанные блоки, образующие предложенную установку, ниже описаны более подробно со ссылкой на прилагаемые схемы и чертежи.
Фиг.1 в виде блок-схемы изображает камеру диссоциации, предназначенную для обработки бочек с подлежащими уничтожению отходами, и системы контроля и регулирования, включая магнитогидродинамический (МГД) блок со всеми относящимися к нему периферийными устройствами, которые ниже рассмотрены более детально. Этот основной блок включает в себя различные зоны для сбора газов, в том числе газоотделитель 101, отсек U16 инжекторов и задний отсек 102. Имеются также отсек обезвреживания, блок охлаждения и отсек рециркуляции, а также другие периферийные компоненты, входящие в этот блок. Камера обезвреживающей обработки должна иметь объем, достаточный для того, чтобы она могла выполнять свои функции как расширения, так и нейтрализации. Главная функция основного блока заключается в нейтрализации бочек с отходами, при этом его наиболее важными компонентами являются отсек кондиционирования газа, обозначенный позицией 101, т.е. газоотделитель, зона фильтрования, газовый отсек, основная камера с ВЧ-блоками и системой охлаждения и регулирования, магнитная направляющая, сборник с антенной и системой охлаждения и замораживания. Кроме того, этот блок содержит так называемый “отсек инжекторов”, в который входят все средства ввода плазмообразующего газа, обеспечивающие поддержание описанных выше характеристик ядра плазмы. Кроме того, предусмотрены задний отсек, включающий в себя отсек нейтрализации, куда помещены резервуар с обезвреживающей жидкостью и соответствующий периферийный блок контроля/регулирования, блок охлаждения, отсек рециркуляции, в котором находятся все блоки защиты с соответствующими средствами контроля/регулирования, резервуар с жидкой активирующей примесью и резервуар с плазмообразующим газом. ВЧ-блок может быть встроен во внутреннюю стенку, которая выполнена в качестве “модуля”, в том смысле, что ее можно вынимать из камеры для проведения ремонтных и контрольных операций. В блоке 1 имеется загрузочный люк, оснащенный собственными ВЧ-блоком и блоком охлаждения, а также периферийными устройствами.
Блок 1 включает в себя блок 10, представляющий собой блок управления и обслуживания, в задачи которого входят:
– регулирование/контроль всех вакуумных линий V1, V2, V3, V4, V5, V6, V7, показанных на фиг.3 и 4;
– регулирование/контроль блока охлаждения и всех его периферийных контрольных систем, измерительных приборов и системы регулирования расхода жидкости (фиг.5, 6);
– регулирование/контроль блока сборника и его периферийных систем (фиг.3, 8);
– регулирование/контроль блока обезвреживания и его периферийных устройств (фиг.3, 6);
– регулирование/контроль отсека рециркуляции (фиг.3, 5);
– регулирование/контроль блока люка и его периферийных устройств (фиг.3, 12);
– регулирование/контроль плазмы, начиная с зажигания и кончая потоком плазмообразующего газа, а также температуры и формы плазмы, с использованием всех устройств, связанных с регулированием/контролем этих параметров;
– регулирование/контроль магнитогидродинамического (МГД) блока и всех связанных с ним периферийных устройств (охладителя, магнитов, источника питания);
– регулирование/контроль передающей ВЧ-антенны и всех связанных с ней периферийных устройств (охладителя, источника питания);
– регулирование/контроль конструкции в случае повреждения конструкции или внутренних стенок, либо целостности любой другой основной рамы и внешних стенок, включая все устройства, относящиеся к этому регулированию/контролю;
– регулирование/контроль всех рабочих процедур установки, включая процедуры по обеспечению безопасности и инвентаризации;
– регулирование/контроль оперативного анализа процесса обезвреживания, включая все относящиеся к нему периферийные устройства и процедуры обеспечения безопасности;
– регулирование/контроль тяговых механизмов, обеспечивающих мобильность установки на месте эксплуатации (в случае необходимости);
– регулирование/контроль внутренней стенки, ее целостности, а также материала сборника, в тех случаях, когда молекулярная динамика материала (изменение его структурных свойств) разворачивается в чрезвычайно неблагоприятной среде (под влиянием эффектов химии высокотемпературных процессов), включая всевозможные утечки, связанные с такими эффектами, или любые иные повреждения, которые могут нарушать целостность установки.
– регулирование/контроль обнаружения утечек любых текучих сред, всевозможных жидкостей и газов, задействованных в процедуре обеспечения безопасности.
Необходимо также упомянуть о том, что на фиг.1 дополнительно показаны следующие компоненты: блок 103 управления охлаждением, который взаимодействует с остальными рассматриваемыми здесь блоками; блок 104 управления ВЧ-генератором, также взаимодействующий с остальными блоками; линию 105 связи между блоками U1 и U10; линию 106 соединения U5 с U1 и U14; линию 107 соединения с базой данных; линию 108 соединения с блоками U1 и U13; линию 109 соединения с системами, выполняющими функции безопасности и усиления; и линию 110 соединения с базой данных блока U15.
На фиг.2 и 2b показана внешняя конструкция основного блока. Главными его элементами являются: блок 201 (передний дверной блок); отсек 202 газового компрессора/газоотделителя; опора 203 отсека сопряжения; отсек сборника 204; опора 205 отсека сопряжения; рельсовые направляющие 206 для открытия передней двери; дверной проем/люк 207 для загрузки бочек, имеющий дверь 208 и рельсовую направляющую 209 для этой двери. Позицией 210 обозначена внешняя стенка установки, или так называемый стакан, а номерами 211, 212 и 213 – соответственно, два элемента сопряжения конструкций и задние рельсовые направляющие. Позиция 214 показывает заднюю дверь заднего отсека, а позиции 215, 216 и 217 – соответствующие гидравлические блоки. Номера 218 и 219 присвоены соответственно конструкции основной рамы и основному кронштейну установки.
Номером 220 обозначен механизм загрузочного люка/двери, а номером 221 – другой кронштейн, поддерживающий основную конструкцию установки. Загрузочный люк/дверь приводится в действие гидравлическим/пневматическим блоком 222. Позиция 223 обозначает опору основной конструкции; позиции 224, 225 и 226 – соответствующие гидравлические блоки. Задняя дверь прикреплена к рельсовой направляющей 227, а передняя дверь – к рельсовой направляющей 228. Передняя дверь обозначена на фиг.2b номером 229, там же можно видеть амортизаторы 230.
На фиг.3 показано продольное сечение основной камеры, при этом соответствующими позициями обозначены: 301 – зона газоотделителя; 302 – различные резервуары для газов, в которых происходит сепарация газов; 303 – зона фильтра; 304 – канал впуска газа; 305 – зона магнитогидродинамической системы; 306 – конструкция стенки; 307 – конструкция рамы; 308 – конструкция внешней стенки; 309 – магнитная направляющая; 310 – ВЧ-антенна; 311 – внутренние стенки; 312 – отсек инжекторов; 313 – задний отсек; 314 – сборник со встроенной в него антенной 315; 316 – магнитогидродинамическая зона; кроме того, можно видеть зону 317 загрузки; несущую конструкцию 318 для основной рамы; ВЧ-антенну 319; отсек 320 компрессоров; линии 321 охлаждения ВЧ-антенны; линию 322 охлаждения магнитогидродинамической системы и блоки 323 тяговых механизмов, обеспечивающие дополнительные возможности передвижения установки по земле. На этом же чертеже можно видеть так называемый “задний” отсек 313, в котором находятся блоки обезвреживания, рециркуляции и охлаждения, а также прочие разнообразные системы регулирования и контроля. Здесь же позициями V1-V6 показаны различные вакуумные зоны.
На фиг.4 приведена диаграмма, иллюстрирующая систему кондиционирования и рециркуляции, куда входят: блок 403, обеспечивающий выявление возможных загрязнений; компрессор 404 в соответствующем отсеке 405; позициями 406 обозначены линии сопряжения всех устройств герметизации дверей (на случай утечки какого-либо химического вещества) с блоками датчиков/анализаторов, что является составной частью процедуры обеспечения безопасности установки. Позициями Е1-Е10 обозначены электронные схемы дистанционного управления, a EV1-EV8 – различные электромагнитные клапаны. Буквами VP показаны вакуумные насосы, а буквами FP – жидкостные насосы. Для отсека газоотделителя принято обозначение GCC, а для отсека инжекторов – IC. Номером 406 показано соединение с электронными схемами дистанционного управления, а соединительные линии 407 иллюстрируют сопряжение с электроклапаном.
На фиг.5 приведена подробная схема системы контроля, а также системы регулирования потоков газов и жидкостей, куда не включены линии охлаждения.
Здесь позициями V1-V6 показаны вакуумные зоны, Т1 и Т2 – соответственно отсек с резервуарами и резервуар с аргоном; буквой F обозначены жидкости, F1 – нейтрализующее вещество, F2 – горячая текучая среда, F3 и F4 – плазмообразующие газы. Позиция U1 – основной блок; U9 – основной блок управления, U10 – блок управления работой блока U1. Номером 501 показан задний отсек, 502 – газовый отсек, 503 – отсек обезвреживания, 505 – смеситель, 506 – ответвление (байпас), 507 – другой смеситель. Буквами NC обозначен отсек обезвреживания, СС – компрессорный отсек, NT – резервуар для обезвреживающей жидкости и CU – блок охлаждения.
Номером 508 обозначена линия аварийного опорожнения, 509 – выход к блоку U9, 510-513 – линии сопряжения с управляющими датчиками, 514 – сопряжение с масс-спектрометром или аналогичным прибором, 515 – сопряжение с хроматографом или аналогичным прибором, 516 – сопряжение с прибором для анализа условий окружающей среды, 517 – блок контроля сборника, 519 – блок контроля ВЧ/магнитогидродинамического процесса, 522 – блок контроля конструкции стенки реактора и проверки ее целостности.
На фиг.6 и 6b приведены детализированные изображения заднего отсека и его сечения. Здесь позицией 601 обозначен блок регулирования и контроля процесса дезактивации, 602 – контейнер для рециркуляции, 603 – резервуар с жидкой активирующей примесью, 604 – резервуар с плазмообразующим газом, 605 – блок охлаждения, 606 – отсек охлаждения, 607 – отсек обезвреживания, 608 – резервуар с обезвреживающей жидкостью, 609 – отсек инжекторов.
На этих чертежах применены те же обозначения, что и ранее, то есть V используется для вакуумных зон, FP для жидкостных насосов и U1 для основного блока.
На фиг.7 приведена общая схема контуров охлаждения предложенной установки, где можно видеть основной блок U1 и систему контуров охлаждения. К основному блоку U1 подведены линии 733 и 734 охлаждения от магнитогидродинамического блока, а также линии 735 и 736 от ВЧ-блока, которые идут далее к блоку контроля и регулирования, такому как блок 701 (остальные для простоты не пронумерованы), а оттуда через электромагнитные клапаны 703 и 704 к системе охлаждения через блоки 702 контроля и регулирования и электрокпапаны 705 и далее – к другим блокам охлаждения типа блока 706, в котором имеются резервуар 707 с охладителем, охлаждающий компрессор 708 и теплообменный блок 709. В рассматриваемый контур включены также жидкостные насосы типа показанных позициями 710 и 711, а также прочие регулирующие механизмы, устройства сопряжения, насосы и электроклапаны для остальных контуров, которые на схеме не показаны. Блок охлаждения включает также систему 726 охлаждения, встроенную в сборник 727, соединенный через электроклапан 728 с линией 732, которая вместе с линией 733 замыкает контур охлаждения, проходящий через выходы вышеуказанных устройств.
На фиг.8 показаны сборник и охватывающий его кронштейн 801 с внешней конструкцией 802 и ВЧ-антенной 803, встроенной во внутреннюю стенку 804. Можно также видеть задние газоотражатели 805 и вихрь плазмы, который представлен на чертеже в виде своей задней, или хвостовой, части 806. Также показаны путь 807 движения элементов, претерпевающих диссоциацию, и зона корпуса, охватывающего гиперфильтр 808. Кроме того, позициями 809 и 810 обозначены каждый из опорных элементов, а позицией 811 – внутренний опорный кронштейн. Сборник включает в себя систему из встроенной индуктивной антенны 812 и линии 813 охлаждения, а также фидер 815. Показаны опора/конструкция 815 внутренней стенки и внутренняя поверхность 816 самого сборника. Номером 817 обозначена зона магнитогидродинамического блока, а номером 818 – зона ВЧ-блока. Позиции 819 и 820 указывают соответственно на конструкцию и опору сборника/сепаратора.
На фиг.9 приведена схема так называемого “модуля”, то есть части основной камеры, где можно видеть ВЧ-антенну 901, встроенную во внутреннюю стенку 902 модуля. В модуле выполнено отверстие 903 люка, который является частью механизма люковой зоны, обозначенной позицией 904. Можно также видеть магнитную направляющую 905, которая служит для поддержания обрабатываемого контейнера/бочки. Позицией 906 обозначено отверстие для установки двери.
На фиг.10 показано сечение основной камеры. На чертеже изображены следующие элементы: так называемый стакан 1002 с рамной конструкцией 1003 для внешней стенки и основной рамы, 1004 и 1005 с помещенными между ними роликами 1001. В конструкции предусмотрены брусья 1006 и кронштейн 1007 для фиксации внутренней стенки. Соединение между внешней и внутренней стенками камеры осуществляется с помощью узлов регулирования – так называемого регулятора 1008 с кронштейном 1009. Имеется также оптическое устройство 1010 для оптического выравнивания положения внутренней стенки и линейный двигатель 1011, служащий приводом регулятора. Регулятор оснащен шарнирными манипуляторами 1012. Позициями 1013 и 1014 обозначены соответственно ВЧ-фидер с шиной питания и ВЧ-антенна, 1015 – кронштейн для регулирования внутренней стенки, 1016 и 1017 – соответственно направляющие для основной рамы и внешней стенки, которые обеспечивают возможность снятия так называемых стаканов при необходимости выполнения ремонтных работ. Позицией 1018 обозначено приспособление для удержания внешней стенки, а позицией 1019 – опорная направляющая для внутренней стенки 1020.
Линия охлаждения обозначена позицией 1021, а система управления линейным двигателем (не показана) находится в блоке 1022.
Позициями 1023 обозначены различные секции внутренней стенки, выполненные в виде взаимозаменяемых модулей 1024 и 1025, обозначают, соответственно верхний и нижний блоки охлаждения ВЧ-блока. Внутренняя стенка обозначена номером 1026.
На фиг.11 и 12 представлены детализированные сечения рамной конструкции. Так, в частности, на фиг.11 изображены: внешняя стенка 1101, внутренняя стенка 1111, управляющий элемент 1102, опора 1103 внешней стенки, основная рама 1104, балка 1105 и управляющий элемент 1106 аварийного регулятора 1007, а также магнитная направляющая 1108 во внутренней стенке и паз 1109, выполненный в кронштейне внутренней стенки. Позицией 1110 показан кронштейн внутренней стенки, 1112 – регулятор кронштейна, 1113 – механизм самого регулятора.
На фиг.12 показаны: направляющая 1201 внешней стенки 1202, рама 1203 внешней стенки и ролик 1204, а также паз 1205 для ролика, выполненный в основной раме 1206. Можно также видеть аварийный механизм 1207, предназначенный для регулирования внутренней стенки и соответствующий механизм 1208 управления, а также аварийный управляющий элемент 1209. Кроме того, показаны кронштейн 1211 внутренней стенки и паз 1212, выполненный в опоре внутренней стенки, а также направляющая 1213 для внутренней стенки и привод 1214 линейного двигателя.
На фиг.13 приведена схема, иллюстрирующая систему теплоизоляции установки и защиту в виде клетки Фарадея, охватывающей кронштейн внутренней стенки, где 1301 – наружная защитная клетка Фарадея, 1302 – внешний теплоизолятор, 1303 – кронштейн регулятора, 1304 – внутренний изолятор, 1305 – кронштейн внутренней стенки. Изоляция внутренней стенки обозначена позицией 1305, а внутренняя клетка Фарадея – 1306. Внутренняя стенка камеры образована несколькими одинаковыми модулями 1307.
На фиг.14 и 15 показан модуль внутренней стенки реактора. Этот модуль является составной частью внутренней стенки, обозначенной позицией 1401, и включает в себя линию 1402 охлаждения и ВЧ-антенну 1403, встроенную в указанную часть внутренней стенки. Линия 1402 охлаждения относится к внутренней части, а линия 1404 охлаждения – к внешней части. Позицией 1405 обозначены направляющие указанного модуля, позицией 1406 – питатель верхней линии охлаждения, 1407 – питатель нижней линии охлаждения, 1408 – фидер ВЧ-антенны.
На фиг.16 и 17 представлены схематические изображения системы инжекторов. Количество инжекторов может быть разным, однако на этих чертежах показаны только три инжектора. Кроме того, на них изображены структурный (газо- и водонепроницаемый) сепаратор 1601, задающий границы отсека инжекторов, сепаратор 1602, внешняя стенка 1603 и внешняя опора 1604. Позицией 1605 обозначена конструкция отсека инжекторов, позицией 1606 – коллектор с инжекторами (в данном примере с тремя), 1607 – коллектор для плазмообразующего газа, 1608 – центральный инжектор, 1609 – регулятор потока газа, 1610 – второй коллектор с центральным инжектором, 1611 – один из трех резервуаров с газом под давлением для подачи газа по отдельности в каждый из инжекторов. Топливо подается в каждый резервуар по отдельности насосом 1612, который пропускает его через регулятор 1613 давления газа и сборник 1614. Показаны также коллектор 1615 инжекторов с кронштейнами 1616 для магнитогидродинамического блока 1617. Отсек инжекторов установлен на конструкции 1618 и прикреплен к основной раме 1619. На этих же схемах показаны второй магнитогидродинамический блок 1620 с соответствующим блоком 1621 контроля и регулирования.
Внутренняя стенка снабжена кронштейном 1622 и сепаратором/изолятором 1623 для одной и той же внутренней стенки 1624. Позицией 1625 показана ВЧ-антенна.
Как можно видеть на фиг.16, газ поступает из основного внешнего резервуара (не показан) через насосы 1626, которых имеется столько же, сколько резервуаров с плазмообразующим газом 1611 и устройств для ввода газа. Позицией 1627 обозначен блок регулирования подачи плазмообразующего газа. Показаны также следующие линии соединения: 1628 – с блоками U9 и U10, 1629 – с блоками U9 и U10, 1630 – с блоками U9, U10 и U12, 1631 – с блоками U9 и U10, 1632 – с блоками U9, U10 и U12. Кроме того, показаны соединения 1633, 1634 и 1635 с соответствующими инжекторами.
На фиг.18 представлена концентричная конфигурация ядра плазмы, где можно видеть: отсек 1801 газоотделителя, сборник 1802, МГД-устройство для регулирования времени обработки материалов, подлежащих диссоциации и испытывающих воздействие теплового излучения, ВЧ-антенна 1804, МГД-устройство 1805 для регулирования формы вторичной плазмы, МГД-устройство 1806 для регулирования формы первичной плазмы, инжекторы 1807, 1808 и 1809 для плазмообразующих газов, задний отсек 1810 камеры диссоциации, отсек 1811 инжекторов, инжектор 1812 плазмообразующих газов, контейнер в виде бочки или канистры 1813, магнитная направляющая 1814, хвост 1815 первичной плазмы, или НЛТР (не локальное термическое равновесие), вихрь 1817 ядра вторичной плазмы, или ЛТР (локальное термическое равновесие), и хвост 1818 вторичной плазмы, или НЛТР.
На фиг.19-22 представлены различные элементы системы регулирования двери или люка, предназначенных для загрузки бочек/канистр в камеру обработки. На этих чертежах показаны двойная мембрана внутреннего герметизирующего блока 231, внешний (вакуумный) герметизирующий блок 232, магнитная направляющая 233 и кронштейны 236, 237 для модулей 234, 235 внутренней стенки. На этих же чертежах можно видеть двойную мембрану герметизирующего блока 238, а также внешний вакуумный герметизирующий блок 239.
Предусмотрена несущая конструкция 240, которая совместно с подъемным блоком 243 удерживает дверь или люк 208, в результате чего эти дверь или люк 208 могут скользить вдоль внешней конструкции 212, как это проиллюстрировано на фиг.19-22. Кроме того, на чертежах показаны внешняя стенка 244 и двойная мембрана (внутренняя) герметизирующего блока 245, а также внутренняя стенка 246 камеры реактора и двойная мембрана (внутренняя) герметизирующего устройства 247. Люк 208 образован внутренней конструкцией и внешней конструкцией 249, которые соединены друг с другом с помощью специального средства, так называемого “регулятора” 248 (о нем говорилось также при рассмотрении фиг.10), и соединительных звеньев 241.
Кроме этого, на рассматриваемых чертежах показаны внешний (вакуумный) герметизирующий блок 250 и двойная мембрана 252 этого блока.
Размеры, указанные на иллюстрациях в метрах и футах, приведены лишь в справочных целях и не должны рассматриваться как ограничивающие объем притязаний изобретения.
Несмотря на то, что настоящее изобретение проиллюстрировано на примере конкретного варианта его осуществления, детально рассмотренного выше, следует понимать, что любой специалист данной области техники, изучив материалы заявки, содержащие формулу изобретения, описание и чертежи, сможет без труда найти много способов совершенствования и изменения данного изобретения, которые, однако, не будут выходить за пределы его патентных притязаний, определенные в приложенной формуле.
Формула изобретения
1. Способ уничтожения отходов, содержащихся в металлических контейнерах, допускающий перед началом обработки проведение предварительного этапа взятия из каждого контейнера проб и автоматической оценки этих проб для проверки их совместимости и включающий последующую установку на контейнер внешней усиливающей рамы, выполненной с возможностью при необходимости автоматически открывать стенки этого контейнера, а затем обезвреживание этого контейнера и его содержимого за один этап молекулярной диссоциации посредством направленного охватывающего плазменного вихря ВЧ-плазмы, включающего в себя все содержимое контейнера при температуре, которую регулируют во время нахождения этого контейнера в камере диссоциации в пределах 8000-14000 К в режиме реального времени пропорционально скорости разрушения частиц уничтожаемого материала.
2. Способ уничтожения отходов по п.1, предусматривающий открытие контейнера с уничтожаемыми продуктами при помощи взрывчатых веществ, расположенных в усиливающей конструкции, предварительно установленной на контейнер с отходами.
3. Способ уничтожения отходов по п.1, в котором используют плазму ВЧ-разряда, активированную Fe и/или лантанидами или газами типа гелия или водорода для повышения температуры и стабилизации плазмы.
4. Способ уничтожения отходов по п.1, при котором время пребывания частиц на этапе диссоциации регулируют путем генерации ядра вторичной плазмы.
5. Способ уничтожения отходов по п.1, при котором контейнер внутри камеры диссоциации удерживают посредством специальных одноразовых опор.
6. Способ уничтожения отходов по п.1, при котором подлежащие уничтожению контейнеры и отходы удерживают внутри камеры диссоциации посредством мощного магнитного поля, обеспечивающего подвеску незагруженного контейнера внутри камеры.
7. Способ уничтожения отходов по п.6, при котором контейнеры снабжают металлической рамой, предназначенной для поглощения значительного количества магнитного потока с обеспечением возможности их подвески без соприкосновения с внутренними стенками камеры.
8. Способ уничтожения отходов по п.1, предусматривающий сбор отдельных молекул, образующихся при диссоциации отходов, с помощью специальных сборников, выбираемых в зависимости от типа отходов.
9. Установка для реализации способа по пп.1-8, содержащая в отдельном передвижном блоке камеру для проведения основной обработки, размеры которой позволяют помещать в нее контейнер с подлежащими уничтожению отходами, и выполненная с возможностью создания потока ВЧ-плазмы при температуре в пределах 8000-14000 К и изменения направления этой плазмы таким образом, чтобы она полностью охватывала контейнер с обеспечением его полной диссоциации, при этом камера оснащена средствами индивидуального сбора и отбора различных материалов по их видам, получаемых в ходе диссоциации, и их транспортировки с помощью плазменного потока, генерируемого аргоном или другими газами, которые поступают в камеру на ее дальнем конце, где находится газоотделитель, причем эта камера, предназначенная для проведения основной обработки, имеет встроенные антенны, испускающие ВЧ-излучение для создания и поддержания ядра плазмы, и связана со следующими узлами: роботизированным блоком для загрузки контейнеров с отходами в основную камеру; блоком ВЧ-генератора; блоком охлаждения основной камеры с соответствующими периферийными устройствами; блоком регулирования и контроля всего процесса; силовым генератором с периферийными устройствами для регулирования его функций; базой данных с информацией о продуктах и их совместимости.
10. Установка по п.9, в которой целостность основной камеры обеспечена комбинацией внешней охватывающей стенки и внутренней стенки, образованной отдельными модулями, которые установлены совместно с конструкцией основной рамы и связаны между собой шарнирной соединительной системой, приводимой в действие линейными двигателями, так называемыми регуляторами, основное назначение которых заключается в обеспечении герметичности внутренней стенки камеры.
11. Установка по п.9, в которой внешняя и внутренняя стенки имеют встроенные отдельные контуры охлаждения.
12. Установка по п.9, в которой установленный на дальнем конце держатель инжектора плазмообразующего газа и установленный на дальнем конце сборник диссоциированных частиц отходов содержат, также как и стенки основной камеры, собственные блоки охлаждения и встроенные ВЧ-антенны, предназначенные для генерации ВЧ-колебаний и для регулирования их распространения.
13. Установка по п.9, в которой стенки камеры обработки выполнены из материала, прозрачного для ВЧ-излучения.
14. Установка по п.9, в которой стенки камеры выполнены из оксида бериллия (ВеО) или другого материала с подобными свойствами.
15. Установка по п.9, содержащая устройство регулирования формы плазменного вихря, которое с помощью установленных возле инжекторов и возле сборника магнитогидродинамических средств формирует надлежащую промежуточную часть потока плазмы и регулирует время пребывания молекул на этапе диссоциации.
16. Установка по п.9, в которой установленный на дальнем конце блок инжекторов включает в себя несколько резервуаров с плазмообразующим газом, подача газа в которые осуществляется из центрального внешнего резервуара, причем газ подается в каждый из указанных резервуаров через блок инжекторов с помощью регулятора потока газа и регулятора расхода газа, имеющихся у каждого отдельного инжектора.
17. Установка по п.9, в которой камера обработки имеет впускную дверь или люк для полностью автоматизированной загрузки контейнера с токсичными отходами, причем указанная дверь/люк оснащена собственными средствами охлаждения и блоком антенных решеток с соответствующими средствами контроля.
РИСУНКИ
|
|