|
|
(21), (22) Заявка: 2005128875/12, 15.09.2005
(24) Дата начала отсчета срока действия патента:
15.09.2005
(43) Дата публикации заявки: 20.03.2007
(46) Опубликовано: 10.03.2008
(56) Список документов, цитированных в отчете о поиске:
RU 2169844 C1, 27.01.2001. RU 2210413 C1, 20.08.2003. DE 10235718 A, 08.04.2004. WO 2004085246 A, 07.10.2004. BG 107144 U, 31.03.2004. RU 2084637 C1, 20.07.1997. RU 972144 A1, 07.11.1982.
Адрес для переписки:
660036, г.Красноярск, Академгородок, ВНИИ ПО МЧС России, ООО НТЦ “Системы пожарной безопасности”, Ю.А. Короткову
|
(72) Автор(ы):
Амельчугов Сергей Петрович (RU), Коротков Юрий Андреевич (RU), Тихонов Владимир Петрович (RU)
(73) Патентообладатель(и):
Общество с ограниченной ответственностью Научно-технический центр “Системы пожарной безопасности” (RU)
|
(54) СПОСОБ ПРЕДОТВРАЩЕНИЯ ПОЖАРА И СИСТЕМА ДЛЯ ЕГО РЕАЛИЗАЦИИ
(57) Реферат:
Для повышения надежности, универсальности и технологичности процесса предотвращения пожара, снижения сложности и стоимости используемого оборудования, снижения инерционности замеров, неповреждения продукта или материала хранения осуществляют контроль газовоздушной среды в ограниченных объемах с последующим пожаротушением, контроль осуществляют по скорости нарастания относительной влажности последней, а пожаротушение выполняют путем подачи в контролируемую зону огнетушащих аэрозоля и/или газа при скорости нарастания относительной влажности 5-12 г/м3 в минуту. В качестве огнетушащего газа используют углекислый газ и/или азот. Система предотвращения пожара включает генератор аэрозоля, электропневмоклапан с возможностью подачи аэрозоля по подающему трубопроводу в бункер, блок управления, связанный с электропневмоклапаном, устройство электрозажигания в генераторе аэрозоля. Подающий трубопровод снабжен расположенным внутри объема бункера по меньшей мере одним выходным патрубком с перфорациями, выполненным сообщающимся через дополнительный трубопровод с гигрометром, который электрически связан через преобразующий блок с блоком управления. Перфорации выходного патрубка экранированы коническими обтекателями, а на дополнительном трубопроводе между гигрометром и выходным патрубком установлен насос с предохранительным клапаном. 2 н. и 4 з.п. ф-лы, 3 ил.
Изобретение относится к пожарной технике, а именно к технике диагностики и обнаружения предпожарной ситуации в ограниченных объемах и предотвращения возгорания на основе ситуационной информации.
Известно, что при повышении температуры, например, угля в бункере резко увеличивается влажность в зоне разогрева и изменяется влажность сопутствующих газов. Аналогичная ситуация присутствует в силосах для хранения зерна. Таким образом, скачкообразное увеличение влажности может быть индикатором разогрева сыпучего продукта, предшествующего возгоранию.
Известен способ ликвидации пожара в закрытых помещениях с подачей смеси инертного газа и воды пневмоакустическим методом в зону горения, при этом соотношение газа и воды в смеси берут 0,7-1,5 вес.ч., а распыление воды ведут на частотах 16-21 кГц при звуковых давлениях на 160-170 дБ /RU Патент № 2130328, 1999/.
Известный способ не применим при ликвидации возгорании для угольных бункеров, зерновых силосов и ряда других насыпных продуктов, т.к. предполагает использование воды.
Известна система ликвидации пожара, содержащая пожарный датчик, подключенный к пульту управления, источник инертного газа, емкость с водой, трубопроводы с редуктором и запорной арматурой, пневмоакустическое распылительное устройство, подключенное к источнику инертного газа, и емкость с водой, при этом в систему введена схема задержки и клапан подачи инертного газа в емкость с водой /RU Патент №2130328, 1999 г./.
Известная система не применима при ликвидации возгорании для угольных бункеров, зерновых силосов и ряда других насыпных продуктов, т.к. предполагает использование воды и малоэффективна при ликвидации возгорания внутри объема насыпного материала.
Известен способ диагностики предпожарной ситуации и предотвращения возникновения пожара, включающий измерение при помощи узла датчиков информативных параметров: концентраций газообразных продуктов термодеструкции в воздухе, а именно СО, CO2, NOx HCl, окислителей, дыма, а также температуры, измерение времени запаздывания сигнала от каждого из датчиков с использованием имитатора возгорания, определение значений производных зависимостей изменения от времени информативных параметров, измеренных каждым датчиком, выработку управляющего сигнала на подачу пожарной тревоги и возможное при этом включение средств пожаротушения и выключение электропитания в результате анализа пожароопасности на основе измеренных, по крайней мере, при помощи двух датчиков информативных параметров, отличающийся тем, что дополнительно в качестве информативных параметров измеряют концентрации H2, CH4, NH3, O2, Cl2, H2S, SO2, НСОН, С6Н5OH, восстановителей, во временном интервале 0,1-60 с определяют для каждой зависимости информативных параметров от времени, по крайней мере, одно значение производной, определяют приведенное значение каждого из измеренных информативных параметров как величину, равную произведению значения производной на соответствующее каждому датчику время запаздывания, и осуществляют выработку управляющего сигнала при превышении допустимых величин приведенными значениями информативных параметров, определенными по измерениям, по крайней мере, двух датчиков, причем время запаздывания сигнала периодически измеряют как величину временного интервала между моментами включения имитатора возгорания и достижения максимального значения сигнала от датчика /RU Патент №2175779, 2001 г./.
Известный способ ограниченно применим в широком использовании из-за сложности измерений концентраций газообразных продуктов термодеструкции в воздухе, инерционности замеров и необходимости применения дорогостоящего оборудования.
Известна система пожаротушения, содержащая средство обнаружения загорания, по меньшей мере, два разнотипных устройства пожаротушения, включающиеся одновременно или последовательно, средство их инициирования, отличающаяся тем, что в качестве одного устройства пожаротушения используется аэрозольный генератор или аэрозольные генераторы любого типа со средством охлаждения аэрозоля, а в качестве другого или других используется или используются аэрозольно-порошковый генератор или аэрозольно-порошковые генераторы с охладителем аэрозоля и/или аэрозольно-жидкостной генератор или аэрозольно-жидкостные генераторы с возможностью инициирования устройства пожаротушения автоматически по сигналу с пульта управления, или от датчика, например, теплового, дымового, спектрального, или от огнепроводного шнура, или вручную включением тумблера или другого пускового устройства, или их совокупности, а средства инициирования устройств пожаротушения дополнительно связаны между собой огнепроводным или бикфордовым шнуром, вместе с тем разнотипные устройства пожаротушения закреплены в различных точках защищаемого объекта, при этом аэрозольно-порошковый и аэрозольно-жидкостный генераторы направлены средством для выхода огнетушащего вещества непосредственно на пожароопасные материалы, способные накапливать тепловую энергию /RU Патент №2118551, 1998 г/.
Известная система не достаточно эффективна для пожаротушения внутри бункеров с сыпучими материалами, не универсальна к различным типам производств и не достаточно надежна в эксплуатации.
Наиболее близким является способ раннего обнаружения пожара путем измерения текущего значения концентрации в воздухе одного из газовых компонентов, выделяющихся при тлении горючих материалов, и формирования сигнала тревоги, дополнительно измеряют текущее значение концентрации в воздухе по меньшей мере еще одного газового компонента, выделяющегося при тлении горючих материалов, определяют соотношение измеренных концентраций газовых компонентов, которое сравнивают с заданным его значением, при этом сигнал тревоги формируют при совпадении указанных значений соотношений концентраций газовых компонентов, при этом измеряют текущие значения концентрации в воздухе газовых компонентов, выбранных из группы, состоящей из водорода, окиси углерода, двуокиси углерода и ароматических углеводородов /RU Патент №2256228, 2005 г./.
Известный способ также ограниченно применим в широком использовании из-за сложности измерений концентраций газообразных продуктов термодеструкции в воздухе, инерционности замеров и необходимости применения дорогостоящего оборудования.
Наиболее близкой является система для тушения пожара, включающая средство обнаружения загорания, по меньшей мере, одно устройство для тушения пожара, причем каждое устройство для тушения пожара имеет газодинамически связанные с корпусом направляющий патрубок или патрубки или направляющий патрубок или патрубки с газодинамической насадкой, и огнетушащий комбинированный заряд, состоящий или из аэрозольгенерирующего пожаротушащего заряда или зарядов, или из аэрозоль-генерирующего пожаротушащего заряда или зарядов с теплопоглотительным зарядом, или из аэрозольгенерирующего пожаротушащего заряда или зарядов с порошковым огнетушащим зарядом при содержании порошка 30-100 мас.%, при этом при наличии в системе более одного устройства для тушения пожара они работают одновременно или последовательно, а контейнеры устройств связаны между собой газодинамически /RU Патент №2113873, 1998.06.27/.
Известная система не достаточно эффективна для пожаротушения внутри бункеров с сыпучими материалами, не универсальна к различным типам производств и не достаточно надежна в эксплуатации.
Задачей, решаемой изобретением, является повышение надежности, универсальности и технологичности способа предотвращения пожара, снижение сложности и стоимости используемого оборудования, снижение инерционности замеров.
Задача решается тем, что в способе предотвращения пожара в закрытых объемах, включающем контроль газовоздушной среды с последующим пожаротушением, согласно решению контроль газовоздушной среды осуществляют по скорости нарастания относительной влажности последней, а пожаротушение выполняют путем подачи в контролируемую зону огнетушащих аэрозоля и/или газа, при этом пожаротушение выполняют при скорости нарастания относительной влажности 5-12 г/м3 в минуту, а в качестве огнетушащего газа используют углекислый газ и/или азот.
Задача решается также тем, что в системе предотвращения пожара, включающей генератор аэрозоля, электропневмоклапан с возможностью подачи аэрозоля по подающему трубопроводу в бункер, блок управления, связанный с электропневмоклапаном, устройством электрозажигания в генераторе аэрозоля, согласно решению подающий трубопровод снабжен расположенным внутри объема бункера, по меньшей мере одним выходным патрубком с перфорациями, при этом последний выполнен сообщающимся через дополнительный трубопровод с гигрометром, который электрически связан через преобразующий блок с блоком управления, при этом перфорации выходного патрубка экранированы коническими обтекателями, а на дополнительном трубопроводе между гигрометром и выходным патрубком установлен насос с предохранительным клапаном.
Отличительными признаками являются:
– контроль газовоздушной среды осуществляют по скорости нарастания относительной влажности последней (что упрощает контроль, повышает технологичность процесса и снижает инерционность);
– пожаротушение выполняют путем подачи в контролируемую зону огнетушащих аэрозоля и/или газа (что при высокой эффективности и технологичности процесса пожаротушения повышает надежность достижения эффекта);
– пожаротушение выполняют при скорости нарастания относительной влажности 5-12 г/м3 в минуту (что обеспечивает безошибочность и надежность инициирования пожаротушения);
– в качестве огнетушащего газа используют углекислый газ и/или азот (что снижает стоимость процесса, повышает универсальность применения и эффективность);
отличительными признаками также являются:
– подающий трубопровод снабжен расположенным внутри объема бункера по меньшей мере одним выходным патрубком с перфорациями (что повышает эффективность работы системы за счет подачи аэрозоля и/или газа в центр возможного горения с равномерным распределением в зоне возможного горения);
– выходной патрубок выполнен сообщающимся через дополнительный трубопровод с гигрометром, который электрически связан через преобразующий блок с блоком управления (что позволяет при снижении стоимости используемого оборудования обеспечить надежный и быстрый запуск системы пожаротушения на стадии предпожарной ситуации);
– перфорации выходного патрубка экранированы коническими обтекателями (что обеспечивает непопадание сыпучих частиц внутрь выходного патрубка во время эксплуатации бункера или силоса, что в свою очередь повышает технологичность использования системы как при нормальном режиме, так и при ликвидации возможного возгорания);
– на дополнительном трубопроводе между гигрометром и выходным патрубком установлен насос с предохранительным клапаном (что повышает надежность работы системы и снижает инерционность).
Таким образом, заявляемое решение соответствует критерию «новизна».
Сравнение заявляемого решения с аналогами не позволило выявить в них признаки, отличающие заявляемое решение от прототипа, что позволяет сделать вывод о соответствии его критерию «изобретательский уровень».
Способ предотвращения пожара иллюстрируется примерами.
Пример 1.
При плановой остановке котла в бункере сырого топлива с емкостью 300 т угольной крошки замеряли влажность отсасываемых насосом газов гигрометром ИСТОК-4, связанным с системой пожаротушения. В исходном состоянии относительная влажность среды в верхней чести бункера соответствовала 80%. Спустя восемь суток зафиксирован разогрев угля и увеличение относительной влажности со скоростью 12,03 г/м3 в минуту. Сработала система пожаротушения, при этом в зону разогрева подавали аэрозоль СБК-2М. Процесс локального разогрева прекратился. Заполняющий объем угля на 75% объема обработан аэрозолем. В последствии относительная влажность снизилась до 80,7%
Пример 2.
Аналогично примеру 1 на бункере угля производили выдержку угольной массы при относительной влажности среды в верхней части бункера 86%. Через семь суток 12 часов в результате разогрева угля скорость увеличения влажности соответствовала 9,3 г/м3 в минуту. В зону разогрева подавали одновременно аэрозоль и углекислый газ. Процесс локального разогрева прекратился. Заполняющий объем угля на 83% объема обработан аэрозолем. Относительная влажность впоследствии снизилась до 88% и еще позднее достигла значения, близкого к исходному, – 86,1%.
Пример 3.
Аналогично примеру 1 на бункере угля производили выдержку угольной массы при относительной влажности среды в верхней части бункера 88%. Через семь суток в результате разогрева угля скорость увеличения влажности соответствовала 4,98 г/м3 в минуту. В зону разогрева подавали одновременно азот и углекислый газ. Процесс локального разогрева прекратился. Заполняющий объем угля на 95% объема обработан газами. Относительная влажность достигла значения, близкого к исходному, – 88,7%.
Пример 4
Исходя из условий самовозгорания, имитировали процесс теплового разогрева в кукурузном корме. Установка имитации самовозгорания представляла закрытую емкость объемом 0,2 м3, которую термостатировали при температуре 90°. Исходная относительная влажность в верхней части емкости соответствовала 76%. При саморазогреве (Т 98°С) относительная влажность резко возрастала, а скорость изменения влажности составила 11,5 г/м3 мин, что является началом самовозгорания. В емкость подавали углекислый газ, что позволило прекратить самовозгорание без приведения в негодность кукурузного корма. Влажность снизилась до значения, близкого к исходному.
Пример 5
Имитировали процесс теплового самовозгорания в шроте подсолнечном.
В закрытой емкости объемом 0,2 м3 с термостатированием при температуре 60° и исходной относительной влажность в верхней части емкости 81%. При саморазогреве до температуры 87°С относительная влажность возрастала, а скорость роста влажности соответствовала 9,1 г/м3 мин.
В емкость подавали газообразный азот, что позволило прекратить самовозгорание без приведения в негодность шрота подсолнечного. Влажность снизилась до значения близкого к исходному.
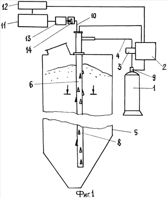
Система предотвращения пожара поясняется чертежами, где на фиг.1 представлен принципиальная схема системы с разрезом бункера, на фиг.2 – сечение по А-А выходного патрубка, фиг.3 – сечение по Б-Б – увеличенный фрагмент конического обтекателя.
Система ликвидации пожара в бункерах содержит генератор аэрозоля 1, блок управления 2, электропневмоклапан 3, подающий трубопровод 4, бункер 5, выходной патрубок 6 с перфорациями 7 и коническими обтекателями 8, устройство электрозажигания 9, дополнительный трубопровод 10, гигрометр 11, преобразующий блок 12, насос 13 предохранительный клапан 14.
Система работает следующим образом. В процессе заполнения и эксплуатации бункера 5 внутренняя полость выходного патрубка 6 и перфорации 7 находятся в свободном состоянии без заполнения сыпучим продуктом, т.к. экранируются коническими обтекателями 8, направленными вершиной против направления движения сыпучего продукта, например угольной крошки. Из выходного патрубка 6 по дополнительному трубопроводу 10, насосом 13 через предохранительный клапан 14, осуществляется непрерывная прокачка газов на гигрометр 11. Предохранительный клапан 14 отрегулирован на пропуск заданного расхода газа при заданном давлении в дополнительном трубопроводе 10.
При создании условий для возникновения горения в бункере 5, например длительная аварийная остановка и повышение температуры, резко увеличивается скорость нарастания относительной влажности и при достижении значений 5-12 г/м3 в минуту от гигрометра 11 через преобразующий блок 12 поступает сигнал на блок управления 2 с последующей командой на открытие электропневмоклапана 3 и на устройство электрозажигания 9 в генераторе аэрозоля 1. Поток аэрозоля по подающему трубопроводу 4 поступает в выходной патрубок 6, при этом в дополнительном трубопроводе 10 возрастает давление, что приводит к запиранию предохранительного клапана 14 и предотвращению попадания аэрозоля в насос 13. Далее аэрозоль через перфорации 7 равномерно под давлением распределяется по объему бункера, что обеспечивает ликвидацию возгорания.
Способ предотвращения пожара в закрытых объемах и система для его реализации обеспечивают повышение надежности, универсальности и технологичности процесса предотвращения пожара, снижение сложности и стоимости используемого оборудования, снижение инерционности замеров, неповреждение продукта или материала хранения.
Формула изобретения
1. Способ предотвращения пожара в закрытых объемах, включающий контроль газовоздушной среды с последующим пожаротушением, отличающийся тем, что контроль газовоздушной среды осуществляют по скорости нарастания относительной влажности последней, а пожаротушение выполняют путем подачи в контролируемую зону огнетушащих аэрозоля и/или газа.
2. Способ предотвращения пожара по п.1, отличающийся тем, что пожаротушение выполняют при скорости нарастания относительной влажности 5÷12 г/м3 в минуту.
3. Способ предотвращения пожара по п.1, отличающийся тем, что в качестве огнетушащего газа используют углекислый газ и/или азот.
4. Система предотвращения пожара, включающая генератор аэрозоля, электропневмоклапан, выполненный с возможностью подачи аэрозоля по подающему трубопроводу в бункер, блок управления, связанный с электропневмоклапаном, устройство электрозажигания в генераторе аэрозоля, отличающаяся тем, что подающий трубопровод снабжен расположенным внутри объема бункера по меньшей мере одним выходным патрубком с перфорациями, при этом последний выполнен сообщающимся через дополнительный трубопровод с гигрометром, который электрически связан через преобразующий блок с блоком управления.
5. Система ликвидации пожара по п.4, отличающаяся тем, что перфорации выходного патрубка экранированы коническими обтекателями.
6. Система ликвидации пожара по п.4, отличающаяся тем, что на дополнительном трубопроводе между гигрометром и выходным патрубком установлен насос с предохранительным клапаном.
РИСУНКИ
|
|