|
|
(21), (22) Заявка: 2005102605/14, 30.06.2003
(24) Дата начала отсчета срока действия патента:
30.06.2003
(30) Конвенционный приоритет:
03.07.2002 US 60/394,083
(43) Дата публикации заявки: 20.07.2005
(46) Опубликовано: 10.03.2008
(56) Список документов, цитированных в отчете о поиске:
WO 96/11028 A1, 18.04.1996. FR 2623403 A1, 26.05.1989. EP 0055859 A2, 22.05.1984. WO 02/11798 A1, 14.02.2002. US 1757680 A, 06.05.1930. SU 23565 A, 31.10.1931.
(85) Дата перевода заявки PCT на национальную фазу:
03.02.2005
(86) Заявка PCT:
DK 03/00451 (30.06.2003)
(87) Публикация PCT:
WO 2004/004812 (15.01.2004)
Адрес для переписки:
129010, Москва, ул. Б.Спасская, 25, стр.3, ООО “Юридическая фирма Городисский и Партнеры”, пат.пов. Ю.Д.Кузнецову, рег.№ 595
|
(72) Автор(ы):
КЛИНТ Хенрик Сендерсков (DK), РАДМЕР Йим (DK), СМЕДЕГОРД Йерген К. (DK), НИЛЬСЕН Йан Франк (DK), ЙЕНСЕН Петер Меллер (DK), ЙЕНСЕН Йенс Меллер (DK)
(73) Патентообладатель(и):
НОВО НОРДИСК А/С (DK)
|
(54) СИСТЕМА ДЛЯ УСТАНОВКИ ИГЛЫ И СПОСОБ КРЕПЛЕНИЯ УЗЛА С ИГЛОЙ
(57) Реферат:
Изобретение относится, в общем, к инъекционным устройствам и, в частности, обеспечивает способы и системы для крепления иглы к инъекционному устройству или к ампуле, которая может быть установлена в инъекционном устройстве. Система для установки иглы, предназначенная для установки узла с иглой на опору для иглы инъекционного устройства, содержит узел с иглой и опору для иглы. Узел содержит ступицу, которая прикреплена к игле. Ступица имеет внутреннюю цилиндрическую стенку. Опора содержит цилиндрическую наружную стенку, имеющую верхний торец, витки резьбы, расположенные на цилиндрической наружной стенке, и множество канавок, расположенных на цилиндрической наружной стенке, начинающихся у верхнего торца цилиндрической наружной стенки и образующих канал, который, в общем, параллелен оси цилиндра цилиндрической наружной стенки. Внутренняя стенка ступицы является цилиндрической и дополнительно содержит множество выступов, отходящих радиально внутрь от внутренней цилиндрической стенки ступицы. По меньшей мере, одна канавка опоры дополнительно содержит первый участок и второй участок, ориентированный под углом к первому участку. Выступы выполнены с возможностью взаимодействия с канавками для формирования байонетного соединения. Витки резьбы предназначены для резьбового присоединения соответствующего сопрягающегося традиционного резьбового узла с иглой к опоре для иглы. Способ крепления узла с иглой к опоре иглы включает в себя установку опоры внутрь ступицы таким образом, что выступы входят в зацепление с канавками и часть иглы, расположенная внутри границ внутренней цилиндрической стенки, входит в опору по оси цилиндра. После чего частично поворачивают опору и узел относительно друг друга. Технический результат – удобство использования. 4 н. и 11 з.п. ф-лы, 9 ил.
Изобретение относится в общем к инъекционным устройствам и, в частности, обеспечивает способы и системы для крепления иглы к инъекционному устройству или к ампуле, которая может быть установлена в инъекционном устройстве.
ОПИСАНИЕ ПРЕДШЕСТВУЮЩЕГО УРОВНЯ ТЕХНИКИ
Инъекционные устройства, также называемые дозаторами, существенно улучшили жизни пациентов, которые должны сами вводить себе лекарственные средства и биологические вещества. Дозаторы могут принимать множество форм, включая простые устройства одноразового использования, которые выполнены ненамного больше, чем ампула со средством для инъекций, или они могут представлять собой очень сложные инструменты с многочисленными функциями. Независимо от их формы, они оказались важными вспомогательными средствами, помогающими пациентам вводить инъецируемые лекарственные средства и биологические вещества самим себе. Они также сильно помогают ухаживающим за больными при введении инъецируемых лекарственных препаратов тем, кто не способен выполнять инъекции самому себе.
В частности инъекционные устройства, выполненные в виде ручки, представляют собой точное, удобное и часто незаметное средство для введения лекарственных препаратов и биологических веществ, таких как инсулин. Современные устройства стали более сложными и часто включают в себя разнообразные и сложные функциональные элементы, такие как запоминающие устройства для запоминания времени введения и величины последней дозы, а также – в случае устройств для введения инсулина – мониторы для контроля уровня глюкозы в крови. В то время как дозаторы в виде ручки, как правило, имеют цилиндрическую форму с иглами, выступающими из наиболее дистальной части одного конца устройства, некоторые из более современных и/или сложных дозаторов имеют другие формы с иглами, больше не выступающими из наиболее дистальной части конца устройства (см., например, Innovo® и InnoLet® от компании Novo Nordisk A/S Bagsvaerd, Дания).
Как правило, в инъекционных устройствах используют предварительно наполненный картридж, содержащий лекарственное средство, представляющее интерес. Картридж может представлять собой неотъемлемую часть дозатора, или он может содержать ампулу, имеющую мембрану, образующую одно целое с ней (см. патент США №6312413, выданный на имя Jensen и др., который настоящим включен в данную заявку путем ссылки). Часто конец ампулы, имеющей мембрану, снабжен опорой для иглы. Опора для иглы часто содержит опорную поверхность с резьбой для обеспечения возможности навинчивания узла с иглой, такого как узел, состоящий из иглы и ступицы. Опора для иглы может представлять собой неотъемлемую часть ампулы или может представлять собой отдельный верхний переходной элемент (см. патенты США №5693027 и №6126646, которые настоящим включены в данную заявку путем ссылки), который прикреплен к ампуле. Само собой разумеется, некоторые дозаторы имеют опоры для игл, которые представляют собой неотъемлемые части дозатора.
В типовом инъекционном устройстве, в котором опора для иглы не является частью дозатора, конец ампулы, имеющий опору для иглы, выступает от инъекционного устройства. В том случае, когда опора для иглы является частью дозатора, опора для иглы обычно расположена на наружном конце дозатора. В любом из двух вариантов осуществления ступицу иглы затем навинчивают на опору для иглы. Один недостаток систем для установки игл по известному уровню техники состоит в том, что они требуют, чтобы пациент навинчивал ступицу иглы на конец ампулы или дозатора путем поворота иглы относительно устройства несколько раз. Для пациентов, имеющих проблемы с руками, это неудобно. Кроме того, часто желательно хранить иглы для инъекционных устройств в кассете. Часто многие инъекционные устройства более новых поколений не являются цилиндрическими, и во многих новых устройствах другие части устройства простираются мимо опоры для иглы, делая невозможной установку иглы на инъекционном устройстве без извлечения ее сначала из кассеты.
СУЩНОСТЬ ИЗОБРЕТЕНИЯ
В соответствии с настоящим изобретением предложены системы и способы крепления узлов с иглами к инъекционным устройствам и/или ампулам. В некоторых, но необязательно во всех, вариантах осуществления система и способ по настоящему изобретению обеспечивают возможность установки узла, состоящего из иглы и ступицы, на ампуле и/или инъекционном устройстве без необходимости полного поворота узла, состоящего из иглы и ступицы, относительно инъекционного устройства. В одном варианте осуществления настоящего изобретения узел с иглой состоит из иглы, закрепленной в ступице. Узел с иглой также включает в себя средство для крепления ступицы к опоре для иглы посредством только частичного поворота ступицы иглы относительно опоры. В другом варианте осуществления настоящего изобретения опора для иглы, предназначенная для установки узла с иглой, состоит из наружной стенки и средства крепления, предназначенного для крепления узла с иглой к верхнему концу наружной стенки. В некоторых вариантах осуществления средство обеспечивает возможность полного крепления узла с иглой к опоре для иглы посредством только частичного поворота опоры для иглы. В некоторых вариантах осуществления опора для иглы включает в себя средство для выставления узла с иглой на средстве крепления. Опора для иглы и узлы с иглами, будучи соединенными, образуют систему для установки игл. Система или ее компоненты также могут включать в себя средство для определения посредством осязания и/или на слух, когда узел с иглой будет прочно установлен на опоре для иглы.
По меньшей мере, один вариант осуществления настоящего изобретения включает в себя узел с иглой, который состоит из иглы, прикрепленной к ступице, имеющей внутреннюю стенку. Множество выступов, например, имеющих цилиндрическую поверхность, простираются радиально внутрь от стенки ступицы. Как правило, стенка ступицы является цилиндрической. Опора для иглы для использования вместе с настоящим изобретением, может, по меньшей мере, в одном варианте осуществления включать в себя конструкцию, имеющую цилиндрическую наружную стенку. Множество канавок расположено на наружной стенке. Канавки начинаются в верхней части стенки и содержат, по меньшей мере, два участка: первый участок, который образует канал, который по существу параллелен оси цилиндрической наружной стенки, и второй участок, который ориентирован под углом относительно первого участка. Само собой разумеется, настоящее изобретение может быть реализовано в конструкциях, в которых канавки расположены внутри ступицы иглы, и выступы, например, имеющие цилиндрическую поверхность, расположены на наружной поверхности опоры для иглы.
По меньшей мере, в одном варианте осуществления настоящего изобретения узел с иглой полностью устанавливают на инъекционном устройстве посредством только частичного поворота узла с иглой относительно инъекционного устройства. (Специалистам в данной области техники понятно, что поворот узла с иглой относительно инъекционного устройства может быть выполнен путем удерживания устройства неподвижным и поворота узла с иглой или путем удерживания узла с иглой неподвижным и поворота устройства, или с помощью комбинации этих операций). В некоторых вариантах осуществления игла установлена на ампуле, которая установлена в инъекционном устройстве.
Следовательно, в соответствии с настоящим изобретением создан способ крепления игл к инъекционным устройствам. Способ может быть полезным при установке игл, хранящихся в кассетах, и в особенности пригоден для инъекционных устройств, которые имеют часть, которая простирается мимо опоры с иглой. В одном варианте осуществления инъекционное устройство частично вставлено в кассету (магазин), удерживающий узлы с иглами. Инъекционное устройство поворачивают относительно кассеты менее чем на полный оборот и затем извлекают с узлом с иглой, прикрепленным к нему. В некоторых вариантах осуществления не требуется никакого поворота или требуется минимальный поворот.
В других вариантах осуществления настоящего изобретения узел с иглой может включать в себя цилиндрическую ступицу, которая имеет установленную на ней иглу. Ступица может иметь внутренний цилиндрический элемент с наружной цилиндрической стенкой, которая обращена к внутренней цилиндрической стенке ступицы. Множество выступов может простираться радиально наружу от внутреннего цилиндрического элемента. Может быть использована соответствующая опора для иглы. Опора для иглы в одном варианте осуществления может включать в себя множество фиксирующих элементов, расположенных на внутренней цилиндрической поверхности (например, на стенке) опоры для иглы для образования первых каналов, которые по существу параллельны оси цилиндрической поверхности ступицы иглы. В некоторых вариантах осуществления фиксирующие элементы расположены на кольце, которое является частью внутренней поверхности или которое присоединено к внутренней стенке или является частью внутренней стенки опоры для иглы.
Кроме того, выступы могут быть выполнены с такими размерами, чтобы они могли входить в пространства между витками резьбы стандартной переходной верхней части ампулы. Выступы, расположенные на внутренней стенке ступицы и выставленные между витками резьбы стандартной переходной верхней части, создают возможность навинчивания узла с иглой на переходную верхнюю часть традиционным образом.
КРАТКОЕ ОПИСАНИЕ ЧЕРТЕЖЕЙ
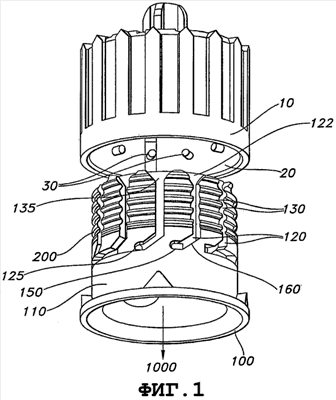
Фиг.1 – трехмерный вид ступицы иглы и опоры для иглы согласно одному варианту осуществления настоящего изобретения,
фиг.2 – вид с местным разрезом опоры для иглы и ступицы иглы, показанных на фиг.1,
фиг.3 – трехмерный вид узла с иглой и опоры для иглы согласно второму варианту осуществления настоящего изобретения,
фиг.4 – вариант осуществления по фиг.3, если смотреть на него снизу,
фиг.5 – вид с местным разрезом узла с иглой по фиг.3-4,
фиг.6 – увеличенный вид средств для установки узла с иглой по варианту осуществления, показанному на фиг.3-5,
фиг.7 – вид с местным разрезом опоры для иглы и ступицы иглы, иллюстрирующий один вариант осуществления настоящего изобретения для тактильного определения того, надежно ли установлена ступица иглы на опоре для иглы,
фиг.8 – вид сбоку кассеты для хранения игл, которые могут быть использованы при выполнении на практике операций способа по настоящему изобретению,
фиг.9 – вид сверху кассеты, показанной на фиг.8.
ПОДРОБНОЕ ОПИСАНИЕ ИЗОБРЕТЕНИЯ
В соответствии с настоящим изобретением созданы системы и способы крепления узлов, состоящих из иглы и ступицы, к ампулам и инъекционным устройствам. Как правило, узел, состоящий из иглы и ступицы, содержит иглу 510, прикрепленную к ступице 500 (см., например, фиг.3). Как показано на фиг.1, ступица 10 иглы может быть выполнена в общем с цилиндрической формой и иметь внутреннюю поверхность 20 стенки. В одном варианте осуществления настоящего изобретения множество выступов 30 простирается радиально внутрь от внутренней поверхности 20.
Опора 100 для иглы предназначена для приема ступицы 10 иглы (см., например, фиг.1). Как показано на фиг.1 и 2, опора 100 для иглы может быть выполнена в общем с цилиндрической формой и иметь наружную поверхность 110 стенки. Множество канавок или пазов 120 расположено на наружной поверхности 110. Канавки 120 имеют первый конец 122 и второй конец 125. Канавки 120 имеют первый участок 130, который образует канал, который в общем параллелен оси 1000 цилиндрической поверхности опоры 100 для иглы. Несмотря на то, что первый участок 130 канавки показан на чертежах как имеющий прямоугольную часть, точная форма канавки не имеет решающего значения при условии, что она позволяет выступам 30 на ступице иглы перемещаться в направлении, параллельном оси 1000 цилиндрической поверхности. Таким образом, хотя канавка может иметь стенки, которые необязательно параллельны оси 1000 цилиндрической поверхности, по-прежнему можно утверждать, что канавка параллельна оси 1000 цилиндрической поверхности, если она позволяет выступам 30 перемещаться в направлении, параллельном оси 1000 цилиндрической поверхности. Первый участок 130 канавок 120 может иметь ширину, которая больше ширины остальной части первого участка или остальной части канавки 120. В вариантах осуществления, в которых канавка имеет стенки, которые не параллельны оси 1000 цилиндрической поверхности, ширина первого участка 130 канавки может представлять собой среднюю ширину для первого участка 130 канавки.
Первый участок 130 может иметь вход 135, имеющий размер по ширине, превышающий среднюю ширину первого участка или превышающий среднюю ширину всей канавки 120. Вход 135 может служить в качестве средства для выставления ступицы иглы таким образом, чтобы выступы вошли в канавку 120. В большинстве вариантов осуществления, но не во всех вариантах, ширина входа больше ширины канавки 120 в любой другой точке. Как правило, ширина канавки уменьшается по мере удаления канавки от входа 135. Канавка может достичь постоянной ширины на некотором расстоянии от начала. В некоторых вариантах осуществления ширина первого участка 130 является наибольшей у входа 135 и продолжает уменьшаться на длине первого участка 130. Канавки также имеют второй участок 150, который или перпендикулярен оси 1000 цилиндрической поверхности, или расположен под углом к первому участку 130. Угол между первым участком (130) и вторым участком (150) может составлять 90 градусов или менее. В некоторых вариантах осуществления второй участок 150 может состоять только из одной поверхности, которая в общем перпендикулярна оси цилиндрической поверхности опоры для иглы. Таким образом, второй участок 150 канавки необязательно должен представлять собой паз, имеющий две стороны, но должен иметь только одну сторону для предотвращения перемещения выступов на ступице иглы к наружному концу опоры для иглы. Как показано на фиг.1, канавки 120 также могут иметь третий участок 160, который ориентирован под углом относительно первого участка 130 и второго участка 150.
В некоторых вариантах осуществления настоящего изобретения предусмотрено средство для тактильного определения того, надежно ли прикреплен узел с иглой к ступице. Это может быть выполнено многочисленными способами, включая выполнение небольшого(-их) выступа(-ов) 439 на боковой стороне или в нижней части второго участка канавок 120 (см., например, фиг.7). Выступы 30 должны преодолеть выступы 439 до того, как игла зафиксируется. Деформация выступов может вызвать тактильное ощущение или звук, такой как звук щелчка. Таким образом, в некоторых вариантах осуществления настоящего изобретения система для установки иглы может быть выполнена так, что ступица иглы и опора для иглы генерируют звук щелчка, когда игла прочно размещена на опоре. Когда возникает необходимость в снятии ступицы с инъекционного устройства, наклонные тактильные выступы могут быть более острыми на их концах, так что ступица будет лучше фиксироваться во время инъекции и манипулирования и т.д. Это также позволяет пациенту сохранить иглу для большего числа инъекций.
Одно преимущество настоящего изобретения состоит в том, что опора для иглы может быть выполнена со стандартными витками 200 резьбы на ее наружной поверхности (см. фиг.1). Канавки 120 могут быть прорезаны в стандартных витках 200 резьбы. Это позволяет опоре 100 для иглы, имея принимать не только ступицы игл по настоящему изобретению, но также стандартные узлы, состоящие из иглы и ступицы и выполненные с резьбой.
Фиг.1 показывает байонетное соединение с канавками на опоре для иглы и выступами на ступице иглы, но изобретение может быть выполнено с канавками, расположенными на внутренней поверхности ступицы иглы, и с выступами, простирающимися наружу от наружной стенки опоры для иглы. В некоторых вариантах осуществления может оказаться предпочтительным выполнить выступы с такими размерами и формой, чтобы они входили в пространства между стандартными витками резьбы, используемыми в существующих ступицах игл. В этом случае выступы могут быть расположены на наружной стенке опоры для иглы так, чтобы обеспечить возможность присоединения не только узлов, состоящих из иглы и ступицы и имеющих канавки на их внутренней стенке, но также стандартных ступиц игл, выполненных с резьбой.
Настоящее изобретение может принимать многочисленные другие формы, включая те, которые показаны на фиг.3-6, но не ограничено ими. Как показано на фиг.3-6, узел 500, состоящий из иглы и ступицы, имеет иглу 510, прикрепленную к нему. Ступица 550 иглы может быть выполнена, в общем, с цилиндрической формой и имеет внутреннюю поверхность 600 стенки и закрытый верхний конец 610. Закрытый верхний конец 610 имеет внутреннюю поверхность 620. Цилиндрический элемент 650 выступает от внутренней поверхности 620 и имеет наружную поверхность 660 (см. фиг.5). Выступы 670 простираются радиально наружу от наружной поверхности 660. Выступы могут принимать различные виды и формы, включая форму треугольной призмы, показанную на чертежах.
Узел, состоящий из иглы и ступицы и показанный на фиг.3-5, может быть использован вместе с модифицированной опорой 700 для иглы. Как показано на фиг.3-6, опора 700 для иглы может быть выполнена в общем с цилиндрической формой и иметь верхний конец, внутреннюю поверхность, наружную поверхность и множество фиксирующих элементов (которые могут представлять собой дополнительные выступы), простирающихся от внутренней поверхности внутрь. Фиксирующие элементы могут быть расположены так, чтобы они образовывали каналы для выступов 500 на опоре для иглы, в результате чего они образуют множество канавок для приема выступов узла 500, состоящего из иглы и ступицы. Как показано на фиг.6, канавки могут иметь первый участок 561, который образует канал, который в общем параллелен оси цилиндрической поверхности опоры для иглы, второй участок 571, который перпендикулярен оси цилиндрической поверхности, и третий участок 588, который соединяет второй 571 и первый 561 участки. Первый участок 561 может быть наиболее широким у его начала и, таким образом, служит в качестве средства выставления для выступов на ступице иглы. Опора для иглы может иметь опорную поверхность 581, на которую опирается часть ступицы иглы, когда ступица иглы установлена на опоре для иглы. Опорная поверхность может представлять собой верхний край верхнего торца опоры для иглы, или она может представлять собой наружную поверхность 599 стенки опоры для иглы, или оба этих элемента. Вариант осуществления, показанный на фиг.2-4, также предпочтительно позволяет выполнить наружную поверхность опоры для иглы с резьбой, так что стандартные ступицы игл по известному уровню техники могут быть использованы вместе с усовершенствованной опорой для иглы по настоящему изобретению.
Настоящее изобретение создает возможность использования различных способов крепления узла, состоящего из иглы и ступицы, к ампуле или инъекционному устройству. Например, в одном варианте осуществления настоящего изобретения опору для иглы вставляют в ступицу иглы, ступицу иглы поворачивают относительно опоры для иглы менее чем на один оборот, как правило, на угол, составляющий от 5 до 30-60 градусов. В некоторых вариантах осуществления будет предусмотрен щелчок или вибрация, или другая тактильная “обратная связь” для индикации того, что игла прочно прикреплена к ступице. В некоторых вариантах осуществления необходим небольшой поворот. В некоторых вариантах осуществления существует возможность того, что не потребуется никакого поворота. Поверхность фиксирующего элемента 777 может просто вызвать принудительный поворот ступицы при установке опоры во внутреннее пространство ступицы 500. В других вариантах осуществления может потребоваться больший поворот.
Поскольку способы крепления ступицы иглы к опоре для иглы не требуют того, чтобы ступица была повернута на полный оборот относительно опоры (то есть или ступицу поворачивают и опору удерживают неподвижной, или опору поворачивают и ступицу удерживают неподвижной, или оба элемента поворачивают в противоположных направлениях), настоящее изобретение создает возможность использования способов и обеспечивает способы крепления узлов, состоящих из иглы и ступицы и хранящихся в кассетах, аналогичных той, которая показана на фиг.8 и 9, к инъекционным устройствам, при этом их форма не позволит повернуть устройство относительно кассеты на полный оборот. В одном варианте осуществления настоящего изобретения часть инъекционного устройства 3000, обычно часть, содержащую опору 3010 для иглы, вставляют в кассету 3050 с иглами. Не поворачивая устройство 3000 на полный оборот, его затем извлекают с иглой, полностью прикрепленной к нему. В некоторых вариантах осуществления предусмотрена звуковая или тактильная “обратная связь” для индикации того, что игла прочно прикреплена к устройству. В некоторых вариантах осуществления та часть устройства, которую вставляют в кассету, может представлять собой концевую часть ампулы, которая простирается от устройства. Некоторые способы осуществления настоящего изобретения на практике могут быть реализованы путем использования игл, которые хранятся в кассете, имеющей ровную поверхность 3070, обычно – но необязательно – в утопленных полостях 3090 (см. фиг.9).
Вышеизложенное представляет собой краткое описание некоторых приведенных в качестве примера вариантов осуществления настоящего изобретения и предназначено для того, чтобы представлять собой иллюстрацию, а не исчерпывающее описание настоящего изобретения. Специалисты в данной области техники отдают себе отчет в том, что природа языка не позволяет охватить сущность всех аспектов настоящего изобретения, и предусмотрено, что не имеющие важного значения и несущественные замены для различных элементов включены в объем изобретения, определяемый нижеприведенной формулой изобретения.
Формула изобретения
1. Система для установки иглы, предназначенная для установки узла с иглой на опору (100) для иглы инъекционного устройства, содержащая узел (500) с иглой, содержащий ступицу (10), которая прикреплена к игле, причем ступица (10) имеет внутреннюю цилиндрическую стенку (20), и опору (100) для иглы, содержащую цилиндрическую наружную стенку (110), имеющую верхний торец, витки (200) резьбы, расположенные на цилиндрической наружной стенке, и множество канавок (120), расположенных на цилиндрической наружной стенке (110), начинающихся у верхнего торца цилиндрической наружной стенки (110) и образующих канал, который, в общем, параллелен оси (1000) цилиндра цилиндрической наружной стенки (110), характеризующаяся тем, что внутренняя стенка (20) ступицы (10) является цилиндрической и дополнительно содержит
множество выступов (30), отходящих радиально внутрь от внутренней цилиндрической стенки (20) ступицы (10), и тем, что, по меньшей мере, одна канавка (120) опоры (100) для иглы дополнительно содержит первый участок (130) и второй участок (150), ориентированный под углом к первому участку (130), причем выступы (30) выполнены с возможностью взаимодействия с канавками (120) для формирования байонетного соединения, а витки резьбы предназначены для резьбового присоединения соответствующего сопрягающегося традиционного резьбового узла с иглой к опоре (100) для иглы.
2. Система по п.1, отличающаяся тем, что угол между первым участком (130) и вторым участком (150) составляет 90° или менее.
3. Система по п.1 или 2, отличающаяся тем, что первый участок (130) канавки (120) является наиболее широким у верхнего торца опоры (100) для иглы, образуя вход (135).
4. Система по п.1, отличающаяся тем, что выступы (30) содержат цилиндрическую поверхность.
5. Система по п.1, отличающаяся тем, что она дополнительно содержит средство для тактильного и/или звукового определения того, прочно ли ступица (10) иглы установлена на опоре (100) для иглы.
6. Опора для иглы, содержащая цилиндрическую наружную стенку (110), имеющую верхний торец, витки (200) резьбы, расположенные на цилиндрической наружной стенке (110), для установки на нее традиционного резьбового узла с иглой, и множество канавок (120), расположенных на цилиндрической наружной стенке (110), начинающихся у верхнего торца цилиндрической наружной стенки (110) и образующих канал, который, в общем, параллелен оси (1000) цилиндра цилиндрической наружной стенки (110), характеризующаяся тем, что, по меньшей мере, одна канавка (120) опоры (100) для иглы дополнительно содержит
первый участок (130) и второй участок (150), ориентированный под углом к первому участку (130).
7. Опора по п.6, отличающаяся тем, что угол между первым участком (130) и вторым участком (150) составляет 90° или менее.
8. Опора по п.6 или 7, отличающаяся тем, что первый участок (130) канавки (120) является наиболее широким у верхнего торца опоры (100) для иглы, образуя вход (135).
9. Узел (500) с иглой, содержащий ступицу (10), которая прикреплена к игле (510), причем ступица (10) имеет внутреннюю цилиндрическую стенку (20) с множеством выступов (30), отходящих радиально внутрь от внутренней цилиндрической стенки (20) ступицы (10), причем часть иглы (510) расположена внутри границ внутренней цилиндрической стенки (20).
10. Узел по п.9, отличающийся тем, что выступы (30) содержат цилиндрическую поверхность.
11. Узел по п.9, отличающийся тем, что выступы (30) отходят перпендикулярно оси (1000) цилиндра.
12. Узел по любому из пп.9-11, отличающийся тем, что выступы (30) расположены вблизи проксимального конца ступицы (10), противоположного верхнему торцу.
13. Способ крепления узла (500) с иглой по п.9 к опоре (100) иглы по п.6, включающий в себя следующие операции:
i) вставляют опору (100) для иглы внутрь ступицы (10) таким образом, что выступы (30) входят в зацепление с канавками (120), и часть иглы, расположенная внутри границ внутренней цилиндрической стенки (20), входит в опору (100) для иглы по оси (1000) цилиндра, ii) частично поворачивают опору (100) для иглы и узел (500) с иглой относительно друг друга.
14. Способ по п.13, отличающийся тем, что опору (100) для иглы и узел (500) с иглой поворачивают менее чем на полный оборот относительно друг друга.
15. Способ по п.14, отличающийся тем, что опору (100) для иглы и узел (500) с иглой поворачивают относительно друг друга на угол, составляющий от 5 до 30-60°.
РИСУНКИ
|
|