|
|
(21), (22) Заявка: 2006103256/15, 27.07.2004
(24) Дата начала отсчета срока действия патента:
27.07.2004
(30) Конвенционный приоритет:
04.08.2003 US 60/492,407 07.05.2004 US 60/568,989
(43) Дата публикации заявки: 27.06.2006
(46) Опубликовано: 10.03.2008
(56) Список документов, цитированных в отчете о поиске:
WO 01/68092 А2, 20.09.2001. WO 03/000226 А2, 03.01.2003. RU 2144040 C1, 10.01.2000.
(85) Дата перевода заявки PCT на национальную фазу:
06.03.2006
(86) Заявка PCT:
IB 2004/002519 (27.07.2004)
(87) Публикация PCT:
WO 2005/011636 (10.02.2005)
Адрес для переписки:
129010, Москва, ул. Б.Спасская, 25, стр.3, ООО “Юридическая фирма Городисский и Партнеры”, пат.пов. Е.Е.Назиной, рег. № 517
|
(72) Автор(ы):
БЕЙЕРИНК Рональд Артур (US), ДОБРИ Дэниел Элмонт (US), ФРИЗЕН Дуэйн Томас (US), СЕТТЕЛЛ Дана Мари (US), РЭЙ Родерик Джек (US)
(73) Патентообладатель(и):
ПФАЙЗЕР ПРОДАКТС ИНК. (US)
|
(54) СПОСОБЫ РАСПЫЛИТЕЛЬНОЙ СУШКИ ДЛЯ ПОЛУЧЕНИЯ ТВЕРДОАМОРФНЫХ ДИСПЕРСИЙ ЛЕКАРСТВЕННЫХ СРЕДСТВ И ПОЛИМЕРОВ
(57) Реферат:
Изобретение относится к медицине, а именно к способам получения фармацевтической композиции, содержащей твердоаморфную дисперсию, содержащую лекарственное средство и полимер, включающие следующие стадии: (а) обеспечения сушильной установки, имеющей распылитель, соединенный с сушильной камерой, причем указанная сушильная камера имеет вход и выход; (б) получения распыляемого раствора путем растворения указанного труднорастворимого лекарственного средства и указанного полимера в растворителе, (в) распыления указанного распыляемого раствора через указанный распылитель в указанную камеру для образования капелек, имеющих средний объем менее 500 мкм; (г) пропускания сушильного газа через указанный вход при таких скорости потока и температуре Твхода, при которых указанные капельки затвердевают с образованием указанной твердоаморфной дисперсии указанного труднорастворимого лекарственного средства в указанном полимере менее чем примерно через 20 секунд; (д) где указанная твердоаморфная дисперсия указанного труднорастворимого лекарственного средства в указанном полимере обеспечивает либо повышение концентрации, либо более быстрое растворение указанного труднорастворимого лекарственного средства в водной среде использования относительно контрольной композиции, состоящей только из указанного труднорастворимого лекарственного средства; где скорость подачи указанного распыляемого раствора составляет по меньшей мере 10 кг/час и указанная скорость подачи указанного распыляемого раствора и указанная Твхода указанного сушильного газа регулируется таким образом, что указанный сушильный газ на указанном выходе имеет температуру Твыхода и указанная Твыхода ниже, чем указанная точка кипения указанного растворителя; и где указанный сушильный газ дополнительно содержит указанный растворитель в парообразной форме. Заявленные способы обеспечивают большие количества высушенных распылением твердоаморфных дисперсий, являющихся гомогенными, плотными и имеющими низкое содержание остаточного растворителя. 2 н. и 11 з.п. ф-лы, 5 табл., 7 ил.
УРОВЕНЬ ТЕХНИКИ
Настоящее изобретение относится к способу распылительной сушки для получения фармацевтических композиций, содержащих твердоаморфную дисперсию труднорастворимого лекарственного средства и полимер.
Иногда желательно образование твердоаморфной дисперсии лекарственного средства и полимера. Одной из причин для образования твердоаморфной дисперсии является возможность увеличения концентрации растворимого в воде лекарственного средства путем образования аморфной дисперсии этого лекарственного средства и полимера. Например, Curatolo et al., EP 0 901 786 A2 раскрывают образование фармацевтической высушенной распылением дисперсии умеренно растворимых лекарственных средств и полимера гидроксипропилметилцеллюлозы ацетат сукцината. Такая твердоаморфная дисперсия лекарственного средства и полимера обеспечивает более высокие концентрации растворенного в водном растворе лекарственного средства по сравнению с лекарственным средством в кристаллической форме. Такая твердоаморфная дисперсия имеет свойство при гомогенном диспергировании лекарственного средства во всем количестве полимера быть наиболее эффективной.
Несмотря на то, что способы распылительной сушки широко изучены, высушенные распылением твердоаморфные дисперсии обеспечивают ряд уникальных перспектив. Распылительная сушка предусматривает растворение лекарственного средства и полимера в растворителе с образованием распыляемого раствора, распыление распыляемого раствора с образованием капелек и затем быстрое испарение растворителя из капелек для образования твердоаморфной дисперсии в форме маленьких частиц. Частицы твердоаморфной дисперсии предпочтительно являются гомогенными, твердыми дисперсиями аморфного лекарственного средства в полимере. Часто желательно, чтобы лекарственное средство в твердоаморфной дисперсии находилось в количестве, превышающем растворимость лекарственного средства в полимере (в отсутствии растворителя), и при этом желательно, чтобы лекарственное средство оставалось гомогенно диспергированным в полимере, а не расслаивалось на насыщенные лекарственным средством участки. Такие гомогенные твердоаморфные дисперсии называются “термодинамически нестабильными”. Для образования таких дисперсий путем распылительной сушки необходимо быстрое испарение растворителя из капелек распыляемого раствора, приводящее таким образом к получению гомогенной твердоаморфной дисперсии. Однако быстрое испарение растворителя часто приводит к образованию частиц, которые являются или очень маленькими, или имеют очень низкую плотность (высокий удельный объем), или и то, и другое. Такие свойства частиц могут затруднять обработку материала и образование лекарственных форм, содержащих частицы твердоаморфной дисперсии.
Напротив, условия сушки, направленные на содействие увеличению и уплотнению частиц, могут привести к другим проблемам. Во-первых, медленное испарение растворителя из капелек распыляемого раствора может приводить к разделению лекарственного средства и полимера в процессе испарения капелек с образованием негомогенных, разделенных на фазы дисперсий. То есть твердая дисперсия содержит фазу, богатую лекарственным средством, и фазу, богатую полимером. Во-вторых, условия сушки, способствующие увеличению и уплотнению частиц, могут привести к высоким уровням остаточного растворителя в твердоаморфной дисперсии. Это является нежелательным по меньшей мере по двум причинам. Во-первых, в результате высоких уровней остаточного растворителя в частицах твердоаморфной дисперсии можно получить негомогенную дисперсию, в которой разделены фазы лекарственного средства и полимера. Во-вторых, с повышением количества остаточного растворителя выход готового продукта распылительной сушки уменьшается вследствие неполного высыхания капелек, приводящего к прилипанию влажных капелек к различным частям сушилки. Полимер и лекарственное средство, прилипающие к поверхностям сушилки, не только снижают выход продукта, но и могут отрываться от поверхности и присутствовать в продукте в виде больших негомогенных частиц или комков. Если материал подвергается воздействию высоких температур более продолжительное время, чем основная часть высушенного распылением материала, в таком материале часто имеются более высокие уровни примесей.
Кроме того, для производства в коммерческих целях больших количеств частиц твердоаморфной дисперсии необходимо использование большого объема растворителя. В обычном способе высушивания распылением больших количеств распыляемого раствора необходимо иметь возможность соблюдать баланс между потребностью в быстром испарении растворителя для образования гомогенной твердоаморфной дисперсии и потребностью в образовании частиц с желательными уровнями остаточного растворителя и рабочими характеристиками.
Наконец, часто желательно утилизировать сушильный газ, такой как азот, который является инертным и уменьшает возможность возгорания или взрыва. Желательно минимизировать использование таких газов вследствие их высокой стоимости, а также минимизировать количество испаряемого растворителя, поскольку в дальнейшем пары таких газов используются.
Соответственно, остается потребность в способе распылительной сушки для приготовления фармацевтической композиции твердоаморфной дисперсии, содержащей лекарственные средства с низкой растворимостью и полимеры, который позволит обеспечить большие количества высушенных распылением твердоаморфных дисперсий, являющихся гомогенными, плотными и имеющими низкое содержание остаточного растворителя.
КРАТКОЕ ОПИСАНИЕ СУЩНОСТИ ИЗОБРЕТЕНИЯ
В одном аспекте представлен включающий следующие стадии способ образования фармацевтической композиции, содержащей твердоаморфную дисперсию, содержащую лекарственное средство и полимер. Представлена сушильная установка, имеющая распылитель, связанный с сушильной камерой, сушильную камеру, имеющую вход и выход. Распыляемый раствор образуется путем растворения лекарственного средства низкой растворимости и полимера в растворителе. (Как описывается ниже, труднорастворимое лекарственное средство имеет низкую растворимость в водных растворах.) Распыляемый раствор распыляется в камеру через распылитель с образованием капель, имеющих средний объем менее 500 мкм. Сушильный газ проходит через вход при скорости потока и температуре Tвхода, такой что капли затвердевают быстрее, чем примерно за 20 секунд. Скорость подачи распыляемого раствора составляет по меньшей мере 10 кг/час, регулирование скорости подачи распыляемого раствора и Tвхода сушильного газа осуществляется таким образом, что сушильный газ на выходе имеет температуру Tвыхода, которая ниже точки кипения растворителя.
Авторами настоящего изобретения выявлено, что несмотря на то, что свойства высушенных распылением дисперсий могут сильно варьировать в зависимости от условий распылительной сушки, тем не менее показано, что температура отработанного сушильного газа на выходе, или Tвыхода, является определяющей для создания твердоаморфной дисперсии, являющейся гомогенной, плотной и имеющей низкий объем остаточного растворителя. Таким образом, пропорционально увеличивая объемы распыляемого раствора и объемы сушильного газа, осуществляя распылительную сушку, необходимо регулировать скорости каждого потока для поддерживания значений Tвыхода ниже точки кипения растворителя.
Авторы настоящего изобретения выявили, что для образования твердоаморфных дисперсий, являющихся по существу гомогенными, плотными и имеющих низкий остаточный объем растворителя, желательно высушивать распылением распыляемый раствор при относительно прохладных и сухих условиях. Таким образом, в противоположность настоящему изобретению обычные способы распылительной сушки используют условия горячей сушки, быстро испаряющей растворитель. Обычно для получения максимального производства продукта с использованием установки распылительной сушки распылительный раствор подается в установку на пределе вместимости сушильной установки. Так как сушильная установка ограничивает скорость потока сушильного газа, для обеспечения достаточной для испарения растворителя энергии сушильный газ нагревают до очень высоких температур. Как очень подробно описано ниже, авторы настоящего изобретения выявили, что обычные высокотемпературные условия распылительной сушки не способствуют созданию твердоаморфных дисперсий, которые являются гомогенными, плотными и имеющими низкий остаточный объем растворителя. Вместо этого необходимо регулировать температуру сушильного газа на входе и скорость подачи распыляемого раствора для поддерживания относительно прохладных условий в сушильной камере, что определяется температурой Tвыхода сушильного газа при выходе. Кроме того, выбирают сухие условия, то есть наличие в сушильной камере достаточного избытка сушильного газа по отношению к растворителю, с тем чтобы испарение растворителя проходило быстро, несмотря на более низкую температуру Tвхода сушильного газа на входе. Это приводит к образованию гомогенной твердоаморфной дисперсии с более высоким соотношением лекарственного средства и полимера, чем возможно получить обычными способами производства, что является одним из получаемых в результате преимуществ настоящего способа.
В другом аспекте представлен содержащий следующие стадии способ образования фармацевтической композиции, содержащий твердоаморфную дисперсию, содержащую лекарственное средство и полимер. Представлена сушильная установка, имеющая распылитель, связанный с сушильной камерой, сушильную камеру, имеющую вход и выход. Образование распыляемого раствора происходит путем растворения труднорастворимого лекарственного средства и полимера в растворителе. Распыляемый раствор распыляется в камеру через распылитель с образованием капелек, имеющих средний объем менее 500 мкм. Сушильный газ проходит через вход при такой скорости потока и температуре Tвхода, что капельки затвердевают быстрее, чем примерно за 20 секунд. Проходящий через вход сушильный газ дополнительно содержит растворитель в парообразной форме. В предпочтительных вариантах осуществления настоящего аспекта сушильный газ, выходящий из сушильной камеры через систему накопления растворителя, рециркулирует к входу и система накопления растворителя перед повторным прохождением сушильного газа через вход удаляет из сушильного газа только часть растворителя.
В другом аспекте настоящего изобретения Tвыхода от 5 до 25°C ниже точки кипения растворителя и более предпочтительно Tвыхода от 10 до 20°C ниже точки кипения растворителя.
В другом аспекте настоящего изобретения Tвыхода ниже температуры стеклования твердоаморфной дисперсии на уровне остаточного растворителя твердоаморфной дисперсии при ее выходе из сушильной камеры.
В другом аспекте точка росы растворителя в сушильной камере по существу ниже чем Tвыхода и может быть по меньшей мере на 10°C, по меньшей мере на 20°C или даже по меньшей мере на 30°C ниже чем Tвыхода.
В другом аспекте настоящего изобретения распыляемый раствор образуется путем смешивания труднорастворимого лекарственного средства, полимера и растворителя в отдельном смесителе, таком как порошковый диспергатор.
В другом аспекте настоящего изобретения распылитель – это сопло высокого давления. В одном варианте осуществления сопло высокого давления образует внутреннюю коническую поверхность, смежную с выходом наконечника для уменьшения скопления высушенного материала по соплу.
В другом аспекте настоящего изобретения распыляемый раствор имеет высокую скорость подачи. Скорость подачи может составлять по меньшей мере 50 кг/час, по меньшей мере 100 кг/час или даже по меньшей мере 200 кг/час. В одном варианте осуществления скорость подачи распыляемого раствора составляет по меньшей мере от 400 до 600 кг/час.
Вышеупомянутые и другие цели, особенности, и преимущества настоящего изобретения будут легко поняты после рассмотрения следующего подробного описания настоящего изобретения.
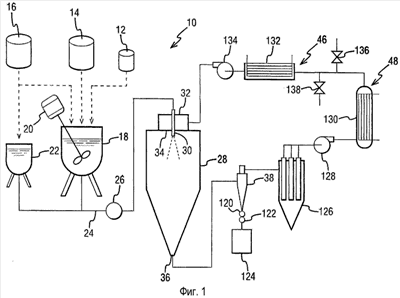
Фиг. 1 – схематическое изображение системы распылительной сушки.
Фиг. 2 – схематическое изображение смешивающей системы.
Фиг. 3 – изотермическая таблица для примерного набора условий распылительной сушки.
Фиг. 4 – общий вид сопла высокого давления.
Фиг. 5 – вид сопла высокого давления Фиг. 4 в разрезе.
Фиг. 6 – схематический вид газового диспергатора.
Фиг. 7 – схематический вид в разрезе примера сушильной камеры.
ПОДРОБНОЕ ОПИСАНИЕ ИЗОБРЕТЕНИЯ
Настоящее изобретение относится к способам распылительной сушки для образования фармацевтических композиций, содержащих гомогенную твердоаморфную дисперсию труднорастворимого лекарственного средства и полимера, и, в частности, к способам распылительной сушки больших объемов распыляемого раствора для образования твердоаморфной дисперсии в больших количествах. В настоящем способе образование гомогенных твердоаморфных дисперсий начинают с растворения труднорастворимого лекарственного средства и полимера в растворителе для образования распыляемого раствора. Затем быстро удаляют растворитель для образования твердоаморфной дисперсии.
Концентрация лекарственного средства в получаемой дисперсии, образованной способом, раскрываемым в настоящем изобретении, может быть ниже растворимости лекарственного средства в полимере (при комнатной температуре). Такая дисперсия называется термодинамически устойчивой дисперсией и обычно является гомогенной; то есть лекарственное средство по существу гомогенно рассеяно в полимере на молекулярном уровне и таким образом может считаться твердым раствором.
Часто, когда концентрация лекарственного средства в полимере превышает его растворимость, желательно сохранить гомогенность образуемой дисперсии. Такая дисперсия называется термодинамически нестабильной. Ключом к образованию гомогенной твердоаморфной дисперсии, являющейся термодинамически нестабильной, является быстрое удаление растворителя. Если временной масштаб удаления растворителя из распыляемого раствора короче временного масштаба, при котором фаза лекарственного средства и полимера отделяются от распыляемого раствора по мере испарения растворителя, то возможно образование гомогенной твердоаморфной дисперсии даже тогда, когда концентрация лекарственного средства в полимере превышает его растворимость и вследствие этого дисперсия термодинамически нестабильна. Однако скорость, с которой происходит удаление растворителя, сильно влияет на физические свойства получаемой твердоаморфной дисперсии. Ниже более подробно описываются желательные свойства твердоаморфной дисперсии и условия распылительной сушки, необходимые для достижения этих свойств.
ТВЕРДОАМОРФНЫЕ ДИСПЕРСИИ
I. Желательные свойства твердоаморфных дисперсий
Чтобы достичь повышения концентрации труднорастворимого лекарственного средства в водных условиях использования, твердоаморфная дисперсия должна обладать рядом свойств. Водные условия использования могут быть как условиями использования in vitro, такими как среда испытания на растворимость, так и условиями использования in vivo, такими как желудочно-кишечный тракт (ЖКТ). Ниже более подробно описывается степень повышения концентрации растворенного лекарственного средства, но в целом введение дисперсии в водных условиях использования обеспечивает по меньшей мере временную концентрацию растворенного лекарственного средства в условиях использования, которая является большей, чем растворимость прозрачной формы лекарственного средства в условиях использования. Твердоаморфная дисперсия, которая обеспечивает повышение концентрации в условиях использования, имеет следующие характеристики: (1) твердая дисперсия “по существу гомогенна”; (2) лекарственное средство “по существу аморфно”; (3) твердая дисперсия имеет относительно высокое содержание лекарственного средства и (4) твердая дисперсия имеет низкое остаточное содержание растворителя.
1. По существу гомогенна
Используемое в настоящем изобретении понятие “по существу гомогенна” означает, что количество лекарственного средства, присутствующего в относительно чистых аморфных участках в пределах твердоаморфной дисперсии, относительно мало, порядка менее 20%. Предпочтительным является количество лекарственного средства, присутствующего в чистых аморфных участках, составляющего менее 10% от общего количества лекарственного средства. В дисперсиях, по существу являющихся гомогенными, лекарственное средство диспергировано настолько, насколько возможно гомогенно во всем полимере, и может считаться твердым раствором лекарственного средства, диспергированного в полимере/полимерах. Несмотря на то, что в дисперсии могут находиться некоторые участки, богатые лекарственным средством, является предпочтительным, что сама дисперсия имеет температуру стеклования (Tс), которая показывает, что дисперсия по существу гомогенна. В противоположность этому простая физическая смесь частиц чистого аморфного лекарственного средства и частиц чистого аморфного полимера в целом показывает две различающиеся Tс, одна из которых – это температура стеклования лекарственного средства, а другая принадлежит полимеру. Используемая в настоящем изобретении Tс – это характеристическая температура, при которой стеклообразный материал при постепенном нагревании претерпевает относительно быстрое (например, от 10 до 100 секунд) изменение физических свойств от стеклообразного состояния до резиноподобного состояния.
Для сохранения гомогенности твердоаморфной дисперсии в течение какого-либо времени желательно, чтобы Tс твердоаморфной дисперсии была выше, чем окружающая температура хранения. Текучесть лекарственного средства в твердоаморфной дисперсии зависит от Tс твердоаморфной дисперсии. Текучесть относится к способности лекарственного средства к диффузии через твердый материал. При высокой текучести лекарственного средства в твердоаморфной дисперсии лекарственное средство из гомогенного твердого раствора лекарственного средства и полимера может отделяться на фазы с образованием отдельных участков, богатых лекарственным средством. В свою очередь, такие отдельные участки, богатые лекарственным средством, могут кристаллизоваться. В таких случаях получаемая негомогенная дисперсия стремится обеспечить более низкие, относительно гомогенной твердоаморфной дисперсии, концентрации лекарственного средства, растворенного в водном растворе, и снизить биодоступность. Текучесть лекарственного средства резко уменьшается, когда Tс твердоаморфной дисперсии превышает температуру окружающей среды. В частности, предпочтительно, что Tс твердоаморфной дисперсии составляет по меньшей мере 40°C и предпочтительно по меньшей мере 60°C. Так как Tс является функцией содержания воды и растворителя в твердоаморфной дисперсии, которая в свою очередь является функцией относительной влажности (ОВ), при которой находится твердоаморфная дисперсия, эти значения Тс относятся к Тс твердоаморфной дисперсии, содержащей воду в количестве, которое находится в равновесии с ОВ, эквивалентной установившейся во время хранения. Предпочтительно Tс твердоаморфной дисперсии составляет по меньшей мере 40°C и предпочтительно по меньшей мере 60°C при измерении при ОВ, равной 50%. Когда само лекарственное средство имеет относительно низкую Tс (около 70°C или ниже), предпочтительно, что полимер дисперсии имеет Tс по меньшей мере 40°C при ОВ, равной 50%, предпочтительно по меньшей мере 70°C и более предпочтительно выше 100°C.
2. По существу аморфно
Вместе с тем лекарственное средство в дисперсии “по существу аморфно.” Используемый в настоящем изобретении термин “по существу аморфно” означает, что количество лекарственного средства в аморфной форме составляет по меньшей мере 75 мас.%; то есть количество присутствующего кристаллического лекарственного средства не превышает примерно 25 мас.%. Более предпочтительно, лекарственное средство в дисперсии “почти полностью аморфно” и это означает, что, по меньшей мере, 90 мас.% лекарственного средства находится в аморфной форме или что количество лекарственного средства в кристаллической форме не превышает 10 мас.%. Количества кристаллического лекарственного средства могут быть измерены порошковой рентгенодифракцией, растровой электронной микроскопией (РЭМ), дифференциальной сканирующей калориметрией (ДСК) или любым другим стандартным методом количественного измерения.
Для получения максимального уровня концентрации растворенного лекарственного средства и повышения биодоступности, в частности после хранения в течение долгого времени перед применением, предпочтительно, что лекарственное средство как можно дольше остается в аморфном состоянии. Авторы настоящего изобретения выявили, что наилучшим образом этого можно достичь, когда температура стеклования твердоаморфной дисперсии Тс по существу выше температуры хранения дисперсии, как описано выше.
3. Количество лекарственного средства
Чтобы уменьшить количество неактивного материала при дозировании, обычно желательно, чтобы лекарственное средство присутствовало в твердоаморфной дисперсии в максимально возможном количестве и при этом дисперсия сохраняла эффективность (например, при дозировании у животных, таких как млекопитающие, повышалась концентрация растворенного лекарственного средства в условиях использования и биодоступность). Количество лекарственного средства относительно количества полимера, присутствующего в твердоаморфной дисперсии настоящего изобретения, зависит от лекарственного средства и полимера. Часто количество присутствующего лекарственного средства превышает растворимость лекарственного средства в полимере. Настоящее изобретение позволяет лекарственному средству присутствовать в твердоаморфной дисперсии в количестве, на уровень превышающем его растворимость в полимере, оставаясь в то же время гомогенно диспергированным. По соотношению веса лекарственного средства и полимера количество лекарственного средства может широко варьировать от примерно 0,01 до примерно 49 (например, от 1 мас.% лекарственного средства до 98 мас.% лекарственного средства). Однако в большинстве случаев предпочтительно, что соотношение лекарственное средство/полимер составляет, по меньшей мере, примерно 0,05 (4,8 мас.% лекарственного средства), более предпочтительно, по меньшей мере, 0,10 (9 мас.% лекарственного средства) и даже более предпочтительно, по меньшей мере, около 0,25 (20 мас.% лекарственного средства). В зависимости от выбора лекарственного средства и полимера возможны более высокие соотношения, такие как, по меньшей мере 0,67 (40 мас.% лекарственного средства). Однако в некоторых случаях степень повышения концентрации снижается при высоком содержании лекарственного вещества и, таким образом, соотношение лекарственное средство/полимер для некоторых дисперсий может быть меньше чем около 2,5 (71 мас.% лекарственного средства) и может быть даже меньше чем около 1,5 (60 мас.% лекарственного средства).
Кроме того, предпочтительно, что в дисперсии относительно других наполнителей имеется большое количество лекарственного средства и полимера. Лекарственное средство и полимер вместе предпочтительно составляют по меньшей мере 80 мас.% дисперсии и могут составлять по меньшей мере 90 и до 100 мас.% твердоаморфной дисперсии.
4. Низкое остаточное содержание растворителя
Твердоаморфная дисперсия также имеет низкое остаточное содержание растворителя. Под остаточным содержанием растворителя подразумевается количество растворителя, присутствующего в твердоаморфной дисперсии после распылительной сушки непосредственно на выходе из распылительной сушилки. Присутствие растворителя в дисперсии снижает температуру стеклования дисперсии. Таким образом, текучесть лекарственного средства в дисперсии и, следовательно, ее склонность к фазовому разделению и кристаллизации снижается с уменьшением количества остаточного растворителя в твердоаморфной дисперсии. В целом остаточное содержание растворителя в твердоаморфной дисперсии должно быть меньше чем около 10 мас.%, предпочтительно меньше чем около 5 мас.% и наиболее предпочтительно меньше чем 3 мас.%.
II. Желательный размер и плотность дисперсии
В дополнение к вышеописанным свойствам, для твердоаморфных дисперсий также желательно иметь некоторые характеристики, облегчающие обработку и проведение процесса. Дисперсии должны иметь следующие характеристики, облегчающие обработку: (1) дисперсии не должны быть слишком маленькими; и (2) дисперсии должны быть плотными.
1. Размер
В целом твердоаморфные дисперсии, образованные распылительной сушкой, выходят из сушильной камеры в виде маленьких частиц. Несмотря на то, что частицы маленького размера в некоторых случаях могут способствовать проведению растворения, очень маленькие частицы, в частности пылевидная фракция (например, меньше чем около 1 мкм в диаметре), могут вызывать трудности в обработке и проведении процесса. В целом средний размер частиц должен быть меньше чем 500 мкм в диаметре и более предпочтительно меньше чем 200 мкм в диаметре и наиболее предпочтительно меньше чем 100 мкм в диаметре. Предпочтительный диапазон значений диаметра частиц – от около 1 до около 100 мкм и более предпочтительно от около 5 мкм до около 80 мкм. Измерить размер частиц можно с использованием общепринятых технологий, таких как использование аппарата лазерного рассеяния Malvern.
Твердоаморфные дисперсии предпочтительно имеют относительно узкое распределение частиц по размерам, чтобы минимизировать фракцию очень маленьких (менее 1 мкм) частиц. Частицы могут иметь интервал меньше или равный 3 и более предпочтительно меньше или примерно равный 2,5. Используемый в настоящем изобретении “Интервал” определяется как

в которой D10 – диаметр, соответствующий диаметру частиц, которые составляют 10% общего объема, содержащего частицы равного или меньшего диаметра, D50 – диаметр, соответствующий диаметру частиц, которые составляют 50% общего объема, содержащего частицы равного или меньшего диаметра, и D90 – диаметр, соответствующий диаметру частиц, которые составляют 90% общего объема, содержащего частицы равного или меньшего диаметра.
2. Плотность
Частицы должны также быть достаточно плотными, чтобы облегчить обработку и последующее проведение процессов в ходе типовых процессов, таких как сухое смешивание, влажное или сухое гранулирование, наполнение капсул или прессование таблеток. Плотность частиц твердоаморфных дисперсий должна составлять по меньшей мере 0,1 г/см3. Плотность может быть измерена путем отбора репрезентативного образца, определения массы и последующего определения объема образца в градуированном цилиндре. Частицы имеют предпочтительную плотность по меньшей мере 0,15 г/см3 и более предпочтительно более 0,2 г/см3. Другими словами, насыпной удельный объем частиц должен быть не более 10 г/см3, предпочтительно менее 6,7 г/см3 и предпочтительно менее 5 г/см3. Частицы могут иметь выявляемый удельный объем менее или равный примерно 8 г/см3, более предпочтительно менее 5 г/см3 и наиболее предпочтительно менее или равный примерно 3,5 г/см3. Частицы могут иметь коэффициент Hausner меньше или равный примерно 3 и более предпочтительно меньше или равный примерно 2 (коэффициент Hausner – это отношение насыпного удельного объема к выявляемому удельному объему).
СПОСОБ РАСПЫЛИТЕЛЬНОЙ СУШКИ
Термин «распылительная сушка» является общеупотребимым и в широком смысле относится к способам, касающимся разбивания жидких смесей на маленькие капельки (распыление) и быстрого удаления из капелек растворителя в емкости с большой движущей силой для испарения растворителя. Примерная система распылительной сушки схематично показана на фиг. 1. Система распылительной сушки 10 включает в себя резервуары или бункеры для лекарственного средства – 12, полимера – 14 и растворителя – 16. Система 10 включает в себя резервуар 16 для смешивания распыляемого раствора с использованием миксера 20. Распыляемый раствор содержит растворенное лекарственное средство и полимер в растворителе. Резервуар с растворителем 22 может необязательно использоваться в ходе процесса как вспомогательный. Резервуар 18 связан через подающую линию 24, имеющую насос 26, с сушильной камерой 28. Подающая линия 24 связана с распылителем 30, расположенным сверху камеры 28. Распылитель 30 разбивает распыляемый раствор на пылевидные капельки в сушильной камере 28. Сушильный газ, такой как азот, также поступает в камеру через газовый диспергатор 32. Сушильный газ поступает в сушильную камеру 28 через вход 34. Растворитель испаряется из капелек внутри камеры 28 с формированием частиц твердоаморфной дисперсии лекарственного средства и полимера. Частицы твердоаморфной дисперсии и отработанный сушильный газ (к этому моменту охлажденный сушильный газ и испарившийся растворитель) выходят из сушильной камеры 28 из выхода 36 на дне сушильной камеры 28. Частицы твердоаморфной дисперсии могут быть отделены от отработанного газа посредством циклона 38 или другого накопительного устройства.
Выбор распыляемого раствора и условий сушки необходимо проводить с учетом баланса разнообразных факторов. Во-первых, распыляемый раствор и условия сушки должны приводить к получению по существу гомогенных твердоаморфных дисперсий, имеющих вышеописанные физические характеристики. Во-вторых, распыляемый раствор и условия сушки также должны обеспечить эффективное производство таких дисперсий в больших объемах распыляемого раствора. Ниже более подробно описаны характеристики распыляемого раствора и условий сушки, необходимые для достижения этих двух целей.
I. Распыляемый раствор
Распыляемый раствор устанавливает содержание лекарственного средства в получаемой твердоаморфной дисперсии и также влияет на гомогенность твердоаморфной дисперсии и эффективность производства дисперсии. Распыляемый раствор содержит по меньшей мере лекарственное средство, полимер и растворитель.
1. Количество лекарственного средства и полимера
Относительные количества лекарственного средства и полимера, растворенного в растворителе, выбираются с тем, чтобы на выходе получить желаемое соотношение лекарственного средства и полимера в получаемой твердоаморфной дисперсии. Например, если желательно получение дисперсии, имеющей соотношение лекарственное средство/полимер 0,33 (25 мас.% лекарственного средства), в этом случае распыляемый раствор содержит 1 часть лекарственного средства и 3 части полимера, растворенного в растворителе.
Общее содержание растворенной твердой фазы в распыляемом растворе предпочтительно является достаточно высоким, с тем чтобы распыление раствора приводило к эффективному производству твердоаморфной дисперсии. Общее содержание растворенной твердой фазы относится к количеству лекарственного средства, полимера и других наполнителей, растворенных в растворителе. Например, для образования распыляемого раствора, содержащего 5 мас.% растворенной твердой фазы и приводящего к получению твердоаморфной дисперсии, содержащей 25 мас.% лекарственного средства, распыляемый раствор должен бы был содержать 1,25 мас.% лекарственного средства, 3,75 мас.% полимера и 95 мас.% растворителя. Лекарственное средство может быть растворено в распыляемом растворе до предела растворимости; однако растворенное количество обычно составляет менее 80% растворимости лекарственного средства в распыляемом растворе при температуре раствора перед распылением. Содержание растворенной твердой фазы может варьировать от 0,2 до 30 мас.% в зависимости от растворимости лекарственного средства и полимера в растворителе. Для препаратов, имеющих хорошую растворимость в растворителе, содержание растворенной твердой фазы в распыляемом растворе предпочтительно составляет по меньшей мере 3 мас.%, более предпочтительно по меньшей мере 5 мас.% и наиболее предпочтительно по меньшей мере 10 мас.%. Однако содержание растворенной твердой фазы не должно быть слишком высоким, иначе распыляемый раствор может оказаться слишком вязким для эффективного распыления на маленькие капельки. Вязкость распыляемого раствора может варьировать от около 0,5 до около 50000 сП и более типично от 10 до 2000 сП.
2. Выбор растворителя
Во-вторых, растворитель выбирается с тем, чтобы на выходе получить по существу гомогенную дисперсию с низким остаточным уровнем растворителя. Растворитель выбирается на основе следующих характеристик: (1) по отношению к растворителю и лекарственное средство, и полимер растворимы и предпочтительно имеют высокую растворимость; (2) растворитель является относительно летучим и (3) в процессе удаления растворителя происходит гелеобразование раствора. Предпочтительно растворимость лекарственного средства в растворе является достаточно высокой для того, чтобы лекарственное средство оставалось растворимым в содержащейся твердой фазе, в которой происходит гелеобразование раствора.
a. Характеристики растворимости
Чтобы получить дисперсии, которые являются почти полностью аморфными и по существу гомогенными, растворитель выдает распыляемый раствор, в котором и полимер, и лекарственное средство являются и растворимыми и предпочтительно высокорастворимыми. Лекарственное средство и полимер предпочтительно должны быть полностью растворены в растворителе распыляемого раствора перед распылением. Это становится возможным путем тщательного, на молекулярном уровне, перемешивания полимера, лекарственного средства и растворителя. Предпочтительно растворимость лекарственного средства в растворителе при 25°C составляет по меньшей мере 0,5 мас.%, предпочтительно по меньшей мере 2,0 мас.% и более предпочтительно по меньшей мере 5,0 мас.%.
Полимер должен быть также высокорастворимым в растворителе. Однако для полимеров это наилучшим образом определяется природой образуемого раствора. В идеале выбирается растворитель, который растворяет полимер достаточно для того, чтобы полимер сильно не агрегировался и образовывал оптически прозрачный раствор. Агрегация полимера определяется по тому, насколько раствор является мутным или непрозрачным при высокой степени агрегации и по рассеиванию раствором большого количества света. Таким образом, как общепринято специалистами в данной области техники, приемлемость растворителя можно определить по измерению мутности раствора или по уровню рассеяния света. Например, ацетон является хорошим растворителем выбора для полимера гидроксипропилметилцеллюлозы ацетатсукцината (ГПМЦАС), образующим прозрачный раствор при растворении полимера. Напротив, чистый этанол является неудачным вариантом для ГПМЦАС по фактическому содержанию растворенной твердой фазы, так как только малая часть (примерно от 20 до 30 мас.%) ГПМЦАС растворяется в этаноле. Характер окончательной гетерогенной смеси, получаемой при использовании этанола в качестве растворителя, демонстрирует это явление: прозрачный раствор находится над непрозрачным раствором гелеобразного нерастворенного полимера. Хорошая растворимость приводит также к другому свойству, относящемуся к нижеописанному, а именно гелеобразованию. При слабой растворимости полимера происходит преципитация (преимущественно разделение на бедную растворителем твердую фазу и бедный полимером раствор, а не гелеобразование, то есть сохранение в виде жидкости с высокой вязкостью или твердого однофазного (полимер и растворитель) материала.
Растворители, подходящие для распылительной сушки, могут иметь любой состав, в котором лекарственное средство и полимер являются взаимно растворимыми. Предпочтительные растворители включают в себя спирты, такие как метанол, этанол, н-пропанол, изопропанол и бутанол; кетоны, такие как ацетон, метилэтилкетон и метилизобутилкетон; сложные эфиры, такие как этилацетат и пропилацетат; и различные другие растворители, такие как ацетонитрил, метиленхлорид, толуол, тетрагидрофуран (ТГФ), циклические эфиры и 1,1,1-трихлорэтан. Также могут использоваться менее летучие растворители, такие как диметилацетамид или диметилсульфоксид. Также могут использоваться смеси растворителей, такие как 50% метанола и 50% ацетона, и также смеси с водой при условии, что полимер и лекарственное средство имеют достаточную растворимость для того, чтобы способ распылительной сушки был выполнимым. В некоторых случаях может быть желательным добавление небольшого количества воды для повышения растворимости полимера в распыляемом растворе.
б. Точка кипения
Для достижения быстрого удаления растворителя и сохранения низкого (предпочтительно менее чем примерно 5 мас.%) остаточного уровня растворителя в получаемой твердоаморфной дисперсии выбирается относительно летучий растворитель. Точка кипения растворителя предпочтительно ниже чем около 200°C, более предпочтительно ниже чем около 150°C и более предпочтительно ниже чем около 100°C. Когда растворителем является смесь растворителей, примерно до 40% растворителя может содержать слаболетучий растворитель. В такой смеси точка кипения другого компонента предпочтительно низкая (например, ниже 100°C). Точку кипения для смесей растворителей можно определить экспериментально. Однако, если растворитель является очень летучим, он будет очень быстро испаряться, что приведет к образованию частиц низкой плотности, если только стадия испарения не проводится при низкой температуре. Действия при условиях, когда температура отработанного сушильного газа при выходе (Твыхода) ниже чем примерно 20°C, часто нецелесообразны. Фактически для разнообразных лекарственных средств успешно применимы ацетон (точка кипения 56°C) и метанол (точка кипения 65°C).
в. Гелеобразование
Выбирается растворитель, предпочтительно вызывающий гелеобразование распыляемых капелек лекарственного средства, полимера и растворителя перед затвердеванием в процессе испарения. Исходный распыляемый раствор – это гомогенный раствор растворенного лекарственного средства и полимера в растворителе. При распылении в сушильную камеру распыляемого раствора происходит его разбрызгивание на жидкие капельки. Из жидких капелек начинается быстрое испарение растворителя, что приводит к повышению в капельках концентрации растворенного лекарственного средства и полимера. Поскольку испарение растворителя продолжается, существуют три возможных сценария: (1) концентрация полимера в капельке превышает точку гелеобразования полимера, с тем чтобы образовать гомогенный гель; (2) концентрация растворенного лекарственного средства в капельке превышает растворимость лекарственного средства в растворе в капельке, вызывая отделение в растворе фазы лекарственного средства; или (3) концентрация полимера в капельке превышает растворимость полимера в растворе в капельке, вызывая отделение в растворе фазы полимера. Образование гомогенных твердоаморфных дисперсий происходит наиболее легко, когда растворитель и концентрации полимера и лекарственного средства выбираются таким образом, что с испарением растворителя полимер, лекарственное средство и растворитель образуют гомогенный гель раньше отделения фазы лекарственного средства или преципитации полимера. Напротив, если фазы лекарственного средства или полимера отделяются до гелеобразования полимера, то усложняется выбор условий распылительной сушки, которые на выходе обеспечат по существу гомогенную дисперсию. Гелеобразование раствора, происходящее перед достижением предела растворимости лекарственного средства, сильно замедляет процесс отделения фазы лекарственного средства, предоставляя адекватное время для затвердевания частиц в процессе распылительной сушки без значительного разделения на фазы.
При выборе растворителя, который вызывает гелеобразование полимера, концентрация полимера будет превышать точку гелеобразования полимера, поскольку растворитель испаряется из растворителя, что приводит к получению гомогенного геля из лекарственного средства, полимера и растворителя. Когда это происходит, вязкость раствора в капельке быстро повышается, иммобилизуя лекарственное средство и полимер в капельке, несмотря на присутствие растворителя. С удалением дополнительного растворителя лекарственное средство и полимер остаются гомогенно распределенными по всей капельке, что приводит к получению по существу гомогенной твердой дисперсии.
В качестве альтернативы могут быть выбраны такой растворитель и полимер и такие концентрации лекарственного средства, что с испарением растворителя концентрация лекарственного средства будет превышать растворимость лекарственного средства в растворителе, то есть будет пересыщенной. В этом случае лекарственное средство имеет относительно низкую растворимость в растворителе, но полимер имеет высокую растворимость и образует гель в точке росы. Такая система может выдавать приемлемую твердоаморфную дисперсию (например, лекарственное средство без фазового разделения, как аморфное или кристаллическое лекарственное средство) в течение всего периода, пока время, в течение которого раствор имеет концентрацию лекарственного средства выше точки, где он станет в конечном счете отдельной от раствора фазой (например, пересыщенный), но при этом оставаясь жидкостью (например, еще не затвердевший) достаточно коротко, чтобы лекарственное средство по существу не отделялось в виде фазы.
3. Смешивание раствора
Важно, что распыляемый раствор приготовляется таким образом, что достигается гомогенность распыляемого раствора, в котором весь содержащийся объем лекарственного средства и полимера полностью растворен. В целом лекарственное средство и полимер добавляются к растворителю и механически смешиваются или взбалтываются в течение некоторого времени. Примеры способов смешивания включают в себя погружные лопасти или мешалки. Раствор предпочтительно смешивается в течение относительно длительного периода времени, такого как от четырех до восьми часов, гарантирующего, что весь полимер и лекарственное средство растворились.
В предпочтительных вариантах осуществления лекарственное средство и полимер смешиваются с растворителем с использованием отдельного смешивающего устройства, такого как порошковый диспергатор с большими сдвиговыми усилиями, струйный миксер, или линейный смеситель. Авторы настоящего изобретения выявили, что невозможность полимера полностью раствориться в растворителе за приемлемый отрезок времени – это проблема, которая может привести к образованию больших партий распыляемого раствора (больше чем около 100 литров). Если порошок полимера недостаточно диспергирован или если он слишком быстро добавляется к растворителю, полимер может образовать комки и начать растворяться. Растворитель начнет растворять наружный слой полимера, образуя гель. После образования внешнего слоя геля проникновение растворителя через слой геля во внутренние слои сухого полимера становится более трудным. Такие частично растворенные комки могут служить препятствием процессу распылительной сушки, например, вызывая закупоривание распылителя. Кроме того, из таких комков могут выделяться негомогенные частицы, имеющие в основном более высокое содержание лекарственного средства по отношению к полимеру, чем это желательно, и некоторые частицы, имеющие более низкое содержание лекарственного средства по отношению к полимеру, чем это желательно. В предельных случаях некоторые частицы могут даже состоять главным образом из полимера. Для устранения этой проблемы полимер может смешиваться с лекарственным средством отдельно от резервуара, содержащего распыляемый раствор, например, используя порошковый диспергатор с большими сдвиговыми усилиями.
Фиг. 2 схематично показывает смешивающую систему, содержащую рабочий резервуар 18, насос 40, бункер 42 и отдельное смешивающее устройство 44. Рабочий резервуар 18 первоначально содержит растворитель, который закачивается насосом 40 в смешивающее устройство 44. Сухой порошковый материал как лекарственное средство, так и полимер или и то, и другое подаются через бункер 42 в устройство 44. Смешивающее устройство 44 соединяет растворитель и сухой материал, используя достаточное механическое взбалтывание и/или сдвиг, чтобы образовался гомогенный раствор растворенного лекарственного средства и полимера, который после этого подается в резервуар 18. Примеры отдельных смешивающих устройств включают в себя порошковый диспергатор с большими сдвиговыми усилиями, доступный в компаниях: Quadro Engineering Incorporated; Waterloo, Ontario, Canada; Silverson Machines Inc.; East Longmeadow, MA; LIGHTNIN; Rochester, NH; и EKATO Corporation; Ramsey, NJ.
II. Испарение растворителя
1. Условия процесса
Способ испарения растворителя из распыляемого раствора также влияет на плотность и размер частиц твердоаморфной дисперсии, а также на гомогенность твердоаморфной дисперсии. Проблема в удалении растворителя состоит в том, что факторы, обычно облегчающие образование гомогенных частиц, часто приводят к образованию частиц, имеющих нежелательно низкую плотность, и наоборот. Для образования по существу аморфной гомогенной дисперсии желательно быстрое удаление растворителя. Так как распыляемый раствор – это гомогенная смесь лекарственного средства, полимера и растворителя, растворитель должен быть удален за короткий временной интервал относительно времени, требуемого для разделения друг от друга лекарственного средства и полимера. С другой стороны, для образования плотных частиц необходимо медленное удаление растворителя. Однако это может привести к выработке частиц, являющихся негомогенными и/или имеющих нежелательно высокие остаточные уровни растворителя.
Обычно растворитель испаряется достаточно быстро, так что, когда капельки достигают выхода из сушильной камеры, они являются по существу твердыми и имеют остаточное содержание растворителя менее 10 мас.%. Большое соотношение поверхности к объему капелек и большая движущая сила для испарения растворителя приводят к тому, что фактическое время сушки составляет несколько секунд или меньше и более характерно менее 0,1 секунды. Периоды сушки в случае, если остаточный уровень растворителя менее 10 мас.%, должны составлять меньше чем 100 секунд, предпочтительно меньше чем 20 секунд и более предпочтительно меньше чем 1 секунда.
Кроме того, должно быть низким конечное содержание растворителя в твердой дисперсии после ее выхода из сушильной камеры, так как остаточный растворитель дисперсии снижает Тс дисперсии. Таким образом необходимо выбирать условия сушки, имеющие в результате низкие остаточные уровни растворителя, с тем чтобы температура стеклования дисперсии на выходе ее из сушильной камеры была высокой. Обычно содержание растворителя твердоаморфной дисперсии на выходе ее из сушильной камеры должно быть меньше чем около 10 мас.%, предпочтительно меньше чем около 5 мас.% и более предпочтительно меньше чем около 3 мас.%. Остаточный уровень растворителя предпочтительно является достаточно низким, с тем чтобы Tс твердоаморфной дисперсии была по меньшей мере на 20°C ниже температуры отработанного сушильного газа на выходе (Твыхода), и, более предпочтительно, по меньшей мере, была равной Твыхода. Например, если сушильный газ на выходе имеет температуру 40°C, то Тс твердоаморфной дисперсии с остаточным уровнем растворителя на выходе ее из сушильной камеры предпочтительно составляет по меньшей мере 20°C и более предпочтительно, по меньшей мере, 40°C.
Это выдвигает на первый план другую потенциальную перспективу. В целом общепринято, что низкие остаточные уровни растворителя достигаются повышением температуры сушильного газа Твхода, что в свою очередь приводит к более высоким значениям Твыхода. Авторы настоящего изобретения обходят эту проблему, используя относительно высокую скорость потока сушильного газа (относительно скорости потока распылительного раствора) при относительно низкой входящей температуре Твхода. Это приводит к желательному результату – к достижению относительно низкой Твыхода и при этом к достижению все еще низкого остаточного уровня растворителя. Этот набор технологических условий в целом приводит к желательной цели – поддерживать Твыхода -Тс ниже 20°C и предпочтительно ниже 0°C. На практике, как описано выше, скорость потока сушильного газа устанавливается в пределах относительно узкого диапазона. Таким образом, для данной установки поддерживается высокое соотношение скорости потока сушильного газа к скорости потока распылительного раствора путем снижения скорости потока распылительного раствора (так же, как и Твхода для поддержания низкой Твыхода). Это является отличием от общепринятого способа распылительной сушки, поскольку таким образом снижается производительность установки (кг продукта/час).
Так как распылительный раствор может состоять из растворителя на 80 мас.% или больше, во время процесса испарения должны быть удалены существенные количества растворителя. Большая движущая сила для испарения растворителя обычно обеспечивается поддерживанием парциального давления растворителя в сушильной камере значительно ниже давления паров растворителя при температуре высушиваемых капелек. Это достигается как (1) поддержанием частичного вакуума в сушильной камере с давлением (например, от 0,01 до 0,50 бар); так и (2) смешиванием жидких капелек распыляемого раствора с теплым сушильным газом или (3) и с тем, и с другим. Кроме того, часть тепла, требуемого для испарения растворителя, можно также обеспечить путем нагревания распыляемого раствора.
На скорость и степень испарения растворителя из распыляемых капелек и характеристики получаемых частиц твердоаморфной дисперсии влияют несколько параметров: (1) давление в сушильной камере; (2) скорость подачи сушильного газа; (3) композиция сушильного газа; (4) температура распыляемого раствора; (5) температура сушильного газа на входе (Твхода); (6) скорость подачи распыляемого раствора и (7) размер капельки при разбрызгивании распыляемого раствора.
Давление в сушильной камере и скорость подачи сушильного газа в пределах относительно узкого рабочего диапазона обычно определяется специфической конфигурацией сушильной камеры и объединенных коллекторов продукта (таких, как циклоны, пылеуловительные камеры и т.д.). В пределах распылительной сушилки обычно поддерживается положительное давление относительно давления окружающей среды (например, выше чем 1 бар). Например, для распылительной сушилки PSD-2 NIRO (Niro A/S, Копенгаген; Дания) давление в камере может варьировать от 1,017 до 1,033 бар, предпочтительно от 1,022 до 1,032 бар. Необходимость поддерживать положительное давление в камере частично обусловлена соображениями безопасности, так как тем самым уменьшается вероятность поступления воздуха в сушильную камеру и поэтому минимизируется воздействие кислорода на испаряемый растворитель. Кроме того, коллекторы продукта, такие как циклон, обычно более эффективно работают при положительных значениях давления.
Сушильный газ, входящий в камеру распыления, должен иметь достаточно высокую скорость потока, чтобы поглощать испаряющийся растворитель, поступающий в камеру как растворитель распыляемого раствора. Этим обеспечивается достаточно сухая среда, допускающая испарение в прохладных условиях. Для достижения низких остаточных уровней растворителя должна быть низкой точка росы растворителя в сушильном газе в сушильной камере. Содержание паров растворителя в сушильном газе (которое определяет точку росы) должно быть меньше, чем количество паров растворителя, равновесное с твердоаморфной дисперсией, имеющей желательное остаточное содержание растворителя. Например, если желательно, чтобы твердоаморфная дисперсия, выходящая из сушильной камеры, имела остаточное содержание растворителя 10 мас.% или меньше, максимальное содержание в сушильном газе паров растворителя в сушильной камере должно быть меньше, чем содержание паров растворителя, которое присутствует в газе, равновесном с твердоаморфной дисперсией, имеющей 10 мас.% остаточного растворителя при температуре Твыхода. Максимальное содержание паров растворителя, которое может находиться в сушильной камере, может быть рассчитано или определено экспериментально для любого заданного желательного остаточного уровня растворителя. При экспериментальном определении твердоаморфная дисперсия может быть помещена в герметичный контейнер с обезвоженным газом. Возможно добавление паров растворителя. Периодически можно проводить анализ твердоаморфной дисперсии для определения остаточного содержания растворителя, равновесного с парами растворителя.
Практически необходимость обезвоживания сушильного газа приводит к очень низким точкам росы растворителя в сушильном газе. Точка росы растворителя в сушильной камере (при полностью испарившемся растворителе) должна быть существенно ниже, чем Твыхода, и может быть ниже, чем Твыхода по меньшей мере на 10°C, по меньшей мере на 20°C или даже по меньшей мере на 30°C. Например, при распылительной сушке с ацетоном в качестве растворителя при температуре на выходе Твыхода, равной 40°C, можно установить такую скорость потока сушильного газа, чтобы точка росы ацетона в сушильной камере находилась в диапазоне от -5 до 5°C. Такой обезвоженный сушильный газ обеспечивает высокую движущую силу для быстрого испарения даже при относительно прохладных условиях. При скорости подачи распыляемого раствора от 50 до около 80 кг/час скорость подачи сушильного газа может варьировать от около 400 до около 600 м3/час. При высокой скорости подачи распыляемого раствора (например, при скорости подачи от около 400 до 500 кг/час) скорость подачи сушильного газа может варьировать от около 2000 до около 2500 м3/час. Это приводит к относительно высоким соотношениям скорости потока сушильного газа и скорости подачи распыляемого раствора. Это соотношение предпочтительно составляет по меньшей мере 4 м3/час и более предпочтительно, по меньшей мере, 4,5 м3/час.
Сушильный газ может быть в действительности любым газом, но для минимизации риска пожара или взрыва вследствие возгорания огнеопасных паров и минимизации нежелательного окисления лекарственного средства, увеличения концентрации полимера или других материалов в дисперсии используется инертный газ, такой как азот, обогащенный азотом воздух или аргон. Кроме того, сушильный газ, поступающий в сушильную камеру, на входе может содержать небольшое количество растворителя в парообразной форме. Возвращаясь со ссылкой к Фиг. 1, установка распылительной сушки может включать в себя систему рециркуляции 46 сушильного газа, которая дополнительно содержит систему восстановления 48 растворителя. Как более подробно описано ниже в отношении системы рециркуляции 46 сушильного газа, количество пара растворителя в сушильном газе влияет на скорость испарения растворителя из капелек и таким образом на плотность частиц.
Температура распыляемого раствора обычно определяется в соответствии с характеристиками растворимости и стабильностью компонентов распыляемого раствора. В целом распыляемый раствор может храниться при температуре в пределах от 0 до 50°C и обычно он хранится при температуре, близкой к комнатной. Можно повысить температуру для улучшения растворимости в растворе лекарственного средства или полимера. Кроме того, может быть установлена повышенная температура распыляемого раствора, чтобы обеспечить вспомогательное нагревание процесса сушки для того, чтобы дополнительно увеличить скорость испарения растворителя из капелек. Также, при необходимости, температура может быть понижена для повышения стабильности лекарственного средства в распыляемом растворе.
Устанавливается такая температура сушильного газа на входе в камеру, вышеупомянутая как Tвхода, чтобы происходило испарение растворителя из капелек распыляемого раствора, но в то же время температура регулируется для поддержания относительно прохладной среды в сушильной камере. С целью обеспечения энергии для испарения растворителя, поступающего в сушильную камеру, сушильный газ обычно нагревают. В целом сушильный газ может быть нагрет до температуры Tвхода, которая выше точки кипения растворителя, и находится в диапазоне от около 5 до около 150°C выше точки кипения растворителя. Например, при использовании для распылительной сушки растворителя ацетона, точка кипения которого при окружающих внешних условиях составляет 56°C, характерный температурный диапазон для Tвхода составляет от 60 до 200°C при рабочем давлении в сушильной камеры около 1,035 бар. На практике температура Tвхода сушильного газа, поступающего на вход сушилки, может быть выше 80°C, может быть выше 90°C и может быть выше 100°C.
Существует комплекс ограничений максимальных значений Tвхода – это термические свойства высушенной распылением твердоаморфной дисперсии. Tвхода должна быть достаточно низкой, с тем чтобы не разлагались частицы твердоаморфной дисперсии, которые находятся в непосредственной близости от входа сушильного газа. В целом Tвхода поддерживается ниже точки плавления твердоаморфной дисперсии. Предпочтительные максимальные значения Tвхода могут определяться нагреванием твердоаморфной дисперсии и определением температуры разложения твердоаморфной дисперсии, например, при появлении обесцвечивания или ее клейкости или липкости. Tвхода предпочтительно поддерживается ниже температуры, при которой проявляется любое из этих состояний. Как правило, Tвхода составляет менее 200°C и предпочтительно менее 150°C. В одном варианте осуществления Tвхода варьирует от 90 до 150°C, предпочтительно от 100 до 130°C.
Скорость подачи распыляемого раствора будет зависеть от разнообразных факторов, таких как температура сушильного газа на входе Tвхода, скорость потока сушильного газа, размер сушильной камеры и распылителя. На практике скорость подачи распыляемого раствора способом распылительной сушки при использовании распылительной сушилки Niro PSD-2 может находиться в диапазоне от 10 до 65 кг/час, более предпочтительно от 50 до 75 кг/час. Конкретная полезность настоящего изобретения состоит в повышении скорости подачи распыляемого раствора, что позволяет увеличить количество продукта на производстве. В предпочтительных вариантах осуществления скорость подачи распыляемого раствора составляет по меньшей мере 50 кг/час, предпочтительно 100 кг/час, более предпочтительно по меньшей мере 200 кг/час и наиболее предпочтительно по меньшей мере 400 кг/час. В одном варианте осуществления скорость подачи распыляемого раствора может варьировать от 400 до 600 кг/час.
Для достижения эффективности распылительной сушки, высокого выхода готового продукта и качественных характеристик частиц скорость подачи распыляемого раствора регулируется совместно с Tвхода. Приемлемые диапазоны скорости подачи распыляемого раствора и Tвхода могут определяться термодинамикой процесса сушки, которая легко поддается количественному определению. Известно содержание тепла и скорость потока нагретого сушильного газа; известно содержание тепла, теплота парообразования и скорость потока распыляемого раствора и являются измеримыми потери тепла из сушильной камеры в окружающую среду. Поэтому энергия и балансы масс входящих потоков (распыляемого раствора и сушильного газа) позволяют дать предварительную оценку состояния процесса на выходе: а именно оценку температуры выхода сушильного газа на выходе из сушильной камеры (упоминаемая как Tвыхода) и концентрацию в сушильном газе паров растворителя в сушильной камере.
Массы и балансы энергии для заданной сушильной камеры, распыляемый раствор и установленные рабочие параметры можно показать на изотермической диаграмме (сходной с психрометрической диаграммой). Фиг. 3 – это пример изотермической диаграммы для распылительной сушилки экспериментального масштаба Niro PSD-2. Эта диаграмма предназначена для распыляемого раствора, содержащего 16 мас.% твердой фазы и 84 мас.% ацетона и для скорости потока сушильного газа 530 м3/час. Горизонтальная ось показывает температуру на входе сушильного газа Tвхода, составляющую от 60°C до максимальной 180°C. Вертикальная ось показывает скорость подачи распыляемого раствора в кг/час. Сплошные диагональные линии показывают постоянную точку росы Tросы сушильного газа на выходе Tвыхода. Пунктирные диагональные линии показывают постоянную точку росы Tросы растворителя в сушильном газе. Диаграммы такого типа можно использовать для определения потенциальной производительности заданной сушильной камеры для заданного распыляемого раствора. Кроме того, изотермические диаграммы можно использовать для определения диапазонов рабочих режимов для производства твердоаморфной дисперсии с желательными качествами.
Возвращаясь теперь более подробно к фиг. 3, можно наблюдать взаимосвязь различных рабочих условий и получаемой твердоаморфной дисперсии. Одним из ограничений способа распылительной сушки является соотношение между точкой росы паров растворителя в сушильном газе и Tвыхода. Как только точку росы паров растворителя сушильного газа превышает Tвыхода, сушильный газ в сушильной камере насыщается в парах растворителя и становится невозможным полное высушивание твердоаморфной дисперсии. Фактически даже приближение к этому пределу ведет к значительным количествам распыляемого раствора, разбивающегося о стенки сушильной камеры вследствие недостаточного времени высыхания и/или расстояния. Эта зона на диаграмме помечена как область “Остаточного растворителя, усугубляющего снижение выработки продукта”. Таким образом, условия распыления должны выбираться с тем, чтобы поддерживать точку росы по существу ниже Tвыхода. Предпочтительно точка росы устанавливается по меньшей мере на 20-30°C ниже чем Tвыхода.
Другим ограничением способа распылительной сушки является соотношение между Tвыхода и температурами плавления и стеклования получаемых частиц твердоаморфной дисперсии. Если Tвыхода выше, чем температура плавления, то частицы твердоаморфной дисперсии при контакте со стенками сушильной камеры могут расплавляться, что приводит к снижению выработки. Кроме того, также является предпочтительным поддерживать Tвыхода ниже температуры стеклования твердоаморфной дисперсии. Как описано выше, мобильность лекарственного средства в твердоаморфной дисперсии является функцией температуры стеклования твердоаморфной дисперсии. Когда температура твердоаморфной дисперсии ниже температуры ее стеклования, мобильность лекарственного средства оказывается низкой и лекарственное средство остается гомогенно диспергированным в аморфном состоянии во всем объеме полимера. Однако, если твердоаморфная дисперсия в течение продолжительного периода времени подвергается воздействию более высоких, чем ее температура стеклования, температур, наблюдается высокая мобильность лекарственного средства в течение этого периода времени, лекарственное средство в дисперсии может разделяться на фазы и может в конечном итоге кристаллизоваться. Таким образом, наиболее вероятно получение по существу гомогенной, по существу аморфной дисперсии, когда Tвыхода поддерживается ниже температуры стеклования твердоаморфной дисперсии. Возвращаясь к фиг. 3, температура стеклования твердоаморфной дисперсии составляет около 30°C. Таким образом, наиболее вероятно, что негомогенный продукт получается в области ниже диагональной линии, представляющей Tвыхода, равную 50°C. Предпочтительно имеется Tвыхода ниже чем Tс частицы твердоаморфной дисперсии плюс 20°C (Tс+20°C) и предпочтительно меньше чем Tс.
Кроме того, авторы настоящего изобретения выявили, что для твердоаморфной дисперсии, содержащей по меньшей мере около 50 мас.% полимера, Tвыхода в целом указывает на ее плотность и содержание остаточного растворителя в твердоаморфной дисперсии. Авторы настоящего изобретения выявили, что с возрастанием Tвыхода плотность частиц уменьшается. Не имея намерения ограничиться какой-либо конкретной теорией, авторы настоящего изобретения полагают, что при высоких температурах сушки капельки быстро образуют сухую внешнюю “кожицу”. Эта кожица создает поверхностную зону частицы. Когда температура внутри капельки является высокой, капелька высыхает в форме полой сферы, что приводит к низкой плотности. При более низких температурах у капельки не происходит образование сухой кожицы настолько быстро и она тогда спадается во время испарения, образуя более плотные частицы. Результатом понижения температуры внутри сушильной камеры, отображенного в более низкой Tвыхода, является более медленное высыхание и более высокая плотность продукта. Однако при слишком низкой Tвыхода остаточный уровень растворителя в твердоаморфной дисперсии будет слишком высоким. Возвращаясь снова к фиг. 3, область, располагающаяся над значением Tвыхода выше 10°C, отмечена как область “Низкой выработки продукта” вследствие увеличения остаточного растворителя в твердоаморфной дисперсии. В целом желательно поддерживать Tвыхода выше точки росы растворителя и ниже температуры кипения растворителя и предпочтительно от около 5 до около 25°C ниже температуры кипения растворителя и более предпочтительно от около 10 до около 20°C ниже температуры кипения растворителя.
На практике скорость подачи сушильного газа, давление в камере и нагрев распыляемого раствора обычно задаются в пределах узких диапазонов. Соответственно, скорость подачи распыляемого раствора и температура сушильного газа Tвхода регулируются таким образом, чтобы получить, как описано выше, удовлетворительную Tвыхода. Снова возвращаясь к Фиг. 3, оптимальной рабочей зоной для сушилки, представленной на Фиг. 3, является область в виде диагональной полосы между изотермами Tвыхода в 50 и 30°C. Поэтому Tвхода и скорость подачи распыляемого раствора регулируются таким образом, чтобы достичь Tвыхода в пределах этой полосы. Чтобы теплоемкость сушильной камеры была максимальной, для работы выбираются предполагаемые условия с высокой температурой на входе Tвхода и высокой скоростью подачи распыляемого раствора, располагающиеся в углу полосы. Однако с увеличением соотношения скорости подачи сушильного газа и распыляемого раствора часто повышается плотность частиц. Таким образом, для заданной Tвыхода может быть предпочтительной работа в более низкой области в левом углу полосы (то есть при более низкой скорости подачи распыляемого раствора и более низкой Tвхода, даже при том, что оптимальная производительность подачи раствора через сушильную камеру при этом не достигается. Это ведет к снижению Tросы и, таким образом, к обезвоживанию сушильного газа. Согласно фиг. 3 работа в режиме, когда Tросы составляет от -5 до 5°C, производит гомогенную твердоаморфную дисперсию, которая является плотной (удельный объем <10 см3/г) и имеет низкий уровень остаточного растворителя (<10 мас.%). Кроме того, как отмечалось выше, Tвхода также может быть снижена, если уменьшается накопление твердоаморфной дисперсии в сушильной камере вследствие локального плавления, обугливания или горения продукта распылительной сушки на любой чрезмерно горячей поверхности в сушильной камере.
2. Оборудование распылительной сушки
a. Распылитель
Для образования маленьких капелек в сушильную камеру через распылитель подается распыляемый раствор. Образование маленьких капелек ведет к высокому соотношению площади поверхности к объему, таким образом облегчая испарение растворителя. В целом для достижения быстрого испарения растворителя размер капелек, образуемых способом распылительной сушки, предпочтительно составляет меньше чем около 500 мкм в диаметре и предпочтительно меньше чем около 300 мкм. Обычно размер капелек варьирует от 1 до 500 мкм в диаметре и наиболее типичными размерами являются от 5 до 200 мкм. Примеры распылителей включают в себя сопла высокого давления, центробежные распылители и пневмораспылители. При отборе распылителя, применяемого для образования гомогенной твердоаморфной дисперсии, необходимо рассматривать несколько факторов, включающих в себя желательную скорость подачи распыляемого раствора, максимально допустимое давление жидкости и вязкость и поверхностное натяжение распыляемого раствора. Взаимосвязь между этими факторами и их влияние на размер капельки и распределение капелек по размерам широко известны специалистам в данной области техники.
В предпочтительном варианте осуществления распылителем является сопло высокого давления. “Соплом высокого давления” считается распылитель, который производит капельки со средним диаметром 10 мкм или больше, при содержании менее чем около 10% объема капелек, имеющих размер меньше чем около 1 мкм. В целом соответствующим по размерам и предназначенным соплом высокого давления считается сопло, которое производит капельки в диапазоне от 10 до 100 мкм, при закачивании распыляемого раствора через сопло с желаемой скоростью. Таким образом, например, если желательно обеспечить подачу распыляемого раствора со скоростью 400 г/мин в сушилку PSD-1, для достижения желательного среднего размера капельки необходимо выбрать сопло, соответствующее вязкости и скорости потока раствора. При работе с желательной скоростью потока слишком большое сопло произведет капельки слишком большого размера. Это особенно подтверждается при более высокой вязкости распыляемого раствора, так как вязкость раствора непосредственно влияет на работу распылителя. При постоянной скорости потока распыляемого раствора с повышением вязкости размер капельки увеличивается и давление сопла уменьшается. В результате слишком большие капельки имеют очень небольшую скорость высыхания, что может приводить к получению негомогенной дисперсии, или, если капельки, достигающие стенки распылительной сушилки, все еще остаются жидкими, они могут прилипать или даже покрывать стенку сушилки и в результате выработка желательного продукта будет низкой или будет отсутствовать. В таких случаях можно увеличить высоту камеры распылительной сушилки, чтобы обеспечить увеличение минимального расстояния, которое проходит капелька до удара о стенку сушильной камеры или накопительный конус. Такая модифицированная установка распылительной сушки, позволяющая применять распыление, означает, что производятся капельки большого размера. Ниже подробно описан такой модифицированный аппарат распылительной сушки. Использование слишком маленького сопла может выдавать нежелательно маленькие капельки или может требовать применения неприемлемо высокого давления насоса для достижения желательной скорости потока, в частности, для подачи растворов с высокой вязкостью.
Особенно предпочтительным типом сопла высокого давления является тип с сопловым отверстием в форме конуса. Такое сопло высокого давления показано на общем виде Фиг. 4. Сопло высокого давления 50 имеет впускное отверстие на верхушке (не показано) для приема подаваемого распыляемого раствора и сопловое отверстие в основании 52 для распыления жидких капелек в распылительную камеру 28. Фиг. 4 показывает вихревое сопло высокого давления, содержащее оболочку 54, уплотнитель 56, вихревую камеру 58, внутреннее сопло 60 и корпус 62 сопла. Фиг. 5 показывает пример корпуса 62 сопла в разрезе. Внутренние сходящиеся на конус стенки 64 корпуса 62 сопла соединяются с сопловым отверстием 52 и образуют форму конуса, которая соответствует углу конусности распыляемых капелек. Такая форма конуса имеет преимущество в уменьшении нарастания высушенного твердого материала по внешней поверхности 66 сопла, смежной с сопловым отверстием 52. Примером сопла высокого давления, имеющим внутренние стенки, образующие конус такой формы, является конусное сопло DELAVAN SDX Cone Face nozzle (Delavan, Inc.; Bamberg, SC). Сопло высокого давления может быть вихревым соплом высокого давления, широко известным в данной области техники. Сопла высокого давления, такие как показаны на Фиг. 4 и 5, включают в себя вихревую камеру, которая создает из распыляемого раствора полый “конус” в форме пленки или листа раствора, разбивающегося в капельное облако в форме полого конуса.
Огромное большинство распылителей разбрызгивает распылительный раствор на капельки с распределением по размерам. Распределение произведенных распылителем капелек по размерам можно измерить с помощью ряда технологий, включающих в себя механические технологии, такие как технология расплавленного парафина и замороженной капли; электрические технологии, такие как электродно-проволочная и термоанемометрическая технология; и оптические технологии, такие как фотография и рассеивание света. Примеры устройств, определяющих распределение произведенных распылителем капелек по размерам, включают в себя анализатор Malvern Particle Size Analyzer, доступный от компании Malvern Instruments Ltd. of Framingham, Massachusetts, и анализатор Doppler Particle Analyzer, доступный от компании TSI, Inc.; Shoreview, MN. Дополнительные детали, касающиеся принципов, применяемых для определения размера капелек, и распределения капелек по размерам с использованием такого оборудования, можно найти в Lefebvre, Atomization and Sprays (1989).
Данные, полученные при использовании анализатора размеров капелек, могут применяться для определения некоторых характерных диаметров капелек. Одним из них является D10 – это диаметр, соответствующий диаметру капелек, которые составляют 10% от общего жидкого объема, содержащего капельки равного или меньшего диаметра. Другими словами, если D10 равен 1 мкм, 10% объема капелек имеют диаметр, равный или меньший чем 1 мкм. Таким образом, предпочтительно, что распыляющие механизмы производят такие капельки, диаметр которых D10 составляет больше чем около 1 мкм и означает, что диаметр 90% объема капелек больше 1 мкм. Это требование гарантирует присутствие в отвердевшем продукте минимального количества пылевидной фракции (то есть частиц с диаметром меньше чем 1 мкм). Предпочтительно D10 составляет больше чем около 10 мкм и более предпочтительно больше чем около 15 мкм.
Другим полезным характерным диаметром капелек, произведенных распыляющими механизмами, является D90 – это диаметр, соответствующий диаметру капелек, которые составляют 90% от общего жидкого объема, содержащего капельки равного или меньшего диаметра. Другими словами, если D90 равен 100 мкм, 90% объема капелек имеют диаметр, меньший или равный 100 мкм. Для производства по существу гомогенной, по существу аморфной дисперсии с применением технологии настоящего изобретения D90 должен быть предпочтительно меньше чем около 300 мкм, более предпочтительно меньше чем 250 мкм. Если D90 является слишком большим, скорость высыхания больших капелек может быть очень низкой, что может привести к получению негомогенной дисперсии, или, если большие капельки, достигающие стенки распылительной сушилки, все еще остаются жидкими, они могут прилипать или даже покрывать стенку сушилки, как отмечено выше.
Другим полезным параметром является “Интервал”, определяемый по формуле:

где D50 – это диаметр, соответствующий диаметру капелек, которые составляют 50% от общего жидкого объема, содержащего капельки равного или меньшего диаметра, и D90 и D10 определены, как описано выше. Интервал, иногда упоминаемый в данной области техники как Относительный фактор интервала или ОФИ, является безразмерным параметром, указывающим на однородность распределения капелек по размерам. В целом, чем ниже Интервал, тем более узким является распределение по размерам капелек, произведенных распыляющими механизмами, которое, в свою очередь, обычно ведет к более узкому распределению размера частиц для высушенных частиц, что приводит к улучшению характеристик потока. Предпочтительно Интервал произведенных распылителем капелек составляет меньше чем около 3, более предпочтительно меньше чем около 2 и наиболее предпочтительно меньше чем около 1,5.
Размер частиц твердоаморфной дисперсии, образованных в сушильной камере, в целом несколько меньше, чем размер капелек, произведенных распылителем. Как правило, характерный диаметр частиц твердоаморфной дисперсии составляет около 80% характерного диаметра капелек. Вследствие неудовлетворительных характеристик потока желательно избегать маленьких размеров частиц аморфной дисперсии, поэтому обычно выбираются сопло, производящее капельки самых больших размеров, которые могут быть адекватно высушены в установке распылительной сушки.
Как указано выше, выбор распылителя будет зависеть от масштаба используемой установки распылительной сушки. Для установки малого масштаба, такой как Niro PSD-1, которая может распылять около 5-400 г/мин подаваемого потока растворителя, примеры подходящих распылителей включают в себя сопла распылительной сушки серий SK и TX от компании Spraying Systems of Wheaton, Illinois; серию WG от компании Delavan LTV of Widnes, Cheshire, England и сопло Модели 121 от компании Dusen Schlick GmbH of Untersiemau, Germany. Для установки большего масштаба, которая может распылять около 25-600 кг/час подаваемого потока растворителя, примеры распылителей включают в себя как вышеперечисленные, так и сопла SDX и SDX III от компании Delavan LTV и Распылительные системы серии SB.
Распыляемый раствор во многих случаях подается в распылитель под давлением. Требуемое давление определяется в соответствии с конструкцией распылителя размером соплового отверстия, вязкостью и другими характеристиками подаваемого потока растворителя и в соответствии с желательным размером капельки и распределением по размерам. В целом давление подачи должно находиться в диапазоне от 1 до 500 бар или выше с наиболее характерным давлением от 2 до 100 бар. Для распылительной сушилки PSD-2, использующей в качестве распылителя сопло высокого давления, давление сопла может составлять от 40 до 55 бар при скорости подаваемого потока от 50 до около 90 кг/час. Для распылительной сушилки PSD-5, использующей в качестве распылителя сопло высокого давления, давление сопла может составлять от 140 до 210 бар при скорости подаваемого потока от около 400 до около 500 кг/час.
При использовании сопла высокого давления насос, направляющий распыляемый раствор в распылитель, должен быть способен генерировать адекватное давление при желательной скорости подачи и слабой пульсации. Примеры насосов включают в себя объемный диафрагменный насос и поршневой насос. Со ссылкой на фиг. 1 насос 26 может быть объемным диафрагменным насосом модели VED, доступным в компании Bran + Leubbe GmbH; Norderstedt, Germany.
б. Газовый диспергатор
Установка распылительной сушки также включает в себя газовый диспергатор для смешивания сушильного газа с капельками. Конструкция газового диспергатора предусматривает, что только что введенный сушильный газ адекватно смешивается с разбрызгиваемыми капельками распыления с тем, чтобы испарение происходило таким образом, что все капельки высушиваются достаточно быстро для минимизации нарастания продукта в распылительной камере и на распылителе. Поэтому газовый диспергатор разработан по форме распыла распылителя с учетом скорости потока сушильного газа и габаритных размеров сушильной камеры.
На фиг. 1 схематично показан газовый диспергатор 32. На фиг. 6 схематично показано сечение сушильной камеры 100, которая включает в себя устройство 102 рассеивания газа, расположенное внутри сушильной камеры 100 и ниже крышки 104 сушильной камеры. Сушильный газ поступает в камеру 108 и проходит через отверстия 110 в пластине 112. Устройство 102 рассеивания газа позволяет сушильному газу проходить в камеру 100 таким образом, что исходно поток в целом параллелен оси устройства рассеивания 106 и распределяется относительно равномерно по ширине диаметра устройства, как схематично показано направленными вниз стрелками в верхней части фиг. 6. Подробное описание такого газового диспергатора дано более полно в свободной переданной предварительной патентной заявке США 60/354080, зарегистрированной 2 февраля 2002 года (PC23195), включенной в описание настоящего изобретения путем ссылки. В качестве альтернативы может использоваться газовый диспергатор DPH, доступный в компании Niro, Inc. Columbia, Maryland.
в. Сушильная камера
Размер и форма сушильной камеры разработаны таким образом, чтобы допускать достаточное испарение капелек распыляемого раствора до их разбивания о любую поверхность камеры и позволять эффективное накопление продукта. Обращаясь к фиг. 7, обычно сушильная камера имеет верхнюю цилиндрическую часть 140 и нижний накопительный конус 142. Расстояние между распылителем и внутренними поверхностями сушильной камеры в целом ограничивают размер капелек, способных испариться и, в свою очередь, количество частиц продукта, которые могут быть образованы без чрезмерного нарастания материала по боковым стенкам накопительного конуса и сушильной камеры.
Высота Н верхней цилиндрической части 140 сушильной камеры должна быть достаточно большой, чтобы предоставить распыленным капелькам достаточное время для испарения перед разбиванием о нижнюю часть сушильной камеры. Высота Н верхней части сушильной камеры, которая обеспечивает достаточное минимальное расстояние, которое проходит капелька до удара об стенку сушильной камеры или накопительный конус, – это функция нескольких факторов, включающих в себя (1) сушильные характеристики подаваемого потока растворителя, (2) скорости потоков подаваемого растворителя и сушильного газа в распылительной сушилке, (3) температуру сушильного газа на входе, (4) размер капельки и распределение капелек по размерам (5), среднее время присутствия материала в распылительной сушилке (6), систему циркуляции газов в сушильной камере и (7) систему распыления. В целом для потоков сушильного газа, составляющих 500 м3/час, предпочтительна высота Н, превышающая около 1 м. Высота будет частично зависеть от конкретного выбора газового диспергатора. Для газового диспергатора, показанного на Фиг. 6, желательно более высокое значение высоты Н, как более подробно описано в свободной переданной предварительной патентной заявке США, серийный номер 60/354080.
Несмотря на то, что решающим фактором, определяющим минимальное расстояние, которое проходит капелька до удара о стенку сушильной камеры, является высота сушильной камеры, также важен объем сушильной камеры. Вместимость распылительной сушилки частично определяется соответствием скорости подачи распыляемого раствора температуре и скорости потока сушильного газа. Как описано выше, температура и скорость потока сушильного газа должны быть достаточно высокими с тем, чтобы в установку распылительной сушки поступало достаточно тепла для испарения распыляемого раствора. Таким образом, с увеличением скорости подачи распыляемого раствора, должна быть увеличена скорость потока и/или температура сушильного газа, чтобы обеспечить достаточную энергию для образования желательного продукта. Так как допустимая температура сушильного газа часто ограничивается химической стабильностью лекарственного средства, присутствующего в распыляемом растворе, часто увеличивается скорость потока сушильного газа, что позволяет увеличить вместимость (то есть увеличить скорость подачи распыляемого раствора) в установке распылительной сушки. Для сушильной камеры с заданным объемом увеличение скорости потока сушильного газа приведет к сокращению среднего времени нахождения капелек или частиц в сушилке, что могло бы привести к недостатку времени для испарения растворителя из капелек, для того чтобы твердая частица образовалась до разбивания на поверхности сушильной камеры даже при том, что высота сушильной камеры больше, чем высота общепринятой сушилки. В результате объем сушилки должен быть достаточно большим для того, чтобы капелька к моменту разбивания на внутренней поверхности сушильной камеры была достаточно высушена с целью предотвращения нарастания материала.
Можно принять это время высыхания за “среднее время нахождения” , определяемое, как соотношение объема сушильной камеры к объемной скорости потока сушильного газа, подаваемого в сушильную установку, или

где Vсушилки – это объем сушильной камеры и G – объемная скорость потока сушильного газа, подаваемого в сушильную камеру. Объем сушильной камеры – это сумма объемов верхней части 110 сушильной камеры и накопительного конуса 112. Для цилиндрической установки распылительной сушки с диаметром D, высотой Н сушильной камеры и высотой L накопительного конуса объем сушилки Vсушилки будет задан как

Авторы настоящего изобретения определили, что среднее время нахождения должно составлять по меньшей мере 10 секунд, что гарантирует, что капельки имеют достаточное время для высыхания до их разбивания на поверхности внутри распылительной сушилки; более предпочтительно среднее время нахождения составляет по меньшей мере 15 секунд и наиболее предпочтительно, по меньшей мере, 20 секунд.
Например, для объемной скорости потока сушильного газа 0,25 м3/сек и среднего времени нахождения 20 секунд требуемый объем установки распылительной сушки может быть рассчитан следующим образом:

Таким образом, для распылительной сушилки с объемом 5 м3, высотой H, равной 2,3 м, и накопительным конусом 112 с углом конуса 114, равным 60° (означающим, что высота L накопительного конуса 112 равна диаметру D сушильной камеры или L=D), требуемый диаметр D камеры распылительной сушилки может быть рассчитан исходя из вышеописанного уравнения следующим образом:
или D=1,5 м
При обеспечении диаметра сушильной камеры, составляющего по меньшей мере 1,5 м, среднее время пребывания частиц в сушилке будет по меньшей мере 20 секунд и капельки, произведенные распылителем, могут быть достаточно сухими к моменту их разбивания на поверхности сушилки, чтобы минимизировать нарастание материала по стенкам сушильной камеры и накопительного конуса, при заданной подходящей высоте и диаметру, характеристиках распыления и характеристиках потока газа.
Аспектное отношение сушильной камеры – это отношение высоты Н верхней части 140 сушильной камеры, разделенной на диаметр D камеры. Например, если сушильная камера имеет высоту Н, равную 2,6 м, и диаметр D, равный 1,2 м, то сушильная камера имеет аспектное отношение, составляющее 2,6/1,2=2,2. В целом аспектное отношение сушильной камеры может варьировать от около 0,9 до около 2,5. Для газового диспергатора DPH, доступного от компании Niro, Inc, эффективное аспектное отношение составляет примерно от 1 до 1,2, в то время как для газового диспергатора, показанного на Фиг. 6, является желательным более высокое аспектное отношение, до около 2 или больше. Для достижения эффективного накопления продукта выбирается определенный угол конуса 114 накопительного конуса. Угол конуса 114 может варьировать от около 30 до около 70°, предпочтительно от 40 до около 60°.
В одном варианте осуществления сушильная камера, способная подавать распыляемый раствор со скоростью от 10 до около 90 кг/час, имеет высоту Н около 2,6 м, диаметр около 1,2 м, аспектное отношение, равное 2,2, угол конуса около 60°, высоту конуса L около 1,3 м и время нахождения газа примерно от 30 до 35 секунд при скорости потока газа от около 400 до около 550 кг/час. В другом варианте осуществления сушильная камера, способная подавать распыляемый раствор со скоростью от 400 до около 500 кг/час, имеет высоту Н около 2,7 м, диаметр D около 2,6 м, аспектное отношение около 1, угол конуса около 40°, высоту конуса L около 3,7 м и время нахождения газа примерно от 30 до 35 секунд при скорости потока газа от около 2000 до около 2500 м3/час.
в. Накопление твердоаморфных дисперсий
Обращаясь снова к фиг. 1, частицы твердоаморфной дисперсии выходят из камеры 28 распылительной сушки и переносятся с отработанным сушильным газом в один (или более) коллектор продукта. Примеры коллекторов продукта включают в себя циклоны, пылеуловительные камеры и пылеуловители. Например, в системе, показанной на Фиг. 1, циклон 38 накапливает большинство частиц твердоаморфной дисперсии. Частицы твердоаморфной дисперсии удаляются из циклона 38 через парные клапаны 120 и 122 и накапливаются в контейнере 124, таком как барабан. Циклон 38 может включать в себя вибратор (не показан) или другое механическое устройство для взбалтывания частиц внутри циклона 38, что, как известно в данной области техники, повышает эффективность перемещения материала из циклона 38. Отработанный сушильный газ выходит из циклона 38 и проходит через пылеуловительную камеру 126, которая собирает маленькие пылевидные частицы, которые обошли циклон 38.
г. Рециркуляция сушильного газа
Так как способ распылительной сушки использует большие объемы сушильного газа, часто желательно осуществлять рециркуляцию сушильного газа. Возвращаясь к фиг. 1, система распылительной сушки может необязательно включать в себя систему рециркуляции 46 сушильного газа, которая образует замкнутый контур от выхода 36 сушильной камеры к входу 32 сушильной камеры для рециркуляции сушильного газа. Система рециркуляции сушильного газа включает в себя воздуходувку 128, расположенную следом за пылеуловительной камерой 126, для направления сушильного газа в систему 48 регенерации растворителя. Примеры систем регенерации растворителя включают в себя конденсаторы, мокрые газоочистители, полупроницаемые мембраны, адсорбционные биологические газоочистители, адсорбцию и реакторы с орошаемым слоем. Как показано на фиг. 1, системой регенерации растворителя является конденсатор 130. Конденсатор 130 охлаждает сушильный газ для удаления растворителя. Затем сушильный газ поступает в рабочий нагреватель 132, где сушильный газ нагревается до достижения желательной температуры входа Твхода. Затем другая воздуходувка 134 направляет сушильный газ в газовый диспергатор 32, так чтобы сушильный газ мог поступать в сушильную камеру 28 через вход 34. Контур рециркуляции 46 также включает в себя выход 136, позволяющий выпускать рециркулированный сушильный газ, и вход 138, позволяющий добавлять сушильный газ в контур рециркуляции.
В системе 48 удаления растворителя конденсатором 130 является кожухотрубный теплообменник, доступный от различных производителей, таких как от Atlas Industrial Manufacturing (Clifton, New Jersey). Типичная температура выхода из конденсатора варьирует от около -30 до около 15°C и будет зависеть от точки замерзания растворителя. Например, при использовании в качестве растворителя ацетона температура выхода из конденсатора варьирует от -30 до 0°C, предпочтительно от -25 до -5°C. Обычно конденсатор работает при такой температуре выхода, что из сушильного газа конденсатор удаляет только часть паров растворителя. Например, при использовании растворителя ацетона можно устанавливать такую температуру конденсатора, чтобы сушильный газ, выходящий из конденсатора, имел относительную концентрацию паров ацетона от около 5 до 50 мас.%, более предпочтительно от около 15 до 30 мас.%. Альтернативно, точка росы ацетона в сушильном газе на выходе из конденсатора может варьировать от около -20 до около 25°C, более предпочтительно от около -5 до около 20°C.
Авторы настоящего изобретения выявили, что сохранение небольшого количества остаточных паров растворителя в сушильном газе может улучшать физические свойства получаемой путем распылительной сушки дисперсии. Это явилось неожиданным результатом, так как общепринятая точка зрения состояла в том, что сушильный газ для достижения быстрого испарения растворителя должен быть насколько возможно сухим. В частности, использование сушильного газа, содержащего небольшое количество растворителя, может уменьшать содержание остаточного растворителя и удельный объем частиц твердоаморфной дисперсии, выходящих из сушильной камеры при производстве сохраняющей гомогенность твердоаморфной дисперсии. Предпочтительно количество паров растворителя в сушильном газе варьирует от 5 до около 50 мас.%.
С другой стороны, поскольку количество паров растворителя в сушильном газе является функцией эффективности системы удаления растворителя, система удаления растворителя может действовать таким образом, что допустит выход небольшого количества растворителя вместе с рециркулированным сушильным газом в систему удаления растворителя. Например, для системы рециркуляции сушильного газа, показанной на фиг. 1, конденсатор может работать при температуре, позволяющей небольшому количеству паров растворителя проходить через конденсатор. Температура выхода из конденсатора составляет от около -5 до около 5°C для распыляемого раствора на основе ацетона, что приводит к содержанию достаточного количества паров растворителя в сушильном газе. Однако необходимо соблюдать осторожность, чтобы не вводить слишком большое количество паров растворителя в сушильный газ, так как при более высоком содержании паров растворителя в сушильном газе начинает повышаться содержание остаточного растворителя в твердоаморфной дисперсии, что связано с менее эффективным высыханием капелек и в конечном итоге с отсутствием высыхания в случае, если сушильный газ насыщается парами растворителя.
Не имея намерения ограничиться какой-либо теорией, авторы настоящего изобретения полагают, что присутствие небольшого количества паров растворителя в сушильном газе может одним или обоими нижеизложенными эффектами улучшать высыхание. Во-первых, пары растворителя в сушильном газе могут быть причиной более равномерного высыхания капелек распыляемого раствора путем задерживания образования кожицы (как указано выше). Во-вторых, пары растворителя вследствие их большей, чем у сушильного газа, теплоемкости могут обеспечивать поступление в сушильную камеру большего количества тепловой энергии при заданной температуре и потоке сушильного газа по сравнению с тем же самым потоком сухого сушильного газа при той же температуре. В любом случае добавление небольшого количества паров растворителя в сушильный газ уменьшает содержание остаточного растворителя и уменьшает удельный объем частиц твердоаморфной дисперсии, выходящих из сушильной камеры.
Лекарственное средство
Термин “лекарственное средство” является общепринятым и обозначает состав, имеющий полезные профилактические и/или терапевтические свойства при введении его животному, в особенности человеку. Для извлечения пользы от настоящего изобретения лекарственное средство не должно быть лекарственным средством с низкой растворимостью, хотя для применения в настоящем изобретении предпочтительным классом являются труднорастворимые препараты. Даже когда лекарственное средство тем не менее проявляет значительную растворимость в желательной среде использования, с настоящим изобретением станет возможным получение преимуществ, связанных с увеличением растворимости/биодоступности, если происходит уменьшение размера дозы, необходимой для терапевтической эффективности, или увеличение скорости абсорбции лекарственного средства в случаях, когда желательно быстрое начало действия лекарственного средства.
Предпочтительным лекарственным средством является “труднорастворимое лекарственное средство”, означающее, что лекарственное средство может быть или “по существу не растворимым в воде”, что означает, что лекарственное средство имеет минимальную растворимость в воде менее чем 0,01 мг/мл при pH, соответствующей физиологическим уровням (например, pH 1-8), или “умеренно растворимым в воде”, то есть его растворимость в воде доходит примерно от 1 до 2 мг/мл, или даже более слабую растворимость в воде, доходящую до около 1 мг/мл и до таких высоких значений, как примерно от 20 до 40 мг/мл. Полезность настоящего изобретения возрастает с уменьшением растворимости лекарственного средства. Таким образом, композиции настоящего изобретения являются предпочтительными для препаратов низкой растворимости, имеющих растворимость менее 10 мг/мл, более предпочтительными для препаратов низкой растворимости, имеющих растворимость меньше чем 1 мг/мл, и наиболее предпочтительными для препаратов низкой растворимости, имеющих растворимость менее 0,1 мг/мл. В целом можно сказать, что лекарственное средство имеет отношение растворимости в воде к дозе, составляющее больше чем 10 мл и, более характерно, больше чем 100 мл, при том что растворимость лекарственного средства (мг/мл) – это минимальный показатель, наблюдаемый в любом соответствующем физиологическом водном растворе (например, в растворах с уровнем pH между 1 и 8), включающем в себя моделированные гастральные и интестинальные буферы Фармакопеи США (USP) с дозой, указанной в мг. Таким образом можно рассчитать отношение растворимости в воде к дозе, разделяя дозу (в мг) на растворимость (в мг/мл).
Предпочтительные классы лекарственных средств включают в себя, но не ограничены нижеперечисленным, гипотензивные средства, седативные средства, антикоагулянты, противосудорожные средства, гипогликемические средства, противоотечные средства, противогистаминные средства, противокашлевые средства, противоопухолевые средства, бета-блокаторы, противовоспалительные средства, антипсихотические средства, средства, применяемые при когнитивных расстройствах, средства, снижающие содержание холестерина, противоатеросклеротические средства, средства, применяемые при ожирении, средства, применяемые при аутоиммунных нарушениях, средства, применяемые при импотенции, антибактериальные и противогрибковые средства, снотворные средства, противопаркинсонические средства, средства, применяемые при болезни Альцгеймера, антибиотики, антидепрессанты, противовирусные средства, ингибиторы гликогенфосфорилазы и ингибиторы холестерилового эфира трансфертного протеина.
Следует понимать, что каждый из вышеперечисленных лекарственных средств включает в себя любые фармацевтически приемлемые формы лекарственного средства. Под “фармацевтически приемлемыми формами” понимается любое фармацевтически приемлемое производное или разновидность, включая стереоизомеры, смеси стереоизомеров, энантиомеры, сольваты, гидраты, изоморфные соединения, полиморфы, псевдоморфы, нейтральные формы, солевые формы и пролекарства. Конкретные примеры антигипертензивных средств включают в себя празозин, нифедипин, амлодипина бесилат, тримазозин и доксазозин; конкретными примерами гипогликемических средств являются глипизид и хлорпропамид; конкретными примерами средств, применяемых при лечении импотенции, являются силденафил и силденафила цитрат; конкретные примеры противоопухолевых средств включают в себя хлорамбуцил, ломустин и эхиномицин; конкретным примером противоопухолевых средств имидазолинового типа является тубулазол; конкретным примером антигиперхолестеринемических средств является аторвастатин кальция; конкретные примеры анксиолитиков включают в себя гидроксизина гидрохлорид и доксепина гидрохлорид; конкретные примеры противовоспалительных средств включают в себя бетаметазон, преднизолон, аспирин, пироксикам, валдекоксиб, карпрофен, целекоксиб, флурбипрофен и (+)-N-{4-[3-(4-фторфенокси)фенокси]-2-циклопентен-1-ил}-N-оксимочевину; конкретным примером барбитуратов является фенобарбитал; конкретные примеры противовирусных средств включают в себя ацикловир, нелфинавир и виразол; конкретные примеры витаминных препаратов и питательных средств включают в себя ретинол и витамин E; конкретные примеры бета-блокаторов включают в себя тимолол и надолол; конкретным примером рвотного средства является апоморфин; конкретные примеры мочегонных средств включают в себя хлорталидон и спиронолактон; конкретным примером антикоагулянтов является дикумарол; конкретные примеры кардиотонических средств включают в себя дигоксин и дигитоксин; конкретные примеры андрогенов включают в себя 17-метилтестостерон и тестостерон; конкретным примером минералокортикоидов является дезоксикортикостерон; конкретным примером стероидных снотворных средств/анестетиков является альфаксалон; конкретные примеры анаболических средств включают в себя флуоксиместерон и метанстенолон; конкретные примеры антидепрессантов включают в себя сульпирид, [3,6-диметил-2-(2,4,6-триметилфенокси)пиридин-4-ил]-(1-этилпропил)амин, 3,5-диметил-4-(3′-пентокси)-2-(2′,4′,6′-триметилфенокси)пиридин, пироксидин, флуоксетин, пароксетин, венлафаксин и сертралин; конкретные примеры антибиотиков включают в себя карбенициллина инданил натрий, бакампициллина гидрохлорид, тролеандомицин, доксициклина хиклат, ампициллин и пенициллин G; конкретные примеры антибактериальных средств включают в себя бензалкониум хлорид и хлоргексидин; конкретные примеры коронарных вазодилаторов включают в себя нитроглицерин и миофлазин; конкретным примером снотворного средства является этомидат; конкретные примеры ингибиторов угольной ангидразы включают в себя ацетазоламид и хлорзоламид; конкретные примеры противогрибковых средств включают в себя эконазол, терконазол, флуконазол, вориконазол и гризеофульвин; конкретным примером противопротозойных средств является метронидазол; конкретные примеры антигельминтных средств включают в себя тиабендазол и оксфендазол и морантел; конкретные примеры противогистаминных средств включают в себя астемизол, левокабастин, цетиризин, декарбоэтоксилоратадин и циннаризин; конкретные примеры антипсихотических средств включают в себя зипразидон, оланзепин, тиотиксена гидрохлорид, флуспирилен, рисперидон и перфлуридол; конкретные примеры средств, влияющих на желудочно-кишечный тракт, включают в себя лоперамид и цизаприд; конкретные примеры антагонистов серотонина включают в себя кетансерин и миансерин; конкретным примером анестезирующих средств является лидокаин; конкретным примером гипогликемических средств является ацетогексамид; конкретным примером противорвотных средств является дименгидринат; конкретным примером антибактериальных средств является котримоксазол; конкретным примером дофаминэргических средств является леводопа; конкретными примерами средств, применяемых при болезни Альцгеймера, являются THA и донепезил; конкретным примером средств, применяемых при язвенной болезни, – блокаторов H2 рецепторов является фамотидин; конкретные примеры седативных/снотворных средств включают в себя хлордиазепоксид и триазолам; конкретным примером сосудорасширяющего средства является алпростадил; конкретным примером ингибиторов агрегации тромбоцитов является простациклин; конкретные примеры ингибиторов ангиотензинпревращающего фермента/антигипертензивных средств включают в себя эналаприловую кислоту и лизиноприл; конкретные примеры антибиотиков тетрациклинового ряда включают в себя окситетрациклин и миноциклин; конкретные примеры антибиотиков группы макролидов включают в себя эритромицин, кларитромицин и спирамицин; конкретным примером антибиотика группы азалидов является азитромицин; конкретные примеры ингибиторов гликогенфосфорилазы включают в себя [R-(R*S*)]-5-хлоро-N-[2-гидрокси-3-{метоксиметиламино}-3-оксо-1-(фенилметил)пропил-1H-индол-2-карбоксамид и [(1S)-бензил-(2R)-гидрокси-3-((3R,4S)-дигидроксипирролидин-1-ил-)-3-оксипропил]амид 5-хлоро-1H-индол-2-карбоновой кислоты; конкретные примеры ингибиторов белка-переносчика эфиров холестерина (СЕТР) включают в себя этиловый эфир [2R,4S]4-[(3,5-бистрифторметилбензил)метоксикарбониламино]-2-этил-6-трифторметил-3,4-дигидро-2H-хинолин-1-карбоновой кислоты, изопропиловый эфир [2R,4S]4-[ацетил-(3,5-бистрифторметилбензил)амино]-2-этил-6-трифторметил-3,4-дигидро-2H-хинолин-1-карбоновой кислоты, изопропиловый эфир [2R,4S] 4-[3,5-бистрифторметилбензил)метоксикарбониламино]-2-этил-6-трифторметил-3,4-дигидро-2H-хинолин-1-карбоновой кислоты, лекарственные средства, раскрытые в патентах, свободно принадлежащих Заявке на патент США сер.№ 09/918127 и 10/066091, на оба из упомянутых патентов ссылается настоящее изобретение во всей их полноте для всех целей, и лекарственные средства, раскрытые в нижеперечисленных патентах и опубликованных заявках: DE 19741400 A1; DE 19741399 A1; WO 9914215 A1; WO 9914174; DE 19709125 A1; DE 19704244 A1; DE 19704243 A1; EP 816448 A1; WO 9804528 A2; DE 19627431 A1; DE 19627430 A1; DE 19627419 A1; EP 796846 A1; DE 19832159; DE 818197; DE 19741051; WO 9941237 A1; WO 9914204 A1; WO 9835937 A1; JP 11049743; WO 200018721; WO 200018723; WO 200018724; WO 200017164; WO 200017165; WO 200017166; EP 992496 и EP 987251, на все из вышеперечисленных заявок настоящее изобретение ссылается во всей их полноте для всех целей.
Полимеры
Полимеры, подходящие для применения в различных аспектах настоящего изобретения, должны быть фармацевтически приемлемыми и должны иметь по меньшей мере некоторую растворимость в водном растворе при pH, соответствующей физиологическим уровням (например, pH 1-8). Может быть подходящим почти любой нейтральный или ионизируемый полимер, растворимость которого в воде составляет по меньшей мере 0,1 мг/мл при уровнях pH, находящихся по меньшей мере в диапазоне от 1 до 8.
Предпочтительным является “амфифильный” характер полимеров, означающий, что полимер имеет гидрофобные и гидрофильные участки. Амфифильные полимеры являются предпочтительными, так как считается, что такие полимеры проявляют тенденцию к наличию относительно сильных взаимодействий с лекарственным средством и могут содействовать образованию в растворе различных типов блоков полимера/лекарственного средства. Ионизируемые полимеры являются особенно предпочтительным классом амфифильных полимеров, ионизируемые участки таких полимеров при ионизации составляют по меньшей мере часть гидрофильных участков полимера.
Один класс полимеров, подходящих для использования в настоящем изобретении, содержит нейтральные нецеллюлозные полимеры. Примеры полимеров включают в себя: виниловые полимеры и сополимеры, имеющие по меньшей мере один заместитель, выбираемый из группы, содержащей гидроксил, алкилацилокси и циклоамид; виниловые сополимеры по меньшей мере с одним гидрофильным гидроксилсодержащим повторяемым звеном и по меньшей мере одним гидрофобным участком, алкил- или арилсодержащим повторяемым звеном; поливиниловые спирты, которые по меньшей мере имеют участок повторяемых собственных звеньев в негидролизованной (винилацетатной) форме; сополимеры поливинилацетата поливинилового спирта; поливинилпирролидон; сополимеры полиэтилена поливинилового спирта и блок-сополимеры полиоксиэтилена-полиоксипропилена (также упоминаемые как полоксамеры).
Другой класс полимеров, подходящих для использования в настоящем изобретении, содержит ионизируемые нецеллюлозные полимеры. Примеры полимеров включают в себя: функционализированные карбоновой кислотой виниловые полимеры, такие как функционализированные карбоновой кислотой полиметакрилаты и функционализированные карбоновой кислотой полиакрилаты, такие как EUDRAGITS®, производимые компанией Rohm Tech Inc., of Malden, Massachusetts; аминофункционализированные полиакрилаты и полиметакрилаты; высокомолекулярные белки, такие как желатин и альбумин; и функционализированные карбоновой кислотой крахмалы, такие как гликолят крахмала.
Нецеллюлозные полимеры, являющиеся амфифильными, – это сополимеры относительно гидрофильных и относительно гидрофобных мономеров. Примеры включают в себя сополимеры акрилатов и метакрилатов. Примеры торговых марок таких сополимеров включают в себя EUDRAGITS, которые являются сополимерами метакрилатов и акрилатов.
Предпочтительный класс полимеров содержит ионизируемые и нейтральные (или неионизируемые) целлюлозные полимеры, содержащие по меньшей мере один заместитель, связанный сложноэфирной и/или эфирной связью, при которой степень замещения полимера составляет по меньшей мере 0,05 для каждого заместителя. Необходимо отметить, что в используемой здесь номенклатуре полимеров заместители, связанные эфирной связью, перечислены перед термином “целлюлоза” как функциональные группы, соединенные с эфирной группой; например, “этилбензойнокислая целлюлоза” имеет в качестве заместителя этилбензойную кислоту. Аналогично, заместители, связанные сложноэфирной связью как карбоксилаты, перечислены после термина “целлюлоза”; например, “целлюлозы фталат”, который имеет одну карбоновую кислоту в каждой функциональной группе фталата, связанную сложноэфирной связью с полимером, и другую карбоновую кислоту, не участвующую в реакции.
Также необходимо отметить, что название полимера, например “ацетофталат целлюлозы ” (АФЦ), относится к любому полимеру из семейства целлюлозных полимеров, которые имеют в качестве заместителей ацетат и фталат, связанные сложноэфирными связями со значительной фракцией полимерных гидроксильных групп. В целом степень замещения каждого заместителя может варьировать от 0,05 до 2,9 при условии соответствия других критериев полимера. “Степень замещения” относится к среднему количеству определенных трех гидроксилов, приходящемуся на повторяемое звено сахаридов в цепи целлюлозы, которые были замещены. Например, если все гидроксилы в цепи целлюлозы были замещены фталатом, степень замещения фталата равна 3. Также каждый тип семейства полимеров включает в себя целлюлозные полимеры, имеющие дополнительный заместитель, добавляемый в относительно небольших количествах, которые по существу не изменяют характеристик полимера.
Амфифильные целлюлозные полимеры содержат полимеры, в которых в любой или во всех 3 гидроксильных группах, присутствующих в каждой повторяемой единице сахаридов, исходный целлюлозный полимер был замещен по меньшей мере одним относительно гидрофобным заместителем. Гидрофобным заместителем может быть по существу любой заместитель, который может приводить целлюлозный полимер по существу в состояние нерастворимости в воде, если уровень замещения или степени замещения являются достаточно высокими. Примеры гидрофобных заместителей включают в себя связанные эфирной связью алкильные группы, такие как метил, этил, пропил, бутил и т.д.; или связанные сложноэфирной связью алкильные группы, такие как ацетат, пропионат, бутират, и т.д.; и связанные эфирной и/или сложноэфирной связью арильные группы, такие как фенил, бензоат или фенилат. Гидрофильными областями полимера могут быть или участки, являющиеся относительно незамещенными, поскольку незамещенные гидроксилы сами по себе относительно гидрофильны, или те области, которые замещены гидрофильными заместителями. Гидрофильные заместители включают в себя связанные эфирной или сложноэфирной связью неионизируемые группы, такие как гидроксиалкильные заместители гидроксиэтила, гидроксипропила, и алкилэфирные группы, такие как этоксиэтоксильные или метоксэтоксильные. Особенно предпочтительными гидрофильными заместителями являются связанные эфирной или сложноэфирной связью ионизируемые группы, такие как карбоновые кислоты, тиокарбоновые кислоты, замещенные феноксильные группы, амины, фосфаты или сульфонаты.
Один класс целлюлозных полимеров содержит нейтральные полимеры, что означает, что в водном растворе полимеры являются по существу неионизируемыми. Такие полимеры содержат неионизируемые заместители, которые могут быть связаны эфирной или сложноэфирной связью. Примеры связанных эфирной связью неионизируемых заместителей включают в себя: алкильные группы, такие как метил, этил, пропил, бутил, и т.д.; гидроксиалкильные группы, такие как гидроксиметил, гидроксиэтил, гидроксипропил и т.д.; и арильные группы, такие как фенил. Примеры связанных сложноэфирной связью неионизируемых заместителей включают в себя: алкильные группы, такие как ацетат, пропионат, бутират и т.д.; и арильные группы, такие как фенилат. Однако при наличии арильных групп для полимера может быть необходимо включение в него достаточного количества гидрофильного заместителя с тем, чтобы полимер имел по меньшей мере некоторую растворимость в воде при любых соответствующих физиологическим уровням pH в диапазоне от 1 до 8.
Предпочтительные неионизируемые целлюлозные полимеры, возможные для применения в качестве полимеров, включают в себя: гидроксипропилметилцеллюлозы ацетат, гидроксипропилметилцеллюлозу, гидроксипропилцеллюлозу, метилцеллюлозу, гидроксиэтилметилцеллюлозу, гидроксиэтилцеллюлозы ацетат и гидроксиэтилэтилцеллюлозу.
Предпочтительным набором неионизируемых (нейтральных) целлюлозных полимеров являются амфифильные полимеры. Примеры полимеров включают в себя гидроксипропилметилцеллюлозу и гидроксипропилцеллюлозы ацетат, где целлюлозные повторяемые звенья, имеющие относительно высокое число метиловых или ацетатных заместителей по отношению к незамещенным гидроксильным или гидроксипропиловым заместителям, образуют гидрофобные области относительно других повторяемых звеньев полимера.
Предпочтительный класс целлюлозных полимеров содержит полимеры, которые являются по меньшей мере частично ионизируемыми при уровнях pH, соответствующих физиологическим, и включают по меньшей мере один ионизируемый заместитель, который может быть связан как эфирной, так и сложноэфирной связью. Примеры ионизируемых заместителей, связанных эфирной связью, включают в себя: карбоновые кислоты, такие как уксусная кислота, пропионовая кислота, бензойная кислота, салициловая кислота, алкоксибензойные кислоты, такие как этоксибензойная кислота или пропоксибензойная кислота, различные изомеры алкоксифталевой кислоты, такие как этоксифталевая кислота и этоксиизофталевая кислота, различные изомеры алкоксиникотиновой кислоты, такие как этоксиникотиновая кислота, и различные изомеры пиколиновой кислоты, такие как этоксипиколиновая кислота и т.д.; тиокарбоновые кислоты, такие как тиоуксусная кислота; замещенные феноксильные группы, такие как гидроксифеноксильная и т.д.; амины, такие как этоксиамин, этоксидиэтиламин, этокситриметиламин и т.д.; фосфаты, такие как этоксифосфат; и сульфонаты, такие как этоксисульфонат. Примеры ионизируемых заместителей, связанных сложноэфирной связью, включают в себя: карбоновые кислоты, такие как сукцинат, цитрат, фталат, терефталат, изофталат, тримеллитат, и различные изомеры пиридиндикарбоновой кислоты и т.д.; трикарбоновые кислоты, такие как тиосукцинат; замещенные феноксильные группы, такие как аминосалициловая кислота; амины, такие как природные или синтетические аминокислоты, такие как аланин или фенилаланин; фосфаты, такие как ацетилфосфат; и сульфонаты, такие как ацетилсульфонат. Вместе с тем, для того чтобы ароматически замещенные полимеры имели требуемую растворимость в воде, также желательно, чтобы соответствующие гидрофильные группы, такие как гидроксипропильная или карбоксильная функциональные группы соединялись с полимером, чтобы приводить полимер в состояние растворимости в воде при значениях pH, при которых по меньшей мере любые ионизируемые группы являются ионизированными. В некоторых случаях ароматический заместитель сам по себе может быть ионизируемым, например такие заместители, как фталат или тримеллитат.
Примеры целлюлозных полимеров, которые по меньшей мере частично ионизированы при уровнях pH, соответствующих физиологическим, включают в себя: гидроксипропилметилцеллюлозы ацетат сукцинат (ГПМЦАС), гидроксипропилметилцеллюлозы сукцинат, гидроксипропилцеллюлозы ацетатсукцинат, гидроксиэтилметилцеллюлозы сукцинат, гидроксиэтилцеллюлозы ацетатсукцинат, гидроксипропилметилцеллюлозы фталат (ГПМЦФ), гидроксиэтилметилцеллюлозы ацетатсукцинат, гидроксиэтилметилцеллюлозы ацетатфталат, карбоксиэтилцеллюлозу, этилкарбоксиметилцеллюлозу (также называемую карбоксиметилэтилцеллюлозой или КМЭЦ), карбоксиметилцеллюлозу, ацетатфталат целлюлозы (АФЦ), ацетатфталат метилцеллюлозы, ацетатфталат этилцеллюлозы, ацетатфталат гидроксипропилцеллюлозы, гидроксипропилметилцеллюлозы ацетатфталат, гидроксипропилцеллюлозы ацетатфталатсукцинат, гидроксипропилметилцеллюлозы ацетосукцинатфталат, гидроксипропилметилцеллюлозы сукцинатфталат, пропионатфталат целлюлозы, бутиратфталат гидроксипропилцеллюлозы, ацетаттримеллитат целлюлозы (АТЦ), ацетотримеллитат метилцеллюлозы, ацетотримеллитат этилцеллюлозы, гидроксипропилцеллюлозы ацетотримеллитат, гидроксипропилметилцеллюлозы ацетотримеллитат, гидроксипропилцеллюлозы ацетотримеллитатсукцинат, пропионаттримеллитат целлюлозы, бутираттримеллитат целлюлозы, ацетотерефталат целлюлозы, ацетоизофталат целлюлозы, ацетопиридиндикарбоксилат целлюлозы, салициловокислой целлюлозы ацетат, салициловокислой целлюлозы гидроксипропилацетат, этилбензойнокислой целлюлозы ацетат, этилбензойнокислой гидроксипропилцеллюлозы ацетат, этилфталевокислой целлюлозы ацетат, этилникотиновокислой целлюлозы ацетат и этилпиколиновокислой целлюлозы ацетат. Авторами настоящего изобретения выявлено, что из вышеперечисленных целлюлозных полимеров, которые по меньшей мере частично ионизированы при уровнях pH, соответствующих физиологическим, наиболее предпочтительными являются ГПМЦАС, ГПМЦФ, АФЦ, АТЦ, карбоксиэтилцеллюлоза, карбоксиметилцеллюлоза и этилкарбоксиметилцеллюлоза.
Другой предпочтительный класс полимеров состоит из нейтрализованных кислых полимеров. Под термином “нейтрализованный кислый полимер” подразумевается любой кислый полимер, у которого была “нейтрализована” значительная фракция “кислых функциональных групп” или “кислых заместителей”; то есть они находятся в их депротонированных формах. “Кислый полимер” – это любой полимер, имеющий значительное количество кислых функциональных групп. В целом значительное количество кислых функциональных групп будет составлять около 0,1 миллиграмм-эквивалент или больше кислых функциональных групп на грамм полимера. “Кислые функциональные группы” включают в себя любые функциональные группы, которые являются достаточно кислыми, и при контакте с ними или при растворении в воде они могут по меньшей мере частично отдавать водородный катион воде и таким образом повышать концентрацию ионов водорода. Это определение включает в себя любую названную функциональную группу или “заместитель”, у которых функциональная группа ковалентно связана с полимером, константа ионизации pKa которого меньше чем около 10. Примеры классов функциональных групп, которые включены выше в описание настоящего изобретения, включают в себя карбоновые кислоты, тиокарбоновые кислоты, фосфаты, фенольные группы и сульфонаты. Такие функциональные группы могут составлять первичную структуру полимера, такую как структуру полиакриловой кислоты, но в более общем смысле они ковалентно связаны с основной цепью материнского полимера и таким образом называются “заместителями”. Более подробно нейтрализованные кислые полимеры описаны в свободно переданной патентной заявке США сер.№ 60/300256 под названием “Pharmaceutical Compositions of Drugs and Neutralized Acidic Polymers”, зарегистрированной 22 июня 2001 года, релевантное раскрытие которой ссылочно включено в настоящее изобретение.
Наряду с тем, что в качестве подходящих для настоящего изобретения рассматриваются конкретные полимеры для использования в смесевых препаратах, смеси таких полимеров также могут быть подходящими. Таким образом, для термина “полимер” предусмотрено включение в него смеси полимеров в дополнение к единственному виду полимера.
Повышение концентрации
Предпочтительный полимер, используемый в композициях настоящего изобретения, – это “повышающий концентрацию полимер”, что подразумевает, что выполняется по меньшей мере одно и предпочтительно оба следующих условия. Первое условие состоит в том, что повышающий концентрацию полимер присутствует в количестве, достаточном для повышения максимальной концентрации лекарственного средства (МЛК) в среде использования относительно контрольной композиции, состоящей из эквивалентного количества кристаллического лекарственного средства в его самой низкоэнергетической форме, но не в виде полимера. То есть, как только композиция поступает в среду использования, полимер повышает водную концентрацию лекарственного средства относительно контрольной композиции. При этом понимается, что контрольная композиция не содержит солюбилизаторов или других компонентов, способных существенно повлиять на растворимость лекарственного средства, и что лекарственное средство в контрольной композиции находится в твердой форме. Общепринятая контрольная композиция – это недиспергированная, или кристаллическая форма, лекарственного средства в чистом виде в его самой низкоэнергетической форме и в самой низкой форме растворимости. Предпочтительно, полимер повышает МЛК лекарственного средства в водном растворе, по меньшей мере 1,25-кратно относительно контрольной композиции, более предпочтительно по меньшей мере 2-кратно и наиболее предпочтительно по меньшей мере 3-кратно. Поразительно, что полимер может приводить к чрезвычайно большому повышению водной концентрации. В некоторых случаях МЛК лекарственного средства, обеспечиваемая тестовой композицией, составляла по меньшей мере от 5-кратного до больше чем 10-кратного превышения равновесной концентрации, обеспечиваемой в контроле.
Второе условие состоит в том, что повышающий концентрацию полимер присутствует в количестве, достаточном для увеличения области растворения при определенной концентрации в зависимости от времени в площади под кривой (ППК) лекарственного средства в среде использования относительно контрольной композиции, состоящей из эквивалентного количества кристаллического лекарственного средства в его самой низкоэнергетической форме, но не в виде полимера (Подсчет ППК является общепринятой процедурой в области фармацевтической техники и описан, например, в Welling, “Pharmacokinetics Processes and Mathematics”, ACS Monograph 185 (1986).) Более конкретно, композиции, содержащие лекарственное средство и повышающий концентрацию полимер, обеспечивают значение ППК в среде использования в течение любого 90-минутного периода от около 0 до около 270 минут после введения в среду использования, что составляет по меньшей мере в 1,25 раза больше, чем это значение в вышеописанной контрольной композиции. Предпочтительно, значение ППК, которое обеспечивает композиция по меньшей мере 2-кратно, более предпочтительно по меньшей мере 3-кратно, превышает таковое значение контрольной композиции. Для некоторых дисперсий, как описано выше, тестовые композиции настоящего изобретения могут обеспечивать значение ППК, которое по меньшей мере 5-кратно и даже более чем 10-кратно превышает значение ППК контрольной композиции.
В предпочтительном варианте осуществления повышающий концентрацию полимер присутствует в количестве, достаточном для того, чтобы композиция обеспечивала повышение концентрации относительно второй контрольной композиции, состоящей из аморфного лекарственного средства, но не содержащей повышающего концентрацию полимера. Предпочтительно полимер повышает по меньшей мере одно значение и предпочтительно оба значения – и МЛК или ППК лекарственного средства в водном растворе по меньшей мере 1,25-кратно относительно второй контрольной композиции, более предпочтительно по меньшей мере 2-кратно и наиболее предпочтительно по меньшей мере 3-кратно.
“Средой использования” может быть как in vivo водная среда использования, такая как желудочно-кишечный тракт (ЖКТ) животного, в частности человека, так и in vitro водная среда использования тестового раствора, такого как фосфатно-буферный раствор (ФБР) или раствор, моделирующий голодную двенадцатиперстную кишку (МГД).
Получаемая твердоаморфная дисперсия, содержащая труднорастворимое лекарственное средство и повышающий концентрацию полимер, образуемая с использованием способов настоящего изобретения, обеспечивает повышенную концентрацию растворенного лекарственного средства в тестах на растворимость in vitro. Было установлено, что увеличенная концентрация лекарственного средства в тестах на растворимость in vitro в растворе МГД или в ФБР растворе является пригодным in vivo индикатором свойств и биодоступности. Подходящим ФБР раствором является водный раствор, содержащий 20 ммоль Na2HPO4, 47 ммоль KH2PO4, 87 ммоль NaCl, и 0,2 ммоль KCl, с отрегулированным NaOH уровнем pH 6,5. Подходящий МГД раствор – это тот же ФБР раствор, в котором также присутствует 7,3 ммоль кислого таурохолевого натрия и 1,4 ммоль 1-пальмитоил-2-олеил-sn-глицеро-3-фосфохолина. В частности, композиция, образуемая способом настоящего изобретения, может быть тестирована на растворимость путем добавления ее к МГД или ФБР растворам и взбалтывания для облегчения растворения.
Тесты in vitro для оценки повышения концентрации лекарственного средства в водном растворе можно проводить (1) путем добавления с взбалтыванием достаточного количества контрольной композиции, обычно единственного недиспергированного лекарственного средства, in vitro к тестовой среде, такой как МГД или ФБР раствор, для достижения равновесной концентрации лекарственного средства; (2) в отдельном сосуде, путем добавления с взбалтыванием достаточного количества контрольной композиции (например, композиции, содержащей лекарственное средство и полимер) в той же тестовой среде, таким образом, что, если все лекарственное средство будет растворено, теоретическая концентрация лекарственного средства превысила бы равновесную концентрацию лекарственного средства по меньшей мере на величину, умноженную на 2, и предпочтительно по меньшей мере на величину, умноженную на 10; и (3) путем сравнения показаний МЛК и/или водной ППК тестовой композиции в тестовой среде с равновесной концентрацией, и/или водной ППК контрольной композиции. При проведении вышеописанного теста на растворимость используется такое количество тестовой композиции или контрольной композиции, которое при условии, что все лекарственное средство растворено, приведет к такой концентрации лекарственного средства, которая по меньшей мере 2-кратно, предпочтительно по меньшей мере 10-кратно и наиболее предпочтительно по меньшей мере 100-кратно превышала бы равновесную концентрации.
Концентрация растворенного лекарственного средства обычно измеряется как функция времени путем забора проб тестовой среды и построения графика концентрации лекарственного средства в тестовой среде в зависимости от времени, с тем чтобы можно было определить МЛК. За МЛК принимается максимальное значение концентрации растворенного лекарственного средства, измеренной в течение всей продолжительности теста. При расчете водной ППК суммируется концентрация в зависимости от кривой времени в течение любого 90-минутного промежутка между временем введения композиции в водную среду использования (когда время равняется нулю) и до 270 минуты после введения в среду использования (когда время равняется 270 минутам). Как правило, когда композиция быстро достигает своей МЛК, допустим, меньше чем примерно за 30 минут, интервал времени, по которому обычно вычисляется ППК, составляет от ноля до времени, равного 90 минутам. Однако, как описано выше, если ППК композиции в любой 90-минутный промежуток времени соответствует критериям настоящего изобретения, то образуемая композиция считается входящей в область настоящего изобретения.
Чтобы избежать присутствия больших твердых частиц лекарственного средства, способных привести к ошибочным подсчетам, тестовый раствор либо фильтруется, либо центрифугируется. За “растворенное лекарственное средство” обычно принимается или материал, который проходит через 0,45 мкм фильтрующий шприц, или, наоборот, материал, который остается в супернатанте после центрифугирования. Фильтрацию можно проводить, используя 13 мм, 0,45 мкм поливинилидиноводифторидный фильтрующий шприц, поставляемый компанией Scientific Resources (Scientific Resources, Inc; St. Paul, MN) под торговой маркой TITAN®. Центрифугирование обычно проводится в полипропиленовой микроцентрифужной пробирке при 13000 G в течение 60 секунд. Могут использоваться другие подобные способы фильтрации или центрифугирования с получением полезных результатов. Например, при использовании других типов микрофильтров можно получить значения несколько выше или ниже (±10-40%) чем значения, полученные с вышеуказанным фильтром, но останется возможность идентифицировать предпочтительные дисперсии. Необходимо признать, что определение “растворенное лекарственное средство” охватывает не только мономерные сольватированные молекулы лекарственного средства, но также и широкий диапазон частиц, таких как блоки полимера/лекарственного средства, имеющие субмикронные размеры, такие как агрегации лекарственных средств, агрегации смесей полимера и лекарственного средства, мицеллы, полимерные мицеллы, коллоидные частицы или нанокристаллы, комплексы полимера/лекарственного средства и другие подобные содержащие лекарственное средство частицы, которые присутствуют в фильтрате или супернатанте в вышеописанном тесте на растворимость.
С другой стороны, при пероральном приеме человеком или другим млекопитающим дозы композиции обеспечивается ППК при концентрации лекарственного средства в крови (сыворотке или плазме), которая является по меньшей мере в 1,25 раза, предпочтительно по меньшей мере в 2 раза, предпочтительно по меньшей мере в 3 раза, предпочтительно по меньшей мере в 5 раз и наиболее предпочтительно по меньшей мере в 10 раз больше значений ППК, наблюдающихся в контрольной композиции, состоящей из эквивалентного количества кристаллического лекарственного средства, единственно дозируемого без какого-либо дополнительного полимера. Отмечено, что такие композиции в сравнении с контрольной композицией могут также считаться имеющими относительную биодоступность, более высокую, чем от 1,25 раза до 10-кратного превышения этого показателя.
Тестирование относительной биодоступности лекарственного средства в композициях in vivo у животных или у людей можно проводить с использованием общепринятых способов для измерений такого рода. Тесты in vivo, такие как перекрестное исследование, могут применяться для определения способности композиции лекарственного средства и повышающего концентрацию полимера обеспечить увеличение относительной биодоступности по сравнению с контрольной композицией, как описано выше. В перекрестном исследовании in vivo исследовалась тестовая композиция твердоаморфной дисперсии лекарственного средства и полимера, даваемая половине группы тестируемых субъектов и, после адекватного периода выведения (например, одна неделя) тем же самым субъектам давалась доза контрольной композиции, состоящей из эквивалентного количества кристаллического лекарственного средства, как и тестовая композиция (но без присутствия полимера). Другой половине группы сначала давалась доза контрольной композиции, после чего доза тестовой композиции. Относительная биодоступность измерялась по концентрации в крови (в сыворотке или плазме) в зависимости от времени в площади под кривой (ППК), определенной для тестируемой группы, разделенной на ППК крови, обеспечиваемой контрольной композицией. Предпочтительно, чтобы соотношение тест/контроль определялось для каждого субъекта и затем находились средние соотношения всех субъектов в исследовании. Можно определять ППК in vivo по построению графика концентрации лекарственного средства в сыворотке или плазме по оси ординат (ось Y) в зависимости от времени по оси абсцисс (ось X). Дозированию может способствовать использование носителя-растворителя при введении дозы. Растворителем предпочтительно является вода, но в нем также могут содержаться материалы для суспендирования тестовой или контрольной композиции при том, что эти материалы не растворяют композицию или изменяют растворимость лекарственного средства in vivo.
Другие признаки и варианты осуществления настоящего изобретения станут очевидными из следующих примеров, которые приведены для иллюстрации настоящего изобретения и не ограничивают заданный объем настоящего изобретения.
Пример 1
Этот пример демонстрирует усовершенствованный способ образования аморфной дисперсии лекарственного средства в повышающем концентрацию полимере. Лекарственное средство 1 – это [2R,4S]4-[(3,5-бистрифторметилбензил)метоксикарбониламино]-2-этил-6-трифторметил-3,4-дигидро-2H-хинолин-1-этиловый эфир карбоновой кислоты, также известный как торцетрапиб, имеющий следующую структуру:

Получение дисперсии происходило путем образования распыляемого раствора, содержащего 4 мас.% лекарственного средства 1 и 12 мас.% гидроксипропилметилцеллюлозы ацетатсукцината (ГПМЦАС) (AQUOT-MG, доступного от компании Shin Etsu, Tokyo, Japan) в ацетоне. Распыляемый раствор имел вязкость около 130 сП. Распыляемый раствор закачивался с использованием насоса высокого давления в распылительную сушилку портативного типа (Niro type XP Portable Spray Drier с технологической камерой подачи жидкости – a Liquid-Feed Process Vessel [PSD-1]), оборудованной соплом высокого давления (Spraying Systems SK 80-18). PSD-1 также оснащалась 9-дюймовым удлинителем камеры и для газового диспергатора имела фильтросную пластину, имеющую 1% пропускного сечения. Во время работы сопло находилось на одном уровне с фильтросной пластиной. Распыляемый раствор закачивался в распылительную сушилку со скоростью около 280 г/минуту, с давлением распыления 550 фунт/кв. дюйм. Сушильный газ (азот) поступал в газовый диспергатор при температуре на входе 132°C и скорости потока 1280 г/минуту. Испаренный растворитель и влажный сушильный газ удалялись из распылительной сушилки при температуре выхода 37°C. Образованная этим способом высушенная распылением дисперсия накапливалась в циклоне и влажный сушильный газ удалялся в пылеуловительную камеру, затем поступал в конденсатор, после чего в рабочий нагреватель и затем рециркулировал обратно в камеру распылительной сушки. Температура выхода конденсатора составляла 18°C.
Твердоаморфная дисперсия после распылительной сушки имела следующие свойства:
| Таблица 1 |
| Объемные характеристики |
Значение |
| Насыпной удельный объем (г/см3) |
4,1 |
| Выявляемый удельный объем (г/см3) |
2,6 |
| Коэффициент Хаузнера |
1,58 |
| Средний диаметр частицы (мкм) |
50 |
| D10, D50, D60 (мкм) |
16,4, 45,8, 90,1 |
| Интервал (D90-D10)/D50 |
1,6 |
| Остаточный ацетон |
4,5% |
| * 10% объема частиц имеют диаметр, меньший чем D10; 50% объема частиц имеют диаметр, меньший чем D50, и 90% объема частиц имеют диаметр, меньший чем D90 |
Примеры 2-4
Примеры 2-4 были высушены распылением с использованием PSD-1 с рециркулированным сушильным газом, как описано для Примера 1. Получение дисперсии происходило путем образования распыляемого раствора, содержащего 4 мас.% лекарственного средства 1 и 12 мас.% ГПМЦАС в ацетоне, и распылительной сушки этих растворов с рабочими режимами, показанными в Таблице 2.
| Таблица 2 |
| Пример |
Поток сушильного газа (г/мин) |
Скорость подачи жидкости (г/мин) |
Давление сопла (фунт/кв. дюйм) |
Температура входа (°C) |
Темпера- тура выхода (°C) |
Температура выхода конденсатора (°C) |
Парциальное давление ацетона (мм рт. ст.) |
| 1 |
1280 |
280 |
550 |
132 |
37 |
-18 |
25,0 |
| 2 |
1277 |
280 |
550 |
133 |
39 |
-9,4 |
41,6 |
| 3 |
1260 |
280 |
550 |
130 |
38 |
-1,2 |
65,8 |
| 4 |
1270 |
280 |
550 |
134 |
39 |
8,9 |
110,3 |
После распылительной сушки твердоаморфная дисперсия имела следующие характеристики (Пример 1 повторно приводится для сравнения):
| Таблица 3 |
| Объемные характеристики |
Пример 1 |
Пример 2 |
Пример 3 |
Пример 4 |
| Насыпной удельный объем (г/см3) |
4,1 |
4,0 |
3,9 |
3,8 |
| Выявляемый удельный объем (г/см3) |
2,6 |
2,6 |
2,4 |
2,4 |
| Коэффициент Хаузнера |
1,58 |
1,54 |
1,63 |
1,58 |
| Средний диаметр частицы (мкм) |
50 |
49,2 |
45,7 |
46,2 |
| D10 |
16,4 |
16,3 |
14,6 |
15,6 |
| D50 |
45,8 |
44,9 |
41,6 |
42,2 |
D90 (мкм) |
90,1 |
88,9 |
83 |
83,1 |
| Интервал (D90-D10)/D50 |
1,6 |
1,6 |
1,6 |
1,6 |
| Остаточный ацетон |
4,5% |
3,4% |
3,1% |
4,8% |
Данные в Таблице 3 показывают, что включение в сушильный газ небольшого количества паров растворителя может снизить остаточный уровень растворителя и удельный объем частиц твердоаморфной дисперсии. Как показано в Таблице 3, самое низкое содержание остаточного растворителя в частицах твердоаморфной дисперсии наблюдалось при температуре выхода конденсатора, составляющей -1,2°C (Пример 3). При более низких температурах выхода конденсатора и, соответственно, более низком давлении паров растворителя в сушильном газе содержание остаточного растворителя увеличивается. Аналогично, при более высокой температуре выхода конденсатора, составляющей 8,9°C (Пример 4), уровень остаточного растворителя возрастает до 4,8 мас.% Таким образом, включая небольшое количество паров растворителя в сушильный газ, можно получать более низкое содержание остаточного растворителя в твердоаморфной дисперсии, чем при использовании сухого сушильного газа. С увеличением содержания паров растворителя в сушильном газе также уменьшается удельный объем частиц твердоаморфной дисперсии.
Примеры 5-6
Эти примеры демонстрируют усовершенствованный способ образования твердоаморфной дисперсии лекарственного средства 1 в полимере, повышающем концентрацию, с использованием распылительной сушилки портативного типа Niro PSD-2 с рециркулируемым сушильным газом. Твердоаморфная дисперсия производилась путем образования распыляемых растворов, содержащих 4 мас.% лекарственного средства 1 и 12 мас.% ГПМЦАС (AQUOT-MG, доступного от компании Shin Etsu, Tokyo, Japan) в ацетоне, и смешивания с использованием мешалки с малым сдвиговым усилием. Распыляемые растворы были высушены распылением с использованием сушильной камеры Niro PSD-2, оборудованной соплом высокого давления (Spraying Systems SK 70-27 с 60° поверхностью обратного конуса) и газового диспергатора DPH от компании Niro, Inc. Условия распыления показаны в Таблице 4 ниже.
| Таблица 4 |
| Пример |
Поток сушильного газа (м3/час) |
Скорость подачи жидкости (кг/час) |
Давление сопла (фунт/кв. дюйм) |
Температура входа (°C) |
Температура выхода (°C) |
Температура выхода конденсатора (°C) |
Парциальное давление ацетона (мм рт. ст.) |
| 5 |
530 |
70 |
700 |
115 |
40 |
-20 |
22,0 |
| 6 |
560 |
70 |
700 |
102 |
40 |
0 |
70,1 |
После распылительной сушки твердоаморфная дисперсия имела следующие характеристики:
| Таблица 5 |
| Объемные характеристики |
Пример 5 |
Пример 6 |
| Насыпной удельный объем (г/см3) |
4,2 |
3,9 |
| Выявляемый удельный объем (г/см3) |
2,5 |
2,3 |
| Коэффициент Хаузнера |
1,68 |
1,70 |
| Средний диаметр частицы (мкм) |
74 |
77 |
| D10 |
26 |
23 |
| D50 |
67 |
64 |
D90 (мкм) |
134 |
131 |
| Интервал (D90-D10)/D50 |
1,60 |
1,68 |
| Остаточный ацетон |
5,4% |
3,5% |
Примеры 5 и 6 повторно показывают, что с повышением температуры выхода конденсатора от -20 до 0°C (в Примере 5 до Примера 6) увеличение концентрации паров ацетона в сушильном газе ведет к уменьшению содержания остаточного растворителя и насыпного удельного объема.
Пример 7
Распыляемый раствор, включающий 4 мас.% лекарственного средства 1, 12 мас.% полимера гидроксипропилметилцеллюлозы ацетатсукцината и 84 мас.% растворителя ацетона, распыляется с использованием системы распылительной сушки из Примера 5. Поддерживается давление сопла, составляющее от 500 до 800 фунт/кв. дюйм, предпочтительно от 600 до 700 фунт/кв. дюйм. Давление в сушильной камере поддерживается в диапазоне от 175 до 325 мм водяного столба (мм в.ст.), предпочтительно от 225 до 325 мм в.ст. Температуру сушильного газа, поступающего в сушилку, доводят до температуры входа, составляющей от 90 до 150°C, предпочтительно от 100 до 130°C. Скорость подачи распыляемого раствора устанавливается от 50 до 85 кг/час, более предпочтительно от 60 до 75 кг/час. Скорость потока сушильного газа устанавливается от 400 до 500 м3/час, предпочтительно от 470 до 480 м3/час. Температура входа и скорость подачи распыляемого раствора регулируются таким образом, чтобы поддерживать температуру выхода от 35 до 45°C, предпочтительно от 38 до 42°C. Частицы твердоаморфной дисперсии накапливаются в циклоне, имеющем избыточное давление от 90 до 170 мм в.ст., предпочтительно от 110 до 150 мм в.ст. Сушильный газ рециркулирует через конденсатор и поддерживается температура выхода конденсатора, составляющая от -30 до 0°C, предпочтительно от -25 до -15°C.
Пример 8
Распыляемый раствор, включающий 4 мас.% лекарственного средства 1, 12 мас.% полимера гидроксипропилметилцеллюлозы ацетатсукцината и 84 мас.% растворителя ацетона, распыляется в сушильную камеру, имеющую объем около 21 м3. Распылитель – это сопло высокого давления, имеющее внутреннюю стенку, определяемую поверхностью в форме сходящегося конуса, смежную с выходом. Поддерживаемое давление сопла составляет от около 2000 до около 3000 фунт/кв. дюйм. Давление в сушильной камере поддерживается в диапазоне от около 0 до 800 мм в.ст. Температура поступающего в сушилку сушильного газа доведена до температуры входа, составляющей от 100 до 200°C, предпочтительно от 120 до 160°C. Скорость подачи распыляемого раствора устанавливается от 400 до 500 кг/час. Скорость потока сушильного газа устанавливается от 2000 до 2500 м3/час. Температура входа и скорость подачи распыляемого раствора регулируются таким образом, чтобы температура выхода поддерживалась от 35 до 45°C, предпочтительно от 38 до 42°C. Частицы твердоаморфной дисперсии накапливаются в циклоне. Сушильный газ рециркулирует через конденсатор и температура выхода конденсатора поддерживается в диапазоне от -30 до 0°C, предпочтительно от -25 до -15°C.
Формула изобретения
1. Способ получения фармацевтической композиции, содержащей твердоаморфную дисперсию, содержащую лекарственное средство и полимер, включающий следующие стадии: (а) обеспечения сушильной установки, имеющей распылитель, соединенный с сушильной камерой, причем указанная сушильная камера имеет вход и выход;
(б) получения распыляемого раствора путем растворения указанного труднорастворимого лекарственного средства и указанного полимера в растворителе, где указанный полимер выбирают из группы, состоящей из гидроксипропилметилцеллюлозы ацетат сукцината, гидроксипропилметилцеллюлозы, гидроксипропилметилцеллюлозы фталата, карбоксиметилэтилцеллюлозы, ацетофталата целлюлозы и ацетотримеллитата целлюлозы;
(в) распыления указанного распыляемого раствора через указанный распылитель в указанную камеру для образования капелек, имеющих средний объем менее 500 мкм;
(г) пропускания сушильного газа через указанный вход при таких скорости потока и температуре Твхода, при которых указанные капельки затвердевают с образованием указанной твердоаморфной дисперсии указанного труднорастворимого лекарственного средства в указанном полимере менее чем примерно через 20 с;
(д) где указанная твердоаморфная дисперсия указанного труднорастворимого лекарственного средства в указанном полимере обеспечивает либо повышение концентрации, либо более быстрое растворение указанного труднорастворимого лекарственного средства в водной среде использования относительно контрольной композиции, состоящей только из указанного труднорастворимого лекарственного средства; где скорость подачи указанного распыляемого раствора составляет по меньшей мере 10 кг/ч, и указанная скорость подачи указанного распыляемого раствора и указанная Твхода указанного сушильного газа регулируется таким образом, что указанный сушильный газ на указанном выходе имеет температуру Твыхода, и указанная Твыхода ниже, чем указанная точка кипения указанного растворителя; и где указанный сушильный газ дополнительно содержит указанный растворитель в парообразной форме.
2. Способ получения фармацевтической композиции, содержащей твердоаморфную дисперсию, содержащую лекарственное средство и полимер, включающий стадии (а) обеспечения сушильной установки, имеющей распылитель, соединенный с сушильной камерой, причем указанная сушильная камера имеет вход и выход;
(б) получения распыляемого раствора путем растворения указанного труднорастворимого лекарственного средства и указанного полимера в растворителе, где указанное труднорастворимое лекарственное средство выбирают из группы, состоящей из ингибиторов СЕТР и противовирусных препаратов;
(в) распыления указанного распыляемого раствора через указанный распылитель в указанную камеру для образования капелек, имеющих средний объем менее 500 мкм;
(г) пропускания сушильного газа через указанный вход при таких скорости потока и температуре Твхода, при которых указанные капельки затвердевают с образованием указанной твердоаморфной дисперсии указанного труднорастворимого лекарственного средства в указанном полимере менее чем примерно через 20 с;
(д) где указанная твердоаморфная дисперсия указанного труднорастворимого лекарственного средства в указанном полимере обеспечивает либо повышение концентрации, либо более быстрое растворение указанного труднорастворимого лекарственного средства в водной среде использования относительно контрольной композиции, состоящей только из указанного единственного труднорастворимого лекарственного средства; где скорость подачи указанного распыляемого раствора составляет по меньшей мере 10 кг/ч, и указанная скорость подачи указанного распыляемого раствора и указанная Твхода указанного сушильного газа регулируется таким образом, что указанный сушильный газ на указанном выходе имеет температуру Твыхода; и указанная Твыхода ниже, чем указанная точка кипения указанного растворителя; и где указанный сушильный газ дополнительно содержит указанный растворитель в парообразной форме.
3. Способ по п.1 или 2, в котором указанная Твыхода по меньшей мере на 5°С ниже, чем указанная точка кипения указанного растворителя.
4. Способ по п.1 или 2, в котором указанная Твыхода по меньшей мере на 10°С выше, чем точка росы указанного растворителя в указанной сушильной камере.
5. Способ по п.1 или 2, в котором указанная Твыхода ниже, чем температура стеклования указанной твердоаморфной дисперсии.
6. Способ по п.1 или 2, дополнительно включающий систему рециркуляции сушильного газа для рециркуляции по меньшей мере части указанного сушильного газа от указанного выхода к указанному входу, причем указанная система рециркуляции включает систему удаления растворителя.
7. Способ по п.6, в котором указанный сушильный газ, выходящий из указанной системы удаления растворителя, имеет точку росы растворителя ниже 20°С.
8. Способ по п.1 или 2, в котором указанное соотношение указанной скорости потока указанного сушильного газа к указанной скорости подачи распыляемого раствора составляет по меньшей мере 4 м3/кг.
9. Способ по п.1 или 2, в котором указанный распылитель представляет собой сопло высокого давления, причем указанное сопло высокого давления определено поверхностью в форме сужающегося конуса, смежной с указанным отверстием.
10. Способ по п.1 или 2, в котором указанный распыляемый раствор имеет скорость подачи по меньшей мере 200 кг/ч.
11. Способ по п.1 или 2, в котором указанная Твхода варьируется от 90 до 130°С и указанная Твыхода варьируется от 35 до 45°С.
12. Способ по п.1 или 2, в котором указанная твердоаморфная дисперсия имеет остаточное содержание растворителя менее 10 мас.% и удельный объем меньше, чем 10 см3/г.
13. Способ по п.1, в котором указанным труднорастворимым лекарственным средством является торцетрапиб и указанным полимером является гидроксипропилметилцеллюлозы ацетат сукцинат.
РИСУНКИ
MM4A – Досрочное прекращение действия патента СССР или патента Российской Федерации на изобретение из-за неуплаты в установленный срок пошлины за поддержание патента в силе
Дата прекращения действия патента: 28.07.2009
Извещение опубликовано: 27.07.2010 БИ: 21/2010
|
|