Патент на изобретение №2318486

Published by on




РОССИЙСКАЯ ФЕДЕРАЦИЯ



ФЕДЕРАЛЬНАЯ СЛУЖБА
ПО ИНТЕЛЛЕКТУАЛЬНОЙ СОБСТВЕННОСТИ,
ПАТЕНТАМ И ТОВАРНЫМ ЗНАКАМ
(19) RU (11) 2318486 (13) C2
(51) МПК

A61H7/00 (2006.01)

(12) ОПИСАНИЕ ИЗОБРЕТЕНИЯ К ПАТЕНТУ

Статус: по данным на 08.11.2010 – прекратил действие, но может быть восстановлен

(21), (22) Заявка: 2005137700/14, 04.05.2004

(24) Дата начала отсчета срока действия патента:

04.05.2004

(30) Конвенционный приоритет:

05.05.2003 (пп.3, 4, 5) US 10/429,345
16.05.2003 (п.2) US 10/249,915
27.05.2003 (п.1) US 10/445,517
07.07.2003 (п.7) US 10/614,592
11.07.2003 (п.6) US 10/617,896

(43) Дата публикации заявки: 10.06.2006

(46) Опубликовано: 10.03.2008

(56) Список документов, цитированных в отчете о
поиске:
US 2003/0018284 A1, 23.06.2003. US 6243609 B1, 05.06.2001. US 2002/0193713 A1, 19.12.2002. US 2310106 A, 02.02.1943. US 6409689 B1, 25.06.2002. SU 1708335 A1, 30.01.1992.

(85) Дата перевода заявки PCT на национальную фазу:

05.12.2005

(86) Заявка PCT:

IB 2004/050582 (04.05.2004)

(87) Публикация PCT:

WO 2004/098482 (18.11.2004)

Адрес для переписки:

129010, Москва, ул. Б.Спасская, 25, стр.3, ООО “Юридическая фирма Городисский и Партнеры”, пат.пов. С.А.Дорофееву

(72) Автор(ы):

КИМ Хакдзин (US)

(73) Патентообладатель(и):

КИМ Хакдзин (US)

(54) ГОРИЗОНТАЛЬНЫЙ МАССАЖЕР

(57) Реферат:

Изобретение относится к области медицины и может быть использовано для массажа. Технический результат – улучшение терапевтического эффекта. Горизонтальный массажер содержит несущую раму, имеющую удлиненную верхнюю панель, в которой по центру и в продольном направлении удлиненной верхней панели сформирован удлиненный верхний проем; ползун, расположенный под удлиненной верхней панелью несущей рамы; направляющий элемент, установленный с возможностью движения между несущей рамой и ползуном таким образом, что ползун может совершать горизонтальное возвратно-поступательное движение относительно несущей рамы; подъемник, имеющий верхнюю пластину, нижнюю пластину и подъемное средство, перемещающее верхнюю пластину по вертикали относительно нижней пластины; и массирующие выступы, прикрепленные к верхней пластине подъемника и перемещающиеся по вертикали и/или по горизонтали вдоль удлиненного верхнего проема удлиненной верхней панели несущей рамы. Массирующие выступы представляют собой закругленные выступы, зафиксированные на верхней пластине. Массажер содержит нагревательный элемент, распределенный в верхней панели несущей рамы. Подъемное средство содержит первую гайку, первый винт и электродвигатель. Верхняя пластина имеет верхнюю внешнюю поверхность и верхнюю внутреннюю поверхность. Нижняя пластина имеет нижнюю внешнюю поверхность и нижнюю внутреннюю поверхность. Первый винт в вертикальном положении и с возможностью вращения прикреплен к нижней внутренней поверхности. Первая гайка прикреплена к верхней внутренней поверхности, при этом первый винт входит в зацепление с первой гайкой таким образом, что вращение первого винта вызывает подъем или опускание первой гайки. Электродвигатель вращает первый винт либо по часовой стрелке, либо против часовой стрелки. Подъемник также содержит второй винт, вертикально и с возможностью вращения прикрепленный к нижней внутренней поверхности, и вторую гайку, прикрепленную к верхней внутренней поверхности. Второй винт входит в зацепление со второй гайкой таким образом, что вращение второго винта вызывает подъем или опускание второй гайки. Первый винт и второй винт отнесены друг от друга на заданное расстояние и соединены механической передачей таким образом, что они вращаются совместно. Первый винт и второй винт объединены с верхней пластиной подъемника. Механическая передача включает первую звездочку, которая зафиксирована относительно первого винта, вторую звездочку, которая зафиксирована относительно второго винта, и цепь, которая обернута вокруг первой и второй звездочек. Подъемник также содержит червячное колесо, прикрепленное к первому винту, и червячную передачу, прикрепленную к электродвигателю. 5 н. и 2 з.п. ф-лы, 42 ил.

Область техники, к которой относится изобретение

Изобретение в целом относится к массирующему устройству. Более конкретно, настоящее изобретение относится к усовершенствованному горизонтальному массажеру, способному эффективно лечить физические дисфункции, такие как позвоночная боль и слабость желудочно-кишечного тракта, посредством применения лечебного массажа вдоль позвоночника и шеи пациента, лежащего на массажере, массирующие выступы которого движутся по горизонтали и вертикали вдоль позвоночника пациента и шеи, когда вертикальное движение массирующих выступов приводится механизмом прямолинейного вертикального движения.

В обычных массажных устройствах типа кровати или мата используют пружинный механизм для вертикального перемещения массирующих выступов. Как описано в патенте США № 6454732, пружинный механизм обеспечивает мягкое перемещение массирующих выступов вверх и вниз. Однако, когда необходим терапевтический эффект, пружинный механизм показывает себя слишком мягким для выталкивания вверх массирующих выступов, когда требуется более сильное давление, поскольку упругость пружин прилагается одинаково к пациентам, лежащим на массирующем устройстве, независимо от потребностей пациента.

Сущность изобретения

Настоящее изобретение разработано для преодоления недостатков известного уровня техники. Соответственно, задачей настоящего изобретения является получение горизонтального массажера, который улучшает терапевтические эффекты благодаря применению механизма прямолинейного движения для вертикального перемещения массирующих выступов. Такой механизм прямолинейного движения включает винтовой подъемный механизм, многосекционный шестеренный механизм, механизм с зубчатой рейкой, гидравлический подъемный механизм и подъемный механизм с пневматическим цилиндром.

Другой задачей является стабилизация вертикального движения массирующих выступов, таким образом, позволяющая пациентам принимать стабильный и сильный массаж массирующими выступами, воздействующими на их позвоночник и шею. Другой задачей является повышение надежности изделия и его привлекательности для потребителя посредством механической стабилизации вертикального движения массирующих выступов.

Для решения этих и других задач горизонтальный массажер, соответствующий настоящему изобретению, включает несущую раму, имеющую удлиненную верхнюю панель, в центре которой сформирован продольный сквозной проем, ползун, расположенный под удлиненной верхней панелью несущей рамы, направляющий элемент, с возможностью движения установленный между несущей рамой и ползуном таким образом, чтобы обеспечивать совершение ползуном горизонтального возвратно-поступательного движения относительно несущей рамы, подъемник, имеющий верхнюю пластину, нижнюю пластину и подъемное средство, перемещающее верхнюю пластину по вертикали относительно нижней пластины, массирующие выступы, прикрепленные к верхней пластине подъемника и совершающие вертикальное и/или горизонтальное движение вдоль удлиненного верхнего проема удлиненной верхней панели несущей рамы, и подкладку, накрывающую массирующие выступы и удлиненный верхний проем несущей рамы. Подъемное средство подъемника непосредственно перемещает верхнюю пластину, совершающую линейное движение.

Массирующие выступы разделены на первую и вторую пары. Первая пара выступов выровнена параллельно второй паре выступов.

Горизонтальный массажер также включает первый и второй держатели выступов, удерживающие первую и вторую пары выступов над верхней пластиной подъемника, первый крепежный элемент для прикрепления с возможностью качания нижних концов держателей выступов к верхней пластине подъемника и второй крепежный элемент для прикрепления к ней с возможностью качения массирующих выступов. Первый и второй держатели выступов суживаются к их нижнему концу.

Предпочтительно массирующие выступы являются шариковыми и выполнены из нефрита. Каждый из массирующих выступов включает нагреватель. Нагреватель представляет собой нагревательную лампу, генерирующую тепло и инфракрасные лучи.

В альтернативном варианте массирующие выступы представляют собой закругленные выступы, прикрепленные к верхней пластине.

Горизонтальный массажер может также включать нагревательный элемент, распределенный по верхней панели несущей рамы.

Направляющий элемент включает одну или более роликовых шестерен, соединенных с приводным электродвигателем, и одну или более боковых зубчатых реек, параллельных друг другу и расположенных продольно в несущей раме. Электродвигатель привода роликовых шестерен прикреплен к ползуну. Роликовые шестерни с возможностью качения соединены с ползуном и с возможностью вращения установлены на боковых зубчатых рейках.

В альтернативном варианте направляющий элемент включает направляющие ролики ползуна, расположенные на каждой стороне ползуна, и пару шкивов, соединенных шнуром и соответственно установленных на передней оконечной части и задней оконечной части несущей рамы. Направляющие ролики ползуна с возможностью качения входят в контакт с несущей рамой для направления горизонтального возвратно-поступательного движения ползуна. Заданная часть шнура неподвижно прикреплена к ползуну таким образом, что вращение шкива вызывает горизонтальное возвратно-поступательное движение ползуна. Шкивы повернуты на 90 градусов относительно друг друга.

Горизонтальный массажер может также включать пару роликовых “горок”, параллельных друг другу, и накатывающиеся направляющие ролики, сформированные снаружи и отступающие от каждой стороны подъемника. Роликовые “горки” прикреплены к несущей раме. Каждая из роликовых “горок” имеет по существу волнообразную верхнюю поверхность. Накатывающиеся направляющие ролики позволяют подъемнику совершать накатывающееся движение по волнообразным поверхностям роликовых “горок” и вдоль них. Каждая из волнообразных поверхностей роликовых “горок” по существу имеет кривизну человеческого позвоночника.

Подъемник также включает множество удлиненных направляющих, отступающих вниз от нижней пластины, и ползун также включает множество направляющих гильз, сформированных вертикально на ползуне для приема с возможностью освобождения удлиненных направляющих для стабилизации накатывающегося движения подъемника вдоль роликовых “горок”. Удлиненные направляющие имеют конфигурацию пальцев.

В первом варианте осуществления настоящего изобретения подъемное средство включает первую гайку, первый винт и электродвигатель. Верхняя пластина имеет верхнюю поверхность верхней пластины и нижнюю поверхность верхней пластины. Нижняя пластина имеет нижнюю поверхность нижней пластины и верхнюю поверхность нижней пластины. Первый винт вертикально и с возможностью вращения прикреплен к верхней поверхности нижней пластины. Первая гайка прикреплена к нижней поверхности верхней пластины. Первый винт входит в зацепление с первой гайкой таким образом, что вращение первого винта вызывает подъем первой гайки или опускание первой гайки. Электродвигатель вращает первый винт либо по часовой стрелке, либо против часовой стрелки.

Подъемник также включает второй винт, вертикально и с возможностью вращения прикрепленный к верхней поверхности нижней пластины, и вторую гайку, прикрепленную к нижней поверхности верхней пластины. Второй винт входит в зацепление со второй гайкой таким образом, что вращение второго винта вызывает подъем второй гайки или опускание второй гайки. Первый винт и второй винт отнесены друг от друга на заданное расстояние. Первый винт и второй винт соединены механической передачей таким образом, что они вращаются совместно.

Первый винт и второй винт соединены с верхней пластиной подъемника.

Механическая передача включает первую звездочку, которая прикреплена к первому винту, вторую звездочку, которая прикреплена ко второму винту, и цепь, которая обернута вокруг первой звездочки и второй звездочки.

Подъемник также включает червячное колесо, прикрепленное к первому винту, и червячную передачу, прикрепленную к электродвигателю.

Во втором варианте осуществления настоящего изобретения подъемное средство включает удлиненные направляющие, отступающие от краев верхней пластины, зубчатую передачу, включающую ходовой винт, отступающий вниз от верхней пластины подъемника, удлиненную передачу гаечного типа, имеющую круглую внешнюю поверхность, первое зубчатое колесо, представляющее собой единое целое с круглой внешней поверхностью, и второе зубчатое колесо, входящее в зацепление с первым зубчатым колесом и соединенное с первым электродвигателем, прикрепленным к нижней пластине. Ходовой винт с возможностью освобождения входит в зацепление с передачей гаечного типа, нижний конец которой с возможностью вращения прикреплен к нижней пластине и удерживается ею. Вращение второго зубчатого колеса вызывает вращение первого зубчатого колеса, и следующее из этого вращение передачи гаечного типа вызывает вертикальное возвратно-поступательное движение верхней пластины в соответствии с взаимодействием с возможностью освобождения ходового винта и передачи гаечного типа. Удлиненные направляющие с возможностью освобождения входят в направляющие гильзы, сформированные на верхней поверхности нижней пластины, для стабилизации вертикального возвратно-поступательного движения верхней пластины относительно нижней пластины.

Первое и второе зубчатые колеса представляют собой конические зубчатые колеса. В альтернативном варианте второе зубчатое колесо представляет собой вал со спиральной резьбой. В альтернативном варианте второе зубчатое колесо представляет собой вал со спиральной резьбой, и первое зубчатое колесо блокировано в радиальном направлении.

В третьем варианте осуществления настоящего изобретения в нижней пластине сформировано вертикальное сквозное отверстие подъемника, образующее внутреннюю периферийную поверхность нижней пластины. Подъемное средство включает входящий в зацепление корпус, отступающий вниз от верхней пластины. Во входящем в зацепление корпусе сформирован удлиненный по вертикали сквозной проем, образующий вертикальные стенки во входящем в зацепление корпусе. Одна из вертикальных стенок конфигурирована как вертикальная зубчатая рейка, при этом первая роликовая шестерня с возможностью качения входит в зацепление с вертикальной зубчатой рейкой, посредством чего вращение роликовой шестерни первым электродвигателем вызывает вертикальное возвратно-поступательное движение подъемника через отверстие подъемника, при этом входящий в зацепление корпус с возможностью движения поддерживается внутренней периферийной поверхностью подъемника.

Горизонтальный массажер также включает неподвижный суппорт, сформированный на верхней поверхности нижней пластины для стабилизации вертикального возвратно-поступательного движения подъемника. Суппорт по существу окружает входящий в зацепление корпус для стабилизации вертикального возвратно-поступательного движения входящего в зацепление корпуса.

В суппорте сформирован вертикальный сквозной паз. Сквозь вертикальный паз от входящего в зацепление корпуса горизонтально проходит сигнальная планка для облегчения контролируемого вертикального возвратно-поступательного движения подъемника.

Горизонтальный массажер также включает пару концевых выключателей, соответственно сформированных вблизи каждого конца вертикального паза для дополнительного облегчения управления вертикальным возвратно-поступательным движением подъемника.

В четвертом варианте осуществления настоящего изобретения горизонтальный массажер также включает одну или более направляющих подъемника, отступающих вниз от верхней пластины, и одну или более направляющих гильз, отступающих вверх от нижней пластины для приема с возможностью освобождения направляющих подъемника. Подъемное средство включает гидравлический привод, прикрепленный к нижней пластине, и гидравлический регулятор. Гидравлический регулятор управляет работой гидравлического привода. Верхняя пластина имеет верхнюю поверхность верхней пластины и нижнюю поверхность верхней пластины. Нижняя пластина имеет верхнюю поверхность нижней пластины и нижнюю поверхность нижней пластины. Гидравлический привод имеет полый цилиндр, поршень, совершающий возвратно-поступательное движение в цилиндре, и шток, прикрепленный к поршню и к верхней пластине.

Цилиндр гидравлического привода включает верхнее отверстие, расположенное вблизи одного конца гидравлического привода, обращенного к верхней пластине подъемника, и нижнее отверстие, расположенное вблизи другого конца гидравлического привода. Когда гидравлический привод поднимает верхнюю пластину, гидравлический регулятор подает рабочую жидкость в цилиндр через нижнее отверстие и выпускает рабочую жидкость через верхнее отверстие, и когда гидравлический привод опускает верхнюю пластину, гидравлический регулятор подает рабочую жидкость в цилиндр через верхнее отверстие и выпускает рабочую жидкость через нижнее отверстие.

Гидравлический регулятор включает насос, который создает давление в рабочей жидкости, и клапанный узел, который избирательно подает рабочую жидкость в гидравлический привод.

Клапанный узел включает клапанную камеру, первый поршень, второй поршень, клапанный канал и шток клапана. Первый поршень и второй поршень неподвижно прикреплены к штоку клапана и совершают возвратно-поступательное движение в клапанной камере. Клапанная камера включает первое отверстие, второе отверстие, третье отверстие, четвертое отверстие, пятое отверстие, шестое отверстие и первое отверстие для штока. Шток клапана проходит наружу из клапанной камеры через первое отверстие для штока. Канал клапана расположен снаружи от клапанной камеры и соединяет пятое отверстие и шестое отверстие. Гидравлический регулятор также включает первый канал, который соединяет первое отверстие клапанной камеры и верхнее отверстие гидравлического привода, второй канал, который соединяет насос и второе отверстие клапанной камеры, третий канал, который соединяет третье отверстие клапанной камеры и нижнее отверстие гидравлического привода, четвертый канал, который соединяет четвертое отверстие и насос. Когда осуществляется подъем верхней пластины, первый поршень и второй поршень перемещаются в положение подъема, в котором первый поршень и второй поршень перегораживают клапанную камеру таким образом, что рабочая жидкость проходит из насоса в нижнее отверстие гидравлического привода по второму каналу и третьему каналу таким образом, что поршень отталкивается вверх, и рабочая жидкость поступает из верхнего отверстия гидравлического привода в насос по первому каналу, клапанному каналу и четвертому каналу, возвращаясь для дальнейшего использования. Когда осуществляется опускание верхней пластины, первый поршень и второй поршень перемещаются в положение опускания, в котором первый поршень и второй поршень перегораживают клапанную камеру таким образом, что рабочая жидкость проходит из насоса в верхнее отверстие гидравлического привода по первому каналу и второму каналу так, что поршень отталкивается вниз, и рабочая жидкость проходит из нижнего отверстия гидравлического привода в насос по третьему каналу и четвертому каналу, возвращаясь для дальнейшего использования. Когда не осуществляются ни подъем верхней пластины, ни ее опускание, первый поршень и второй поршень перемещаются в нейтральное положение, в котором первый поршень и второй поршень блокируют первое отверстие и третье отверстие таким образом, что рабочая жидкость не проходит между гидравлическим регулятором и гидравлическим приводом.

Гидравлический регулятор также включает накопитель рабочей жидкости, расположенный между насосом и клапанным узлом. Накопитель рабочей жидкости содержит рабочую жидкость под давлением.

Гидравлический регулятор также включает первый соленоид, который прилагает усилие для перемещения штока клапана клапанного узла в клапанную камеру и из нее таким образом, что первый поршень и второй поршень перемещаются в положение подъема и положение опускания, и между первым соленоидом и клапанной камерой установлена первая пружина для возвращения первого поршня и второго поршня в нейтральное положение, когда усилие первым соленоидом не прилагается.

Гидравлический регулятор также включает соединение между штоком клапана и первым соленоидом. Соединение реверсирует направление движения первого соленоида, и первая пружина установлена между клапанной камерой и соединением.

Гидравлический регулятор также включает второй соленоид, который прилагает усилие для перемещения штока клапана клапанного узла в клапанную камеру и из нее таким образом, что первый поршень и второй поршень перемещаются в положение подъема или в положение опускания, и вторую пружину, установленную между вторым соленоидом и клапанной камерой для возвращения первого поршня и второго поршня в нейтральное положение, когда усилие не прилагается первым соленоидом. Клапанная камера также включает второе отверстие для штока, противоположное первому отверстию для штока, и шток клапана проходит из клапанной камеры через второе отверстие для штока.

В пятом варианте осуществления настоящего изобретения подъемное средство включает гидравлический цилиндр, прикрепленный к нижней пластине, и компрессор, подающий жидкость под давлением в гидравлический цилиндр. Гидравлический цилиндр имеет шток цилиндра, соединенный с верхней пластиной. Шток цилиндра перемещает верхнюю пластину вверх и вниз.

Подъемник также включает направляющий ствол, прикрепленный между штоком цилиндра и верхней пластиной, и направляющую опору, которая направляет направляющий ствол. Направляющая опора прикреплена к нижней пластине. Направляющая опора имеет направляющее отверстие, которое принимает направляющий ствол. Направляющий ствол имеет многоугольное сечение, и направляющее отверстие имеет такое же многоугольное сечение. Предпочтительно направляющий ствол имеет квадратное сечение.

Подъемник также включает пружину растяжения, зафиксированную между верхней пластиной и нижней пластиной. Гидравлический цилиндр преодолевает усилие, прилагаемое пружиной растяжения, для перемещения верхней пластины.

Гидравлический цилиндр может приводиться в действие сжатым воздухом или гидравлическим маслом под давлением.

Преимущества настоящего изобретения заключаются в следующем: (1) подъемный механизм минимизирует количество деталей, требуемых для вертикального движения при массаже, одновременно улучшая стабильность вертикального возвратно-поступательного движения подъемника, несущего массирующие выступы; (2) подъемный механизм обеспечивает плавную и правильную работу подъемника; и (3) накатывающийся элемент, работающий во взаимодействии с роликовыми “горками” для осуществления дополнительного подъема с использованием горизонтального возвратно-поступательного движения, обеспечивает продолжение плавного, устойчивого и жесткого массажа пациента, по существу улучшая эффект массажа и следующую из этого максимизацию удовлетворения потребителя; (4) многосекционный шестеренный механизм, в котором использован ходовой винт и удлиненная винтовая передача гаечного типа для вертикального перемещения массирующих выступов, существенно уменьшает боли, возникающие при использовании обычного массажера с применением заданной жесткой траектории движения, которой следует ползун без допущения упругости по вертикали, что, таким образом, повышает надежность изделия и удовлетворительность для потребителя; (5) механизм с вертикальной зубчатой рейкой минимизирует количество необходимых деталей для вертикального движения массирующих выступов посредством использования вертикального сквозного проема во входящем в зацепление корпусе и таким образом сформированных стенок, одна из которых конфигурирована как зубчатая рейка, при этом повышается стабильность вертикального возвратно-поступательного движения подъемника, несущего массирующие выступы; (6) входящий в зацепление корпус, отступающий вниз от подъемника, включает находящуюся в нем вертикальную зубчатую рейку и удерживает на себе подъемник при оптимальном взаимодействии с суппортом, который с возможностью движения удерживает входящий в зацепление корпус, таким образом повышая надежность изделия; (7) подъемный механизм с пневматическим цилиндром обеспечивает амортизирующее действие, когда массирующие выступы перемещаются в контакт с телом пациента; (8) пружина растяжения предотвращает резкий подъем массирующих выступов и обеспечивает хорошую управляемость работой пневматического цилиндра; (9) квадратный направляющий ствол и направляющая опора обеспечивают направляющее действие, устраняя необходимость в использовании отдельных направляющих элементов, таких как направляющие пальцы и направляющие гильзы.

Хотя настоящее изобретение описано кратко, полное понимание изобретения может быть достигнуто при ознакомлении с чертежами, нижеследующим подробным описанием и прилагаемой формулой изобретения.

Краткое описание чертежей

Эти и другие признаки, объекты и преимущества настоящего изобретения будут понятнее при обращении к прилагаемым чертежам, на которых:

фиг.1 – вид горизонтального массажера, соответствующего настоящему изобретению, с лежащим на нем пациентом;

фиг.2 – вид сверху, показывающий горизонтальный массажер, показанный на фиг.1, без пациента;

фиг.3 – вид в перспективе, показывающий в целом механизм горизонтального массажера, соответствующий первому варианту осуществления настоящего изобретения;

фиг.4 – частичный вид сверху, показывающий второй вариант осуществления настоящего изобретения;

фиг.5 – частичный вид в перспективе, показывающий механизм, соответствующий второму варианту осуществления настоящего изобретения;

фиг.6 – частичный вид в перспективе с пространственным разделением деталей, показывающий ползун и подъемник;

фиг.7 – вид в перспективе подъемника с нижней стороны подъемника;

фиг.8 – вид сечения подъемника;

фиг.9 – вид сбоку подъемника;

фиг.10 – вид в перспективе, показывающий подъемник в его самом верхнем положении;

фиг.11 – вид в перспективе, показывающий подъемник в его самом нижнем положении;

фиг.12 – вид в перспективе, показывающий другие массирующие выступы;

фиг.13 – вид в перспективе, показывающий подъемный механизм, приводимый коническими зубчатыми колесами;

фиг.14 – вид сечения, показывающий подъемный механизм, приводимый коническими зубчатыми колесами;

фиг.15 – схематический вид сверху, показывающий подъемный механизм, приводимый коническими зубчатыми колесами;

фиг.16А и 16В – рабочие виды в сечении, выполненном по линии XVI-XVI на фиг.15;

фиг.17 – схематический вид сверху, показывающий многосекционный шестеренный механизм;

фиг.18А и 18В – рабочие виды в сечении, выполненном по линии XVIII-XVIII на фиг.17;

фиг.19 – частичный вид в перспективе, показывающий вертикальное возвратно-поступательное движение подъемника;

фиг.20 – частичный вид в перспективе, показывающий подъем механизма;

фиг.21 – вид сверху, показывающий механизм с вертикальной зубчатой рейкой;

фиг.22 – вид сечения, выполненного по линии XVII-XVII на фиг.21;

фиг.23А-23D – виды, показывающие операции, выполняемые механизмом с вертикальной зубчатой рейкой;

фиг.24 – частичный вид в перспективе, показывающий подъем;

фиг.25 – частичный вид в перспективе с пространственным разделением деталей, показывающий ползун и подъемник;

фиг.26 – вид в перспективе подъемника, показывающий работу гидравлического подъемного механизма;

фиг.27 – вид спереди, показывающий подъемник в его самом нижнем положении;

фиг.28 – вид спереди, показывающий подъемник в его самом верхнем положении;

фиг.29 – вид сверху подъемника;

фиг.30 – вид подъемника в сечении, выполненном по линии ХХХ-ХХХ на фиг.29;

фиг.31 – вид в перспективе подъемника с прикрепленными к нему другими массирующими выступами;

фиг.32 – схематический вид сечения, показывающий гидравлический регулятор, работающий для подъема массирующих выступов на подъемнике;

фиг.33 – схематический вид сечения, показывающий гидравлический регулятор, работающий для остановки вертикального движения массирующих выступов;

фиг.34 – схематический вид сечения, показывающий гидравлический регулятор, работающий для опускания массирующих выступов на подъемнике;

фиг.35 – частичный вид в перспективе, показывающий подъемный механизм;

фиг.36 – частичный вид в перспективе с пространственным разделением деталей, показывающий ползун и подъемник;

фиг.37 – вид подъемника в перспективе;

фиг.38 – вид спереди, показывающий подъемник в его самом высоком положении;

фиг.39 – вид спереди, показывающий подъемник в его самом низком положении;

фиг.40 – вид подъемника сверху;

фиг.41 – вид сечения, выполненного по линии XXXXI-XXXXI на фиг.40, показывающий работу подъемного механизма с пневматическим цилиндром; и

фиг.42 – вид подъемника в перспективе с установленными на нем другими массирующими выступами.

Подробное описание предпочтительных вариантов осуществления изобретения

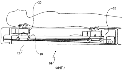
На фиг.1 схематически показан массажный механизм горизонтального массажера 10, соответствующего настоящему изобретению, и пациент, лежащий на нем для выполнения массажа тела, и на фиг. 2 показан вид сверху массажера 10 без пациента. Как здесь показано, горизонтальный массажер 10 включает несущую раму 12 кроватного типа или типа мата. Несущая рама 12 включает удлиненную верхнюю панель 14, и в центре и вдоль удлиненной верхней панели 14 сформирован сквозной удлиненный проем 16. Массажер 10 включает ползун 18 и подъемник 20. Ползун 18 расположен под удлиненной верхней панелью 14 несущей рамы 12. Для обеспечения дополнительного комфорта для пациента, лежащего на массажере 10, на протяжении верхней панели 14 распределены нагревательные элементы 15. Предпочтительно нагревательные элементы 15 сформированы вокруг удлиненного проема 16 для генерирования тепловых лучей заданной температуры.

Для обеспечения горизонтального возвратно-поступательного движения ползуна 18 применен направляющий элемент 26, с возможностью движения установленный между несущей рамой 12 и ползуном 18 таким образом, чтобы обеспечивать возможность горизонтального возвратно-поступательного движения ползуна 18 относительно несущей рамы 12. Здесь рекомендуется, чтобы направляющий элемент 26 был выполнен в форме желобчатого шкива или зубчатой рейки.

Как показано на фиг. 2 и фиг. 3, направляющий элемент 26, соответствующий варианту с желобчатым шкивом, включает шнур 28, пару шкивов 30 и электродвигатель 32 привода шкива, который приводит в действие один из шкивов 30. Шкивы 30 соединены шнуром 28 и, соответственно, установлены в передней концевой части 34 и в задней концевой части 36 несущей рамы 12. В предпочтительном варианте электродвигатель 32 привода шкива расположен так, что он соединен со шкивом 30, находящимся в задней концевой части 36 несущей рамы 12. В этой конструкции заданная часть 29 шнура 28 неподвижно прикреплена к ползуну 18 таким образом, что вращение шкива вызывает горизонтальное возвратно-поступательное движение ползуна 18. Предпочтительно шкивы 30 повернуты на 90 градусов относительно друг друга для облегчения горизонтального возвратно-поступательного движения ползуна 18 с улучшением управляемости возвратно-поступательного движения ползуна.

Между тем, на фиг. 4, 5 и 6 показан вариант осуществления изобретения с зубчатой рейкой для совершения горизонтального возвратно-поступательного движения ползуна 18. Как здесь показано, направляющий элемент 26 в варианте выполнения в форме зубчатой рейки включает пару боковых зубчатых реек 40, расположенных параллельно друг другу и продольно относительно несущей рамы 12, роликовую шестерню 42, ориентированную перпендикулярно боковым зубчатым рейкам 40, и электродвигатель 44 привода роликовой шестерни, прикрепленный к ползуну для приведения в действие роликовой шестерни 42. Роликовая шестерня 42 с возможностью вращения соединена с ползуном 18 и с возможностью качения установлена на боковых зубчатых рейках 40.

Для ускорения массажного эффекта массажер 10 включает одну или более пар роликовых “горок” 50, расположенных параллельно друг другу. Роликовые “горки” 50 прикреплены к несущей раме 12 над направляющими роликами 52 ползуна, сформированными на обеих сторонах ползуна 18 (см. фиг. 3). Направляющие ролики 52 ползуна с возможностью качения входят в зацепление с несущей рамой 12 для направления горизонтального возвратно-поступательного движения ползуна 18. То есть, роликовые “горки” 50 сформированы на каждой стороне несущей рамы 12. Здесь каждая роликовая “горка” 50 имеет по существу волнообразную верхнюю поверхность 54. Предпочтительно, чтобы каждая волнообразная верхняя поверхность 54 роликовых “горок” 50 по существу имела кривизну человеческого позвоночника.

Для использования с роликовыми “горками” 50 применены два накатывающихся направляющих ролика 90, отступающих наружу от каждой стороны подъемника 20. Накатывающиеся направляющие ролики 90 обеспечивают накатывающееся движение подъемника 20 на волнообразные верхние поверхности 54 роликовых “горок” 50 и вдоль них.

На фиг.5-12 показан первый вариант осуществления изобретения.

Как показано на фиг.7-11, подъемник 20 имеет верхнюю пластину 120, нижнюю пластину 122, первую гайку 124, первый винт 126 и электродвигатель 128. Верхняя пластина 120 имеет верхнюю поверхность 130 верхней пластины и нижнюю поверхность 132 верхней пластины. Нижняя пластина 122 имеет верхнюю поверхность 134 нижней пластины и нижнюю поверхность 136 нижней пластины. Первый винт 126 вертикально и с возможностью вращения прикреплен к верхней поверхности 134 нижней пластины при помощи подшипника 154. Первая гайка 124 может быть прикреплена к нижней поверхности 132 верхней пластины или включена в верхнюю пластину 120, как показано на фиг.8. Первый винт 126 входит в зацепление с первой гайкой 124 таким образом, что вращение первого винта 126 вызывает подъем первой гайки 124 или опускание первой гайки 124. Электродвигатель 128 вращает первый винт 124 либо по часовой стрелке, либо против часовой стрелки при помощи червячного колеса 138, прикрепленного к первому винту 126, и червячной передачи 140, прикрепленной к электродвигателю 128.

Подъемник также включает второй винт 142, вертикально и с возможностью вращения прикрепленный к верхней поверхности 134 нижней пластины при помощи подшипника 155, и вторую гайку 144, которая может быть прикреплена к нижней поверхности 132 верхней пластины. Вторая гайка 144 включена в верхнюю пластину 120. Второй винт 142 входит в зацепление со второй гайкой 144 таким образом, что вращение второго винта 142 вызывает подъем второй гайки 144 или опускание второй гайки 144. Первый винт 126 и второй винт 142 отнесены друг от друга на заданное расстояние. Первый винт 126 и второй винт 142 соединены механической передачей 146 таким образом, что они вращаются совместно. Наружные резьбы первого винта 126 и второго винта 142 одинаковы, и первая гайка 124 и вторая гайка 144 имеют соответствующие внутренние резьбы. Резьбовые соединения между винтами 126, 142 и гайками 124, 144 обеспечивают плавную, точную и бесшумную работу при подъеме и опускании верхней пластины 120 и, таким образом, массирующих выступов 98.

От нижней внешней поверхности 136 подъемника 20 отступают вниз удлиненные направляющие 62, и на ползуне 18 сформированы отступающие вверх направляющие гильзы 64 для приема с возможностью освобождения удлиненных направляющих 62 для стабилизации накатывающегося движения роликов подъемника 20 по роликовым “горкам” 50. Предпочтительно удлиненные направляющие 62 имеют форму пальцев.

Механическая передача 146 включает первую звездочку 148, которая прикреплена к первому винту 126, вторую звездочку 150, которая прикреплена ко второму винту 142, и цепь 152, которая обернута вокруг первой звездочки 148 и второй звездочки 150.

Поскольку первый винт 126 и второй винт 142 вращаются одновременно в одном направлении при помощи механической передачи 146, обеспечиваются сбалансированные и стабилизированные операции подъема и опускания верхней пластины 120.

От двух противоположных концов нижней пластины 122 отступают вниз две боковые стенки 156, и к боковым стенкам 156 с возможностью вращения прикреплены накатывающиеся направляющие ролики 90.

От углов прямоугольной нижней пластины 122 отступают вверх четыре угловых направляющих 158. Угловые направляющие 158 направляют и защищают четыре угла прямоугольной верхней пластины 120, когда она движется вверх и вниз.

Для конечного воздействия винтовым подъемным механизмом на пациента, лежащего на массажере 10, применены пять массирующих выступов 98, прикрепленных к верхней поверхности 130 верхней пластины подъемника 20 и движущихся по вертикали и/или по горизонтали вдоль удлиненного верхнего проема 16 удлиненной верхней панели 14 несущей рамы 12 (см. фиг.3). При необходимости для закрывания массирующих выступов 98 и удлиненного верхнего проема 16 несущей рамы 12 может использоваться подкладка 17. Массирующие выступы 98 представляют собой закругленные выступы, закрепленные на верхней поверхности 130 верхней пластины подъемника 20.

На фиг.10 показана верхняя пластина 120 в ее самом верхнем положении, то есть когда массирующие выступы 98 находятся в самом верхнем положении. На фиг.11 показана верхняя пластина 120 в ее самом нижнем положении, то есть когда массирующие выступы 98 находятся в самом нижнем положении.

На фиг.12 показан альтернативный вариант выполнения массирующих выступов 100. Массирующие выступы 100 предпочтительно разделены на первую и вторую пары 102 и 104. Здесь выступы первой пары 102 выровнены параллельно выступам второй пары 104. Каждый из массирующих выступов 100 включает нагреватель 106, которым может быть нагревательная лампа, генерирующая тепло и инфракрасные лучи.

Для дополнительного улучшения эффекта массажа применены первый и второй держатели 108, 110 выступов, удерживающие первую и вторую пары 102, 104 над верхней пластиной 120 подъемника 20. Для получения лучшего результата массажа первый и второй держатели 108, 110 выступов суживаются к нижнему их концу 109, и применены первый крепежный элемент 112 для прикрепления с возможностью качания нижних концов 109 держателей 108, 110 выступов к верхней пластине 120 подъемника 20 и второй крепежный элемент 116 для прикрепления к ней с возможностью качения массирующих выступов 100. Массирующие выступы 100 могут быть шариками, сформированными из драгоценного камня, такого как нефрит.

Каждый из крепежных элементов может представлять собой болт, ролик или другое крепежное средство. В этом механизме удерживания выступов держатели выступов гибко удерживают массирующие выступы на верхней пластине подъемника таким образом, что массирующие выступы с качением массируют спину и шею пациента, лежащего на несущей раме, равномерно распределяя массирующее усилие вдоль участков тела, толкаемых вверх массирующими выступами. То есть, качающийся механизм держателей выступов обеспечивает плавное следование выступами кривизне позвоночника пациента, лежащего на несущей раме, при этом каждый из массирующих выступов равномерно передает массирующее усилие массируемым участкам тела пациента. Избирательно между массирующими выступами и на верхней поверхности подъемника может быть расположен центральный выступ для выполнения функции жесткого массажа наряду с качающимся массирующим движением массирующих выступов.

На фиг.13-18В показан второй вариант осуществления изобретения.

Как показано на фиг.13 и 14, подъемник 220 имеет верхнюю пластину 224 и нижнюю пластину 226.

На фиг. 13-16В показан вариант механизма подъема выступов с коническим зубчатым колесом. Как здесь показано, для получения стабилизированного подъемного механизма подъемника 220 применен зубчатый узел 250, включающий ходовой винт 252, отступающий вниз от верхней пластины 224 подъемника 220. Для сопряжения с ходовым винтом 252 удлиненная зубчатая передача 254 гаечного типа включает круглую внешнюю периферийную поверхность 256, первое зубчатое колесо 258, выполненное как единое целое с круглой внешней периферийной поверхностью 256, и второе зубчатое колесо 260, входящее в зацепление с первым зубчатым колесом 258 и соединенное с первым электродвигателем 262, прикрепленным к нижней пластине 226. Предпочтительно, первое и второе зубчатые колеса 258, 260 представляют собой конические зубчатые колеса, входящие в зацепление друг с другом в перпендикулярной конфигурации таким образом, что первое зубчатое колесо 258 расположено перпендикулярно второму зубчатому колесу 260. В этой конструкции ходовой винт 252 с возможностью освобождения входит в зацепление с зубчатой передачей 254 гаечного типа, нижний конец 264 которой с возможностью вращения прикреплен к нижней пластине 226 и удерживается ею, в результате чего вращение второго зубчатого колеса вызывает вращение первого зубчатого колеса, и следующее из этого вращение зубчатой передачи 254 гаечного типа обеспечивает вертикальное возвратно-поступательное движение подъемника 220 в соответствии с освобождаемым зацеплением ходового винта 252 и зубчатой передачей 254 гаечного типа.

В альтернативном варианте, как показано на фиг. 17 и 18А-18В, каждая из которых иллюстрирует червячное устройство для механизма подъема выступов, первое зубчатое колесо 258 может быть сформировано в радиально зафиксированной конфигурации, и вторая зубчатая передача 260 может быть сформирована в конфигурации вала со спиральной резьбой таким образом, чтобы стабилизировать механизм подъема выступов. То есть, вторая зубчатая передача 260 сформирована как червячная передача, и первая зубчатая передача 258 сформирована как зубчатое колесо, краевые зубья которого в рабочем положении входят в зацепление с зубьями второй передачи 260. Многосекционный шестеренный механизм либо в варианте червячной передачи, либо в варианте с коническими зубчатыми колесами служит для улучшения эффективности операции подъема подъемником.

Первые удлиненные направляющие 228 с возможностью извлечения вставляются в первые направляющие втулки 230, сформированные на краях нижней пластины 226 для стабилизации вертикального возвратно-поступательного движения верхней пластины 224 подъемника 220.

Преимущество этого варианта осуществления изобретения состоит в том, что многосекционный шестеренный механизм с использованием ходового винта 252 и удлиненной передачи 254 гаечного типа для вертикального перемещения массирующих выступов 100 существенно облегчает боли, возникающие при использовании обычного массажера с использованием предварительно заданного жесткого шаблона, которому следует ползун 18 без допущения вертикальной упругости, и повышает надежность изделия.

На фиг.19-23В показан третий вариант осуществления изобретения.

Здесь применено роликовое зубчатое колесо 370 для подъема верхней пластины 320, прикрепленное к приводному электродвигателю 374, который прикреплен к нижней пластине 356. Здесь верхняя пластина 320 имеет верхнюю часть 376 и нижнюю часть 378, и входящий в зацепление корпус 380 отступает вниз от нижней части 378 подъемника 320. Во входящем в зацепление корпусе 380 сформирован удлиненный по вертикали проем 382 корпуса для образования вертикальных стенок 384 во входящем в зацепление корпусе 380. В этой конфигурации одна из вертикальных стенок 384 конфигурирована как вертикальная зубчатая рейка 386 таким образом, что роликовое зубчатое колесо 370 с возможностью качения входит в зацепление с вертикальной зубчатой рейкой 386, в результате чего вращение роликового зубчатого колеса электродвигателем 374 обеспечивает совершение подъемником 320 вертикального возвратно-поступательного движения сквозь проем 322, при этом входящий в зацепление корпус 380 с возможностью движения поддерживается внутренней периферийной поверхностью 324 подъемника 320.

Для стабилизации вертикального возвратно-поступательного движения подъемника 320, на верхней поверхности нижней пластины 356 сформирован неподвижный суппорт 388. Суппорт 388 в конечном счете служит для обеспечения дополнительной поддержки входящего в зацепление корпуса 380. В предпочтительном варианте суппорт 388 по существу окружает входящий в зацепление корпус 380 для стабилизации вертикального возвратно-поступательного движения входящего в зацепление корпуса 380.

Для взаимодействия с суппортом 388 в суппорте 388 может быть избирательно сформирован вертикальный сквозной паз 392, и сквозь вертикальный паз 392 от входящего в зацепление корпуса 380 горизонтально проходит сигнальная планка 394 для облегчения контролируемого вертикального возвратно-поступательного движения подъемника 320. Также может применяться пара концевых выключателей 396, соответственно сформированных вблизи каждого конца вертикального паза 392 для дополнительного облегчения управления вертикальным возвратно-поступательным движением подъемника 320.

Входящий в зацепление корпус 380, отступающий вниз от подъемника 320, включает находящуюся в нем вертикальную зубчатую рейку 386 и удерживает на себе подъемник 320, при этом оптимально взаимодействуя с суппортом 388, который с возможностью движения поддерживает входящий в зацепление корпус 380, что повышает надежность изделия.

На фиг.24-34 показан четвертый вариант осуществления изобретения.

Подъемник 420 имеет верхнюю пластину 520 и нижнюю пластину 522, гидравлический привод 602, прикрепленный к нижней пластине 522, и гидравлический регулятор 604.

Гидравлический регулятор 604 управляет работой гидравлического привода 602. Как показано на фиг.27 и 28, верхняя пластина 520 имеет верхнюю поверхность 605 верхней пластины и нижнюю поверхность 606 верхней пластины. Нижняя пластина 522 имеет верхнюю поверхность 608 нижней пластины и нижнюю поверхность 610 нижней пластины.

Как показано на фиг.30, гидравлический привод 602 имеет полый цилиндр 612, поршень 614, совершающий возвратно-поступательное движение в цилиндре 612, и шток 616, прикрепленный к поршню 614 и к верхней пластине 520. Четыре направляющих 618 подъемника отступают вниз от нижней поверхности 606 верхней пластины 520 в четырех углах верхней пластины 520. Четыре направляющих гильзы 620 подъемника отступают вверх от верхней поверхности 608 нижней пластины 522 и с возможностью освобождения принимают направляющие 618 подъемника.

Цилиндр 612 включает верхнее отверстие 622, расположенное вблизи одного конца гидравлического привода 602, обращенного к верхней пластине 520, и нижнее отверстие 624, расположенное вблизи другого конца гидравлического привода 602. Когда гидравлический привод 602 поднимает верхнюю пластину 520, гидравлический регулятор 604 подает рабочую жидкость в цилиндр 612 через нижнее отверстие 624 и выпускает рабочую жидкость через верхнее отверстие 622. Когда гидравлический привод 602 опускает верхнюю пластину 520, гидравлический регулятор 604 подает рабочую жидкость в цилиндр 612 через верхнее отверстие 622 и выпускает рабочую жидкость через нижнее отверстие 624.

На фиг. 32-34 схематически показан гидравлический регулятор 604. Гидравлический регулятор 604 включает насос 626, который создает давление в рабочей жидкости, и клапанный узел 628, который избирательно подает рабочую жидкость в гидравлический привод 602.

Клапанный узел 628 включает клапанную камеру 630, первый поршень 632, второй поршень 634, клапанный канал 636 и шток 638 клапана. Первый поршень 632 и второй поршень 634 неподвижно прикреплены к штоку 638 клапана и совершают возвратно-поступательное движение в клапанной камере 630. Клапанная камера 630 включает первое отверстие 640, второе отверстие 642, третье отверстие 644, четвертое отверстие 646, пятое отверстие 648, шестое отверстие 650 и первое отверстие 652 для штока. Шток 638 клапана проходит наружу из клапанной камеры 630 через первое отверстие 652 для штока. Канал 636 клапана расположен снаружи от клапанной камеры 630 и соединяет пятое отверстие 648 и шестое отверстие 650. Гидравлический регулятор 604 также включает первый канал 654, который соединяет первое отверстие 640 клапанной камеры 630 и верхнее отверстие 622 гидравлического привода 602, второй канал 656, который соединяет насос 626 и второе отверстие 642 клапанной камеры 630, третий канал 658, который соединяет третье отверстие 644 клапанной камеры 630 и нижнее отверстие 624 гидравлического привода 602, четвертый канал 660, который соединяет четвертое отверстие 646 и насос 626.

Гидравлический регулятор 604 может также включать накопитель 662 рабочей жидкости между насосом 626 и клапанным узлом 628. Накопитель 662 рабочей жидкости содержит рабочую жидкость под давлением.

Как показано на фиг. 32, когда осуществляется подъем верхней пластины 520, первый поршень 632 и второй поршень 634 перемещаются в положение подъема, в котором первый поршень 632 и второй поршень 634 перегораживают клапанную камеру 630 таким образом, что рабочая жидкость проходит из насоса 626 в нижнее отверстие 624 гидравлического привода 602 по второму каналу 656 и третьему каналу 658 таким образом, что поршень 614 отталкивается вверх, и рабочая жидкость поступает из верхнего отверстия 622 гидравлического привода 602 в насос 626 по первому каналу 654, клапанному каналу 636 и четвертому каналу 660, возвращаясь для дальнейшего использования.

Как показано на фиг. 34, когда осуществляется опускание верхней пластины, первый поршень 632 и второй поршень 634 перемещаются в положение опускания, в котором первый поршень 632 и второй поршень 634 перегораживают клапанную камеру 630 таким образом, что рабочая жидкость проходит из насоса 626 в верхнее отверстие 622 гидравлического привода 602 по первому каналу 654 и второму каналу 656 так, что поршень 614 отталкивается вниз, и рабочая жидкость проходит из нижнего отверстия 624 гидравлического привода 602 в насос 626 по третьему каналу 658 и четвертому каналу 660, возвращаясь для дальнейшего использования.

Как показано на фиг. 33, когда не осуществляются ни подъем верхней пластины, ни ее опускание, первый поршень 632 и второй поршень 634 перемещаются в нейтральное положение, в котором первый поршень 632 и второй поршень 634 блокируют первое отверстие 640 и третье отверстие 644 таким образом, что рабочая жидкость не проходит между гидравлическим регулятором 604 и гидравлическим приводом 602.

Гидравлический регулятор 604 также включает первый соленоид 664, который прилагает усилие для перемещения штока 638 клапана клапанного узла 628 в клапанную камеру 630 и из нее таким образом, что первый поршень 632 и второй поршень 634 перемещаются в положение подъема и положение опускания, и между первым соленоидом 664 и клапанной камерой 630 установлена первая пружина 666 для возвращения первого поршня 632 и второго поршня 634 в нейтральное положение, когда усилие первым соленоидом 664 не прилагается.

Таким образом, гидравлический регулятор 604 обеспечивает точное управление вертикальным движением верхней пластины 520 при помощи гидравлического привода 602.

Гидравлический регулятор может также включать соединение 668 между штоком 638 клапана и первым соленоидом 664. Соединение 668 реверсирует направление движения первого соленоида 664, и первая пружина 666 установлена между клапанной камерой 630 и соединением 668.

Как показано на фиг.33, гидравлический регулятор может также включать второй соленоид 670 и вторую пружину 672, которые подобны первому соленоиду 664 и второй пружине 672 и находятся в положении, противоположном положению первого соленоида 664. Клапанная камера 630 также включает второе отверстие 674 для штока, противоположное первому отверстию 652 для штока, и шток 638 клапана проходит из клапанной камеры 630 через второе отверстие 674 для штока. Два соленоида обеспечивают сбалансированное движение штока 638 клапана.

На фиг. 28 показана верхняя пластина 520 в ее самом верхнем положении, то есть массирующие выступы 100 находятся в их самом верхнем положении. На фиг. 27 показана верхняя пластина 520 в ее самом нижнем положении, то есть массирующие выступы 100 находятся в их самом нижнем положении.

На фиг. 31 показаны альтернативные массирующие выступы 98.

На фиг.35-42 показан пятый вариант осуществления изобретения.

Как показано на фиг.37-42, подъемник 720 имеет верхнюю пластину 820 и нижнюю пластину 822, гидравлический цилиндр 200, прикрепленный к нижней пластине 822, и компрессор 902, подающий жидкость под давлением в гидравлический цилиндр 900. Гидравлический цилиндр 900 имеет шток 904 цилиндра, соединенный с верхней пластиной 820. Шток 904 цилиндра перемещает верхнюю пластину 820 вверх и вниз.

Подъемник 720 также включает направляющий ствол 906, прикрепленный между штоком 904 цилиндра и верхней пластиной 820, и направляющую опору 908, которая направляет направляющий ствол 906. Направляющая опора 908 прикреплена к нижней пластине 822. Как показано на фиг.40 и 41, направляющая опора 908 имеет направляющее отверстие 910, которое принимает направляющий ствол 906. Направляющий ствол 906 имеет многоугольное сечение, и направляющее отверстие 910 имеет такое же многоугольное сечение. Предпочтительно направляющий ствол 906 и, таким образом, направляющее отверстие 910 имеют квадратное сечение. Таким образом, подъемник 720 не требует отдельных направляющих элементов, которые направляют вертикальное движение массирующих выступов 800, поскольку квадратный направляющий ствол 906 и квадратное направляющее отверстие 910 допускают движение верхней пластины 820 только в вертикальном направлении. Вращение верхней пластины 820 невозможно.

Подъемник также включает пружину 912 растяжения, зафиксированную между верхней пластиной 820 и нижней пластиной 822. Гидравлический цилиндр 900 преодолевает усилие, прилагаемое пружиной растяжения, для перемещения верхней пластины 820. Гидравлический цилиндр 900 может приводиться в действие сжатым воздухом или гидравлическим маслом под давлением. Пружина 912 растяжения создает нагружающий эффект при подъеме или опускании подъемника 720. Таким образом, пружина 912 растяжения предотвращает резкий подъем верхней пластины 820 гидравлическим цилиндром 900 и облегчает точное перемещение верхней пластины 820. Верхняя пластина 820 перемещается усилием, прилагаемым гидравлическим цилиндром 900, минус усилие, прилагаемое пружиной 912 растяжения.

Как показано на фиг. 41, гидравлический цилиндр 900 имеет камеру 914, в которую от компрессора 902 поступает жидкость под давлением по впускной трубке 916, и жидкость выпускается по выпускной трубке 918. Поршень 920 совершает возвратно-поступательное движение в камере 914 за счет изменения давления, прилагаемого жидкостью под давлением. Шток 904 цилиндра прикреплен к поршню 920. Пружина 912 растяжения прикреплена к верхней пластине 820 и к нижней пластине 822 винтами 922 и кронштейнами 924, которые прижимают концы пружины 912 растяжения к верхней пластине 820 или к нижней пластине 822. Направляющий ствол 906 прикреплен к верхнему концу штока 904 цилиндра. Направляющий ствол 906 соединен с верхней пластиной 820 фланцем 926.

На фиг. 38 показана верхняя пластина 820 в ее самом верхнем положении, то есть массирующие выступы 100 находятся в их самом верхнем положении. На фиг. 39 показана верхняя пластина 820 в ее самом нижнем положении, то есть массирующие выступы 100 находятся в их самом нижнем положении.

На фиг. 42 показаны альтернативные массирующие выступы 98.

Хотя изобретение было описано с существенной детализацией, возможны другие варианты, получаемые посредством преобразования указанной выше конструкции. Таким образом, объем изобретения не будет ограничен приведенным выше описанием.

Формула изобретения

1. Горизонтальный массажер, содержащий

a) несущую раму, имеющую удлиненную верхнюю панель, в которой по центру и в продольном направлении удлиненной верхней панели сформирован удлиненный верхний проем; b) ползун, расположенный под удлиненной верхней панелью несущей рамы;

c) направляющий элемент, установленный с возможностью движения между несущей рамой и ползуном таким образом, что ползун может совершать горизонтальное возвратно-поступательное движение относительно несущей рамы;

d) подъемник, имеющий верхнюю пластину, нижнюю пластину и подъемное средство, перемещающее верхнюю пластину по вертикали относительно нижней пластины; и

e) массирующие выступы, прикрепленные к верхней пластине подъемника и перемещающиеся по вертикали и/или по горизонтали вдоль удлиненного верхнего проема удлиненной верхней панели несущей рамы;

в котором подъемное средство подъемника непосредственно перемещает верхнюю пластину посредством линейного движения, причем массирующие выступы представляют собой закругленные выступы, зафиксированные на верхней пластине, а также содержащий нагревательный элемент, распределенный в верхней панели несущей рамы, причем подъемное средство содержит первую гайку, первый винт и электродвигатель, причем верхняя пластина имеет верхнюю поверхность верхней пластины и нижнюю поверхность верхней пластины, при этом нижняя пластина имеет нижнюю поверхность нижней пластины и верхнюю поверхность нижней пластины, причем первый винт в вертикальном положении и с возможностью вращения прикреплен к верхней поверхности нижней пластины, первая гайка прикреплена к нижней поверхности верхней пластины, при этом первый винт входит в зацепление с первой гайкой таким образом, что вращение первого винта вызывает подъем первой гайки или опускание первой гайки, при этом электродвигатель вращает первый винт либо по часовой стрелке, либо против часовой стрелки, причем подъемник также содержит второй винт, вертикально и с возможностью вращения прикрепленный к верхней поверхности нижней пластины, и вторую гайку, прикрепленную к нижней поверхности верхней пластины, причем второй винт входит в зацепление со второй гайкой таким образом, что вращение второго винта вызывает подъем второй гайки или опускание второй гайки, при этом первый винт и второй винт отнесены друг от друга на заданное расстояние, причем первый винт и второй винт соединены механической передачей таким образом, что они вращаются совместно, причем первый винт и второй винт объединены с верхней пластиной подъемника, при этом механическая передача включает первую звездочку, которая зафиксирована относительно первого винта, вторую звездочку, которая зафиксирована относительно второго винта, и цепь, которая обернута вокруг первой звездочки и второй звездочки, причем подъемник также содержит червячное колесо, прикрепленное к первому винту, и червячную передачу, прикрепленную к электродвигателю.

2. Горизонтальный массажер, содержащий a) несущую раму, имеющую удлиненную верхнюю панель, в которой по центру и в продольном направлении удлиненной верхней панели сформирован удлиненный верхний проем; b) ползун, расположенный под удлиненной верхней панелью несущей рамы;

c) направляющий элемент, установленный с возможностью движения между несущей рамой и ползуном таким образом, что ползун может совершать горизонтальное возвратно-поступательное движение относительно несущей рамы;

d) подъемник, имеющий верхнюю пластину, нижнюю пластину и подъемное средство, перемещающее верхнюю пластину по вертикали относительно нижней пластины; и

e) массирующие выступы, прикрепленные к верхней пластине подъемника и перемещающиеся по вертикали и/или по горизонтали вдоль удлиненного верхнего проема удлиненной верхней панели несущей рамы, в котором подъемное средство подъемника непосредственно перемещает верхнюю пластину посредством линейного движения, причем подъемное средство содержит удлиненные направляющие, отступающие от краев верхней пластины, зубчатую передачу, включающую ходовой винт, отступающий вниз от верхней пластины подъемника, удлиненную передачу гаечного типа, имеющую круглую внешнюю периферийную поверхность, первое зубчатое колесо, соединенное с внешней периферийной поверхностью и проходящее вдоль нее, второе зубчатое колесо, входящее в зацепление с первым зубчатым колесом и соединенное с первым электродвигателем, прикрепленным к нижней пластине, при этом ходовой винт с возможностью освобождения входит в зацепление с передачей гаечного типа, нижний конец которой с возможностью вращения прикреплен к нижней пластине и удерживается ею, посредством чего вращение второго зубчатого колеса вызывает вращение первого зубчатого колеса, и следующее из этого вращение передачи гаечного типа обеспечивает вертикальное возвратно-поступательное движение верхней пластины в соответствии с освобождаемым вхождением в зацепление ходового винта и передачи гаечного типа, при этом удлиненные направляющие с возможностью освобождения входят в направляющие гильзы, сформированные на верхней поверхности нижней пластины, для стабилизации вертикального возвратно-поступательного движения верхней пластины относительно нижней пластины, причем первая и вторая зубчатые передачи представляют собой конические зубчатые колеса, причем вторая зубчатая передача представляет собой вал со спиральной резьбой, и первая зубчатая передача блокирована в радиальном направлении.

3. Горизонтальный массажер, содержащий a) несущую раму, имеющую удлиненную верхнюю панель, в которой по центру и в продольном направлении удлиненной верхней панели сформирован удлиненный верхний проем; b) ползун, расположенный под удлиненной верхней панелью несущей рамы;

c) направляющий элемент, установленный с возможностью движения между несущей рамой и ползуном таким образом, что ползун может совершать горизонтальное возвратно-поступательное движение относительно несущей рамы;

d) подъемник, имеющий верхнюю пластину, нижнюю пластину и подъемное средство, перемещающее верхнюю пластину по вертикали относительно нижней пластины; и

e) массирующие выступы, прикрепленные к верхней пластине подъемника и перемещающиеся по вертикали и/или по горизонтали вдоль удлиненного верхнего проема удлиненной верхней панели несущей рамы, в котором подъемное средство подъемника непосредственно перемещает верхнюю пластину посредством линейного движения, сквозь нижнюю пластину по вертикали сформирован проем подъемника для образования внутренней периферийной поверхности нижней пластины, при этом подъемное средство содержит входящий в зацепление корпус, отступающий вниз от верхней пластины, причем сквозь входящий в зацепление корпус сформирован удлиненный по вертикали проем в корпусе для образования вертикальных стенок во входящем в зацепление корпусе, при этом одна из вертикальных стенок конфигурирована как вертикальная зубчатая рейка таким образом, что первое роликовое зубчатое колесо с возможностью качения входит в зацепление с вертикальной зубчатой рейкой, посредством чего вращение роликового зубчатого колеса первым электродвигателем обеспечивает совершение подъемником вертикального возвратно-поступательного движения через проем для подъемника, при этом входящий в зацепление корпус с возможностью движения удерживается внутренней периферийной поверхностью подъемника, при этом горизонтальный массажер также содержит суппорт, неподвижно сформированный на верхней поверхности нижней пластины для обеспечения дополнительной поддержки входящего в зацепление корпуса, в котором суппорт по существу окружает входящий в зацепление корпус для стабилизации вертикального возвратно-поступательного движения входящего в зацепление корпуса, причем в суппорте сформирован вертикальный паз, при этом от входящего в зацепление корпуса горизонтально отступает проходящая сквозь вертикальный паз сигнальная планка для облегчения контролируемого вертикального возвратно-поступательного движения подъемника, при этом горизонтальный массажер также содержит пару концевых выключателей, соответственно сформированных вблизи каждого конца вертикального паза для дополнительного облегчения управления вертикальным возвратно-поступательным движением подъемника.

4. Горизонтальный массажер по п.3, в котором массирующие выступы разделены на первую и вторую пары, причем первая пара выступов выровнена параллельно второй паре выступов, и горизонтальный массажер также содержит первый и второй держатели выступов, удерживающие первую и вторую пары выступов над верхней пластиной подъемника, причем первый и второй держатели выступов суживаются к каждому их нижнему концу; и первый удерживающий элемент для удерживания с возможностью качания нижних концов держателей выступов на верхней пластине подъемника; и второй удерживающий элемент для удерживания на нем массирующих выступов с возможностью качения, в котором массирующие выступы представляют собой катящиеся шарики, и в котором катящиеся шарики сформированы из нефрита.

5. Горизонтальный массажер по п.3, в котором каждый из массирующих выступов включает нагреватель, в котором нагреватель представляет собой нагревательную лампу, генерирующую тепло и инфракрасные лучи.

6. Горизонтальный массажер, содержащий

a) несущую раму, имеющую удлиненную верхнюю панель, в которой по центру и в продольном направлении удлиненной верхней панели сформирован удлиненный верхний проем; b) ползун, расположенный под удлиненной верхней панелью несущей рамы;

c) направляющий элемент, установленный с возможностью движения между несущей рамой и ползуном таким образом, что ползун может совершать горизонтальное возвратно-поступательное движение относительно несущей рамы;

d) подъемник, имеющий верхнюю пластину, нижнюю пластину и подъемное средство, перемещающее верхнюю пластину по вертикали относительно нижней пластины; и

e) массирующие выступы, прикрепленные к верхней пластине подъемника и перемещающиеся по вертикали и/или по горизонтали вдоль удлиненного верхнего проема удлиненной верхней панели несущей рамы, в котором подъемное средство подъемника непосредственно перемещает верхнюю пластину посредством линейного движения, причем массажер также содержит одну или более направляющих подъемника, отступающих вниз от верхней пластины, и одну или более направляющих подъемника, отступающих вверх от нижней пластины для приема с возможностью освобождения направляющих подъемника, причем подъемное средство содержит гидравлический привод, прикрепленный к нижней пластине, и гидравлический регулятор, при этом гидравлический регулятор управляет работой гидравлического привода, причем верхняя пластина имеет верхнюю поверхность верхней пластины и нижнюю поверхность верхней пластины, нижняя пластина имеет верхнюю поверхность нижней пластины и поверхность нижней пластины, при этом гидравлический привод имеет полый цилиндр, поршень, совершающий возвратно-поступательное движение в цилиндре, и шток, прикрепленный к поршню и к верхней пластине, причем цилиндр гидравлического привода содержит верхнее отверстие, расположенное вблизи одного конца гидравлического привода, который обращен к верхней пластине подъемника, и нижнее отверстие, расположенное вблизи другого конца гидравлического привода, причем гидравлический регулятор подает рабочую жидкость в цилиндр через нижнее отверстие и выпускает рабочую жидкость через верхнее отверстие, когда гидравлический привод поднимает верхнюю пластину, и гидравлический регулятор подает рабочую жидкость в цилиндр через верхнее отверстие и выпускает рабочую жидкость через нижнее отверстие, когда гидравлический привод опускает верхнюю пластину, причем гидравлический регулятор содержит насос, который создает давление в рабочей жидкости, и клапанный узел, который избирательно подает рабочую жидкость в гидравлический привод, при этом клапанный узел содержит клапанную камеру, первый поршень, второй поршень, клапанный канал и шток клапана, причем первый поршень и второй поршень неподвижно прикреплены к штоку клапана и совершают возвратно-поступательное движение в клапанной камере, при этом клапанная камера включает первое отверстие, второе отверстие, третье отверстие, четвертое отверстие, пятое отверстие, шестое отверстие и первое отверстие для штока, причем шток клапана проходит наружу из клапанной камеры через первое отверстие для штока, при этом канал клапана расположен снаружи от клапанной камеры и соединяет пятое отверстие и шестое отверстие, причем гидравлический регулятор также включает первый канал, который соединяет первое отверстие клапанной камеры и верхнее отверстие гидравлического привода, второй канал, который соединяет насос и второе отверстие клапанной камеры, третий канал, который соединяет третье отверстие клапанной камеры и нижнее отверстие гидравлического привода, четвертый канал, который соединяет четвертое отверстие и насос, причем, когда осуществляется подъем верхней пластины, первый поршень и второй поршень перемещаются в положение подъема, в котором первый поршень и второй поршень перегораживают клапанную камеру таким образом, что рабочая жидкость проходит из насоса в нижнее отверстие гидравлического привода по второму каналу и третьему каналу таким образом, что поршень отталкивается вверх, и рабочая жидкость поступает из верхнего отверстия гидравлического привода в насос по первому каналу, клапанному каналу и четвертому каналу, возвращаясь для дальнейшего использования, при этом, когда осуществляется опускание верхней пластины, первый поршень и второй поршень перемещаются в положение опускания, в котором первый поршень и второй поршень перегораживают клапанную камеру таким образом, что рабочая жидкость проходит из насоса в верхнее отверстие гидравлического привода по первому каналу и второму каналу так, что поршень отталкивается вниз, и рабочая жидкость проходит из нижнего отверстия гидравлического привода в насос по третьему каналу и четвертому каналу, возвращаясь для дальнейшего использования, причем, когда не осуществляются ни подъем верхней пластины, ни ее опускание, первый поршень и второй поршень перемешаются в нейтральное положение, в котором первый поршень и второй поршень блокируют первое отверстие и третье отверстие таким образом, что рабочая жидкость не проходит между гидравлическим регулятором и гидравлическим приводом, причем гидравлический регулятор также содержит накопитель рабочей жидкости, расположенный между насосом и клапанным узлом, причем накопитель рабочей жидкости содержит рабочую жидкость под давлением, при этом гидравлический регулятор также включает первый соленоид, который прилагает усилие для перемещения штока клапана клапанного узла в клапанную камеру или из нее таким образом, что первый поршень и второй поршень перемещаются в положение подъема и положение опускания, и между первым соленоидом и клапанной камерой установлена первая пружина для возвращения первого поршня и второго поршня в нейтральное положение, когда усилие первым соленоидом не прилагается, при этом гидравлический регулятор также содержит соединение между штоком клапана и первым соленоидом, причем соединение реверсирует направление движения первого соленоида, и первая пружина установлена между клапанной камерой и соединением, причем гидравлический регулятор также содержит второй соленоид, который прилагает усилие для перемещения штока клапана клапанного узла в клапанную камеру или из нее таким образом, что первый поршень и второй поршень перемещаются в положение подъема и положение опускания, и между вторым соленоидом и клапанной камерой установлена вторая пружина для возвращения первого поршня и второго поршня в нейтральное положение, когда усилие первым соленоидом не прилагается, причем клапанная камера также включает второе отверстие для штока, противоположное первому отверстию для штока, и шток клапана проходит из клапанной камеры через второе отверстие для штока.

7. Горизонтальный массажер, содержащий a) несущую раму, имеющую удлиненную верхнюю панель, в которой по центру и в продольном направлении удлиненной верхней панели сформирован удлиненный верхний проем; b) ползун, расположенный под удлиненной верхней панелью несущей рамы;

c) направляющий элемент, установленный с возможностью движения между несущей рамой и ползуном таким образом, что ползун может совершать горизонтальное возвратно-поступательное движение относительно несущей рамы; d) подъемник, имеющий верхнюю пластину, нижнюю пластину и подъемное средство, перемещающее верхнюю пластину по вертикали относительно нижней пластины; и

e) массирующие выступы, прикрепленные к верхней пластине подъемника и перемещающиеся по вертикали и/или по горизонтали вдоль удлиненного верхнего проема удлиненной верхней панели несущей рамы, в котором подъемное средство подъемника непосредственно перемещает верхнюю пластину посредством линейного движения, причем подъемник содержит гидравлический цилиндр, прикрепленный к нижней пластине, и компрессор, подающий текучую среду под давлением в гидравлический цилиндр, причем гидравлический цилиндр имеет шток цилиндра, соединенный с верхней пластиной, при этом шток цилиндра перемещает верхнюю пластину вверх и вниз, причем подъемник также содержит направляющий ствол, прикрепленный между штоком цилиндра и верхней пластиной, и направляющую опору, которая направляет направляющий ствол, причем направляющая опора прикреплена к нижней пластине, при этом направляющая опора имеет направляющее отверстие, которое принимает направляющий ствол, при этом направляющий ствол имеет многоугольное сечение, и направляющее отверстие имеет такое же многоугольное сечение, при этом направляющий ствол имеет квадратное сечение, подъемник также содержит пружину растяжения, зафиксированную между верхней пластиной и нижней пластиной, причем гидравлический цилиндр преодолевает усилие, прилагаемое пружиной растяжения, для перемещения верхней пластины, причем подъемник также содержит направляющий ствол, прикрепленный между штоком цилиндра и верхней пластиной, и направляющую опору, которая направляет направляющий ствол, причем направляющая опора прикреплена к нижней пластине, при этом направляющая опора имеет направляющее отверстие, которое принимает направляющий ствол, причем направляющий ствол имеет многоугольное сечение, и направляющее отверстие имеет такое же многоугольное сечение, причем гидравлический цилиндр приводится в действие сжатым воздухом или гидравлическим маслом под давлением.

РИСУНКИ


MM4A – Досрочное прекращение действия патента СССР или патента Российской Федерации на изобретение из-за неуплаты в установленный срок пошлины за поддержание патента в силе

Дата прекращения действия патента: 05.05.2009

Извещение опубликовано: 27.07.2010 БИ: 21/2010


Categories: BD_2318000-2318999