|
(21), (22) Заявка: 2006130884/14, 29.08.2006
(24) Дата начала отсчета срока действия патента:
29.08.2006
(46) Опубликовано: 10.03.2008
(56) Список документов, цитированных в отчете о поиске:
ЕР 0152349 А2, 21.08.1985. RU 22874 U1, 10.05.2002. RU 2020909 С1, 15.10.1994. US 3886606 А, 03.06.1975. Фросин В.Н. и др. Больничное оборудование. – М.: Медицина, 1982, с.92, рис.25.
Адрес для переписки:
107258, Москва, ул. 1-я Бухвостова, 12/11, ООО “МЕДПЛАНТ”, Г.Г. Мамджяну
|
(72) Автор(ы):
Мамджян Гарегин Григорьевич (RU), Осипов Алексей Юрьевич (RU)
(73) Патентообладатель(и):
ООО “МЕДПЛАНТ” (RU), Мамджян Гарегин Григорьевич (RU)
|
(54) НОСИЛКИ БЕСКАРКАСНЫЕ
(57) Реферат:
Изобретение относится к медицинскому оборудованию и может быть использовано для транспортировки пострадавших и пациентов. Носилки бескаркасные содержат прямоугольную основу с ребрами жесткости, по длине которой закреплены четыре пары транспортировочных ручек, чехол для хранения и транспортировки и средства фиксации пострадавшего. Средства фиксации пострадавшего включают две пары полуколец. Полукольца расположены на наружной стороне основы и закреплены попарно по разные стороны основы в области груди и бедер пострадавшего. Отверстия полуколец выполнены для размещения в них стропных лент с замковыми элементами. Замковые ленты обеспечивают натянутое положение стропной ленты относительно тела пострадавшего. Фиксацию пострадавшего осуществляют в соответствии с его конституцией двумя стропными лентами. Основа выполнена из полихлорвиниловой ткани и на своей наружной поверхности содержит две системы ребер жесткости. Одна из систем выполнена в виде трех частей, каждая из которых представляет собой х-образно закрепленные стропные ленты. Ленты расположены на основе соответственно между первой и второй, второй и третьей и третьей и четвертой горизонтальной парой транспортировочных ручек. Другая система выполнена в виде замкнутого контура из стропной ленты. Контур закреплен по периметру основы. Каждая транспортировочная ручка имеет горизонтальный размер – длину от 20 до 25 см, выполнена из стропной ленты и снабжена эластичной обоймой. Эластичная обойма является одновременно и индикатором загрязненности носилок. В результате повышена прочность и жесткость основы носилок, существенно уменьшена деформация материала основы и увеличен гарантированный срок использования носилок в медицинской практике. 9 з.п. ф-лы, 3 ил.
Изобретение относится к медицинскому оборудованию, а именно к бескаркасным медицинским носилкам, предназначенным для транспортировки пострадавших и пациентов.
Патентуемые бескаркасные носилки найдут эффективное применение для служб скорой помощи, медицины катастроф, военной и экстремальной медицины, для служб гражданской обороны и МЧС. Разработанные носилки могут быть использованы в сложных полевых условиях, при чрезвычайных ситуациях и стихийных бедствиях.
Разработанные носилки незаменимы для транспортировки пострадавших в тесном помещении и ограниченном пространстве.
Известны различные конструкции бескаркасных носилок.
Например, медицинские носилки, приведенные в патенте РФ №2020909, А61G 1/00 (заявлены 04.04.91 г.). Носилки содержат основную и головную часть с транспортировочными ручками. Головная часть выполнена в виде эластичной оболочки, в которой размещен источник кислорода.
Существенным недостатком медицинских носилок, описанных в патенте РФ №2020909, является отсутствие ребер жесткости основы и эксплуатационно неудобная конструкция транспортировочных ручек, которые при переноске пострадавшего «врезаются» в руку.
Отсутствие ребер жесткости обуславливает (по мере эксплуатации) значительные деформации материала основы. При этом размеры деформации основы будут различными по величине на разных участках основы. Все это приводит к потере прочности и деформации профиля основы, а также значительному «провисанию» пострадавшего при транспортировке.
Известны бескаркасные носилки по патенту РФ №2182477 (А61G 1/00, заявлены 13.01.2000 г.). Запатентованные носилки относятся к категории одноразовых носилок. Конструктивно носилки представляют собой основу в форме конуса из гидрофобного материала с транспортировочными ручками. Основа имеет ребра жесткости, полученные двойным изгибом и подпрессовкой боковой поверхности основы. Головная часть основы содержит средства фиксации головы пострадавшего. Для фиксации самого пострадавшего используют семь поперечных и две продольно-поперечные лямки. Транспортировочные ручки представляют собой матерчатую петлю с одетой на нее скрученной трубкой.
Бескаркасные носилки, описанные в патенте РФ №2182477, имеют ряд существенных конструктивных и эксплуатационных недостатков, которые ограничивают область практического применения известных носилок. Так в частности:
– ребра жесткости основы конструктивно расположены только по ее краям и отсутствуют в местах максимальной нагрузки – область расположения груди пострадавшего и тазобедренная область. Недостаточная жесткость основы носилок обуславливает значительные провисания пострадавшего при его транспортировке;
– средства фиксации пострадавшего включают до 11 фиксирующих лямок с фиксаторами. Конструктивная сложность средств фиксации приводит к значительному увеличению времени на фиксацию пострадавшего, что не всегда возможно в сложных и экстремальных ситуациях.
Известны бескаркасные носилки, описанные в Европейском патенте ЕР №0227379 (А61G 1/00, заявлены 10.12.1986 г.), содержащие основу, по краям которой расположены транспортировочные ручки-лямки. К достоинствам известных носилок следует отнести их конструктивную простоту и компактность в свернутом виде, что удобно для перевозки. Вместе с тем, носилки, приведенные в данном патенте, имеют ряд существенных конструктивных и эксплуатационных недостатков:
– отсутствуют ребра жесткости основы, что осложняет процесс транспортировки пострадавшего;
– отсутствуют средства фиксации пострадавшего;
– длинные ручки-лямки неудобны при транспортировке пострадавшего, поскольку они сильно растягиваются и «врезаются» в руки. При этом транспортировочные ручки-лямки в местах максимальной нагрузки не имеют упрочняющих элементов, что приводит к их обрыву.
Известны также бескаркасные носилки, описанные в Европейском патенте ЕР №0152349 (А61G 1/00, заявлены 06.02.1985 г.), наиболее близкие по технической сущности к патентуемому изобретению и которые выбраны в качестве прототипа.
Носилки бескаркасные по Европейскому патенту ЕР №0152349 содержат прямоугольную основу с ребрами жесткости, по длине и ширине которой с каждой стороны расположены транспортировочные ручки. Для достижения определенной жесткости основы по всему полю основы выполнены вертикальные и горизонтальные швы. Предусмотрен конструктивный вариант реализации носилок, когда в качестве ребер жесткости и одновременно ручек для транспортировки пострадавшего используют длинные (круглого сечения) жесткие направляющие (брусья), которые вставляют в боковые стороны основы.
Анализ показывает, что носилки, описанные в Европейском патенте ЕР №0152349, отличаются простотой конструкции и вместе с тем имеют ряд существенных конструктивных и эксплуатационных недостатков, которые значительно снижают эффективность их практического использования:
– выполнение ребер жесткости в виде вертикальных и горизонтальных швов не обеспечивает достаточной прочности и жесткости основы носилок, что приводит к деформации материала основы и постепенному увеличению (в процессе эксплуатации носилок) уровня «провисания» пострадавшего при его транспортировке. При достижении определенных величин «провисания» основы носилки выводят из практической эксплуатации;
– выполнение ребер жесткости в виде жестких направляющих (боковых брусьев) не позволяет использовать носилки в тесных, узких и ограниченных пространствах;
– в конструкции носилок не предусмотрены средства фиксации пострадавшего, что может привести к падению пострадавшего из носилок;
– необходимо отметить несовершенную конструкцию транспортировочных ручек, которые при транспортировке врезаются в руки.
Настоящее изобретение решает задачу повышения жесткости и прочности основы носилок, повышения прочности и удобства использования транспортировочных ручек при переноске пострадавшего, повышения эксплуатационной надежности и увеличения ресурса использования носилок, а также удобства эксплуатации, хранения и транспортировки носилок.
Решение поставленной задачи достигается следующим образом.
Носилки бескаркасные, содержащие (аналогично Европейскому патенту №0152349) прямоугольную основу с ребрами жесткости, по длине которой закреплены четыре пары транспортировочных ручек, согласно настоящему изобретению транспортировочные ручки и ребра жесткости основы выполнены из стропной ленты, а основа носилок на своей наружной поверхности содержит две взаимно дополняющие и конструктивно различные системы ребер жесткости.
Одна система ребер жесткости выполнена в виде трех частей, каждая из которых представляет собой х-образно закрепленные стропные ленты, расположенные на основе соответственно между первой и второй, второй и третьей и третьей и четвертой горизонтальной парой транспортировочных ручек.
Другая система ребер жесткости выполнена в виде замкнутого контура из стропной ленты, закрепленного по периметру основы.
Согласно изобретению каждая транспортировочная ручка снабжена эластичной обоймой, которая является одновременно и индикатором загрязненности носилок.
Патентуемое изобретение предусматривает наличие на носилках средства фиксации пострадавшего, которые включают две пары полуколец, расположенных на наружной стороне основы и закрепленных попарно по разные стороны основы в области груди и бедер пострадавшего. Отверстия полуколец служат для размещения в них стропных лент с замковыми элементами. Замковые элементы обеспечивают натянутое положение стропной ленты относительно тела пострадавшего. Фиксацию пострадавшего осуществляют в соответствии с его конституцией двумя стропными лентами.
Согласно изобретению для хранения и транспортировки носилки содержат чехол с транспортировочной ручкой. Торцевое загрузочное отверстие чехла закрыто клапаном на застежку. На корпусе чехла расположены от 2-х до 4-х карманов для хранения информационных материалов, элементов фиксации пациента на основе, медицинских принадлежностей и других функционально значимых предметов.
Изобретением предусмотрено, что в качестве застежки клапана чехла могут использоваться различные типы застежек. Например, застежки типа «молния», «липучка».
Согласно настоящему изобретению основа носилок выполнена из полихлорвиниловой ткани, длина основы составляет 180-195 см, а ширина – 85-95 см. Ребра жесткости основы выполнены из стропной ленты шириной от 40 до 50 мм. При этом горизонтальный размер – длина транспортировочных ручек составляет от 20 до 25 см.
Согласно патентуемому изобретению эластичные обоймы размещены на транспортировочных ручках и выполнены из медицинского пластиката. Рассчитано, что длина эластичной обоймы составляет от 19 до 24 см. При этом длину транспортировочных ручек (LР) и длину эластичной обоймы (LO) определяют с учетом зависимости LР-LО=1-2 см.
Изобретение предусматривает, что для подвешивания носилок по ширине прямоугольной основы выполнены металлические отверстия люверсы , а для обеспечения повышенной прочности и долговечности носилок места крепления транспортировочных ручек к основе и места крепления транспортировочной ручки чехла выполнены двойным швом по периметру и двумя диагональными швами и дополнительным швом в месте соединения транспортировочной ручки и края основы.
Изложенная сущность изобретения свидетельствует, что в основе предлагаемой конструктивной реализации носилок лежит комплекс новых оригинальных технических решений, которые приводят к следующему техническому результату:
– в конструкции носилок использованы две взаимно дополняющие и конструктивно различные системы ребер жесткости основы. Подобное техническое решение позволяет повысить прочность и жесткость основы носилок, существенно уменьшить деформацию материала основы и увеличить гарантированный срок использования носилок в медицинской практике;
– средства фиксации, выполненные в виде двух полуколец и двух съемных стропных лент с замковыми элементами обеспечивают надежную и быструю фиксацию пострадавшего на носилках;
– выполнение основы носилок из полихлорвинила обеспечивает их повышенную прочность и долговечность;
– наличие прочного и удобного чехла позволяет хранить и транспортировать носилки в упакованном виде;
– оптимальные размеры транспортировочных ручек, снабжение их эластичной обоймой и упрочнение мест крепления ручек к основе позволяет повысить комфортность и удобство транспортировки пострадавшего медицинским персоналом и значительно увеличить эксплуатационную надежность конструкции носилок.
Сущность патентуемого изобретения поясняется описанием примера реализации бескаркасных носилок и чертежами, на которых представлено:
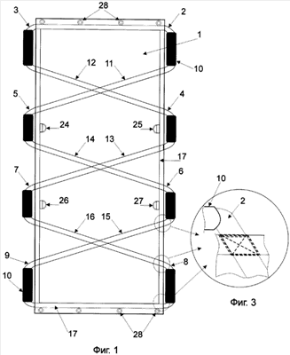
фиг.1 – носилки бескаркасные (вид с наружной стороны);
фиг.2 – чехол носилок (2а – с открытым клапаном, 2б – с закрытым клапаном);
фиг.3 – вид упрочняющего шва для крепления транспортировочных ручек к основе носилок.
Носилки бескаркасные конструктивно выполнены (фиг.1) в виде основы 1 прямоугольной формы с транспортировочными ручками 2-9, закрепленными по длине основы. В качестве материала для изготовления основы 1 используют прочный двухсторонний тентовый материал – полихлорвинил (см., например, ГОСТ 29151). Размеры основы 1 определены опытным путем в результате многочисленных испытаний носилок различной длины и ширины. Установлено, что оптимальным размером основы 1 является длина 180-195 см, а ширина – 85-95 см.
Следует отметить, что выполнение основы 1 из двухстороннего полихлорвинила позволяет проводить качественную дезинфекцию носилок (в соответствии с ОСТ 42-21-2-85) 3% раствором перекиси водорода с добавлением 0,5% раствора моющего средства типа «Лотос».
Ручки 2, 4, 6, 8 расположены на одной стороне основы 1, а ручки 3, 5, 7 и 9 на противоположной стороне. Горизонтальный размер ручек 2-9 (т.е. их длина) выбран с учетом физиологических размеров руки человека. Опытным путем установлено, что для обеспечения удобства транспортировки пострадавших оптимальный размер (горизонтальная длина) транспортировочных ручек 2-9 составляет от 20 до 25 см, т.е. примерно две ширины ладони взрослого мужчины. Установленный опытным путем размер транспортировочных ручек 2-9 обеспечивает удобство транспортировки пострадавшего и одновременно позволяет медицинскому персоналу при необходимости «менять» уставшие руки без остановки процесса транспортировки пострадавшего.
Для повышения удобства и комфортности транспортировки пострадавших каждая транспортировочная ручка 2-9 снабжена эластичной обоймой 10, которая надета на каждую транспортировочную ручку. Эластичная обойма 10 выполнена из медицинского пластиката (полихлорвинила – ПХВ) и конструктивно представляет собой, например, отрезок полой трубки из пластиката (ПХВ), диаметром, например, от 2-2,5 см до 3,5-4 см. Возможен вариант выполнения эластичной обоймы 10 некруглого сечения, например эллипсообразного сечения. Для достижения удобства транспортировки и обеспечения эксплуатационной надежности и предотвращения преждевременного обрыва транспортировочной ручки размер эластичной обоймы 10 выбирают строго в соответствии с горизонтальным размером транспортировочных ручек 2-9 и устанавливают в диапазоне от 19 до 24 см. Таким образом, исключается горизонтальное смещение обоймы 10 к одному из концов транспортировочной ручки и неравномерность распределения нагрузки по длине ручки.
При изготовлении обоймы 10 используют медицинский пластикат светлого или бесцветного цвета, поскольку обоймы транспортировочных ручек 2-9 одновременно являются индикаторами загрязненности носилок и сигнальным элементом необходимости проведения дезинфекции и санитарной обработки носилок.
При транспортировке пострадавшего размещают на лицевой стороне основы 1. Для обеспечения удобства его транспортировки, минимизации уровня провисания пострадавшего на носилках и обеспечения долговечности носилок (увеличения ресурса их работы) на наружной стороне основы 1 выполнены две конструктивно различные системы ребер жесткости.
Первая система ребер жесткости размещена последовательно на основе 1 и выполнена в виде 3-х частей:
– первая часть включает стропные ленты 11 и 12, закрепленные х-образно («крест на крест») между транспортировочными ручками 2 и 3 (первая горизонтальная пара транспортировочных ручек) и 5 и 4 (вторая горизонтальная пара транспортировочных ручек);
– вторая часть включает стропные ленты 13 и 14, закрепленные х-образно между транспортировочными ручкам 5 и 4 (вторая горизонтальная пара транспортировочных ручек) и 7 и 6 (третья горизонтальная пара транспортировочных ручек);
– третья часть включает стропные ленты 15 и 16, закрепленные х-образно между транспортировочными ручками 7 и 6 (третья горизонтальная пара транспортировочных ручек) и 9 и 8 (четвертая горизонтальная пара транспортировочных ручек).
Изобретение предусматривает возможность выполнения ребер жесткости, включающих стропные ленты 11, 14 и 15 и транспортировочные ручки 2, 5, 6 и 9, и ребер жесткости 12, 13 и 16 и транспортировочных ручек 3, 4, 7 и 8 на основе одной цельной стропной ленты соответствующей длины.
Вторая система ребер жесткости выполнена в виде замкнутого контура из стропной ленты 17, закрепленной по прямоугольному периметру основы 1. Заявителем в процессе исследований установлено, что для формирования ребер жесткости предпочтительным является использование стропной ленты шириной 40-50 см.
Следует пояснить техническое содержание термина «стропная лента». Лента – узкое тканое изделие, сработанное из волокнистых материалов (см. «Краткий Политехнический словарь», М., 1955 г., стр.487). Применяется (в том числе) для технических целей. Стропы – грузозахватные приспособления для тяги и подъема. Отечественной промышленностью выпускаются различные модификации текстильных строп, в том числе текстильные стропы повышенной прочности, которые изготавливают на основе плоской тканой ленты из натуральных и синтетических материалов. Таким образом, термин «стропная лента» наиболее точно и адекватно отражает конструктивную форму и функциональное назначение данного элемента носилок.
Двухуровневая система ребер жесткости, реализованная в патентуемых носилках, учитывает:
– неравномерность нагрузки на отдельные участки основы 1 носилок при транспортировке пострадавшего;
– области (зоны) максимальной нагрузки на участки основы 1 при размещении на них пострадавшего, которые требуют размещения на них упрочняющих конструктивных элементов – стропных лент.
В результате за счет различной комбинации геометрии расположения стропных лент на наружной стороне основы 1 (расположение крестообразно и в виде прямоугольника по контуру основы) обеспечивается:
– повышенная прочность и жесткость основы 1 носилок;
– минимальный уровень деформации материала основы 1 и оптимальный уровень провисания пострадавшего при его транспортировке;
– увеличенный срок эксплуатации носилок.
Для хранения и транспортировки носилок в сложенном виде предусмотрен (фиг.2а, б) чехол 18 с транспортировочной ручкой 19, которая закреплена по центру тяжести чехла с упакованными в нем носилками. Чехол 18 имеет торцевое отверстие для размещения в полости чехла сложенных носилок и клапан 20 для фиксации и закрепления носилок в полости чехла и обеспечения гигиеничности хранения и транспортировки носилок. Фиксация клапана 20 на корпусе чехла 18 осуществляется с использованием различных известных элементов сопряжения, например застежки типа «молния» или «липучка (на фиг. не показано).
На корпусе чехла 18 размещено от 2-х до 4-х накладных карманов для хранения различных информационных материалов, элементов фиксации пациента и различных медицинских принадлежностей. На фиг.2 приведен вариант реализации чехла 18 с двумя накладными карманами 21 и 22. Карман 21 предназначен для информационных материалов (например, для номера медицинской бригады), а карман 22 для хранения двух фиксационных строп 23 средства фиксации пострадавшего на носилках.
Патентуемые носилки снабжены средствами для фиксации пострадавшего на лицевой поверхности носилок. Средства фиксации пострадавшего включают две пары полуколец 24 и 25 и 26 и 27, которые расположены и закреплены на наружной стороне основы 1 попарно по разные стороны основы в области груди и бедер пострадавшего. При этом для исключения горизонтального смещения полуколец 24-27 и деформации стропных лент 23 места крепления полуколец дополнительно закреплены упрочняющим швом, выполненным вдоль прямой стороны полуколец.
Отверстия полуколец 24-27 служат для размещения в них двух съемных стропных лент 23 с замковыми элементами (на фиг. не показаны), которые обеспечивают в соответствии с конституцией пострадавшего фиксацию стропных лент 23 в области его груди и бедер.
Для подвешивания носилок (при просушивании, транспортировке) по ширине основы 1 с каждой стороны выполнены отверстия 28, упрочненные металлическими втулками (люверсы).
Конструктивным и эксплуатационным достоинством патентуемых носилок является их повышенная прочность и долговечность. Это достигается дополнительным упрочнением всех возможных «концентраторов напряжения», т.е. мест повышенной нагрузки.
Медицинская практика эксплуатации носилок показала, что проблемными в части первичных разрушений и значительных деформаций являются места крепления транспортировочных ручек к основе носилок. В патентуемых носилках все места крепления транспортировочных ручек 2-9 к основе 1, а также ручки 19 к корпусу чехла 18 выполнены двойным швом по периметру и двумя диагональными швами и дополнительным швом в месте крепления транспортировочной ручки и края основы 1 (фиг.3). Применение в конструкции носилок подобных упрочняющих швов обеспечивает их повышенную эксплуатационную надежность и долговечность.
Патентуемые носилки используют следующим образом.
В исходном состоянии носилки находятся в свернутом положении в полости чехла 18. После транспортировки носилок на место их практического использования открывают клапан 20, достают и разворачивают носилки. Из кармана 22 чехла 18 (при необходимости) достают две стропные фиксационные ленты 23. Вставляют одну стропную ленту 23 в отверстия полуколец 24 и 25, а другую – в отверстия полуколец 26 и 27. Пострадавшего укладывают на лицевую сторону основы 1 и с помощью двух стропных лент 23 с замковыми элементами обеспечивают его фиксацию на основе 1. После чего за транспортировочные ручки 2-9 подымают основу 1 с пострадавшим и осуществляют его транспортировку.
Освобождение пострадавшего от фиксирующих стропных лент 23 проводят путем вытаскивания стропных лент 23 из соответствующих замковых элементов (на фиг. не показаны) и полуколец 24 и 25 и 26 и 27.
Патентуемая конструкция носилок прошла многочисленные испытания, которые подтвердили:
– повышенные прочностные и эксплуатационные характеристики основы, транспортировочных ручек и средств фиксации пострадавшего;
– удобство и комфортность практического использования носилок при транспортировке пострадавших в тесном и ограниченном пространстве;
– эксплуатационную надежность, компактность носилок в сложенном виде, их небольшой вес и удобство хранения и транспортировки.
Были изготовлены опытные образцы бескаркасных носилок из прочной ПХВ (полихлорвиниловой) ткани темно-синего цвета размером 190×85 см. Вес носилок – не более 2-х кг. Подтвержденная практическая эффективность носилок, запоминающийся дизайн и цветофактурное решение доминирующих элементов носилок, а также совокупность высоких технических и эксплуатационных показателей выгодно отличает патентуемую конструкцию носилок от известных устройств аналогичного назначения и обеспечивает их перспективное применение службами скорой помощи, медицины катастроф, ГО и ЧС и различными мобильными медицинскими формированиями.
Формула изобретения
1. Носилки бескаркасные, содержащие прямоугольную основу с ребрами жесткости, по длине которой закреплены четыре пары транспортировочных ручек, отличающиеся тем, что содержат чехол для хранения и транспортировки и средства фиксации пострадавшего, включающие две пары полуколец, которые расположены на наружной стороне основы и закреплены попарно по разные стороны основы в области груди и бедер пострадавшего, причем отверстия полуколец выполнены для размещения в них стропных лент с замковыми элементами, которые обеспечивают натянутое положение стропной ленты относительно тела пострадавшего, фиксацию пострадавшего осуществляют в соответствии с его конституцией двумя стропными лентами, а основа выполнена из полихлорвиниловой ткани и на своей наружной поверхности содержит две системы ребер жесткости, одна из которых выполнена в виде трех частей, каждая из которых представляет собой х-образно закрепленные стропные ленты, расположенные на основе соответственно между первой и второй, второй и третьей и третьей и четвертой горизонтальной парой транспортировочных ручек, при этом другая система выполнена в виде замкнутого контура из стропной ленты, закрепленного по периметру основы, каждая транспортировочная ручка имеет горизонтальный размер – длину от 20 до 25 см, выполнена из стропной ленты и снабжена эластичной обоймой, которая является одновременно и индикатором загрязненности носилок.
2. Носилки по п.1, отличающиеся тем, что чехол выполнен с транспортировочной ручкой, а торцевое загрузочное отверстие чехла закрыто клапаном на застежку, при этом на корпусе чехла расположены от 2-х до 4-х карманов для хранения информационных материалов, элементов фиксации пациента на основе и медицинских принадлежностей.
3. Носилки по п.2, отличающиеся тем, что в качестве застежки клапана чехла используют застежки типа «молния», «липучка».
4. Носилки по п.1, отличающиеся тем, что длина основы составляет 180-195 см, а ширина 85-95 см.
5. Носилки по п.1, отличающиеся тем, что ребра жесткости основы выполнены из стропной ленты шириной от 40 до 50 мм.
6. Носилки по п.1, отличающиеся тем, что эластичные обоймы размещены на транспортировочных ручках и выполнены из медицинского пластиката.
7. Носилки по п.1, отличающиеся тем, что эластичные обоймы из медицинского пластиката выполнены длиной от 19 до 24 см.
8. Носилки по п.1, отличающиеся тем, что длину транспортировочных ручек (LР) и длину эластичной обоймы (Lо) выполняют с учетом зависимости LР-Lо=1-2 см.
9. Носилки по п.1, отличающиеся тем, что для подвешивания носилок по ширине прямоугольной основы выполнены металлические отверстия «люверсы».
10. Носилки по п.1, отличающиеся тем, что для обеспечения повышенной прочности и долговечности носилок места крепления транспортировочных ручек к основе и места крепления транспортировочной ручки чехла выполнены двойным швом по периметру и двумя диагональными швами и дополнительным швом в месте соединения транспортировочной ручки и края основы.
РИСУНКИ
|