|
|
(21), (22) Заявка: 2006113532/14, 21.04.2006
(24) Дата начала отсчета срока действия патента:
21.04.2006
(46) Опубликовано: 10.03.2008
(56) Список документов, цитированных в отчете о поиске:
US 6692490 B1, 17.02.2004. US 200300195500 A, 16.10.2003. US 6823218 B2, 23.11.2004. US 4411266 А, 25.10.1983. RU 2250118 С2, 20.04.2005. HONDA N. Percutaneous hot saline injection therapy for hepatic tumors: an alternative to ethanol injection therapy. Radiology, 1, 1994, p.53-57.
Адрес для переписки:
117342, Москва, ул. Введенского, 27, корп.2, кв.157, В.Н. Макарову
|
(72) Автор(ы):
Чиссов Валерий Иванович (RU), Решетов Игорь Владимирович (RU), Макаров Валерий Николаевич (RU), Хитров Юрий Александрович (RU)
(73) Патентообладатель(и):
Чиссов Валерий Иванович (RU), Решетов Игорь Владимирович (RU), Макаров Валерий Николаевич (RU), Хитров Юрий Александрович (RU)
|
(54) СПОСОБ МИКРОВОЛНОВОЙ ДИАТЕРМОКОАГУЛЯЦИИ БИОТКАНИ И УСТРОЙСТВО ДЛЯ ЕГО ОСУЩЕСТВЛЕНИЯ
(57) Реферат:
Изобретение относится к области медицины и ветеринарии, преимущественно к хирургии, и может быть использовано для разрушения патологически измененных тканей тела человека и животных. Способ микроволновой диатермокоагуляции биоткани включает введение в биоткань излучателя и последующие, одновременные, микроволновый нагрев и введение в биоткань раствора NaCl, при этом вводят 20-25% раствор NaCl со скоростью 0,5-1 мл/мин в объеме, равном объему разрушаемой биоткани, а нагрев осуществляют при выходной мощности 20-30 Вт. Устройство для микроволновой диатермокоагуляции биоткани содержит подключенный к микроволновому генератору излучатель, выполненный в виде отрезка коаксиальной линии, образующего рабочую часть и включающего внешний и выступающий внутренний проводники с изоляцией между ними. На конце внутреннего проводника прикреплен основанием металлический наконечник, выполненный в виде полусферы. Излучатель установлен с зазором в радиопрозрачном катетере, а рабочая часть покрыта слоем диэлектрика с толщиной, равной толщине внешнего проводника коаксиальной линии. Использование изобретения позволяет увеличить объем разрушаемой ткани и уменьшить травматичность за счет улучшения эффективности передачи энергии от излучателя в разрушаемую ткань. 2 н.п. ф-лы, 3 ил.
Изобретение относится к области медицины и ветеринарии, преимущественно к хирургии, и может быть использовано для разрушения патологически измененных тканей тела человека и животных.
Известны химические и физические способы необратимой коагуляции белков (Жоли М. Физическая химия денатурации белков. М. Мир. 1968.), являющихся важнейшими структурными и функциональными молекулами живых клеток, совокупность которых образует различные биоткани.
Однако к настоящему времени в клинике используется лишь один способ химического разрушения биоткани, а именно инъекция в нее этанола (Erce С., Parks R.W. Interstitial ablative techniques for hepatic tumors. British Journal of Surgery. 2003, 90, 272-289).Таким способом удается надежно разрушать опухоли диаметром до 3 см. Несмотря на эффективность и дешевизну способ обладает существенными недостатками. Для полного разрушения биоткани инъекции приходится многократно повторять (до 10 и более раз) из-за непредсказуемости распределения вводимого спирта по объему биоткани.
Среди физических способов наиболее широко используется термокоагуляция. Практическое значение имеют лишь три способа нагрева: за счет поглощения биотканью лазерного излучения, а также за счет пропускания через биоткань высокочастотного и сверхвысокочастотного токов (Ng K.K.C. et al. Thermal ablative therapy for malignant liver tumors: A critical appraisal. J. gastroenterology and hepatology. 2003, 18, 616-629).
Объем биоткани, разрушаемой этими способами, примерно одинаков и не превышает 3 см в диаметре. Для увеличения объема разрушения представляет большой интерес совместное действие химических и физических способов разрушения. Однако вопрос о совместном действии химических и физических методов разрушения биоткани исследован еще недостаточно и во многом непредсказуем.
Наиболее близким к предлагаемому является способ микроволновой диатермокоагуляции биоткани по патенту США № 6692490. Основным недостатком этого способа является небольшой объем разрушения (до 3 см за 10-15 мин.). Увеличение мощности, передаваемой от генератора в излучатель, и длительности диэлектрического нагрева не приводит к увеличению объема разрушения. Поэтому для коагуляции ткани более 3 см в диаметре процедуру введения излучателя в биоткань с последующим нагревом приходится выполнять многократно, что увеличивает травматичность способа.
Задачей настоящего изобретения является уменьшение травматичности способа за счет увеличения объема разрушаемой биоткани за одну процедуру.
Для этого в известном способе диатермокоагуляции биоткани, включающем введение в биоткань излучателя и последующие, одновременные, микроволновый нагрев и введение в биоткань раствора NaCl, одновременно с нагревом в биоткань вводят 20-25% раствор NaCl со скоростью 0,5-1 мл/мин в объеме, равном объему разрушаемой биоткани, а нагрев осуществляют при подводимой мощности 20-30 Вт. Проведенные нами эксперименты показали, что с повышением концентрации NaCl вплоть до насыщения (26,4% при 20°С) в вводимом в биоткань растворе объем коагулированной биоткани увеличивается. Скорость введения раствора, превышающая 1 мл/мин, часто приводит к вытеканию части вводимого раствора на поверхность органа через канал, образованный внедрением монопольного излучателя для диатермокоагуляции в биоткань. Это приводит к повреждению части здоровых клеток около поверхности канала введения, что является нежелательным явлением.
При нагреве биоткани мощностью, превышающей 30 Вт, жидкость в биоткани, прилегающей непосредственно к излучателю, быстро закипает, что затрудняет дальнейшую эффективную передачу энергии от излучателя в биоткань. При мощности меньше 20 Вт уменьшается объем коагулированной ткани.
Техническим результатом выполнения именно этих режимов является оптимальное воздействие двух разрушающих факторов, приводящее к увеличению объема термонекроза биоткани почти в два раза и, тем самым, к уменьшению травматичности, поскольку отпадает необходимость повтора процедуры.
Для реализации предлагаемого способа используется устройство, наиболее близким аналогом которому является установка, содержащая подключенный к микроволновому генератору излучатель, выполненный в виде отрезка коаксиальной линии, образующего рабочую часть и включающего внешний и выступающий внутренний проводники с изоляцией меду ними. На конце внутреннего проводника прикреплен основанием металлический наконечник, выполненный в виде полусферы.
Известное устройство имеет ряд существенных недостатков:
– небольшой объем коагулированной биоткани (не более 3 см в диаметре);
– низкий коэффициент передачи энергии от излучателя в биоткань из-за плохого согласования волновых сопротивлений биоткани и антенны (коэффициент стоячей волны КСВ>3);
– большое отклонение от сферичности объема коагулированной биоткани (соотношение образующегося эллипса порядка 1 к 2), в то время, как большинство небольших опухолей и метастазов, например, печени имеют сферическую форму;
– припекание коагулированной биоткани к поверхности проводника, что ухудшает передачу энергии в биоткань, а также очень низкий порог зажигания плазмы между внешним проводником и металлическим наконечником, что ограничивает уровень мощности, используемой для коагуляции биотканей, величинами, не превышающими 10 Вт.
Задачей настоящего изобретения является устранение указанных недостатков. Для этого в известном устройстве для микроволновой диатермокоагуляции биоткани, содержащем подключенный к микроволновому генератору излучатель, выполненный в виде отрезка коаксиальной линии, образующего рабочую часть и включающего внешний и выступающий внутренний проводники с изоляцией меду ними, на конце внутреннего проводника прикреплен основанием металлический наконечник, выполненный в виде полусферы, излучатель установлен с зазором в радиопрозрачном катетере, а рабочая часть покрыта слоем диэлектрика с толщиной, равной толщине внешнего проводника коаксиальной линии.
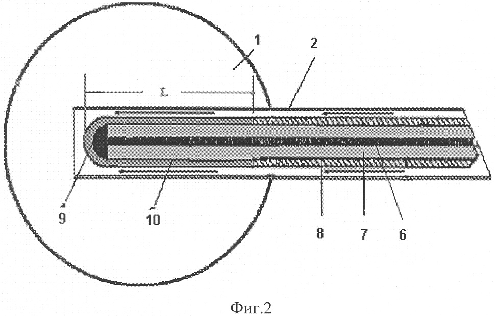
Сущность изобретения поясняется фиг.1 и 2. Как видно из фиг.1, устройство, вводимое в биоткань 1, состоит из радиопрозрачного фторопластового катетера 2 и рабочей части 3 микроволнового излучателя. Между излучателем и катетером имеется зазор, в который с помощью тройника 4 вводят раствор NaCl. Конец излучателя через соединительный фланец 5 соединен с коаксиальным кабелем, подводящим микроволновую мощность от генератора (не показаны). На фиг.2 показано более подробно устройство рабочей части излучателя. Устройство состоит из внутреннего проводника 6, фторопластовой изоляции 7 и внешнего проводника 8, образующих коаксиальную линию, подводящую энергию к излучателю. Один конец внутреннего проводника подключен к соединительному фланцу, а другой конец – к основанию полусферического металлического наконечника 9. Вся выступающая часть, включая наконечник, покрыта слоем диэлектрика 10 с толщиной, равной толщине внешнего проводника коаксиальной линии. Длина излучающей части, выступающей из коаксиальной линии L, зависит от электрофизических свойств биоткани и равна 17 мм (длина волны в ткани печени при частоте генератора 2450 МГц). Весь излучатель помещен во фторопластовый катетер 2 и введен в разрушаемую биоткань 1.
Работа устройства может быть пояснена с помощью блок-схемы установки для микроволновой коагуляции, представленной на фиг.З. Установка содержит насос 11, блок управления с индикатором температуры 12 и микроволновый генератор 13, работающий на частоте 2,45 ГГц, к которому с помощью гибкого коаксиального кабеля через разъемный фланец 5 подсоединен излучатель 3. Под контролем ультразвукового сканера, не показанного на фиг.3, катетер 2 со стилетом (на фиг.3 не показан) вводят в биоткань 1. Затем стилет удаляют и на его место вводят излучатель 3. Фторопластовый катетер 2 с помощью тройника 14 подсоединен к инфузионному насосу 11. Включают насос 11, подающий раствор NaCl, и в излучатель 3 подают мощность от генератора 13. Передаваемая от излучателя в биоткань мощность приводит к ее нагреву до температуры коагуляции и выше, разрушая биоткань. Контроль температуры осуществляют путем введения в биоткань 1 термодатчика 15, подсоединенного к блоку управления 12, позволяющего менять режим нагрева биоткани.
Испытания предлагаемого способа и устройства для его осуществления были проведены на печени свиньи. Под общим наркозом животное фиксировали на операционном столе и с помощью ультразвукового сканера вводили излучатель в различные доли печени по описанной выше методике. Инфузию 25% раствора NaCl проводили со скоростью 1,0 мл/мин. Передаваемая в биоткань мощность составляла 30 Вт. Длительность нагрева была от 20 до 30 мин. До и после нагрева измеряли КСВ. По окончании эксперимента животное умерщвляли, вскрывали брюшную полость и проводили измерения размеров области коагуляции.
Результаты испытаний показали, что с помощью предлагаемого способа и устройства достигается почти сферический объем коагуляции. При этом нагрев в течение 20 мин приводил к коагуляции ткани диаметром около 3,5 см, что соответствует объему 20 мл, а при нагреве в течение 30 мин диаметр коагуляции несколько превышал 4 см, что соответствует объему 30-35 мл. Последние величины более чем в два раза превышают объем коагуляции, достигнутый с помощью прототипа. КСВ излучателя был равен 1,5 как до, так и после коагуляции, что также в два раза меньше, чем у прототипа. Припекания коагулированной биоткани к излучателю не наблюдалось.
Таким образом, использование предлагаемого способа и устройства значительно увеличивает объем разрушаемой биоткани, уменьшает травматичность способа и улучшает сферичность коагуляции за счет использования совместного действия концентрированного раствора NaCl и микроволнового нагрева, а также за счет улучшения эффективности передачи энергии от излучателя в разрушаемую биоткань.
Больная Ц., 31 год, находилась на лечении в отделении микрохирургии МНИОИ им. П.А.Герцена с диагнозом: Гемангиоперицитома нижней челюсти справа. При осмотре: Лицо асимметрично вследствие частичного пареза лицевого нерва справа. В околоушной области справа определяется узловое образование плотно-эластической консистенции, с гладкой поверхностью, неподвижное, болезненное при пальпации, размером 5×6 см. По данным компьютерной томографии: В мягких тканях лица справа определяется опухолевое образование с локализацией в правой парафарингеальной области.
Тактика лечения больной обсуждена на межотделенческом консилиуме с участием радиологов и химиотерапевтов. Учитывая данные о распространенности опухолевого процесса и морфологической структуре опухоли, единственно возможным методом помощи больной является попытка проведения локальной термокоагуляции области первичного очага с последующим возможным проведении химиотерапии с паллиативной целью. Больной проведен сеанс микроволновой диатермокоагуляции опухоли предлагаемым способом и устройством. Под местной анестезией с помощью ультразвукового сканера в ткань опухоли вводили излучатель и игольчатый термодатчик на расстоянии 2 см от излучателя. После введения излучателя и термодатчика включали генератор и проводили диатермокоагуляцию при уровне мощности 20 Вт с одновременной инфузией 20% раствора NaCl со скоростью 1 мл/мин в течение 30 мин.
По окончании лечения по данным контрольного обследования через 3 месяца отмечается стабилизация опухолевого процесса, отсутсвие признаков продолженного роста опухоли, уменьшение опухолевого массива за счет рубцевания и фиброза.
Формула изобретения
1. Способ микроволновой диатермокоагуляции биоткани, включающий введение в биоткань излучателя и последующие, одновременные, микроволновый нагрев и введение в биоткань раствора NaCl, отличающийся тем, что вводят 20-25%-ный раствор NaCl со скоростью 0,5-1 мл/мин в объеме, равном объему разрушаемой биоткани, а нагрев осуществляют при выходной мощности 20-30 Вт.
2. Устройство для микроволновой диатермокоагуляции биоткани, содержащее подключенный к микроволновому генератору излучатель, выполненный в виде отрезка коаксиальной линии, образующего рабочую часть и включающего внешний и выступающий внутренний проводники с изоляцией между ними, на конце внутреннего проводника прикреплен основанием металлический наконечник, выполненный в виде полусферы, отличающееся тем, что излучатель установлен с зазором в радиопрозрачном катетере, а рабочая часть покрыта слоем диэлектрика с толщиной, равной толщине внешнего проводника коаксиальной линии.
РИСУНКИ
|
|