|
|
(21), (22) Заявка: 2006128839/14, 08.08.2006
(24) Дата начала отсчета срока действия патента:
08.08.2006
(46) Опубликовано: 10.03.2008
(56) Список документов, цитированных в отчете о поиске:
СЕМЕНОВ В.В. Применение микрохирургической техники для лечения компрессионных синдромов поясничного остеохондроза. Дис. канд. мед. наук. – Новокузнецк, 2002, с.82, рис.4.6. US 6929606 В2, 16.08.2005. SU 695664 А, 05.11.1979. US 4817587 А, 04.04.1989. ЗАХАРОВ Н.И. Холецистэктомия из минидоступа. – Новосибирск, 1993, с.12.
Адрес для переписки:
650099, г.Кемерово, Главпочтамт, а/я 22, В.С. Старых
|
(72) Автор(ы):
Семёнов Виктор Викторович (RU), Старых Владимир Степанович (RU), Гинзбург Евгений Романович (RU)
(73) Патентообладатель(и):
ООО Агентство медико-социальной помощи “Милосердие” (RU)
|
(54) УСТРОЙСТВО ДЛЯ МИКРОХИРУРГИЧЕСКОЙ ОПЕРАЦИИ НА МЕЖПОЗВОНКОВЫХ ДИСКАХ
(57) Реферат:
Изобретение относится к нейрохирургии и может быть использовано для хирургического лечения больных с дегенеративно-дистрофическими поражениями межпозвонковых дисков. Устройство для микрохирургической операции на межпозвонковых дисках содержит две бранши. Бранши соединены с возможностью взаимного перемещения и имеют кольцевидные головки. Головки обеспечивают возможность вращательного перемещения зеркала одной бранши в просвете зеркала другой бранши. Зеркало наружной бранши выполнено в виде полутрубки. Зеркало внутренней бранши выполнено в виде трубки. На рабочем конце трубки выполнен боковой вырез для обзора и выполнения хирургических действий. В результате уменьшаются осложнения после микрохирургического вмешательства на межпозвонковых дисках путем снижения травмы тканей и улучшения обзора в операционной ране. 5 з.п. ф-лы, 8 ил.
Изобретение относится к медицине, в частности к нейрохирургии, и предназначено для хирургического лечения больных с дегенеративно-дистрофическими поражениями межпозвонковых дисков.
Поскольку у больных с поясничным остеохондрозом терапевтическое лечение может приводить только к временному облегчению, а при корешковом компрессионном синдроме не эффективно, в большинстве случаев прибегают к хирургической операции. Применение традиционных способов оперативного вмешательства (гемиламинэктомия, частичная гемиламинэктомия, интерляминэктомия) при протрузиях и пролапсах межпозвонковых дисков в 20-50% случаев не устраняет вертеброгенные рефлекторные и компрессионные синдромы [Самотокин Б.А., Верховский А.И. Послеоперационные рецидивы поясничного остеохондроза и их хирургическое лечение. Вопросы нейрохирургии. М. 1983. С.30-34; Юмашев Н.С., Фурман М.Е. Остеохондрозы позвоночника. М. 2-е издание. М.: Медицина, 1984, с.384]. Рецидивы болевых синдромов после декомпрессивных ламинэктомий связаны с операционной травмой: повреждением эпидуральных вен, фиброзом травмированных мышц и послеоперационным рубцово-спаечным эпидуритом. После минимально инвазивных методов лечения даже при небольшом операционном разрезе (хемонуклеолиз, микрохирургическая дискэктомия и чрескожная дискэктомия) 10-12% больных отмечают корешковые компрессионные синдромы [Кривошапкин А.Л., Фонин В.В. Материалы VI международного симпозиума: Современные минимально-инвазивные технологии (нейрохирургия, вертебрология, неврология, нейрофизиология). – СПб., 2001, С.318]. Caspar W. одним из основных требований к проведению микрохирургической дискэктомии на поясничном уровне считает минимальный травматизм при подходе к зоне хирургического вмешательства [приведено из Семенова В.В. Там же. С.41]. Повреждения в операционной ране во многом связаны с несовершенством хирургических инструментов, предназначенных для защиты тканей во время манипуляций в узкой операционной ране. Это обстоятельство побудило нас к разработке специального хирургического инструмента, еще более снижающего травму тканей в ране во время малоинвазивного микрохирургического вмешательства на межпозвонковых дисках.
Известен ранорасширитель для микрохирургических операций при выпадении межпозвонковых дисков по патенту РФ № 2014010, содержащий зубчатую рейку с установленными на ней параллельно друг другу неподвижной и подвижной браншами, снабженными опорными крюками, первый из которых выполнен сменным с ориентированными под углом зубьями. Оба крюка соединены с браншами стержнями, расположенными перпендикулярно плоскости перемещения бранш. Первый крючок ориентирован к плоскости перемещения бранш под углом больше 90°, но меньше 180° и выполнен двузубым с конической заточкой зубьев, ориентированных к плоскости применения бранш под углом 45°, а второй крючок жестко соединен с браншей.
Недостатком такого устройства является отсутствие в нем признаков, направленных на уменьшение осложнений после хирургического вмешательства на межпозвонковых дисках путем снижения травмы тканей и улучшения обзора в операционной ране.
Известен также ранорасширитель для операций на спинном мозге по патенту РФ № 2019136, содержащий разъемные рабочие зеркала с расклинивающим разводящим механизмом. Рабочие части выполнены в виде изогнутых по поверхности полуцилиндров пластин с продольными торцевыми пазами, снабженными фиксирующими выемками. Механизм размещен с возможностью перемещения в продольных торцевых пазах ползунков, изогнутых по поверхности усеченного конуса и снабженных размещенными на торцах выступами, выполненными с возможностью взаимодействия с фиксирующими выемками.
Недостатком такого устройства является отсутствие в нем признаков, направленных на уменьшение осложнений после хирургического вмешательства на межпозвонковых дисках путем снижения травмы тканей и улучшения обзора в операционной ране.
Известен ранорасширитель по патенту США № 5618260, содержащий соединенные на оси три ручки, на рабочих концах двух из них выполнены плоские перфорированные бранши. На рабочем конце размещенной между ними третьей ручки выполнено зеркало, обращенное к пространству между браншами.
Недостатком такого устройства является отсутствие в нем признаков, направленных на уменьшение осложнений после хирургического вмешательства на межпозвонковых дисках путем снижения травмы тканей и улучшения обзора в операционной ране.
Известен ретрактор – ранорасширитель Каспара, содержащий две овально вогнутые бранши с зацепами на их концах, каждая из которых прикреплена к ручке, которые размещены на одном стержне с возможностью перемещения на нем и ограничительную фиксирующую гайку [Ретрактор Каспара. Каталог инструментов. Эскадо Междикал. С-Пб. 2006. Рис.1.
Недостатком такого устройства является отсутствие в нем признаков, направленных на уменьшение осложнений после хирургического вмешательства на межпозвонковых дисках путем снижения травмы тканей и улучшения обзора в операционной ране.
Известен видоизмененный ранорасширитель Каспара, содержащий соединенные на оси две ручки, на рабочих концах которых выполнены полукруглые бранши со встречно-направленными зубцами, и у пространства между ними третью браншу на стержне, который коленом прикреплен к ручкам [Семенов В.В. Применение микрохирургической техники для лечения компрессионных синдромов поясничного остеохондроза. Дис. канд. мед. наук. Новокузнецк, 2002, с.82. рис.4.6-прототип].
Недостатком такого устройства является отсутствие в нем признаков, направленных на уменьшение осложнений после хирургического вмешательства на межпозвонковых дисках путем снижения травмы тканей и улучшения обзора в операционной ране.
Технический результат изобретения заключается в уменьшении осложнений после микрохирургического вмешательства на межпозвонковых дисках путем снижения травмы тканей и улучшения обзора в операционной ране.
Технический результат достигается тем, что, устройство для микрохирургической операции на межпозвонковых дисках содержит две бранши, соединенные с возможностью взаимного перемещения. Бранши имеют кольцевидные головки с возможностью вращательного перемещения зеркала одной бранши в просвете зеркала другой. Причем зеркало наружной бранши выполнено в виде полутрубки, а зеркало внутренней – в виде трубки, на рабочем конце которой выполнен боковой вырез.
В предпочтительном варианте на боковых поверхностях головок каждой бранши выполнено по одному пазу, причем на головке внутренней бранши пазы выполнены под выступы дуги, а на головке наружной бранши – под рабочий конец фиксатора.
В следующем предпочтительном варианте на концах дуги в проекции одной оси выполнены выступы, в средней части дуги размещена поперечина с муфтой с возможностью вращения муфты в плоскости, перпендикулярной оси поперечины, а в продольном канале муфты выполнена внутренняя резьба под внешнюю резьбу фиксатора.
В другом предпочтительном варианте наружный диаметр кольцевидной головки выполнен размерами не более диаметра кольцевидной головки наружной бранши и не менее диаметра просвета кольца внутренней бранши.
В очередном предпочтительном варианте резьба фиксатора выполнена с возможностью расположения ее в канале муфты при размещении рабочего конца фиксатора в пазу головки наружной бранши.
В последнем предпочтительном варианте на переднем крае рабочего конца зеркала наружной бранши выполнен зубец.
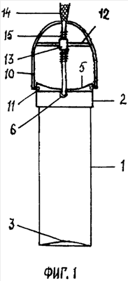
Сущность технического решения и конкретный пример выполнения устройства поясняется чертежами. На фиг.1 изображено устройство в собранном состоянии, вид спереди. На фиг.2 – то же, вид сбоку. На фиг.3 – часть устройства – подвижная бранша в сборе с дугой и фиксатором, вид сбоку. На фиг.4 – другая часть устройства – наружная бранша, вид сбоку. На фиг.5 – та же наружная бранша, вид снизу. На фиг.6 – часть устройства в сборе – подвижная бранша с дугой и фиксатором – вид спереди. На фиг.7 – устройство в работе с открытым боковым окном – вид сбоку. На фиг.8 – деталь устройства – фиксатор. На фиг.1-8 обозначены: 1 – зеркало наружной бранши; 2 – кольцевидная головка наружной бранши; 3 – зубец на внешней поверхности рабочего конца зеркала наружной бранши; 4 – внутреннее зеркало подвижной бранши; 5 – кольцевидная головка внутренней подвижной бранши; 6 – боковой паз на передней поверхности кольцевидной головки наружной бранши; 7 – боковой паз на задней поверхности кольцевидной головки наружной бранши; 8 – паз на боковой поверхности кольцевидной головки внутренней подвижной бранши под выступ ручки; 9 – боковой вырез окна на рабочем конце зеркала внутренней подвижной бранши; 10 – дуга; 11 – выступ ручки для паза на боковой поверхности кольцевидной головки внутренней подвижной бранши; 12 – поперечина ручки; 13 – муфта, содержащая продольный канал с внутренней резьбой под внешнюю резьбу фиксатора; 14 – ручка фиксатора; 15 – внешняя резьба фиксатора; 16 – рабочий конец фиксатора.
Конкретный пример работы с устройством. Больной Д. с диагностированной парамедианной грыжей диска пятого поясничного позвонка, произведена микрохирургическая дискэктомия указанной локализации. При этом после минимального разреза мягких тканей в рану введено устройство в собранном виде с закрытым боковым вырезом – окном. (Возможно введение в рану сначала одной детали – зеркала в виде полутрубки, затем в ее кольцевидную головку ввести вторую деталь – зеркало в виде трубки с боковьм вырезом). Устройство введено в рану и зубцом 3 на рабочем конце зеркала наружной бранши подведено в противоположном от пораженного диска крае раны под мягкие ткани. Вращением за дугу 10 внутренняя подвижная бранша с внутренним зеркалом 4 в просвете кольцевидной 2 головки наружной бранши повернута на 180°. При этом боковой вырез 9 открыл боковое окно с видом на боковую поверхность у дна раны в зоне патологического очага. Улучшился обзор и возможности манипулирования в глубине раны. По ходу операции возникла необходимость повернуть ручку с фиксатором в сторону ассистента и создать более удобные условия для работы оператора. Для этого вращением по оси ручки 14 фиксатора рабочий конец 16 его выведен из паза 7, ручка извлечена из муфты 13. Дугу 10 перекинули вращением кпереди, рабочий конец 16 фиксатора введен в канал муфты 13 и в паз 6, резьбой 15 ввинчен в резьбу продольного канала муфты 13. В результате перемещения удерживающего элемента с сохранением позиции рабочего элемента устройства в ране улучшились условия для работы оперирующего хирурга и ассистента. При осмотре под операционным микроскопом через просвет устройства и бокового окна в глубине раны выявлен корешок первого крестцового позвонка, распластанный на грыжевом выпячивании. Корешок отведен медиально, связка рассечена, обнаружена и удалена вся дегенеративно измененная часть межпозвонкового диска. После гемостаза устройство извлечено из раны.
Существенность отличий заявленного устройства от прототипа заключается в следующем. Наличие у бранш кольцевидных головок с возможностью вращательного перемещения зеркала одной бранши в просвете зеркала другой придает части устройства, вводимой в глубину рану, форму трубки, что снижает травматическое воздействие рабочего конца устройства на ткани организма. Выполнение зеркала наружной бранши в виде полутрубки, а внутреннего зеркала с боковым вырезом расширяет поле обзора в операционной ране и возможности выполнения хирургических действий в нем. Выполнение на головке внутренней бранши пазов под выступы дуги, обеспечивает возможность поворота дуги на 180°, что во время операции позволяет располагать дугу с фиксатором в удобном для ассистента месте. Выполнение пазов на боковых поверхностях головки наружной бранши позволяет вводить рабочий конец фиксатора в любой из этих пазов при противоположных положениях дуги. Выполнение на концах дуги выступов в проекции одной оси позволяет на этих выступах, как на оси, поворачивать дугу в противоположном направлении, создавая удобства в работе хирурга. Выполнение в средней части дуги поперечины с муфтой с возможностью вращения муфты в плоскости, перпендикулярной оси поперечины, обеспечивает возможность размещения фиксатора с любой стороны дуги, что позволяет при повороте дуги на 180° вводить рабочий конец фиксатора в другой паз головки наружной бранши. Выполнение в продольном канале муфты внутренней резьбы под внешнюю резьбу фиксатора обеспечивает возможность продольного перемещения фиксатора в муфте для возможностей введения рабочего его конца в паз наружной бранши для фиксации зеркал в заданном положении. Выполнение наружного диаметра кольцевидной головки внутренней бранши не более диаметра кольцевидной головки наружной бранши не препятствует вхождению конца фиксатора в паз головки наружной бранши. Выполнение наружного диаметра кольцевидной головки внутренней бранши не менее диаметра просвета кольца внутренней бранши препятствует внутреннему зеркалу перемещаться вниз по просвету наружного зеркала. Выполнение резьбы фиксатора с возможностью расположения ее в канале муфты при размещении рабочего конца фиксатора в пазу головки наружной бранши обеспечивает возможность скрепления дуги с головкой наружной бранши. Выполнение на переднем крае рабочего конца зеркала наружной бранши зубца позволяет подводить его под ткани и тем увеличивать поле обзора и повышать надежность удержания устройства в глубине раны.
Таким образом, заявленное устройство в совокупности своих признаков, исключая значительную травму тканей и улучшая обзор в операционной ране при хирургическом вмешательстве на межпозвонковых дисках, обеспечивает снижение травматичности операции, что уменьшает вероятность возникновения осложнений, сокращает затрату времени и повышает качество лечения больных, приводя к экономическому эффекту.
Применение изобретения возможно в ортопедии и в ветеринарии.
Формула изобретения
1. Устройство для микрохирургической операции на межпозвонковых дисках, содержащее две бранши, соединенные с возможностью взаимного перемещения, отличающееся тем, что бранши имеют кольцевидные головки для вращательного перемещения зеркала одной бранши в просвете зеркала другой бранши, причем зеркало наружной бранши выполнено в виде полутрубки, а зеркало внутренней бранши в виде трубки, на рабочем конце которой выполнен боковой вырез для обзора и выполнения хирургических действий.
2. Устройство по п.1, отличающееся тем, что на боковых поверхностях головок каждой бранши выполнено по одному пазу, причем на головке внутренней бранши пазы выполнены под выступы дуги, а на головке наружной бранши – под рабочий конец фиксатора.
3. Устройство по п.1, отличающееся тем, что на внутренней поверхности концов дуги в проекции одной оси выполнены выступы, в средней части дуги размещена поперечина с муфтой с возможностью вращения муфты в плоскости, перпендикулярной оси поперечины, а в продольном канале муфты выполнена внутренняя резьба под внешнюю резьбу фиксатора.
4. Устройство по п.1, отличающееся тем, что наружный диаметр кольцевидной головки выполнен размерами не более диаметра кольцевидной головки наружной бранши и не менее диаметра просвета кольца внутренней бранши.
5. Устройство по п.1, отличающееся тем, что резьба фиксатора выполнена с возможностью расположения ее в канале муфты при размещении рабочего конца фиксатора в пазу головки наружной бранши.
6. Устройство по п.1, отличающееся тем, что на переднем крае рабочего конца зеркала наружной бранши выполнен зубец.
РИСУНКИ
MM4A – Досрочное прекращение действия патента СССР или патента Российской Федерации на изобретение из-за неуплаты в установленный срок пошлины за поддержание патента в силе
Дата прекращения действия патента: 09.08.2008
Извещение опубликовано: 10.07.2010 БИ: 19/2010
|
|