|
| На основании пункта 3 статьи 13 Патентного закона Российской Федерации от 23 сентября 1992 г. № 3517-I патентообладатель обязуется передать исключительное право на изобретение (уступить патент) на условиях, соответствующих установившейся практике, лицу, первому изъявившему такое желание и уведомившему об этом патентообладателя и федеральный орган исполнительной власти по интеллектуальной собственности, – гражданину РФ или российскому юридическому лицу. |
|
(21), (22) Заявка: 2006101770/14, 23.01.2006
(24) Дата начала отсчета срока действия патента:
23.01.2006
(43) Дата публикации заявки: 27.07.2007
(46) Опубликовано: 10.03.2008
(56) Список документов, цитированных в отчете о поиске:
RU 2123798 C1, 27.12.1998. RU 2161902 C1, 20.01.2001. US 6447449 B1, 10.09.2002. US 2003187343 A, 02.10.2003. НЕСТЕРОВ А.П. и др. Приборы для измерения внутриглазного давления. – Вестник офтальмологии, №1, 2003. Kontiola A.I. A new induction-based impact method for measuring intraocular pressure. Acta Ophthalmol Scand. 2000 Apr; 78(2):142-5. (Реферат в PubMed, №10794245).
Адрес для переписки:
390035, г.Рязань, ул. Островского, 31, кв.52, О.Л. Головкову
|
(72) Автор(ы):
Головков Олег Леонидович (RU)
(73) Патентообладатель(и):
Головков Олег Леонидович (RU), Иванищев Константин Васильевич (RU)
|
(54) СПОСОБ ОПРЕДЕЛЕНИЯ ВНУТРИГЛАЗНОГО ДАВЛЕНИЯ ЧЕРЕЗ ВЕКО И УСТРОЙСТВО ДЛЯ ЕГО ОСУЩЕСТВЛЕНИЯ
(57) Реферат:
Изобретение относится к медицине. Данный способ основан на статической деформации века нагрузкой опоры. При этом используют, по крайней мере, два щупа с датчиками давления на глаз и перемещения относительно корпуса. Один из щупов используют в качестве опоры. В процессе измерения на щупы осуществляют переменное во времени и разное друг относительно друга механическое давление на глаз, поступающего на щупы от внешнего источника силы. Внутриглазное давление определяют с помощью датчиков давления в моменты изменения взаимного перемещения щупов при деформации глаза. Применение данного изобретения позволит определять внутриглазное давление через веко независимо от геометрических и физических характеристик глаза. 2 з.п. ф-лы, 3 ил.
Изобретение относится к измерению физических величин и может использоваться для измерения внутриглазного, внутричерепного и другого давления.
Известен метод определения внутриглазного давления Маклакова, основанный на установке на человеческий глаз определенного груза с плоской поверхностью. По площади соприкосновения груза с поверхностью глаза (величина продавливания) определяют величину внутриглазного давления /1/.
При использовании данного метода необходимо применение местной анестезии. На точность метода оказывает влияние радиус кривизны роговицы глаза, а он у 10% людей отличается от среднестатистической величины.
Наиболее близким к предлагаемому решению является способ определения внутриглазного давления через веко, который работает следующим образом. На человеческое веко, прижатое к глазу, устанавливают прибор, затем на глаз через веко падает стержень определенного веса (шток), который проникает в глубь глаза на определенную величину и отскакивает. По пространственно-временным параметрам проникновения штока вглубь глаза определяется внутриглазное давление /2/. Величину перемещения штока определяет датчик перемещения.
При использовании данного метода на точность результата оказывает конечная скорость падения штока, которая определяется толщиной века, трением штока о корпус прибора и датчика скорости, внешней температурой, наклоном прибора относительно вертикального положения. Так же на точность результата измерения влияет радиус кривизны глаза и перпендикулярность оси падения штока к поверхности глаз, реакция (дергание) глаза на удар штока и демпфирование удара мышцами, удерживающими глазное яблоко.
Задача, на решение которой направлено изобретение, это создать такой способ измерения внутриглазного давления через веко, при котором результат измерения не зависит от условий падения штока, радиуса кривизны роговицы глаза и точности установки прибора на поверхность века глаза.
Технический результат направлен на создание прибора, позволяющего определять через веко внутриглазное давление независимо от геометрических и физических характеристик глаза и покрывающего его века, дерганий глаза, реакции мышц, разнообразных вибраций и точности установки прибора на глаз.
В предлагаемом способе и устройстве технический результат достигается использованием, по крайней мере, двух щупов в виде стержней, устанавливаемых на веко, которое плотно прижато к глазу. С помощью щупов осуществляется давление на глаз, так чтобы давление щупов на глаз было разное и переменное во времени, при этом на щупах установлены датчики давления и перемещения.
Проведенный анализ уровня техники, включающий поиск по патентам и научно-техническим источникам информации, содержащих сведения об аналогах заявляемого изобретения, позволяет установить, что заявителем не обнаружены технические решения, характеризующиеся признаками, идентичными всем существующим признакам заявляемого изобретения. Отличие из перечня выявленных аналогов прототипа позволило выявить совокупность существенных (по отношению к усматриваемому заявителем техническому результату) отличительных признаков в заявляемом объекте, изложенных в формуле изобретения.
Следовательно, заявляемое изобретение соответствует требованию «новизна» по действующему законодательству.
Сведения об известности отличительных признаков в совокупностях признаков известных технических решений с достижением такого же, как у заявляемого устройства положительного эффекта не имеется. На основании этого сделан вывод, что, предлагаемое техническое решение соответствует критерию «изобретательский уровень».
Способ измерения внутриглазного давления и устройство для его осуществления поясняется фиг.1-3.
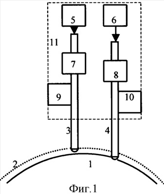
На фиг.1 представлен способ для определения внутриглазного давления.
На фиг.2 представлено расположение четырех щупов на веко глаза.
На фиг.3 представлено устройство для определения внутриглазного давления.
Способ определения внутриглазного давления работает следующим образом (фиг.1), на веко 2, прижатое к глазу 1, устанавливаются два щупа (штока) 3 и 4, на которых установлены датчики давления 7 и 8, и датчики перемещения 9 и 10 относительно корпуса 11. Далее к щупам 3 и 4 вдоль их оси (перпендикулярно поверхности глаза) прикладывается силовое механическое воздействие 5 и 6. Давление, осуществляемое щупами 3 и 4 на веко 2 и глаз 1, пропорционально силе воздействия 5 и 6. Необходимо чтобы давление щупа 3 и давление щупа 4 на глаз отличались на определенную величину, при этом изменение давления должно происходить в диапазоне предполагаемого измеряемого давления. Для человеческого глаза данная величина находится в диапазоне 5-60 мм рт.ст. При этом, если давление щупов на глаз меньше внутриглазного давления, то они не деформируют поверхность глаза. Если щуп с большим давлением начнет осуществлять деформацию глаза, определяемую по датчику перемещения, а щуп с меньшим давлением нет, то в этот момент определяется внутриглазное давление по датчику давления. Если щуп с меньшим давлением так же начнет деформацию глаза, определяемую датчиком перемещения, то в этот момент так же определяется внутриглазное давление по его датчику давления. Давление внутренних структур века глаза на много меньше внутриглазного давления, поэтому перемещением щупов при продавливании века давлением более 15 мм рт.ст. можно пренебречь. При этом щуп, осуществляющий меньшее давление, можно назвать опорным, а щуп, осуществляющий большее давление, – элементом деформации.
Необходимость использования двух щупов определяется возможностью случайного перемещения глаза вдоль оси воздействия щупов. При этом оба щупа перемещаются параллельно друг другу на одинаковую величину, и измерение давления не происходит. При измерении давления необходимо фиксировать взгляд человека в одном направлении, тогда двух щупов достаточно, но если глаз производит вращение вправо-влево и вверх-вниз, при этом может изменяться радиус кривизны поверхности и взаимное перемещение щупов и, следовательно, ошибочное измерение давления. Для предотвращения подобной ошибки измерения целесообразно использовать более чем два щупа на независимой подвеске. На фиг.2 приведен способ, в котором используется четыре щупа, три из которых 3, 3′ и 3″ создают приблизительно одинаковое давление на глаз 1 и располагаются по углам равностороннего треугольника, а четвертый щуп осуществляет 4 давление на глаз заметно отличное от трех других щупов, например на 2 мм рт.ст. большее, и располагается на равном расстоянии от других трех щупов (в центре равностороннего треугольника). Подобное использование четырех щупов позволит всегда производить точное измерение давления независимо от перемещения и вращения как глаза, так и измерительного прибора. При этом авторы не отрицают использования двух щупов для измерения внутриглазного давления при фиксации направления взгляда человека в одном направлении.
На фиг.3 приведено устройство для измерения внутриглазного давления, состоящее из центрального щупа 4, который механически связан с датчиком давления 8, датчика перемещения относительно второго щупа 10, блока добавочного давления 6, при этом в состав устройства входит второй раздвоенный щуп с контактными площадками 3 и 3′, который механически связан с датчиком давления 7, датчиком перемещения относительно корпуса устройства 9. При этом второй щуп 3 можно назвать опорой, а щуп 4 – элементом деформации.
Устройство для измерения внутриглазного давления работает следующим образом: на глаз 1 через веко 2 устанавливаются одновременно два щупа 3 и 4, при этом щуп 3 раздвоен и устанавливается на глаз площадками 3 и 3′, а щуп 4 располагается в одной плоскости с контактными площадками 3 и 3′ и располагается между ними в центре щупа 3. Далее производится нарастающее по силе надавливание пальцем человека 12, измеряющего давление на демпфер 5, который смягчает вибрацию руки и передает давление на корпус щупа 3 и блок добавочного давления 6, при этом фиксируется с помощью датчиков давления 7 и 8 давление штоков на глаз, одновременно осуществляется измерение перемещения щупа 3 относительно корпуса 11 с помощью датчика перемещения 9 и перемещение щупа 4 относительно 3 с помощью датчика перемещений 10. Измерение внутриглазного давления происходит в тот момент, когда щуп 4 начнет деформировать поверхность глаза, т.е. щуп 4 переместится относительно щупа 3. В качестве демпферов можно использовать калиброванные пружины.
Целесообразно, для повышения точности измерения, в устройстве для измерения внутриглазного давления использовать более чем два щупа. Например, при использовании трех щупов с независимым друг от друга давлением на глаз необходимо устанавливать из на одной линии (в одной плоскости). При этом демпфер 5 должен распределять равномерно давление на два крайних щупа, а блок добавочного давления 6 соединяется с центральным щупом. А, например, при использовании четырех независимых щупов демпфер 5 должен распределять равномерно давление на три щупа 3, 3′ и 3″, фиг.2, а блок добавочного давления 6 соединяется с центральным щупом. При этом щупы, создающие одинаковое давление на глаз 1, располагаются по углам равностороннего треугольника, а четвертый денформационный щуп 4 осуществляет большее давление на глаз и располагается на равном расстоянии от других щупов (в центре треугольника) и связан датчиком перемещения с одним из опорных щупов и так же оснащен датчиком давления.
Источники информации
1. Большая медицинская энциклопедия, 3-е изд., Москва, 1980, – том 13, стр.363.
2. Патент РФ №98101607, 1999 г. Способ измерения внутриглазного давления через веко и устройство для его осуществления. Пилецкий Г.К., Иванищев К.В. и др.
Формула изобретения
1. Способ измерения внутриглазного давления через веко, основанный на статической деформации века нагрузкой опоры, отличающийся тем, что используют, по крайней мере, два щупа с датчиками давления на глаз и перемещения относительно корпуса, при этом один из щупов используют в качестве опоры, в процессе измерения на щупы осуществляют переменное во времени и разное относительно друг друга механическое давление на глаз, поступающее на щупы от внешнего источника силы, при этом внутриглазное давление определяют с помощью датчиков давления в моменты изменения взаимного перемещения щупов при деформации глаза.
2. Способ измерения внутриглазного давления через веко по п.1, отличающийся тем, что щуп, используемый в виде опоры, состоит из двух одинаковых щупов, между которыми по центру располагается другой щуп.
3. Способ измерения внутриглазного давления через веко по п.1, отличающийся тем, что щуп, используемый в виде опоры, состоит из трех одинаковых щупов, которые располагаются на глазу в вершинах равностороннего треугольника, а другой щуп располагается на равном расстоянии от других трех щупов – в центре полученного равностороннего треугольника.
РИСУНКИ
|
|