|
| На основании пункта 3 статьи 13 Патентного закона Российской Федерации от 23 сентября 1992 г. № 3517-I патентообладатель обязуется передать исключительное право на изобретение (уступить патент) на условиях, соответствующих установившейся практике, лицу, первому изъявившему такое желание и уведомившему об этом патентообладателя и федеральный орган исполнительной власти по интеллектуальной собственности, – гражданину РФ или российскому юридическому лицу. |
|
(21), (22) Заявка: 2006130487/12, 24.08.2006
(24) Дата начала отсчета срока действия патента:
24.08.2006
(46) Опубликовано: 10.03.2008
(56) Список документов, цитированных в отчете о поиске:
US 1686862 А, 09.10.1928. RU 2159068 С1, 20.11.2000. RU 31492 U1, 20.08.2003. WO 93/08721 А1, 13.05.1993.
Адрес для переписки:
140093, Московская обл., г. Дзержинский, а/я 48, А.И. Максимову
|
(72) Автор(ы):
Максимов Александр Иванович (RU)
(73) Патентообладатель(и):
Максимов Александр Иванович (RU)
|
(54) СПОСОБ ИЗГОТОВЛЕНИЯ ДЕРЖАТЕЛЯ ДЛЯ САЛФЕТОК И ДЕРЖАТЕЛЬ ДЛЯ САЛФЕТОК
(57) Реферат:
Изобретения относятся к средствам сервировки стола, в частности к способу изготовления держателя для салфеток и держателю для салфеток. Держатель для салфеток включает стойку с направляющими и опорными поверхностями для салфеток, причем стойка образована внешней частью и внутренней частью с направляющими и опорными поверхностями для салфеток. Указанные части скреплены между собой с возможностью их поворота относительно друг друга. Внешняя часть образована стенкой в виде границы полости с передней, задней и боковой панелями с краями, причем передняя и задняя панели размещены напротив друг друга и скреплены между собой боковой панелью, которая установлена между указанными панелями вдоль их краев. Внутренняя часть образована пачкой листов бумаги с краями, размещенных друг на друге и скрепленных вдоль совмещенных краев с возможностью их перелистывания и обозревания, причем пачка размещена в полости и закреплена к передней и задней панелям посредством крайних листов пачки или к боковой панели посредством краев листов пачки, при этом направляющие образованы соседними листами бумаги, размещенными друг на друге, а опорные поверхности образованы поверхностями соседних страниц указанных листов. Обеспечивается расширение арсенала технических средств данного назначения, а также улучшение удобства эксплуатации и обеспечение соблюдения гигиенических требований. 2 н.п. ф-лы, 2 ил.
Изобретения относятся к средствам сервировки стола, в частности к способу изготовления держателя для салфеток и держателю для салфеток, и могут быть использованы при изготовлении подставок для салфеток.
Известен способ изготовления держателя для салфеток, включающий изготовление стойки с направляющими и опорными поверхностями для салфеток (RU 2159068 С1).
Известен держатель для салфеток, содержащий стойку с направляющими и опорными поверхностями для салфеток (RU 2159068 С1).
Недостаток известных технических решений заключается в том, что они не удобны в эксплуатации, т.к. размещенные на опорной поверхности салфетки взаимодействуют друг с другом и при извлечении салфетки происходит самопроизвольное извлечение нескольких салфеток, в которых отсутствует необходимость. Недостаток известного держателя для салфеток заключается также и в том, что он не исключает контакт с другими салфетками при извлечении требуемой салфетки и не обеспечивает соблюдение гигиенических требований.
Задача, на решение которой направлены заявляемые технические решения, состоит в расширении арсенала технических средств определенного назначения, в частности создание новых объектов – способа изготовления держателя для салфеток и держателя для салфеток, которые были бы лишены указанных недостатков.
Технический результат, который может быть при этом получен, заключается в реализации указанного назначения – расширение арсенала технических средств определенного назначения, в частности создание новых объектов – способа изготовления держателя для салфеток и держателя для салфеток, которые были бы лишены указанных недостатков. Дополнительный технический результат – улучшение удобства эксплуатации (пользования) и обеспечение соблюдения гигиенических требований.
Сущность заявляемого способа заключается в том, что в способе изготовления держателя для салфеток, включающем изготовление стойки с направляющими и опорными поверхностями для салфеток, согласно изобретению стойку образуют внешней частью и внутренней частью с направляющими и опорными поверхностями для салфеток, причем указанные части скрепляют между собой с возможностью их поворота относительно друг друга, причем внешнюю часть образуют стенкой в виде границы полости с передней, задней и боковой панелями с краями, при этом переднюю и заднюю панели размещают напротив друг друга и скрепляют их между собой боковой панелью, которую размещают между указанными панелями вдоль их краев, а внутреннюю часть образуют пачкой листов бумаги с краями, которые размещают друг на друге, скрепляют листы бумаги вдоль совмещенных краев с возможностью их перелистывания и обозревания, размещают пачку в полости, закрепляют ее к передней и задней панелям посредством крайних листов пачки или к боковой панели посредством краев листов пачки, при этом направляющие образуют соседними листами бумаги, размещенными друг на друге, а опорные поверхности образуют поверхностями соседних страниц указанных листов.
Сущность заявляемого устройства заключается в том, что в держателе для салфеток, содержащем стойку с направляющими и опорными поверхностями для салфеток, согласно изобретению стойка образована внешней частью и внутренней частью с направляющими и опорными поверхностями для салфеток, причем указанные части скреплены между собой с возможностью их поворота относительно друг друга, причем внешняя часть образована стенкой в виде границы полости с передней, задней и боковой панелями с краями, при этом передняя и задняя панели размещены напротив друг друга и скреплены между собой боковой панелью, которая установлена между указанными панелями вдоль их краев, а внутренняя часть образована пачкой листов бумаги с краями, размещенных друг на друге и скрепленных вдоль совмещенных краев с возможностью их перелистывания и обозревания, причем пачка размещена в полости и закреплена к передней и задней панелям посредством крайних листов пачки или к боковой панели посредством краев листов пачки, при этом направляющие образованы соседними листами бумаги, размещенными друг на друге, а опорные поверхности образованы поверхностями соседних страниц указанных листов.
Именно заявляемые исполнения способа и устройства обеспечивают расширение арсенала технических средств определенного назначения путем создания новых объектов, которые позволяют вынести суждение о достижении указанного выше технического результата и дополнительного технического результата благодаря наличию новых существенных признаков, используемых для характеристики заявляемых способа и устройства, указанных выше по тексту. Технический результат (основной и дополнительный) достигается благодаря определенному выполнению конструкции стойки держателя, его отдельных элементов и размещения их относительно друг друга, что обеспечивает увеличение количества направляющих и опорных поверхностей для салфеток, отдельное их хранение. Стойка имеет преимущественно четырехугольную форму и обеспечивает комфортное размещение салфеток в направляющих и на опорных поверхностях, что значительно улучшает и упрощает эксплуатацию держателя для салфеток. Благодаря выполнению стойки в виде стопки листов бумаги, которые скреплены друг с другом и размещены в полости стенки, и образования направляющих соседними листами, а опорных поверхностей соседними страницами указанных листов обеспечивается формирование направляющих и опорных поверхностей для салфеток на многочисленных уровнях по всей высоте (толще) стопки листов бумаги. Следует отметить, что ширина листов бумаги и стенки (передней и задней панелей), равна от 120 до 300 мм, а их высота – от 100 до 400 мм, а толщина стопки листов бумаги равна от 20 до 200 мм. Количество салфеток, размещаемых на опорных поверхностях стойки, равно от 1 до нескольких десятков штук. Стойка держателя содержит несколько десятков или несколько сотен направляющих и опорных поверхностей для каждой салфетки. Листы бумаги являются тонкими, шероховатыми и пористыми структурами, что обеспечивает комфортные условия для удержания и хранения салфеток. На страницах листов бумаги может быть изображен текст с сюжетом (проза, поэзия и прочие литературные произведения) или без сюжета, иллюстрации, фото и прочие объекты, что позволяет держатель для салфеток использовать в качестве носителя информации или в ином качестве.
Сопоставительный анализ заявляемого способа изготовления держателя для салфеток с прототипом показывает, что заявляемый объект имеет общие существенные признаки с прототипом:
изготовление стойки с направляющими и опорными поверхностями для салфеток.
Заявляемый способ изготовления держателя для салфеток отличается от прототипа новыми существенными признаками:
стойку образуют внешней частью и внутренней частью с направляющими и опорными поверхностями для салфеток, причем указанные части скрепляют между собой с возможностью их поворота относительно друг друга;
внешнюю часть образуют стенкой в виде границы полости с передней, задней и боковой панелями с краями;
переднюю и заднюю панели размещают напротив друг друга и скрепляют их между собой боковой панелью, которую размещают между указанными панелями вдоль их краев;
внутреннюю часть образуют пачкой листов бумаги с краями, которые размещают друг на друге, скрепляют листы бумаги вдоль совмещенных краев с возможностью их перелистывания и обозревания;
размещают пачку в полости, закрепляют ее к передней и задней панелям посредством крайних листов пачки или к боковой панели посредством краев листов пачки;
направляющие образуют соседними листами бумаги, размещенными друг на друге, а опорные поверхности образуют поверхностями соседних страниц указанных листов.
Сопоставительный анализ заявляемого устройства – держателя для салфеток с прототипом показывает, что заявляемый объект имеет общие существенные признаки с прототипом:
стойка с направляющими и опорными поверхностями для салфеток.
Заявляемое устройство – держатель для салфеток отличается от прототипа новыми существенными признаками:
стойка образована внешней частью и внутренней частью с направляющими и опорными поверхностями для салфеток, причем указанные части скреплены между собой с возможностью их поворота относительно друг друга;
внешняя часть образована стенкой в виде границы полости с передней, задней и боковой панелями с краями, при этом передняя и задняя панели размещены напротив друг друга и скреплены между собой боковой панелью, которая установлена между указанными панелями вдоль их краев;
внутренняя часть образована пачкой листов бумаги с краями, размещенных друг на друге и скрепленных вдоль совмещенных краев с возможностью их перелистывания и обозревания;
пачка размещена в полости и закреплена к передней и задней панелям посредством крайних листов пачки или к боковой панели посредством краев листов пачки;
направляющие образованы соседними листами бумаги, размещенными друг на друге, а опорные поверхности образованы поверхностями соседних страниц указанных листов.
Из приведенного перечня признаков заявляемых объектов – способа и устройства и решения поставленной задачи наглядно видно, что заявляемые технические решения представляют собой новую совокупность признаков, как сочетание известных и новых признаков, обеспечивающих получение нового технического результата, неизвестного на дату подачи заявки. Новый технический результат, который может быть получен при осуществлении изобретения, заключается в расширении арсенала технических средств определенного назначения путем создания новых эффективных объектов, удобных в эксплуатации, которые обеспечивают эффективное решение комплекса вопросов, связанных с изготовлением держателя для салфеток, конструкцией держателя для салфеток и его использованием.
Заявляемые объекты промышленно применимы, т.к. могут быть изготовлены промышленным способом и использованы при изготовлении держателя для салфеток. Для изготовления держателя для салфеток могут быть использованы известные материалы (бумага, металл, дерево, стекло, кожа, камень, пластик, керамика), средства и методы, используемые при изготовлении держателя для салфеток. С использованием известных средств и методов действительно возможно осуществление изобретения в том виде, как оно охарактеризовано в формуле изобретения.
Технические решения заявляемых объектов соответствуют критерию «новизна», т.к. они неизвестны из уровня техники на дату подачи заявки. Не известна из уровня техники совокупность существенных признаков заявляемых технических решений и их влияние на получение требуемого технического результата.
Технические решения заявляемых объектов соответствуют критерию «изобретательский уровень», т.к. не выявлены решения, имеющие признаки, совпадающие с их отличительными признаками, и не обнаружена известность влияния отличительных признаков на получаемый технический результат. Между существенными признаками заявляемых объектов и достигаемым техническим результатом существует причинно-следственная связь.
Заявляемые изобретения (два объекта) связаны между собой единым изобретательским замыслом и по этой причине заявляются в составе одной заявки.
Таким образом, заявляемые технические решения связаны между собой настолько, что они образуют единый изобретательский замысел и соответствуют всем критериям, предъявляемым к изобретению, и обеспечивают получение нового технического результата и дополнительного технического результата.
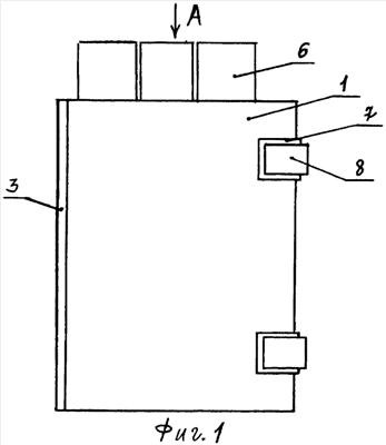
На фиг.1 показаны способ изготовления держателя для салфеток и держатель для салфеток; на фиг.2 – вид А на фиг.1.
Держатель для салфеток содержит переднюю панель 1 (см. фиг.1, 2), заднюю панель 2, боковую панель 3, полость 4, листы 5. Держатель для салфеток может содержать фиксатор, который может быть, например, выполнен в виде основания 7, подвижного элемента 8 и средства соединения 9. На фиг.1 и 2 салфетка обозначена поз.6 (условно показано три салфетки).
Держатель для салфеток содержит стойку с направляющими и опорными поверхностями для салфеток, образованную внешней частью и внутренней частью с направляющими и опорными поверхностями для салфеток 6, причем указанные части скреплены между собой с возможностью их поворота относительно друг друга, причем внешняя часть образована стенкой П-образной формы на виде сверху (см. фиг.2) в виде границы полости 4 с передней 1, задней 2 и боковой 3 панелями с краями, при этом передняя 1 и задняя 2 панели размещены напротив друг друга и скреплены между собой боковой панелью 3, которая установлена между указанными панелями 1 и 2 вдоль их краев, а внутренняя часть образована пачкой листов 5 бумаги с краями, размещенных друг на друге и скрепленных вдоль совмещенных краев с возможностью их перелистывания и обозревания, причем пачка размещена в полости 4 и закреплена к передней 1 и задней 2 панелям посредством крайних листов 5 пачки или к боковой панели 3 посредством краев листов 5 пачки (данный вариант на чертеже условно не показан по причине очевидности и понятности), при этом направляющие образованы соседними листами 5 бумаги, размещенными друг на друге, а опорные поверхности образованы поверхностями соседних страниц указанных листов 5. Для скрепления краев передней 1 и задней панели 2 держатель может содержать фиксатор. Основание 7 образовано преимущественно двумя пластинами, закрепленными, например, клеевой композицией к краям передней пластины 1, согласно фиг.1, 2. Подвижный элемент 8 выполнен П-образной формы на виде сверху (см. фиг.2) и закреплен к краю задней панели 2, например, посредством клеевой композиции и установлен с возможностью взаимодействия с основанием 7. В месте взаимодействия основания 7 с подвижным элементом 8 образовано средство соединения 9, например, в виде магнита и стальной накладки (средство соединения 9 может быть выполнено и иным образом, например в виде «липучки», или пуговиц с петлями, или пряжки с отверстиями на ответных частях основания 7 и подвижного элемента 8 и пр.), взаимодействие которых обеспечивает фиксацию и соединение основания 7 с подвижным элементом 8, что позволяет скреплять и фиксировать края передней 1 и задней 2 панелей относительно друг друга и регулировать усилие, посредством которого листы 5 прижимаются друг к другу. Фиксатор может быть выполнен в виде шнурков (завязок) скрепленных на краях передней 1 и задней 2 панелей внешней части стойки.
Внешняя (периферийная) часть стойки может быть образована обложкой книги П-образной формы, преимущественно четырехугольной формы. Скрепленные листы 5 образуют внутреннюю часть стойки с направляющими и опорными поверхностями для салфеток. Листы 5 скреплены друг с другом по левому краю (который ближе к боковой панели 3) преимущественно нитью или клеевой композицией. Части внешней (периферийной) части стойки 1, 2 и 3 установлены с возможностью поворота относительно друг друга, и листы 5 также установлены с возможностью поворота относительно друг друга и вокруг места их скрепления. Внешняя и внутренняя части стойки скреплены друг с другом и образуют стойку.
Держателем для салфеток пользуются следующим образом.
Салфетки 6 размещают в держателе следующим образом. Размещают держатель для салфеток на горизонтальную опорную поверхность, например столешницу стола, задней панелью 2, затем выводят из зацепления основание 7 фиксатора с подвижным элементом 8 посредством разъединения средства соединения 9. После этого поворачивают переднюю панель 1 и укладывают ее на столешницу, а после этого укладывают часть листов 5 на повернутую панель 1, при этом некоторое количество листов 5 оставляют уложенными на задней панели 2, получая тем самым доступ к опорным поверхностям для салфеток. Укладывают салфетку 6 на поверхность страницы листа 5, который уложен на задней панели 2, затем накрывают салфетку 6 другим листом 5 (или листами 5), располагаемым на передней панели 1, путем его поворота относительно места его закрепления. В результате произведенных действий осуществили формирование направляющей и опорной поверхности для салфетки 6. Таким образом разместили салфетки 6 в толще пачки листов 5. После этого повернули переднюю панель 1 с оставшимися листами 5 (если они остались) относительно задней панели 2, разместив ее напротив задней панели 2, затем зафиксировали салфетки 6 путем их зажатия между листами 5, которое осуществили посредством фиксатора, введя во взаимодействие основание 7 с подвижным элементом 8 посредством средства их соединения 9. Затем стойку с уложенными в ней салфетками 6, части которых выступают за пределы верхних краев листов 5, разместили на столешнице путем ввода во взаимодействие с последней краев панелей 1, 2, 3, согласно фиг.1 и 2.
Пример реализации способа изготовления держателя для салфеток.
Стойку образовали внешней частью и внутренней частью с направляющими и опорными поверхностями для салфеток, причем указанные части закрепили между собой с возможностью их поворота относительно друг друга, причем внешнюю часть образовали стенкой в виде границы полости с передней 1, задней 2 и боковой 3 панелями с краями, при этом переднюю 1 и заднюю 2 панели разместили напротив друг друга и закрепили их между собой боковой панелью 3, которую разместили между указанными панелями 1, 2 вдоль их краев, а внутреннюю часть образовали пачкой листов 5 из бумаги с краями, которые разместили друг на друге, скрепили листы 5 вдоль совмещенных краев с возможностью их перелистывания и обозревания, разместили пачку листов 5 в полости 4, закрепили ее к передней 1 и задней 2 панелям посредством крайних листов 5 пачки клеевой композицией, при этом направляющие образовали соседними листами 5, размещенными друг на друге, а опорные поверхности образовали поверхностями соседних страниц указанных листов 5.
Листы 5 изготовили из бумаги с плотностью 80 г/м2. Внешнюю часть стойки в качестве варианта образовали обложкой книги П-образной формы. Скрепленные листы 5 друг с другом посредством гибких нитей (волокон) также закрепили к внешней части – обложке книги со стороны полости 4. Размеры листов 5: длина – 270 мм, ширина – 210 мм. Толщина стопки (пачки) листов 5-70 мм. Обложку книги образовали из бумажного картона, который заключили в оболочку из тисненной натуральной кожи. Размеры обложки книги выбрали такими же, как и размеры листов 5.
Заявляемые объекты обеспечивают изготовление эффективного держателя для салфеток с качественно новыми потребительскими свойствами, не известными в технике и необходимыми в пользовании.
Таким образом, заявляемые технические решения обеспечивают достижение поставленной задачи и получение нового технического результата и дополнительного технического результата.
Формула изобретения
1. Способ изготовления держателя для салфеток, включающий изготовление стойки с направляющими и опорными поверхностями для салфеток, отличающийся тем, что стойку образуют внешней частью и внутренней частью с направляющими и опорными поверхностями для салфеток, причем указанные части скрепляют между собой с возможностью их поворота относительно друг друга, причем внешнюю часть образуют стенкой в виде границы полости с передней, задней и боковой панелями с краями, при этом переднюю и заднюю панели размещают напротив друг друга и скрепляют их между собой боковой панелью, которую размещают между указанными панелями вдоль их краев, а внутреннюю часть образуют пачкой листов бумаги с краями, которые размещают друг на друге, скрепляют листы бумаги вдоль совмещенных краев с возможностью их перелистывания и обозревания, размещают пачку в полости, закрепляют ее к передней и задней панелям посредством крайних листов пачки или к боковой панели посредством краев листов пачки, при этом направляющие образуют соседними листами бумаги, размещенными друг на друге, а опорные поверхности образуют поверхностями соседних страниц указанных листов.
2. Держатель для салфеток, содержащий стойку с направляющими и опорными поверхностями для салфеток, отличающийся тем, что стойка образована внешней частью и внутренней частью с направляющими и опорными поверхностями для салфеток, причем указанные части скреплены между собой с возможностью их поворота относительно друг друга, причем внешняя часть образована стенкой в виде границы полости с передней, задней и боковой панелями с краями, при этом передняя и задняя панели размещены напротив друг друга и скреплены между собой боковой панелью, которая установлена между указанными панелями вдоль их краев, а внутренняя часть образована пачкой листов бумаги с краями, размещенных друг на друге и скрепленных вдоль совмещенных краев с возможностью их перелистывания и обозревания, причем пачка размещена в полости и закреплена к передней и задней панелям посредством крайних листов пачки или к боковой панели посредством краев листов пачки, при этом направляющие образованы соседними листами бумаги, размещенными друг на друге, а опорные поверхности образованы поверхностями соседних страниц указанных листов.
РИСУНКИ
|
|