|
|
(21), (22) Заявка: 2005132568/12, 21.10.2005
(24) Дата начала отсчета срока действия патента:
21.10.2005
(30) Конвенционный приоритет:
22.10.2004 DE 202004016466.3
(43) Дата публикации заявки: 27.04.2007
(46) Опубликовано: 10.03.2008
(56) Список документов, цитированных в отчете о поиске:
FR 2690046 A1, 22.10.1993. NL 9201643 А, 18,04.1994. BR 9504593 А, 16.04.1996. FR 2672966 А1, 21.08.1992. DE 2435055 А1, 05.02.1976. SU 785599 А, 09.12.1980.
Адрес для переписки:
129010, Москва, ул. Б.Спасская, 25, стр.3, ООО “Юридическая фирма Городисский и Партнеры”, пат.пов. Г.Б. Егоровой, рег.№ 513
|
(72) Автор(ы):
МИХЕЛЬ Йоханн Хайнрих (DE), ФРИШ Томас Маттиас (DE)
(73) Патентообладатель(и):
МИК ИНТЕРНЭШНЛ АГ (DE)
|
(54) ЗАПОЛНЯЕМЫЙ ВОДОЙ НАСТИЛ ПОЛА
(57) Реферат:
Изобретение относится к заполняемому водой настилу пола, в частности для выстилания животноводческих помещений, с водонепроницаемым поверхностным слоем и отстоящим от него водонепроницаемым донным слоем. Оба слоя водонепроницаемо связаны друг с другом в их краевой области проходящим по периметру настила пола швом таким образом, что между обоими отстоящими слоями образуется полость, которая через впускной узел может заполняться водой. Настил содержит прокладочную ткань, которая включает в себя связанную с поверхностным слоем верхнюю каркасную ткань и связанную с донным слоем нижнюю каркасную ткань, причем обе каркасные ткани, проходящие, по существу, параллельно друг другу на некотором расстоянии друг от друга, связаны друг с другом множеством ворсовых нитей, которые проходят перпендикулярно каркасным тканям через полость. Обеспечивается надежная опора, равномерное излучение тепла и упрощается использование. 9 з.п. ф-лы, 3 ил.
Изобретение относится к заполняемому водой настилу пола, в частности для выстилания животноводческих помещений, с водонепроницаемым поверхностным слоем и отстоящим от него водонепроницаемым донным слоем, причем оба слоя водонепроницаемо связаны друг с другом в их краевой области проходящим по периметру настила пола соединительным швом таким образом, что между обоими отстоящими слоями образуется полость, которая через входное отверстие может заполняться водой. Подобный настил пола описан в документе EP 0900001 B1.
Известен способ выстилать (для домашних животных) животноводческие помещения заполняемыми водой настилами пола, которые обеспечивают высокий комфорт содержания для животных, а также простую очистку. Известный из документа EP 0900001 B1 продукт c этой целью заполняется водой так, что поверхностный слой принимает, по существу, выпуклую форму. Она соответствующим образом деформируется под весом стоящего или лежащего на настиле пола животного. Принципиально обусловленная деформируемость настила пола является недостатком. Поскольку он не делает возможным никакого уверенного стоячего положения, известный сейчас настил пола может использоваться только для областей, где высокая несущая способность не нужна. Человек, который проходит по известному сейчас настилу пола, погружается при каждом шаге, и возникает угроза его падения из-за малой устойчивости его походки по сравнению с четвероногими. Следующий недостаток этого покрытия состоит в том, что вода отбирает тепло от тела находящегося на настиле пола животного до тех пор, пока температура воды и температура тела не сравняются друг с другом. Для взрослых животных с большой массой тела, как, например, крупного рогатого скота, этот эффект охлаждения может не иметь значения.
Тем не менее, этот настил пола не подходит для размещения молодняка, как, например, поросят, так как они особенно нуждаются в тепле.
Из полезной модели DE 7828172 U1 известен матообразный многослойный настил пола для содержания животных без соломы, в котором встроен шланг в форме меандра. По этому шлангу проводится теплая жидкость, как при отоплении нагретым полом. Таким образом настил пола может обогреваться, так что он подходит, в частности, для содержания молодняка животных. Недостатком этого настила пола является то, что тепло концентрируется, в первую очередь, в области проложенного в форме меандра шланга. Равномерного распределения тепла по всей площади настила пола не достигают. Как правило, такой настил пола присоединяется к имеющимся источникам горячей воды. Если начальная температура воды лежит в области около 60°C, то достигнутая теплоотдача оказывается удовлетворительной. Если же в настил пола должна подаваться вода из источников горячей воды с низкой начальной температурой, например, охлаждающая вода блока теплоэлектроцентрали, то для достижения той же теплоотдачи необходим значительно бульший расход воды. Бульший расход воды обусловливает в свою очередь большое поперечное сечение шланга, которое ведет, в конце концов, к большой толщине настила пола. Она делает настил пола трудным для пользования.
Ввиду описанных проблем нынешнего уровня техники данное изобретение ставит своей задачей усовершенствовать настил пола упомянутого вначале вида настолько, чтобы он гарантировал надежную опору, равномерное излучение тепла и простое использование.
Это удается за счет прокладочной ткани, которая включает в себя связанную с поверхностным слоем верхнюю каркасную ткань и связанную с донным слоем нижнюю каркасную ткань. Обе каркасные ткани должны располагаться, по существу, параллельно друг другу, на некотором расстоянии друг от друга и быть связанными друг с другом множеством ворсовых нитей, которые проходят перпендикулярно к каркасным тканям сквозь заполняемую водой полость.
Соответствующий изобретению настил пола позволяет быть подвергнутым изнутри высокому гидростатическому давлению. Внутреннее давление компенсируется ворсовыми нитями, которые находятся под соответствующим растягивающим напряжением. Если предусматривается достаточно большое количество ворсовых нитей, и они распределяются по прокладочной ткани равномерно, то поверхностный слой туго наполненного настила пола выравнивается параллельно к донному слою. Так как вода представляет собой несжимаемую среду, поверхностный слой может выдержать очень большую нагрузку, он лишь несущественно прогибается даже при высокой точечной нагрузке. Поэтому данный настил пола подходит не только для содержания скота, но и в других случаях применения в области сельского хозяйства, в доме и в саду, а также для препровождения свободного времени.
Предпочтительно, настил пола снабжается выпускным отверстием, через которое вода может отводиться из полости. Следовательно, усовершенствованный таким образом настил пола имеет впускное и выпускное отверстия, так что через настил пола может непрерывно протекать вода. Это является предпосылкой для активного теплообмена. Настил пола обогревается по большой площади, и возникает равномерное распределение тепла, которое в свою очередь благоприятствует равномерному росту животных. Вместо воды может использоваться, само собой разумеется, также другая текучая среда с высокой теплоемкостью, как, например, масло или раствор соли. Также через соответствующий изобретению настил пола может протекать охлаждающая жидкость, которая отводит тепло из окружающего пространства. При соответствующем оснащении поверхностного слоя представляется возможным даже использовать настил пола в качестве доступной для хождения по ней солнечной батареи для приготовления горячей воды с использованием солнечного тепла. Также данным настилом пола может обогреваться корневая система молодых растений, чтобы ускорять их рост.
Целесообразно соединительный шов, проходящий по периметру настила пола, выполнять как обводной шов с, по меньшей мере, одним обводом. Двойной обвод является особенно предпочтительным. Обводной шов обеспечивает долговечное соединение, которое исключительно гармонирует с текстильной прокладочной тканью.
Предлагается также надевать на обвод профильную шину, в частности, путем надвигания. Такая профильная шина защищает соединительный шов от повреждений при обгладывании, которых нужно опасаться, прежде всего, в стойлах свиней. Кроме того, профильные шины повышают жесткость настила пола. Профильные шины могут при необходимости жестко крепиться в полу.
Профильные шины предпочтительным образом совершенствуются далее тем, что на одну профильную шину может насаживаться следующая профильная шина. Насаживанием боковых профильных шин друг на друга несколько настилов пола могут скрепляться между собой, чтобы заполнять большую площадь пола.
В случае поверхностного слоя, речь идет, предпочтительно, о трехслойном ламинате, который имеет износостойкую и нескользящую поверхность, а на его обращенной к прокладочной ткани стороне – контактный слой, который находится в контакте с верхней каркасной тканью. Между контактным слоем и поверхностью располагается ткань для усиления. Построенный этим способом поверхностный слой особенно прочен и долговечен.
Слои настила пола строятся, предпочтительно, из полимерных пленок. Они позволяют при необходимости скатывать настил пола. Кроме того, снижается опасность ранения для животных, выполняются гигиенические требования. В качестве полимеров подходит поливинилхлорид, полиуретан или смесь этих износостойких материалов.
Удобство в использовании настила пола увеличивается дальше посредством того, что длина ворсовых нитей составляет больше, чем 75% толщины заполняемого водой настила пола. Пока настил сухой, он занимает во всяком случае одну четверть своей рабочей толщины и может, таким образом, компактно свертываться, транспортироваться и/или размещаться. Высокая мобильность настила пола выгодна, в частности, при выращивании поросят после отлучения от матери. При этом способе разведения поросята остаются от отсадки до начала откорма в одном животноводческом помещении. Так как обогрев животноводческого помещения требуется только в течение первых недель, процесс подращивания нуждается только в небольшом количестве децентрализованно используемых отопительных устройств, которые транспортируются от одного животноводческого помещения к другому. Нет необходимости оборудовать каждое животноводческое помещение собственным, только частично загруженным нагревательным устройством.
Первые эксперименты показывают, что толщина настила пола в эксплуатационном режиме составляет предпочтительно 12 мм.
Настил пола, целесообразным образом, раскраивается прямоугольно, и впускное и, соответственно, выпускное отверстия располагаются в углу настила пола. Можно выравнивать особенно благоприятно друг относительно друга прямоугольные плиты пола; расположенные со стороны угла впускные и, соответственно, выпускные узлы могут связываться с помощью коротких мостиковых деталей.
Теперь данное изобретение будет пояснено на примере выполнения. Чертежи показывают:
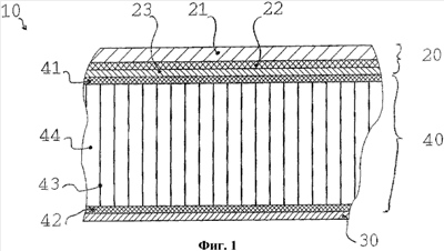
Фиг.1: настил пола в поперечном сечении.
Фиг.2: настил пола в перспективном изображении.
Фиг.3: настилы пола, вид сверху.
На фиг.1 показано сильно увеличенное поперечное сечение соответствующего изобретению настила 10 пола. Он построен из трех существенных составных частей, а именно – водонепроницаемого поверхностного слоя 20, водонепроницаемого донного слоя 30 и прокладочной ткани 40, которая расположена между этими обоими слоями 20, 30.
В случае поверхностного слоя 20 речь идет о трехслойном ламинате, который состоит из износостойкого и нескользящего верхнего слоя 21, текстильной ткани 22 усиления и контактного слоя 23. В отношении верхнего слоя 21 речь идет, предпочтительно, о прочной полимерной пленке из смеси полиуретан/поливинилхлорид, которая снабжена шероховатой, сдерживающей скольжение поверхностью. Размещенная ниже ткань 22 усиления может быть соткана, например, из пряжи синтетического волокна и укрепляет и усиливает верхний слой 21. Расположенный ниже контактный слой состоит также из полимерной пленки и производит контакт с прокладочной тканью 40. Отдельные слои 21, 23 и ткань 22 усиления поверхностного слоя 20 связаны друг с другом вулканизацией. Точно так же возможно покрывать ткани пластмассами.
Прокладочная ткань 40 представляет собой несущее ядро настила 10 пола. Она включает в себя верхнюю каркасную ткань 41 и нижнюю каркасную ткань 42 и множество ворсовых нитей 43, которые проходят перпендикулярно каркасным тканям 41, 42. Между каркасными тканями 41, 42 образуется полость 44, через которую проходят насквозь ворсовые нити 43. Прокладочная ткань 40 состоит, предпочтительно, из синтетических волокон и ткется за один технологический ход.
Нижняя каркасная ткань 42 прокладочной ткани 40 герметично запечатывается донным слоем 30. В отношении донного слоя 30, речь идет также о полимерной пленке, предпочтительно, из материала с высокой теплоизоляционной способностью, как, например, поливинилхлорида. Весь настил 10 пола вулканизуется целиком, так что возникает неразъемное соединение между отдельными слоями и тканями.
Настил 10 пола выкраивается, предпочтительно, прямоугольным, и края водонепроницаемо замыкаются проходящим по периметру швом 50. В случае шва 50 речь идет о двойном обводном шве, надежность которого дополнительно может гарантироваться свариванием слоев пластмассы. На не представленные на чертежах обводы соединительного шва 50 могут насаживаться профильные шины 60 из алюминия, которые защищают соединительный шов 50 от разрушения прокусыванием. Далее профильные шины 60 позволяют объединять несколько настилов 10, 10* пола в большую площадь; ср. фиг.3.
В углах на поперечной стороне настила 10 пола предусматриваются по одному впускному узлу 70 и одному выпускному узлу 80. С помощью этой арматуры 70, 80 вода может пропускаться в образованную прокладочной тканью 40 полость 44. Она протекает через весь настил 10 пола и снова выходит через выпускной узел 80. Прокладочная ткань 40 туго напрягается гидростатическим давлением, так что слои выровнены, по существу, параллельно друг другу. Ворсовые нити 43 проходят тогда перпендикулярно каркасным тканям 41, 42 и компенсируют растягивающие нагрузки гидростатического давления. Настил 10 пола имеет тогда общую толщину примерно 12 мм. Три четверти этой толщины берет на себя водяная прокладка в полости 44.
Если горячая вода через впускное отверстие пропускается в полость 44 и снова выводится через выпускной узел 80, то горячая вода протекает по всей полости. Поверхностный слой 20 обогревается равномерно.
Если несколько настилов 10, 10* пола объединяются посредством профильных шин 60, то смежные впускные и выпускные узлы 70, 80 связываются с помощью мостиковых деталей 90.
Формула изобретения
1. Заполняемый водой настил (10) пола, в частности для выстилания животноводческих помещений, с водонепроницаемым поверхностным слоем (20) и отстоящим от него водонепроницаемым донным слоем (30), причем оба слоя (20, 30) водонепроницаемо связаны друг с другом в их краевой области проходящим по периметру настила (10) пола швом (50) таким образом, что между обоими отстоящими слоями (20, 30) образуется полость (44), которая снабжена впускным узлом (70) для заполнения водой, отличающийся тем, что содержит прокладочную ткань (40), которая включает в себя связанную с поверхностным слоем (20) верхнюю каркасную ткань (41) и связанную с донным слоем (30) нижнюю каркасную ткань (42), причем обе каркасные ткани (41, 42), располагающиеся, по существу, параллельно друг другу на некотором расстоянии друг от друга, связаны друг с другом множеством ворсовых нитей (43), которые проходят перпендикулярно каркасным тканям (41, 42) через полость (44).
2. Заполняемый водой настил (10) пола по п.1, отличающийся тем, что содержит выпускной узел (80) для отвода воды из полости (44).
3. Заполняемый водой настил (10) пола по п.1 или 2, отличающийся тем, что проходящий по периметру шов (50) представляет собой обводной шов с, по меньшей мере, одной обводкой.
4. Заполняемый водой настил (10) пола по п.3, отличающийся тем, что на обводку может насаживаться профильная шина (60).
5. Заполняемый водой настил (10) пола по п.4, отличающийся тем, что профильная шина (60) выполнена с возможностью стыковки со следующей профильной шиной (60).
6. Заполняемый водой настил (10) пола по п.1, отличающийся тем, что поверхностный слой (20) представляет собой трехслойный ламинат, который включает в себя износостойкий и нескользящий верхний слой (21), ткань (22) усиления и контактный слой (23).
7. Заполняемый водой настил (10) пола по п.6, отличающийся тем, что слои (20, 21, 23, 30) выполнены из полимерных пленок.
8. Заполняемый водой настил (10) пола по п.1, отличающийся тем, что длина ворсовых нитей (43) составляет больше, чем 75% толщины заполненного водой настила (10) пола.
9. Заполняемый водой настил (10) пола по п.1, отличающийся тем, что толщина заполненного водой настила (10) пола составляет 12 мм.
10. Заполняемый водой настил (10) пола по п.2, отличающийся тем, что настил (10) пола выполнен прямоугольным, и впускной узел (70) и/или выпускной узел (80) расположен в углу настила (10) пола.
РИСУНКИ
MM4A – Досрочное прекращение действия патента СССР или патента Российской Федерации на изобретение из-за неуплаты в установленный срок пошлины за поддержание патента в силе
Дата прекращения действия патента: 22.10.2008
Извещение опубликовано: 20.07.2010 БИ: 20/2010
|
|