|
|
(21), (22) Заявка: 2006105731/12, 27.02.2006
(24) Дата начала отсчета срока действия патента:
27.02.2006
(43) Дата публикации заявки: 10.10.2007
(46) Опубликовано: 10.03.2008
(56) Список документов, цитированных в отчете о поиске:
ЧЕРНЫШЕВ В.В. Механизация лесопосадочных работ. – М.: Лесная промышленность, 1978, с.121, 122. RU 2219688 C1, 27.12.2003. SU 238257 А, 02.07.1969. Каталог лесохозяйственных машин стран-членов СЭВ, Будапешт, 1986, с.199-202.
Адрес для переписки:
141200, Московская обл., г. Пушкино, ул. Институтская, 15, ВНИИЛМ, группа патентно-лицензионной работы
|
(72) Автор(ы):
Казаков Владимир Иванович (RU), Родин Сергей Анатольевич (RU), Галанов Владимир Николаевич (RU), Бондарь Николай Андреевич (RU)
(73) Патентообладатель(и):
ФГУ Всероссийский научно-исследовательский институт лесоводства и механизации лесного хозяйства (ВНИИЛМ) (RU)
|
(54) ЛЕСНОЙ ПЛУГ
(57) Реферат:
Лесной плуг включает раму, закрепленную на ней плужную стойку с лемехами и отвалами, сходящимися вперед и в виде клина, и сошник, имеющий боковые рыхлители. Сошник закреплен на плужной стойке, которая выполнена плитообразной с передней гранью в виде ножа с отрицательным углом резания. Боковые рыхлители выполнены крыловидной треугольной формы и размещены в нижней части стойки перед и под лемехами. Сошник выполнен в виде двух поверхностей, примыкающих к стойке и сходящихся впереди в виде клина с переменным углом, увеличивающимся кверху. Рыхлители сошника выполнены крыловидными, имеют размах больше и расположены выше, чем рыхлители стойки, а глубина хода плитообразной стойки больше, чем сошника. Конструкция плуга позволит повысить надежность и качество работы на нераскорчеванных вырубках. 2 з.п. ф-лы, 2 ил.
Изобретение относится к лесному хозяйству, в частности к плугам для обработки почвы на вырубках.
Известен плуг для работы на вырубках, включающий раму и закрепленную на ней плужную пространственную стойку с лемехами и отвалами, сходящимися вперед в виде клина (1. см. Г.А.Ларюхин и др. Механизация лесовосстановительных работ. М.: Лесная промышленность, 1967, с.110…111, рис.19).
Производя обработку почвы на нераскорчеванных вырубках, плуг не преодолевает пни, утыкаясь в них, и поэтому имеет низкую надежность в эксплуатации. Кроме того, не обеспечивается рыхление дна борозды, что делает затруднительной последующую посадку лесных культур.
Известно также плужное лесное орудие, принятое заявителем за прототип, включающее плужную пространственную стойку с клинообразно расположенными лемехами и отвалами, расположенный перед плугом нож, установленный под отрицательным углом резания, сошник, расположенный за плугом и имеющий боковые рыхлители (2. см. Чернышев В.В. Механизация лесопосадочных работ. М.: Лесная промышленность, 1978, с.121, 122, рис.36).
Это орудие сложное по конструкции, громоздкое, имеет низкую маневренность, забивается порубочными остатками и не обеспечивает требуемого качества обработки почвы.
Цель изобретения – повышение надежности и качества работы на нераскорчеванных вырубках.
Это достигается тем, что в лесном плуге, включающем раму, закрепленную на ней плужную стойку с лемехами и отвалами, сходящимися вперед и в виде клина, и сошник, имеющий боковые рыхлители, сошник закреплен на плужной стойке, которая выполнена плитообразной с передней гранью в виде ножа с отрицательным углом резания, при этом боковые рыхлители выполнены крыловидной, треугольной формы и размещены в нижней части стойки перед и под лемехами, а сошник выполнен в виде двух поверхностей, примыкающих к стойке и сходящихся впереди в виде клина с переменным углом, увеличивающимся кверху, при этом рыхлители сошника выполнены крыловидными, имеют размах больше и расположены выше, чем рыхлители стойки, а глубина хода плитообразной стойки больше, чем сошника. На плитообразной стойке выше ножевидной передней грани расположен отбойник, выполненный по цилиндрической образующей и с наклоном в ту же сторону, что и ножевидная передняя грань, но под меньшим углом.
Взаимное расположение конструктивных элементов выполнено таким образом, что лемеха плуга размещены между крыловидными рыхлителями стойки и сошника, при этом отношение ширины захвата плуга к глубине хода сошника относительно дна формируемой плугом борозды составляет 3,5…5,0.
Проведенный заявителем анализ уровня техники, включающий поиск по патентным и научно-техническим источникам информации, и выявленные источники информации, содержащие сведения об аналогах заявленного решения, позволили установить, что не обнаружены аналоги, характеризующиеся признаками, идентичными существенным признакам заявленного изобретения.
Следовательно, заявленное изобретение соответствует условию «новизна».
Также по результатам поиска установлено, что заявленное техническое решение не является для специалистов очевидным исходя из известного уровня техники, следовательно, оно соответствует требованию «изобретательский уровень» и является промышленно применимым.
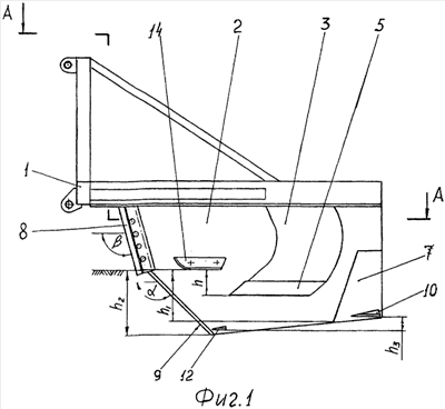
На фиг.1 изображен предложенный плуг, вид сбоку, на фиг.2 – вид сверху (разрез А-А).
Плуг содержит раму 1, плужную стойку 2, левый 3 и правый 4 отвалы, левый 5 и правый 6 лемеха, сошник 7, отбойник 8.
Плужная стойка 2 выполнена плитообразной с передней гранью в виде ножа 9 с отрицательным углом резания.
Отвалы 3, 4 и лемеха 5, 6 закреплены на плитообразной стойке 2 с боков. Сошник также закреплен на плитообразной стойке, расположен за лемехами 5, 6 и выполнен в виде двух поверхностей, примыкающих к стойке и сходящихся вперед в виде клина с переменным углом, увеличивающимся кверху от 1 до 2.
На сошнике установлены боковые рыхлители 10 и 11.
В нижней части плитообразной стойки также установлены боковые рыхлители 12 и 13. Рыхлители имеют крыловидную треугольную форму, при этом размах l рыхлителей 10 и 11 больше, чем размах l1 рыхлителей 12 и 13, а расположены они выше, чем рыхлители 12 и 13. Глубина хода плитообразной стойки h2 больше, чем сошника h1.
Рыхлители 12 и 13 размещены перед лемехами, но ниже их. Взаимное расположение элементов конструкции выполнено таким образом, что лемеха 5 и 6 расположены между крыловидными рыхлителями стойки и сошника.
Отбойник 8 закреплен на плитообразной стойке и расположен в ее передней части выше ножевидной грани 9. Он выполнен по цилиндрической образующей и с наклоном в ту же сторону, что и ножевидная передняя грань, но под меньшим углом . Для регулировки глубины обработки почвы перед отвалом размещены полозья 14.
Плуг работает следующим образом. Трактор с навешенным на заднюю навеску плугом устанавливают на полосу движения и опускают плуг на поверхность почвы. При движении агрегата плуг заглубляется до соприкосновения полозьев 14 с поверхностью почвы. Ножевидная передняя грань 9 плитообразной стойки 2 разрезает вертикально пласт почвы. Левый 5 и правый 6 лемеха подрезают пласт горизонтально по обе стороны от вертикального разреза, а отвалы 3 и 4 отваливают его в стороны, образуя минерализованную борозду.
Сошник 7, расположенный ниже лемехов 5 и 6, нарезает на дне борозды щель, а крыловидные ножи 10 и 11 подрезают, приподнимают и рыхлят почву с боков щели. В результате щель заполняется разрыхленной почвой и на дне борозды образуется микроповышение.
В результате того что клин, образуемый поверхностями сошника, имеет переменный угол, увеличивающийся кверху, уменьшается энергоемкость щелеобразования.
Отбойник 8, движущийся на уровне поверхности почвы, разворачивает встречающиеся порубочные остатки, которые вместе с отваливаемыми пластами почвы смещаются в стороны. При встрече с пнями отбойник способствует выглублению плуга, что предотвращает его поломки.
Крыловидные ножи 12 и 13, размещенные в нижней передней части плуга, производят предварительное рыхление почвы, уменьшая трение плитообразной стойки о почву и облегчая работу сошнику 7.
Разный размах попарно расположенных крыловидных ножей 10, 11 и 12, 13 (большой на сошнике и меньший на плитообразной стойке) и размещение лемехов плуга между указанными парами ножей позволяет получить оптимальные затраты энергии на выполнение рабочего процесса.
Благодаря тому что глубина хода плитообразной стойки 2 больше, чем сошника 7, предотвращается заякоревание рыхлителя о пни и корни. Для обеспечения оптимальной энергоемкости рабочего процесса, повышения надежности и качества работы отношение ширины захвата плуга l2 к глубине хода сошника относительно дна формируемой плугом борозды h1-h составляет 3,5…5,0.
Предложенное техническое решение позволяет повысить качество и надежность работы плуга на вырубках при наличии пней и порубочных остатков.
Источники информации
1. Ларюхин Г.А. и. др. Механизация лесовосстановительных работ. – М.; Лесн. пром-сть, 1975, с.110…111, рис.19.
2. Чернышев В.В. Механизация лесопосадочных работ. – М.; Лесн. пром-сть, 1978, с.121…122, рис.36 (прототип).
Формула изобретения
1. Лесной плуг, включающий раму, закрепленную на ней плужную стойку с лемехами и отвалами, сходящимися вперед и в виде клина, и сошник, имеющий боковые рыхлители, отличающийся тем, что сошник закреплен на плужной стойке, которая выполнена плитообразной с передней гранью в виде ножа с отрицательным углом резания, при этом боковые рыхлители выполнены крыловидной треугольной формы и размещены в нижней части стойки перед и под лемехами, а сошник выполнен в виде двух поверхностей, примыкающих к стойке и сходящихся впереди в виде клина с переменным углом, увеличивающимся кверху, при этом рыхлители сошника выполнены крыловидными, имеют размах больше и расположены выше, чем рыхлители стойки, а глубина хода плитообразной стойки больше, чем сошника.
2. Лесной плуг по п.1, отличающийся тем, что на плитообразной стойке выше ножевидной передней грани расположен отбойник, выполненный по цилиндрической образующей и с наклоном в ту же сторону, что и ножевидная передняя грань, но под меньшим углом.
3. Лесной плуг по п.1, отличающийся тем, что лемеха плуга расположены между крыловидными рыхлителями стойки и сошника, при этом отношение ширины захвата плуга к глубине хода сошника относительно дна формируемой плугом борозды составляет 3,5…5,0.
РИСУНКИ
MM4A – Досрочное прекращение действия патента СССР или патента Российской Федерации на изобретение из-за неуплаты в установленный срок пошлины за поддержание патента в силе
Дата прекращения действия патента: 28.02.2008
Извещение опубликовано: 10.02.2010 БИ: 04/2010
|
|